CN212421622U - A furniture design console that can quickly remove waste - Google Patents
A furniture design console that can quickly remove waste Download PDFInfo
- Publication number
- CN212421622U CN212421622U CN202020231029.1U CN202020231029U CN212421622U CN 212421622 U CN212421622 U CN 212421622U CN 202020231029 U CN202020231029 U CN 202020231029U CN 212421622 U CN212421622 U CN 212421622U
- Authority
- CN
- China
- Prior art keywords
- base
- sliding
- face
- brush
- operating platform
- Prior art date
- Legal status (The legal status is an assumption and is not a legal conclusion. Google has not performed a legal analysis and makes no representation as to the accuracy of the status listed.)
- Expired - Fee Related
Links
- 239000002699 waste material Substances 0.000 title abstract description 6
- 239000010813 municipal solid waste Substances 0.000 claims abstract description 36
- 239000000428 dust Substances 0.000 claims abstract description 22
- 230000005389 magnetism Effects 0.000 claims description 7
- 239000011241 protective layer Substances 0.000 claims description 3
- 229910001220 stainless steel Inorganic materials 0.000 claims description 3
- 239000010935 stainless steel Substances 0.000 claims description 3
- 238000004140 cleaning Methods 0.000 abstract description 2
- 239000000463 material Substances 0.000 description 2
- 238000000034 method Methods 0.000 description 2
- 241000282414 Homo sapiens Species 0.000 description 1
- 208000027418 Wounds and injury Diseases 0.000 description 1
- 230000009471 action Effects 0.000 description 1
- 230000004075 alteration Effects 0.000 description 1
- 230000009286 beneficial effect Effects 0.000 description 1
- 238000005520 cutting process Methods 0.000 description 1
- 230000006378 damage Effects 0.000 description 1
- 230000000694 effects Effects 0.000 description 1
- 230000036541 health Effects 0.000 description 1
- 208000014674 injury Diseases 0.000 description 1
- 238000004519 manufacturing process Methods 0.000 description 1
- 238000012986 modification Methods 0.000 description 1
- 230000004048 modification Effects 0.000 description 1
- 238000005498 polishing Methods 0.000 description 1
- 230000008569 process Effects 0.000 description 1
- 238000006467 substitution reaction Methods 0.000 description 1
Images
Landscapes
- Refuse Receptacles (AREA)
Abstract
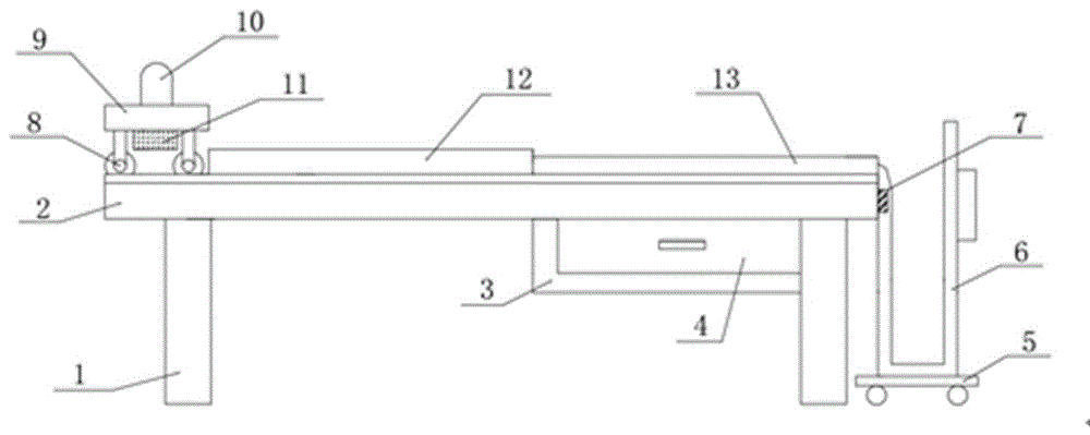
本实用新型涉及操作设备技术领域,尤其为一种能够快速清除废屑的家具设计操作台,包括底座、垃圾桶、除尘板、毛刷和操作台,所述底座的下端面固定安装有收集箱,所述垃圾桶的下端面固定设置有滑板,所述底座的上端面滑动设置有滑动操作台,所述滑动操作台的下端面镂空设置有滤网,所述操作台的下端面固定设置有平面刷。通过向左移动滑动操作台,平面刷将废屑通过滤网落入收集箱中,利用可以滑动的毛刷可以快速对操作台上的废屑进行清理,操作简单,收集箱内设置的抽屉方便对废屑进行统一清理,通过在垃圾桶侧端设置的磁吸板,可以起到良好的固定作用,需要统一清理垃圾桶时,垃圾桶底部设置的滑板方便移动垃圾桶,节省人力,快捷方便。
The utility model relates to the technical field of operating equipment, in particular to a furniture design operating table capable of quickly removing waste debris, comprising a base, a trash can, a dust removal board, a brush and an operating table, and a collection box is fixedly installed on the lower end surface of the base , the lower end surface of the trash can is fixedly provided with a sliding plate, the upper end surface of the base is slidably provided with a sliding operating table, the lower end surface of the sliding operating table is hollowed out with a filter screen, and the lower end surface of the operating table is fixedly provided with Flat brush. By moving the sliding operation table to the left, the flat brush will drop the waste into the collection box through the filter screen, and the slidable brush can quickly clean the waste on the operation table, the operation is simple, and the drawer set in the collection box is convenient For uniform cleaning of waste debris, the magnetic suction plate set on the side of the trash can can play a good role in fixing. When the trash can needs to be cleaned uniformly, the sliding plate set at the bottom of the trash can is convenient to move the trash can, which saves manpower and is fast and convenient. .
Description
Claims (6)
Priority Applications (1)
| Application Number | Priority Date | Filing Date | Title |
|---|---|---|---|
| CN202020231029.1U CN212421622U (en) | 2020-03-01 | 2020-03-01 | A furniture design console that can quickly remove waste |
Applications Claiming Priority (1)
| Application Number | Priority Date | Filing Date | Title |
|---|---|---|---|
| CN202020231029.1U CN212421622U (en) | 2020-03-01 | 2020-03-01 | A furniture design console that can quickly remove waste |
Publications (1)
| Publication Number | Publication Date |
|---|---|
| CN212421622U true CN212421622U (en) | 2021-01-29 |
Family
ID=74276615
Family Applications (1)
| Application Number | Title | Priority Date | Filing Date |
|---|---|---|---|
| CN202020231029.1U Expired - Fee Related CN212421622U (en) | 2020-03-01 | 2020-03-01 | A furniture design console that can quickly remove waste |
Country Status (1)
| Country | Link |
|---|---|
| CN (1) | CN212421622U (en) |
-
2020
- 2020-03-01 CN CN202020231029.1U patent/CN212421622U/en not_active Expired - Fee Related
Similar Documents
| Publication | Publication Date | Title |
|---|---|---|
| CN202135921U (en) | Dining table capable of being quickly cleaned | |
| CN212421622U (en) | A furniture design console that can quickly remove waste | |
| CN202846367U (en) | Dust-removal vertical-type grinding machine | |
| CN211051097U (en) | Remove air purifier for formaldehyde convenient to it is clean | |
| CN208542715U (en) | A kind of machine tooling dust-extraction unit | |
| CN217993257U (en) | Small-size foaming machine of experimental production usefulness of expanded material galley proof | |
| CN216782153U (en) | Workstation is used in processing of wood furniture | |
| CN204868562U (en) | Special terrace grinds trade dust catcher | |
| CN211836875U (en) | Dust removal device for commercial concrete production | |
| CN201978914U (en) | Cleaner for hospital | |
| CN202878071U (en) | Dust-removing box type grinding machine | |
| CN223394902U (en) | Sweeps cleaning equipment for hardware processing | |
| CN210267560U (en) | Air purifier convenient to carry | |
| CN219000172U (en) | Indoor wet and dry dual-purpose dust remover | |
| CN221717115U (en) | Cutting and layering device based on chip processing | |
| CN220094775U (en) | Scrap collecting structure of acrylic product cutter | |
| CN220218035U (en) | Deckle edge trimming structure for woodwork processing | |
| CN220330980U (en) | Quick clear burnishing machine | |
| CN214237736U (en) | Mechanical device convenient to clean after robot polishes | |
| CN220312836U (en) | Coping structure is used in metalwork processing | |
| CN215539542U (en) | Dust device for municipal construction | |
| CN222971656U (en) | Bearing numerical control machining center | |
| CN217591934U (en) | A kind of squid flower processing equipment | |
| CN220611446U (en) | Cleaning device of industrial Internet monitoring platform | |
| CN221908580U (en) | Maintenance device for rail transit transportation |
Legal Events
| Date | Code | Title | Description |
|---|---|---|---|
| GR01 | Patent grant | ||
| GR01 | Patent grant | ||
| TR01 | Transfer of patent right |
Effective date of registration: 20211210 Address after: 210000 floor 6, block a, Kechuang building, Huizhi Industrial Park, Lishui Economic Development Zone, Nanjing, Jiangsu Province Patentee after: Nanjing moqiao Technology Development Co.,Ltd. Address before: No. 159, dragon pan Road, Xuanwu District, Nanjing, Jiangsu Patentee before: NANJING FORESTRY University |
|
| TR01 | Transfer of patent right | ||
| CF01 | Termination of patent right due to non-payment of annual fee |
Granted publication date: 20210129 |
|
| CF01 | Termination of patent right due to non-payment of annual fee |
