CN212417773U - Feed mixing device is bred to live pig - Google Patents
Feed mixing device is bred to live pig Download PDFInfo
- Publication number
- CN212417773U CN212417773U CN202020709504.1U CN202020709504U CN212417773U CN 212417773 U CN212417773 U CN 212417773U CN 202020709504 U CN202020709504 U CN 202020709504U CN 212417773 U CN212417773 U CN 212417773U
- Authority
- CN
- China
- Prior art keywords
- side end
- fixedly connected
- connecting plate
- motor
- water
- Prior art date
- Legal status (The legal status is an assumption and is not a legal conclusion. Google has not performed a legal analysis and makes no representation as to the accuracy of the status listed.)
- Expired - Fee Related
Links
- 238000002156 mixing Methods 0.000 title claims abstract description 41
- XLYOFNOQVPJJNP-UHFFFAOYSA-N water Substances O XLYOFNOQVPJJNP-UHFFFAOYSA-N 0.000 claims abstract description 68
- 238000003756 stirring Methods 0.000 claims abstract description 29
- 238000009395 breeding Methods 0.000 claims abstract description 16
- 230000001488 breeding effect Effects 0.000 claims abstract description 16
- 241000282887 Suidae Species 0.000 description 7
- 239000000463 material Substances 0.000 description 7
- 238000000034 method Methods 0.000 description 7
- 238000007580 dry-mixing Methods 0.000 description 5
- 230000007246 mechanism Effects 0.000 description 5
- 230000008569 process Effects 0.000 description 5
- 241000124008 Mammalia Species 0.000 description 3
- 238000012986 modification Methods 0.000 description 3
- 230000004048 modification Effects 0.000 description 3
- 239000007921 spray Substances 0.000 description 3
- 241001465754 Metazoa Species 0.000 description 2
- 230000006872 improvement Effects 0.000 description 2
- 239000000203 mixture Substances 0.000 description 2
- 238000005086 pumping Methods 0.000 description 2
- 108010034145 Helminth Proteins Proteins 0.000 description 1
- 230000009471 action Effects 0.000 description 1
- 238000007599 discharging Methods 0.000 description 1
- 230000000694 effects Effects 0.000 description 1
- 238000002474 experimental method Methods 0.000 description 1
- 244000000013 helminth Species 0.000 description 1
- 239000010985 leather Substances 0.000 description 1
- 244000144972 livestock Species 0.000 description 1
- 238000004519 manufacturing process Methods 0.000 description 1
- 235000015277 pork Nutrition 0.000 description 1
- 230000035935 pregnancy Effects 0.000 description 1
Images
Landscapes
- Apparatuses For Bulk Treatment Of Fruits And Vegetables And Apparatuses For Preparing Feeds (AREA)
Abstract
The utility model discloses a live pig breeding feed mixing device, which comprises a tank body, wherein the right side end of the tank body is fixedly connected with a connecting plate A and the left side end of the connecting plate A is fixedly provided with an electric telescopic rod, the top end of the electric telescopic rod is fixedly connected with a slide block and the bottom end of the slide block is slidably connected with a slide rail, the left side end of the slide rail is fixedly connected with the top end of the connecting plate A, the surface of the slide block is fixedly connected with a support plate A and the bottom end of the support plate A is fixedly provided with a motor, the top end of the motor is provided with a stirring blade, the top end of the slide rail is fixedly connected with a water tank and the right side end of the water tank is fixedly provided with a water pipe, the outer side wall of the water pipe is provided with a buckle and the left side end of, greatly improving the practicability of the device and adding water completely.
Description
Technical Field
The utility model relates to a live pig breeds technical field, especially relates to a feed mixing device is bred to live pig.
Background
Live pigs, i.e. live pigs, are collectively referred to as non-slaughtered domestic pigs, excluding boar pigs. Pigs, omnivorous animals. Pigs generally refer to livestock. The pig is the end of the twelve animals, also known as the helminth. The body of the mammal is fat and strong, the four limbs are short and small, the nose and the mouth are longer, raw pork can be eaten, the skin can be used as leather, the body is fat and the limbs are short, the sex is warm and domesticated, the adaptability is strong, the mammal can be easily raised, the breeding is fast, and the mammal has black, white, reddish brown or black and white and the like. The pigs can be bred in 5-12 months after birth, and the gestation period is about 4 months. The average life of pig is 20 years, and the fodder needs multiple material to put together and mixes in the manufacture process, the utility model relates to a live pig breeds feed mixing device.
Patent numbers: CN109173900A discloses a feed mixing and stirring device for pig breeding, the feed mixing and stirring device for pig breeding is characterized in that through the design of the dry mixing mechanism and the wet mixing mechanism, compared with the prior direct wet mixing of various materials, the method can fully mix the materials before the wet mixing, ensure the uniformity of the mixed materials, in the dry mixing mechanism, a material-dividing dry mixing cycle is formed between the material-dividing cylinder and the dry mixing cylinder, dry materials can be fed into the wet mixing mechanism after sufficient dry mixing, in the wet mixing mechanism, through the design of two groups of wet mixing rods, the wet mixing rods are in arc fit with the inner wall of the bottom end of the wet mixing cylinder, so that the stirring dead angle can be reduced, meanwhile, the water inlet pipe can input wet mixing water, wet mixing is completed, the interior of the wet mixing cylinder can be cleaned after the feed is discharged, this live pig is bred and uses feed mixing agitating unit has advantages such as structural design is reasonable, the mixing effect is good, can generally use widely.
However, the patent also has the following disadvantages: 1. the feed mixing and stirring process is not uniform, the practicability of the device is greatly reduced, and improvement is needed. 2. The water adding in the mixing process is not comprehensive enough, and the parts which are left are easy to be not added with water, so the improvement is needed.
SUMMERY OF THE UTILITY MODEL
The utility model provides a feed mixing device is bred to live pig, simple structure, modern design, this design stirring is very even, improves the practicality of device greatly to add water very comprehensively, can effectively solve the problem in the background art.
The utility model provides a specific technical scheme as follows:
the utility model provides a live pig breeding feed mixing device, which comprises a tank body, wherein the right side end of the tank body is fixedly connected with a connecting plate A, the left side end of the connecting plate A is fixedly provided with an electric telescopic rod, the top end of the electric telescopic rod is fixedly connected with a slide block, the bottom end of the slide block is connected with a slide rail, the left side end of the slide rail is fixedly connected with the top end of the connecting plate A, the surface of the slide block is fixedly connected with a support plate A, the bottom end of the support plate A is fixedly provided with a motor, the top end of the motor is provided with a stirring blade, the top end of the slide rail is fixedly connected with a water tank, the right side end of the water tank is fixedly provided with a water pipe, the outer side wall of the water pipe is provided with a buckle, the left side end of the buckle is, the bottom of backup pad B and the top fixed connection of water tank, the left side end middle part of the jar body is installed and is added the mouth, the right side end of the jar body is installed the internally mounted of discharge pipe and discharge pipe to the position of inclining downwards has the discharge valve.
Optionally, the left end of the slide rail is fixedly connected with a connecting plate B, and the bottom end of the connecting plate B is fixedly connected with the left end of the tank body.
Optionally, a cover is installed on the left side of the top end of the water tank.
Optionally, the power output end of the motor is connected with the power input end of the stirring blade.
Optionally, a switch is fixedly mounted at the right side end of the connecting plate a, and a current input end of the switch is electrically connected with a current input end of the motor.
The utility model has the advantages as follows:
1. the utility model puts various materials to be stirred and mixed into the tank body through the feeding port, the outer end power supply is connected to the motor, the switch is switched on, the motor starts to run, the motor drives the stirring blades to rotate, the stirring blades start to stir the feed to promote the mixing of the feed, meanwhile, an external power supply is introduced into the electric telescopic rod, a switch of the electric telescopic rod is turned on, the electric telescopic rod starts to operate, the controller on the electric telescopic rod controls the electric telescopic rod to stretch, the electric telescopic rod drives the sliding block to move left and right, the sliding block moves left and right along the sliding rail, the sliding block drives the supporting plate A to move left and right, the supporting plate A drives the motor to move left and right, thereby drive the removal of stirring leaf and remove, just can round trip movement of stirring leaf like this, can let the fodder stirring in the jar body more even, can effectively solve the not too even problem of feed mixing stirring process among the background art.
2. The utility model discloses when needs add water, open earlier the lid and add sufficient water in to the water tank, add and accomplish the back, let in external power supply for the suction pump, open the switch of suction pump, the suction pump begins to operate, the suction pump acts on the water pipe, with water suction from the water tank, and spout from the shower nozzle, because the water pipe is fixed on the motor by the buckle, so the shower nozzle can follow the motor and remove about, thereby add water comprehensively to the fodder, the shower nozzle can increase the scope of water spray, can effectively solve and add water inadequately comprehensively in the background art, leave over the position easily and do not have the problem of adding water.
Drawings
In order to more clearly illustrate the technical solutions in the embodiments of the present invention, the drawings needed to be used in the description of the embodiments will be briefly described below, and it is obvious that the drawings in the following description are only some embodiments of the present invention, and it is obvious for those skilled in the art to obtain other drawings without creative efforts.
Fig. 1 is a schematic view of the overall structure of a live pig breeding feed mixing device according to an embodiment of the present invention;
FIG. 2 is a schematic view of a connection structure of a water suction pump in a pig breeding feed mixing device according to an embodiment of the present invention;
fig. 3 is a schematic view of the cross section structure of the sliding block and the sliding rail in the feed mixing device for pig breeding according to the embodiment of the present invention.
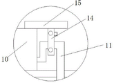
In the figure: 1. a tank body; 2. a connecting plate A; 3. an electric telescopic rod; 4. a slider; 5. a slide rail; 6. a connecting plate B; 7. a support plate A; 8. a motor; 9. stirring blades; 10. a water tank; 11. a water pipe; 12. buckling; 13. a spray head; 14. a water suction pump; 15. a support plate B; 16. a cover; 17. an inlet port; 18. a discharge pipe; 19. a discharge valve; 20. and (4) switching.
Detailed Description
In order to make the objects, technical solutions and advantages of the present invention clearer, the present invention will be described in further detail with reference to the accompanying drawings, and it is obvious that the described embodiments are only some embodiments of the present invention, not all embodiments. Based on the embodiments in the present invention, all other embodiments obtained by a person skilled in the art without creative efforts belong to the protection scope of the present invention.
A live pig breeding feed mixing device according to an embodiment of the present invention will be described in detail with reference to fig. 1 to 3.
Referring to fig. 1, 2 and 3, the live pig breeding feed mixing device provided by the present invention comprises a tank body 1, a connecting plate a2 is fixedly connected to the right end of the tank body 1, an electric telescopic rod 3 is fixedly installed at the left end of the connecting plate a2, a slider 4 is fixedly connected to the top end of the electric telescopic rod 3, a slide rail 5 is slidably connected to the bottom end of the slider 4, the left end of the slide rail 5 is fixedly connected to the top end of the connecting plate a2, a support plate a7 is fixedly connected to the surface of the slider 4, a motor 8 is fixedly installed at the bottom end of the support plate a7, a stirring blade 9 is installed at the top end of the motor 8, a water tank 10 is fixedly connected to the top end of the slide rail 5, a water pipe 11 is fixedly installed at the right end of the water tank 10, a buckle 12 is installed on the outer side wall of the water pipe 11, the left end, the internally mounted of water pipe 11 has water sucking pump 14 and water sucking pump 14's top fixedly connected with backup pad B15, the bottom of backup pad B15 and the top fixed connection of water tank 10, the left side end middle part of the jar body 1 is installed and is added into mouth 17, the internally mounted of the right side end of the jar body 1 position down-side installs discharge pipe 18 and discharge pipe 18 has discharge valve 19.
Referring to fig. 1, a connecting plate B6 is fixedly connected to the left side of the slide rail 5, the bottom end of the connecting plate B6 is fixedly connected to the left side of the tank 1, and the connecting plate B6 supports the slide rail 5.
Referring to fig. 1, a cover 16 is installed at the left side of the top end of the water tank 10, and water is added to the water tank 10 by opening the cover 16.
Referring to fig. 1, a power output end of the motor 8 is connected with a power input end of the stirring vane 9, and the motor 8 drives the stirring vane 9 to rotate.
Referring to fig. 1, a switch 20 is fixedly mounted at the right side end of the connection board a2, a current input end of the switch 20 is electrically connected with a current input end of the motor 8, and the switch 20 controls the operation of the motor 8.
The embodiment of the utility model provides a live pig breeding feed mixing device, put into jar body 1 various materials that need to stir and mix through adding the mouth 17, let in outer end power for motor 8, turn on switch 20, motor 8 begins to operate, motor 8 drives stirring leaf 9's rotation, stirring leaf 9 begins to stir the fodder and promotes the mixing of fodder, let in external power for electric telescopic handle 3 simultaneously, open electric telescopic handle 3's switch, electric telescopic handle 3 begins to operate, control electric telescopic handle 3's flexible through the controller on electric telescopic handle 3, electric telescopic handle 3 drives the left and right movement of slider 4, slider 4 moves along with slide rail 5 and moves left and right, slider 4 drives the left and right movement of backup pad A7, backup pad A7 drives the left and right movement of motor 8, thereby drive the left and right movement of stirring leaf 9, stirring leaf 9 just so can the round trip movement, can let the fodder stirring in jar body 1 more even, when the fodder mixing in-process need add water, open lid 16 earlier and add sufficient water to water tank 10, add the completion back, let in external power supply for suction pump 14, open suction pump 14's switch, suction pump 14 begins to operate, suction pump 14 acts on water pipe 11, with water suction from water tank 10, and spout from shower nozzle 13, because water pipe 11 is fixed on motor 8 by the buckle, so shower nozzle 13 can follow and control about motor 8, thereby add water comprehensively to the fodder, shower nozzle 13 can increase the scope of water spray, after the stirring is accomplished, open discharge valve 19, take out the fodder that the mixing completed from discharge pipe 18.
The utility model relates to a pig breeding feed mixing device, which comprises a motor 8 (model: 42HD0401 manufacturer: Anchuan), an electric telescopic rod 3 (model: LX600 manufacturer: Yi-Xin, the electric telescopic rod is an electric driving device which converts the rotation motion of the motor into the linear reciprocating motion of a push rod, can be used as an executing machine in various simple or complex process flows to realize remote control, centralized control or automatic control), a water suction pump 14 (model: DP-60 manufacturer: Shanghai New Xishan, under the condition that the water pumping pipe of the water pump is filled with air, the negative pressure (vacuum) formed during the operation of the pump is utilized to increase the water pressure lower than the water pumping port under the action of atmospheric pressure and then is discharged from the water discharging end of the water pump) and a switch 20 (model: KAO-5M manufacturer: bench drill), wherein the electric elements are all the prior art products, the technical staff in the field selects, installs and completes the debugging operation of the circuit according to the use requirement to ensure that each electrical appliance can normally work, the components are all universal standard components or components known by the technical staff in the field, the structure and the principle of the components are known by the technical manual or by the conventional experimental method, and the applicant does not make specific limitation here.
It is apparent that those skilled in the art can make various changes and modifications to the embodiments of the present invention without departing from the spirit and scope of the embodiments of the present invention. Thus, if such modifications and variations of the embodiments of the present invention fall within the scope of the claims and their equivalents, the present invention is also intended to include such modifications and variations.
Claims (5)
1. The utility model provides a live pig breeds feed mixing device, includes a jar body (1), its characterized in that, the right side end fixedly connected with connecting plate A (2) of the jar body (1) and the left side fixed mounting of connecting plate A (2) have electric telescopic handle (3), the bottom sliding connection of the top fixedly connected with slider (4) of electric telescopic handle (3) and slider (4) has slide rail (5), the left side end of slide rail (5) and the top fixed connection of connecting plate A (2), the bottom fixed mounting of the fixed surface of slider (4) is connected with backup pad A (7) and backup pad A (7) has motor (8), stirring leaf (9) are installed on the top of motor (8), the right side end fixed mounting of the top fixedly connected with water tank (10) of slide rail (5) and water tank (10) has water pipe (11), install the left side end of buckle (12) and buckle (12) on water pipe (11) lateral wall and the left side end of motor (8) Right side end fixed connection, the bottom fixed mounting of water pipe (11) has shower nozzle (13), the internally mounted of water pipe (11) has the top fixedly connected with backup pad B (15) that absorb water pump (14) and absorb water pump (14), the bottom of backup pad B (15) and the top fixed connection of water tank (10), the left side end middle part of the jar body (1) is installed and is added into mouth (17), the internally mounted of discharge pipe (18) and discharge pipe (18) is installed to the right side end position of the jar body (1) under the bias, has discharge valve (19).
2. The live pig breeding feed mixing device of claim 1, characterized in that the left end of the slide rail (5) is fixedly connected with a connecting plate B (6) and the bottom end of the connecting plate B (6) is fixedly connected with the left end of the tank body (1).
3. The feed mixing device for pig breeding according to claim 1, characterized in that a cover (16) is installed on the left side of the top end of the water tank (10).
4. The feed mixing device for pig breeding according to claim 1, characterized in that the power output end of the motor (8) is connected with the power input end of the stirring blade (9).
5. The live pig breeding feed mixing device of claim 1, wherein a switch (20) is fixedly installed at the right side end of the connecting plate A (2), and a current input end of the switch (20) is electrically connected with a current input end of the motor (8).
Priority Applications (1)
| Application Number | Priority Date | Filing Date | Title |
|---|---|---|---|
| CN202020709504.1U CN212417773U (en) | 2020-05-02 | 2020-05-02 | Feed mixing device is bred to live pig |
Applications Claiming Priority (1)
| Application Number | Priority Date | Filing Date | Title |
|---|---|---|---|
| CN202020709504.1U CN212417773U (en) | 2020-05-02 | 2020-05-02 | Feed mixing device is bred to live pig |
Publications (1)
| Publication Number | Publication Date |
|---|---|
| CN212417773U true CN212417773U (en) | 2021-01-29 |
Family
ID=74289170
Family Applications (1)
| Application Number | Title | Priority Date | Filing Date |
|---|---|---|---|
| CN202020709504.1U Expired - Fee Related CN212417773U (en) | 2020-05-02 | 2020-05-02 | Feed mixing device is bred to live pig |
Country Status (1)
| Country | Link |
|---|---|
| CN (1) | CN212417773U (en) |
Cited By (1)
| Publication number | Priority date | Publication date | Assignee | Title |
|---|---|---|---|---|
| CN114849554A (en) * | 2022-03-18 | 2022-08-05 | 浙江万吉建设有限公司 | Agitating unit for construction |
-
2020
- 2020-05-02 CN CN202020709504.1U patent/CN212417773U/en not_active Expired - Fee Related
Cited By (1)
| Publication number | Priority date | Publication date | Assignee | Title |
|---|---|---|---|---|
| CN114849554A (en) * | 2022-03-18 | 2022-08-05 | 浙江万吉建设有限公司 | Agitating unit for construction |
Similar Documents
| Publication | Publication Date | Title |
|---|---|---|
| CN204466563U (en) | A kind of ox plant forage feed platform | |
| CN212417773U (en) | Feed mixing device is bred to live pig | |
| CN112655579A (en) | Automatic feeding device for black hair pig breeding and black hair pig breeding method | |
| CN211268111U (en) | Cleaning device for cow breeding | |
| CN219897928U (en) | Forage grass mixing stirrer for Hu sheep cultivation | |
| CN214758606U (en) | Farm feed feeder | |
| CN212164855U (en) | Feed stirring device | |
| CN210545621U (en) | Conveniently wash remaining livestock-raising dosing unit of batching | |
| CN209049254U (en) | A kind of sheep raising feed stuff agitating device | |
| CN218789757U (en) | Feeding device for live pig breeding | |
| CN216538060U (en) | Feed mixing device for breeding | |
| CN212417655U (en) | A fodder agitating unit for live pig is bred | |
| CN211538874U (en) | A mobile pig feeding trough | |
| CN214416208U (en) | Cattle and sheep are bred and use fodder to add device | |
| CN212758273U (en) | Mixing device capable of automatically stirring | |
| CN209983293U (en) | Novel feed mixing equipment for livestock-raising | |
| CN220235687U (en) | A fodder stirring conveyor for live pig is bred usefulness | |
| CN209423488U (en) | A kind of feed processing mixing drawing-in device | |
| CN221769024U (en) | Poultry trough for poultry | |
| CN215782866U (en) | Pretreatment device for animal feed production | |
| CN220110938U (en) | Feed mixer of high-efficient mixing | |
| CN208628044U (en) | It is a kind of can automated cleaning limiting pig feeding trough | |
| CN220000354U (en) | Pig raising feeding trough | |
| CN217248208U (en) | Possesses portable subassembly and is used for agitating unit of cattle and sheep fodder | |
| CN215774832U (en) | Live pig breeding feeding trough convenient to clean |
Legal Events
| Date | Code | Title | Description |
|---|---|---|---|
| GR01 | Patent grant | ||
| GR01 | Patent grant | ||
| CF01 | Termination of patent right due to non-payment of annual fee |
Granted publication date: 20210129 |
|
| CF01 | Termination of patent right due to non-payment of annual fee |