CN212415860U - 一种三维辅助下脑病灶的穿刺定位架 - Google Patents
一种三维辅助下脑病灶的穿刺定位架 Download PDFInfo
- Publication number
- CN212415860U CN212415860U CN202022429772.0U CN202022429772U CN212415860U CN 212415860 U CN212415860 U CN 212415860U CN 202022429772 U CN202022429772 U CN 202022429772U CN 212415860 U CN212415860 U CN 212415860U
- Authority
- CN
- China
- Prior art keywords
- sliding
- positioning
- ruler
- arc
- puncture
- Prior art date
- Legal status (The legal status is an assumption and is not a legal conclusion. Google has not performed a legal analysis and makes no representation as to the accuracy of the status listed.)
- Active
Links
- 230000002490 cerebral effect Effects 0.000 title abstract description 5
- 210000004556 brain Anatomy 0.000 claims description 19
- 230000007246 mechanism Effects 0.000 claims description 16
- 125000006850 spacer group Chemical group 0.000 claims description 8
- 238000000926 separation method Methods 0.000 claims description 3
- 206010051290 Central nervous system lesion Diseases 0.000 claims 7
- 208000012266 Needlestick injury Diseases 0.000 claims 1
- 238000002360 preparation method Methods 0.000 abstract description 10
- 238000007639 printing Methods 0.000 abstract description 7
- 239000010936 titanium Substances 0.000 description 38
- 229910052719 titanium Inorganic materials 0.000 description 38
- RTAQQCXQSZGOHL-UHFFFAOYSA-N Titanium Chemical compound [Ti] RTAQQCXQSZGOHL-UHFFFAOYSA-N 0.000 description 33
- 238000010146 3D printing Methods 0.000 description 15
- 238000000034 method Methods 0.000 description 15
- 210000004761 scalp Anatomy 0.000 description 12
- 238000005516 engineering process Methods 0.000 description 9
- 239000012790 adhesive layer Substances 0.000 description 6
- 238000010586 diagram Methods 0.000 description 6
- 230000003014 reinforcing effect Effects 0.000 description 6
- 206010008111 Cerebral haemorrhage Diseases 0.000 description 5
- 210000003128 head Anatomy 0.000 description 5
- 230000008569 process Effects 0.000 description 5
- 238000001356 surgical procedure Methods 0.000 description 5
- 238000004873 anchoring Methods 0.000 description 4
- 230000000694 effects Effects 0.000 description 4
- 230000002349 favourable effect Effects 0.000 description 4
- 239000010410 layer Substances 0.000 description 4
- 208000014644 Brain disease Diseases 0.000 description 3
- 230000009286 beneficial effect Effects 0.000 description 3
- 210000004204 blood vessel Anatomy 0.000 description 3
- 201000010099 disease Diseases 0.000 description 3
- 208000037265 diseases, disorders, signs and symptoms Diseases 0.000 description 3
- 238000002324 minimally invasive surgery Methods 0.000 description 3
- 210000005036 nerve Anatomy 0.000 description 3
- 239000002994 raw material Substances 0.000 description 3
- 230000000249 desinfective effect Effects 0.000 description 2
- 238000006073 displacement reaction Methods 0.000 description 2
- 238000000265 homogenisation Methods 0.000 description 2
- 239000003550 marker Substances 0.000 description 2
- 238000004659 sterilization and disinfection Methods 0.000 description 2
- 210000001835 viscera Anatomy 0.000 description 2
- 208000018152 Cerebral disease Diseases 0.000 description 1
- 206010012289 Dementia Diseases 0.000 description 1
- 206010020772 Hypertension Diseases 0.000 description 1
- 208000008574 Intracranial Hemorrhages Diseases 0.000 description 1
- 206010059491 Intracranial haematoma Diseases 0.000 description 1
- 206010028813 Nausea Diseases 0.000 description 1
- 206010033799 Paralysis Diseases 0.000 description 1
- 208000013738 Sleep Initiation and Maintenance disease Diseases 0.000 description 1
- 230000001154 acute effect Effects 0.000 description 1
- 230000006978 adaptation Effects 0.000 description 1
- 239000000853 adhesive Substances 0.000 description 1
- 230000001070 adhesive effect Effects 0.000 description 1
- 201000007201 aphasia Diseases 0.000 description 1
- 230000003190 augmentative effect Effects 0.000 description 1
- 210000000988 bone and bone Anatomy 0.000 description 1
- 238000007428 craniotomy Methods 0.000 description 1
- 208000012106 cystic neoplasm Diseases 0.000 description 1
- 230000006378 damage Effects 0.000 description 1
- 230000007812 deficiency Effects 0.000 description 1
- 230000008034 disappearance Effects 0.000 description 1
- 208000002173 dizziness Diseases 0.000 description 1
- 238000005553 drilling Methods 0.000 description 1
- 210000001951 dura mater Anatomy 0.000 description 1
- 238000007667 floating Methods 0.000 description 1
- 230000036541 health Effects 0.000 description 1
- 238000003780 insertion Methods 0.000 description 1
- 230000037431 insertion Effects 0.000 description 1
- 206010022437 insomnia Diseases 0.000 description 1
- 230000007794 irritation Effects 0.000 description 1
- 230000007774 longterm Effects 0.000 description 1
- 230000003340 mental effect Effects 0.000 description 1
- 229910052751 metal Inorganic materials 0.000 description 1
- 239000002184 metal Substances 0.000 description 1
- 230000008693 nausea Effects 0.000 description 1
- 210000000056 organ Anatomy 0.000 description 1
- 230000002093 peripheral effect Effects 0.000 description 1
- 230000008092 positive effect Effects 0.000 description 1
- 230000002980 postoperative effect Effects 0.000 description 1
- 238000011084 recovery Methods 0.000 description 1
- 210000003625 skull Anatomy 0.000 description 1
- 229910001220 stainless steel Inorganic materials 0.000 description 1
- 239000010935 stainless steel Substances 0.000 description 1
- 238000002672 stereotactic surgery Methods 0.000 description 1
- 231100000419 toxicity Toxicity 0.000 description 1
- 230000001988 toxicity Effects 0.000 description 1
Images
Landscapes
- Surgical Instruments (AREA)
Abstract
一种三维辅助下脑病灶的穿刺定位架,属于医疗器械领域,所述穿刺定位架包括滑动尺,滑动尺一端设置有手柄,相对端一体设置有垂直于滑动尺的固定卡,滑动尺上固定卡相对侧滑动设置有滑动卡,固定卡与滑动卡端部分别设置有轴心相对的穿刺定位固定件,固定卡与滑动卡上的穿刺定位固定件均为弧形槽,固定卡上弧形槽内配套有定位针,滑动卡上弧形槽配套有定位尺和适配件,定位尺上设置有中心定位口和多个辅助定位孔,该穿刺定位架,可减少设备投资,免去导板打印导板,可压缩手术准备时间,而且精准定位、定向后,抢救手术及时,可减少患者功能缺失,挽救患者生命。
Description
技术领域
本实用新型涉及一种定位架,特别涉及一种三维辅助下脑病灶的穿刺定位架,属于医疗器械领域。
背景技术
脑部病变是临床常见的疾病,轻者会带来头晕恶心、失眠多梦、记忆力衰退,痴呆、抑郁,中度患者会引起失语、肢体不变,重者会导致卧床瘫痪,失去意识、变成植物人,甚至会导致死亡。
特别是象长期高血压等引起的脑出血,往往是病急,需要在短时间内实施抽吸引流颅内血肿进行抢救治疗,否则会引起病情加重乃至死亡的情况。脑出血的治疗是与死神抢时间的一场生死搏斗,在这个过程中时间就是生命。
中度脑出血患者如果得不到及时治疗就会成为重度疾病,患者会引起局部或整体的功能缺失,需要有人长期陪伴在身边照顾,长期以往,会给本人和家庭带来不小的精神负担和经济负担,工薪家庭会因病致贫,收入少的家庭,更是雪上加霜,因此,有效治疗脑部疾病显得尤为重要。
之前,象脑出血、脑部囊性肿瘤等脑部疾病,一般都得实施开颅或者立体定向手术治疗,这种方法手术时间长、手术风险大、治疗费用高,术后康复时间长,存在的诸多确定因素。
近年来,随着科技的发展,高科技也逐渐应用到医疗设备中,微创手术也应用于脑部手术之中,在微创手术中,定位准确可避开人体重要脏器、神经、血管等,最大限度地保留人体具有的原有功能,减少手术引起的后遗症。
目前,在现有的脑部手术定位中,有利用传统的立体定向方法、有利用导航技术的定位方法、也有利用增强现实(VR)、混合现实(MR)、机器人定位的方法,相对而言速度快、定位准确、费用小、康复时间短的为最近开始的3D打印手术导板定位方法。
有关3D打印导板技术在之前申请的受理号为:202022222559.2的申请申请专利申请了“ 一种用于微创手术中的穿刺定位片” 图13是形状各异的钛定位片结构示意图。这种定位片为钛定位片30,钛定位片30形状包括多边形,如:三角形45、六边形46、五边形47、梯形48、正方形49,还可以是圆形,另外,也可以是椭圆形41、心形42、组合花瓣形43、云朵形40,多角形44等各种形状的外观,这些形状的钛定位片30至少与皮肤接触的一面为平面,平面上设置有高粘性钛片粘结层32a,钛定位片30,另外一面通过高粘性粘接层转帖有加强贴34,即:钛定位片30朝向人体的相反面利用加强粘结层32b粘结有加强贴34,加强贴34朝向人体一面设置有高粘性加强粘结层32b,所述粘结层为无毒、无害、无刺激性的环保型粘接剂。
图14是圆形钛定位片的结构示意图,钛定位片30在使用前朝向人体皮肤外表的高粘性粘结层即:钛片粘结层32a,整体或部分延伸至钛定位片30外周的加强贴34朝向人体皮肤一面上设置有高粘性粘结层即:加强粘结层32b,钛片粘结层32a和加强粘结层32b上均设置均有一层离型纸,分别是钛片离型纸33a和加强离型纸33b,使用时,揭掉表层的钛片离型纸33a和加强离型纸33b,粘贴在人体表面,在本实施例中是粘贴在人体头型部,粘贴时,需要将头发刮掉。
3D打印导板钛定位片定位技术是在患者病灶外表设置定位片,利用现有的CT、MRI等医疗设备对病灶外部进行扫描,获得可清晰显示定位片的患者病灶外部的轮廓,在患者外部轮廓的基础上,利用三维建模技术设计与患者外表吻合且包含与定位片上定位孔吻合的导板定位孔以及最佳穿刺通道的导板,所述导板为局部可稳定在人体外部的导板,不仅可在三维建模中根据病灶状况确定最佳的穿刺位置,而且可得到最佳的穿刺方向,避开上述人体重要脏器、神经、血管等,最大限度地保留术后健全的人体功能,设计后再利用3D打印技术打印出导板,定位前,在定位片中定位孔中心做好标记,使导板上的定位孔与定位标记之间吻合,精准地实施穿刺定位,沿着穿刺通道实施手术。
一般的脑部疾病用这种方法,相对于其他的手术而言,可以说是定位准确、创伤小、手术时间短、手术风险小、住院时间短,费用大幅度降低,然而,如上所述,脑出血的治疗是与死神抢时间的一场生死竞技,时间就是生命,快速地实施手术,可还患者一个健全的人生,如果稍有耽搁,就会出现上述不同程度的后遗症或死亡状况。
尽管利用上述最佳的3D打印技术打印出导板进行定位会得到最佳的效果,但是,3D打印技术打印设备少需要几十万的投资,多的需要上百万,投资大,再加上3D打印原料及人员配备等,对于普通的医院而言,也是一个不少的投资,另外,导板的3D打印,需要一定的时间,为了抢救患者,争取时间,有时医生彻夜难民争分夺秒地设计、打印导板,从患者头部贴标志物后外体扫描,再经导板设计、打印,用于手术前的准备工作需要话费3-6个小时,对于急性脑出血的患者而言,时间就是生命,需要与时间赛跑,尽快确立微创穿刺位置以及穿刺方向,尽快实施手术已经成为保证患者健全功能的关键所在,也是医务人员面临的一大课题。
发明内容
针对现有3D打印导板定位技术中存在着设备投资较大、设计打印需要一定时间的现实状况,本发明提供一种三维辅助下脑病灶的穿刺定位架,其原理是利用三维辅助下两点一线定位法进行精准定位,免除了设计和打印3D导板以及消毒3D导板的繁琐过程,极大地缩短了手术准备时间,该实用新型可减少设备投资,免去现有技术中的导板设计、3D打印打印及消毒过程,过程,压缩手术准备时间,准确定位定向后,实施即时抢救手术,减少患者功能缺失,挽救患者生命。
本实用新型的技术方案是:一种三维辅助下脑病灶的穿刺定位架,所述穿刺定位架包括滑动尺,滑动尺上一端设置有手柄,相对端一体设置有垂直于滑动尺的固定卡,滑动尺上滑动设置有滑动卡,固定卡与滑动卡在滑动尺的相同方向上相对设置,固定卡与滑动卡在距离滑动尺的远端部分别设置有穿刺定位固定件,固定卡与滑动卡上的穿刺定位固定件均为开口朝向滑动尺的弧形槽,弧形槽轴心在同一条线上,固定卡上弧形槽内配套有定位针,滑动卡上弧形槽配套有定位尺和适配件,定位尺上设置有中心定位口和多个辅助定位孔;
进一步,所述穿刺定位固定件固定在固定卡和滑动卡端部,弧形槽轴心与滑动尺长边平行,滑动卡上弧形槽配套的适配件设置在弧形槽内,与固定卡相对的滑动卡上弧形槽端部设置有垂直于弧形槽轴心的环形片定位片,环形片定位片的内周与弧形槽内周吻合,环形片定位片朝向滑动尺一方开设有引流管与定位尺分离开口;
进一步,所述定位尺包括中心部,由中心部向外周至少延伸出三个条形尺,定位尺包括多个,不同的定位尺中心部分别开设有与弧形槽或其内周设置的适配件内径吻合的中心孔,中心孔与一个条形尺交叉角连通,形成中心定位口,条形尺上设置有多个不同形状的辅助定位孔,条形尺上一个方向标有定向标记;
进一步,所述固定卡与滑动卡垂直延伸至滑动卡的相同侧,固定卡与滑动卡距离滑动尺的长度在10-20cm,穿刺定位固定件位于滑动卡远离滑动尺的一侧,穿刺定位固定件相反侧的滑动尺上设置有垂直于滑动尺的锁紧螺栓,滑动卡在滑动尺上距离固定卡的滑动距离在0-40cm;
进一步,所述定位针包括针端和棒体,棒体外周上设置有台阶,靠近针端的台阶一侧其针端棒体直径大于远离针端一侧针柄棒体直径,定位针远离针端的针柄棒体长度大于靠近针体一侧针端棒体的长度,远离针端的针端棒体设置在圆弧槽或适配件的圆弧内周;
进一步,所述滑动卡在朝向手柄的一侧设置有微调机构,微调机构与滑动卡同向滑动设置在滑动尺上,微调机构上设置有与锁紧螺栓平行的微调锁紧螺栓,微调机构在滑动尺平行方向上设置有与滑动卡滑动连接的微型丝杠,微型丝杠上设置有微型丝杠螺母,微型丝杠螺母设置在微调机构的凹口内;
进一步,滑动卡端部的弧形槽和适配件均为大于1/2小于3/2的马槽型圆弧结构,弧形槽的一侧槽边上开设有L形缺口,适配件的外周设置有与L形缺口对应的适配销,固定卡侧弧形槽二内径与定位针棒体外径一致;
进一步,滑动卡端部设置的弧形槽和适配件均为大于1/2小于3/2的马槽型圆弧结构,弧形槽的内径小于16mm。
本发明具有的积极效果在于:通过在滑动尺上一端设置有手柄,相对端一侧设置有固定卡,滑动尺上滑动设置滑动卡,固定卡与滑动卡在垂直于滑动尺的相同方向上相对延伸设置,并在固定卡端部分别设置定位针,可事先通过三维状态下,确定经过脑内病灶延伸至头皮表面的两个钛定位点的直线作为穿刺方向,在实际定位时,先在患者相对的一对钛定位片上定位孔位置做好标记,揭下钛定位片,将固定卡与滑动卡上定位针分别设置在事先选定标记位置,在定位或定向的基础上,将滑动卡一侧的定位标记作为穿刺点,实施穿刺以及治疗,特别是在滑动卡端部的弧形槽的一侧槽边上开设L形缺口,适配件的外周设置与L形缺口对应的适配销,有利于沿着滑动卡端部的弧形槽或适配件轴心利用不同直径的穿刺工具实施手术;通过在朝向固定卡侧的滑动卡侧穿刺定位固定件端固定设置环形定位片,有利于压紧定位尺,保证穿刺安全准确。该穿刺定位架,通过配置定位尺,有利于在切口前后准确找到穿刺点的中心位置;通过在滑动卡上穿刺定位固定件相反侧设置有锁紧螺栓,可锁紧滑动卡防止滑动卡滑动位移;通过将弧形槽和适配件均为大于1/2小于3/2的马槽型圆弧结构,可方便替换适配件;利用本发明,可免去使用3D打印设备和打印原料,减少设备投资,免去三维建模的导板设计、导板的3D打印,将医生从3D打印中解放出来,降低了医生的劳动强度,由原来在三维下确定定位、定向方案及3D打印准备时间的2-6小时,缩短至目前的5-10分,大幅度地缩短了手术前的准备时间,而且定位、定向准确,抢救手术及时,同时也可避免不同医生手术带来的差异效果,可实现同质化治疗效果,可减少患者功能缺失,能在最短时间内实施手术,为挽救患者生命争取了宝贵时间。
附图说明
图1本实用新型穿刺定位架的正面结构示意图。
图2 沿图1中A-A1方向的剖面示意图。
图3弧形槽的结构示意图。
图4 适配件的结构的结构示意图。
图5 适配件的端面结构示意图。
图6 环形定位片的端面结构示意图。
图7 定位尺的平面结构示意图。
图8定位针的正面结构示意图。
图9脑部设置定位片的示意图。
图10 三维软件下穿刺方向和穿刺点调试示意图。
图11实际应用中的粘贴有定位片的三维示意图。
图12 脑部设置穿刺定位架的示意图。
图13形状各异的钛定位片结构示意图。
图14 圆形钛定位片的结构示意图。
标号说明:10-滑动尺、11-滑动卡、12-固定卡、13-手柄、14a-弧形槽一、14b-弧形槽二、15a-环形片、15b-定位针、16-微调机构、17a-锁紧螺栓、17b-微调锁紧螺栓、18-微型丝杠螺母、19-微型丝杠、19a-滑动丝杠端、20-适配件、21-L形缺口、22-适配销、23a-针柄棒体、23b-针端棒体、24-针端、25-中心部、26-中心孔、27-定位尺、27a条形尺、28-分离开口、29-辅助定位孔、30-钛定位片、31-定位孔、32a-钛片粘结层、32b-加强粘结层、33a-钛片钛片离型纸、33b-加强离型纸、34-加强贴、35-病灶、40-云朵形、41-椭圆形、42-心形、43-组合花瓣形、44-多角形、45-三角形、46-六边形、47-五边形、48-梯形、49-正方形。
具体实施方式
以下参照附图就本实用新型的技术方案进行详细说明,在定位过程中本实用新型器械以及相关的配件均需要按照相关的规定进行相应的消毒处理方可用于脑部手术的定位出穿刺中。
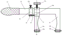
本实用新型的技术方案是一种三维辅助下的脑病灶穿刺定位架,图1是本实用新型穿刺定位架的正面结构示意图、图2 是沿图1中A-A1方向的剖面示意图。所述穿刺定位架包括滑动尺10,滑动尺10上一端设置有手柄13,滑动尺10上手柄13的相对端滑动尺10的垂直方向上设置有与滑动尺10连为一体的固定卡12,滑动尺10上滑动设置有滑动卡11,固定卡12与滑动卡11在滑动尺10的相同方向上相对设置,固定卡12与滑动卡11距离滑动尺10的远端部分别设置有穿刺定位固定件,固定卡12与滑动卡11上的穿刺定位固定件为开口朝向滑动尺10的弧形槽,两个弧形槽即:弧形槽一14a和弧形槽二14b,弧形槽一14a和弧形槽二14b的轴心在同一条线上,固定卡12上弧形槽二14b内配套有定位针15b,滑动卡11上弧形槽一14a配套有定位尺27和适配件20,定位尺27上设置有中心定位口28和多个辅助定位孔29。
图3是弧形槽的结构示意图、图4 是适配件的结构的结构示意图、图5是适配件的端面结构示意图、所述固定卡12与滑动卡11垂直延伸至滑动卡10的相同侧,固定卡12与滑动卡11端部距离滑动尺10的长度在10-20cm,弧形槽一14a、弧形槽二14b或适配件20的端面与长度方向个垂直。所述穿刺定位固定件固定在固定卡12和滑动卡11端部,弧形槽轴心与滑动尺10长边平行,穿刺定位固定件包括弧形槽包括弧形槽一14a和弧形槽二14b,弧形槽一14a和弧形槽二14b分别焊接固定在滑动卡11和固定卡12的端部,两个弧形槽的轴心与滑动尺10长边平行,滑动卡10上弧形槽一14a配套的适配件20设置在弧形槽一14a内,与固定卡12相对的滑动卡11上弧形槽一14a端部设置有垂直于弧形槽一14a轴心的环形片定位片27,环形片定位片27的内周与弧形槽一14a内周吻合,环形定位片27上朝向滑动尺10的一方开设有引流管与定位尺的分离开口28,分离开口28内端为圆弧形,圆弧半径大小与弧形槽一14a的内径相等,圆弧为中心孔的一部分。
图6 是环形定位片的端面结构示意图。环形定位片15a固定在弧形槽一14a朝向弧形槽二一侧的端部,环形定位片15a内周与弧形槽一14a半径一致。
定位针15b为棒型结构,定位针15b固定在固定卡12端部,定位针15b设置在弧形槽二14b的内周。滑动卡11侧弧形槽一14a内周可设置配套的适配件20,适配件20设置在弧形槽一14a内,形状与弧形槽一14a相似,但适配件20外周与弧形槽一14a内周相同。
图7是定位尺的平面结构示意图。所述定位尺27包括中心部25,由中心部25向外周至少延伸出三个条形尺27a,定位尺27包括多个,不同的定位尺27的中心部25分别开设有与弧形槽一14a或其内周设置的适配件20内径吻合的中心孔26,中心孔26与条形尺27a的一个交叉角连通,形成中心定位口28,条形尺27a上设置有多个不同形状的辅助定位孔29,条形尺27a上一个方向标有定向标记。
在本实施例中,所述定位尺27为十字形结构,为了能够快速地与头部定位标记二次吻合,在一个端部可有“上”,作为定向标记,一般在定位是将标有“上”字的方向朝上,会尽快吻合(具体吻合方法参见后述定位方法),也可以利用箭头等作为定向标记。
滑动卡端部的弧形槽一14a和适配件20均为大于1/2小于3/2的马槽型圆弧结构,弧形槽的一侧槽边上开设有L形缺口21,适配件20的外周设置有与L形缺口21对应的适配销22,使用时,通过将适配件20适配销22与弧形槽上L形缺口21口吻合,沿着圆弧方向转动,可将适配件20设置到弧形槽一14a的内周,同样,也可以卸下,固定卡12侧弧形槽二14b内径与定位针15b针柄棒体23a的外径一致。
弧形槽的内径小于16mm,滑动卡11侧端部设置的弧形槽一14a和适配件20均为大于1/2小于3/2的马槽型圆弧结构,弧形槽一14a朝向固定卡12侧固定的环形定位片15a弧形槽一14a包括不同内径的圆弧结构是适配件20,弧形槽二14b内径与定位棒体外径固定不变。
穿刺定位固定件位于滑动卡11远离滑动尺10的一端,穿刺定位固定件相反侧的滑动尺10上设置有垂直于滑动尺10的锁紧螺栓17a,滑动卡11在滑动尺10上距离固定卡12的滑动距离在0-40cm。
图8是定位针的正面结构示意图,所述定位针包括针端24和棒体,棒体外周上设置有台阶,靠近针端24台阶一侧的针端棒体23b直径大于远离针端24一侧针柄棒体23a直径,定位针远离针端24的针柄棒体23a长度大于靠近针体一侧针端棒体23b的长度,远离针端24的针端棒体23b设置在弧形槽或适配件20的圆弧内周。
所述滑动卡11在朝向手柄13的一侧设置有微调机构16,微调机构16与滑动卡11同向滑动设置在滑动尺10上,19a为滑动丝杠端,以丝杠轴心转动设置在滑动卡11内,滑动卡11朝向微调机构侧设置有滑动丝杠端19a的压紧板,压紧板利用小型螺丝固定,微调机构16上设置有与锁紧螺栓17a平行的微调锁紧螺栓17b,微调机构16在滑动尺10平行方向上设置有与滑动卡11滑动连接的微型丝杠19,微型丝杠19上设置有微型丝杠螺母18,微型丝杠螺母18设置在微调机构16的凹口内。
上述脑病灶穿刺定位架、定位尺使用不锈钢或钛金属制成,有利于手术前的消毒处理。
三维辅助下脑病灶的穿刺定位架的定位方法,是利用上述的两组多个不同周边形状的钛定位片、利用上述定位架穿刺定位架实施定位,其所述定位和定向的具体步骤如下:
1)、利用CT、MRI等医疗设备的手段寻找病灶35的合适穿刺位置;
2)、图9是脑部设置定位片的示意图,手术前为患者剃头,根据病灶35确定大致的微创部位和穿刺方向,在微创部周边头皮上粘贴多个形状各异的一组钛定位片30,穿刺方向上,在经病灶35合适的微创穿刺部位相反直线方向头皮上粘贴另外一组多个形状各异的钛定位片30;
3)、利用CT、MRI等进行扫描,获得包括多个钛定位片在内的脑部的三维图像;
4)、将脑部图像导出至专用的三维建模软件将扫描数据重建,进行穿刺路径、穿刺位置穿刺深度的精确设计;
A)、图10是三维软件下穿刺方向和穿刺点调试示意图。图11是实际应用中的粘贴有定位片的三维示意图。三维软件中,以脑内病灶35上某最佳位置为预定圆点,确定具体的穿刺的位置以及方向,并使穿刺点落入一个钛定位片的定位孔31中心,穿刺方向上避开重要脏器、神经、重要动脉血管,并在预定圆点周边留有一定的位移余量,图10和图11中是两个不同方向的实施例,图11中看上次浮在头外侧段部分是因为在三维照片下显示不出皮肤部分,只能照出骨头、病灶等部分,其实定位片是贴在头皮上的,在图11中的定位是心形42钛定位片30和提醒48钛定位片30之间的穿刺方向;
B)、从穿刺点经病灶35上预定圆点,延伸至头皮相对一侧,确定对应的钛定位片;在本实施例中,穿刺方向设定在心形42和云朵40钛定位片中心孔之间;
C)、确认该延长线是否落入相对侧所在定位片的中心孔内,如果没有进入相对侧定位片的中心位置,在两定位片的定位孔31间画出连线,确认:
⑴连线是在经病灶35预定圆点的有效范围内;
⑵慎重起见,再确认穿刺点到病灶35的路径中没有重要脏器、神经、重要动脉血管;
5)、 在手术准备记录簿中记录穿刺点和相对点的定位片形状;
6)、进行穿刺的定位前,按照手术准备记录簿中记录穿刺点和相对点的定位片形状,分别从定位点和相对点所在的钛定位中心孔利用记号笔在头皮上做好标记,并揭掉粘贴在患者头皮上的所有钛定位片;
7)在穿刺方向一侧,将定位尺27的中心孔26的中心位置位于头皮上穿刺方向一侧的标记中心位置,将柔性定位尺27的多个方向的条形尺27a贴近头皮,将定向标记与所标的方向一致,从定位尺上各种形状的定位孔29中利用细的记号笔在头皮上做好不同形状的定位标号;
8)拿下定位尺27,在穿刺侧的穿刺定位标记上实施头皮切口;
9)按照头皮上做好的不同形状的辅助定位标记和定向标记,使定位尺27还原到原来位置,在切口处找到定位尺27的中心孔的中心位置;
10)、图12 是脑部设置穿刺定位架的示意图。根据需要,在固定卡12一侧的圆弧槽二14b上事先安装定位针15b,根据需要在固定卡一侧的圆弧槽一14a上设置相应大小的适配件20,将固定卡12侧定位针15b针端置于相对点标记处,沿滑动尺10滑动滑动卡11,将滑动卡11侧 弧形槽一14a与定位尺27上中心孔吻合在穿刺一侧的穿刺点上,锁紧锁紧螺栓17a;
11)、定位结束,沿定位架弧形槽一14a或适配件20的槽插入穿刺器械或者引流管,在设计的深度进行相应的微创手术,即:先颅骨钻孔、穿破硬脑膜、引流管缓慢穿刺进入病灶预定位置。
本实用新型通过在滑动尺10上一端设置有手柄13,相对端一体设置垂直于滑动尺10的固定卡12,滑动尺10上滑动设置滑动卡11,固定卡12与滑动卡11在滑动尺10的相同方向上相对设置,并在滑动卡11和固定卡12端部分别设置定位针,可事先在三维状态下,确定经过脑内病灶35到脑皮表面两个钛定位孔的直线,作为穿刺方向,在实际定位时,先在事前确定的两个钛定位片定位孔31做好标记,将固定卡12上定位针针端设置在脑外周相对点标记上,将滑动卡11端的环形定位片设置在穿刺点标记上,并将滑动卡11侧作为穿刺始点,在定位或定向的基础上,实施穿刺以及治疗,特别是在滑动卡11侧的弧形槽一14a一侧槽边上开设L形缺口21,适配件20的外周设置与L形缺口21对应的适配销22,有利于更换不同直径的穿刺工具,沿着弧形槽一14a或适配件20的轴心方向实施手术,通过在朝向固定卡12侧的滑动卡11侧穿刺定位固定件端设置环形定位片15a,有利于压紧定位尺27,保证穿刺安全准确。该穿刺定位架,通过配置定位尺27,有利于在切口前后找到穿刺点的中心位置;通过在滑动卡11在设置穿刺定位固定件的相反一侧设置有锁紧螺栓17a,可锁紧滑动卡11防止滑动卡11滑动位移,通过将弧形槽和适配件20设计成大于1/2小于3/2的马槽型圆弧结构,可保证适配件20的更换,满足不同直径穿刺工具的插入。利用本实用新型,可免去设计及打印3D导板以及导板消毒和打印设备及原料,可减少设备投资,免去了原来三维建模下的导板设计、导板的3D打印,将医生从玩味设计、3D打印中解放出来,可降低医生的劳动强度,使原来2-6小时的三维设计及3D打印的准备时间,缩短至目前的5-10分,大幅度地缩短了手术前的准备时间,而且定位、定向准确,抢救手术及时,同时也可避免不同医生手术带来的差异效果,实现同质化治疗效果,可减少患者原有功能的缺失,能在最短时间内实施手术,为挽救患者生命争取了宝贵时间。
Claims (8)
1.一种三维辅助下脑病灶的穿刺定位架,其特征在于:所述穿刺定位架包括滑动尺,滑动尺上一端设置有手柄,相对端一体设置有垂直于滑动尺的固定卡,滑动尺上滑动设置有滑动卡,固定卡与滑动卡在滑动尺的相同方向上相对设置,固定卡与滑动卡在距离滑动尺的远端部分别设置有穿刺定位固定件,固定卡与滑动卡上的穿刺定位固定件均为开口朝向滑动尺的弧形槽,弧形槽轴心在同一条线上,固定卡上弧形槽内配套有定位针,滑动卡上弧形槽配套有定位尺和适配件,定位尺上设置有中心定位口和多个辅助定位孔。
2.根据权利要求1所述的一种三维辅助下脑病灶的穿刺定位架,其特征在于:所述穿刺定位固定件固定在固定卡和滑动卡端部,弧形槽轴心与滑动尺长边平行,滑动卡上弧形槽配套的适配件设置在弧形槽内,与固定卡相对的滑动卡上弧形槽端部设置有垂直于弧形槽轴心的环形片定位片,环形片定位片的内周与弧形槽内周吻合,环形片定位片朝向滑动尺一方开设有引流管与定位尺分离开口。
3.根据权利要求1所述的一种三维辅助下脑病灶的穿刺定位架,其特征在于:所述定位尺包括中心部,由中心部向外周至少延伸出三个条形尺,定位尺包括多个,不同的定位尺中心部分别开设有与弧形槽或其内周设置的适配件内径吻合的中心孔,中心孔与一个条形尺交叉角连通,形成中心定位口,条形尺上设置有多个不同形状的辅助定位孔,条形尺上一个方向标有定向标记。
4.根据权利要求1所述的一种三维辅助下脑病灶的穿刺定位架,其特征在于:所述固定卡与滑动卡垂直延伸至滑动卡的相同侧,固定卡与滑动卡距离滑动尺的长度在10-20cm,穿刺定位固定件位于滑动卡远离滑动尺的一侧,穿刺定位固定件相反侧的滑动尺上设置有垂直于滑动尺的锁紧螺栓,滑动卡在滑动尺上距离固定卡的滑动距离在0-40cm。
5.根据权利要求1所述的一种三维辅助下脑病灶的穿刺定位架,其特征在于:所述定位针包括针端和棒体,棒体外周上设置有台阶,靠近针端的台阶一侧其针端棒体直径大于远离针端一侧针柄棒体直径,定位针远离针端的针柄棒体长度大于靠近针体一侧针端棒体的长度,远离针端的针端棒体设置在圆弧槽或适配件的圆弧内周。
6.根据权利要求1所述的一种三维辅助下脑病灶的穿刺定位架,其特征在于:所述滑动卡在朝向手柄的一侧设置有微调机构,微调机构与滑动卡同向滑动设置在滑动尺上,微调机构上设置有与锁紧螺栓平行的微调锁紧螺栓,微调机构在滑动尺平行方向上设置有与滑动卡滑动连接的微型丝杠,微型丝杠上设置有微型丝杠螺母,微型丝杠螺母设置在微调机构的凹口内。
7.根据权利要求2所述的一种三维辅助下脑病灶的穿刺定位架,其特征在于:滑动卡端部的弧形槽和适配件均为大于1/2小于3/2的马槽型圆弧结构,弧形槽的一侧槽边上开设有L形缺口,适配件的外周设置有与L形缺口对应的适配销,固定卡侧弧形槽二内径与定位针棒体外径一致。
8.根据权利要求7所述的一种三维辅助下脑病灶的穿刺定位架,其特征在于:滑动卡端部设置的弧形槽和适配件均为大于1/2小于3/2的马槽型圆弧结构,弧形槽的内径小于16mm。
Priority Applications (1)
| Application Number | Priority Date | Filing Date | Title |
|---|---|---|---|
| CN202022429772.0U CN212415860U (zh) | 2020-10-28 | 2020-10-28 | 一种三维辅助下脑病灶的穿刺定位架 |
Applications Claiming Priority (1)
| Application Number | Priority Date | Filing Date | Title |
|---|---|---|---|
| CN202022429772.0U CN212415860U (zh) | 2020-10-28 | 2020-10-28 | 一种三维辅助下脑病灶的穿刺定位架 |
Publications (1)
| Publication Number | Publication Date |
|---|---|
| CN212415860U true CN212415860U (zh) | 2021-01-29 |
Family
ID=74279820
Family Applications (1)
| Application Number | Title | Priority Date | Filing Date |
|---|---|---|---|
| CN202022429772.0U Active CN212415860U (zh) | 2020-10-28 | 2020-10-28 | 一种三维辅助下脑病灶的穿刺定位架 |
Country Status (1)
| Country | Link |
|---|---|
| CN (1) | CN212415860U (zh) |
Cited By (1)
| Publication number | Priority date | Publication date | Assignee | Title |
|---|---|---|---|---|
| CN112155694A (zh) * | 2020-10-28 | 2021-01-01 | 杨利民 | 一种三维辅助下脑病灶的穿刺定位架及其定位方法 |
-
2020
- 2020-10-28 CN CN202022429772.0U patent/CN212415860U/zh active Active
Cited By (2)
| Publication number | Priority date | Publication date | Assignee | Title |
|---|---|---|---|---|
| CN112155694A (zh) * | 2020-10-28 | 2021-01-01 | 杨利民 | 一种三维辅助下脑病灶的穿刺定位架及其定位方法 |
| CN112155694B (zh) * | 2020-10-28 | 2025-09-30 | 杨利民 | 一种三维辅助下脑病灶的定位穿刺架 |
Similar Documents
| Publication | Publication Date | Title |
|---|---|---|
| EP3072472A1 (en) | Stereotactic whole-body guide system for precisely positioning surgical instruments inside the body | |
| JP2003199757A (ja) | 脊椎の安定化のための外科案内システム | |
| CN210384000U (zh) | 一种神经导航下颅内血肿穿刺引流装置 | |
| CN212415860U (zh) | 一种三维辅助下脑病灶的穿刺定位架 | |
| CN105662585A (zh) | 一种经皮颞下窝-眼眶外壁内窥镜穿刺导板及其使用方法 | |
| CN112155694A (zh) | 一种三维辅助下脑病灶的穿刺定位架及其定位方法 | |
| CN213030817U (zh) | 一种脊柱外科手术用导板 | |
| CN206214174U (zh) | 一种椎骨定位导向模板 | |
| CN219207253U (zh) | 骨盆骨折用经皮导板 | |
| Canzi et al. | A 3D printed custom-made mask model for frameless neuronavigation during retrosigmoid craniotomy | |
| CN215688308U (zh) | 颅内血肿穿刺定向器 | |
| CN216294233U (zh) | 一种3d打印脊椎经皮精准定位导板 | |
| CN215017013U (zh) | 带有长度标识的消化内镜专用附件 | |
| CN214180506U (zh) | 一种3d打印脊柱截骨导航导板系统 | |
| CN111419382B (zh) | 一种脊柱椎弓根螺钉置钉导航模板 | |
| CN212650904U (zh) | 一种脊柱椎弓根螺钉置钉导航模板 | |
| CN213372297U (zh) | 一种骨骼切除及重建固定装置 | |
| CN214208453U (zh) | 一种x线显影标尺导向贴 | |
| CN223438615U (zh) | 一种脑室穿刺定位辅助装置 | |
| CN208435803U (zh) | 一种新型颅内病变头皮定位尺贴 | |
| CN210383993U (zh) | 一种辅助颅内穿刺的器械 | |
| CN108888330B (zh) | 一种组合导板及其精准定位方法 | |
| CN101856264A (zh) | 一种基于三维建模的骨科手术导航模板 | |
| CN223248292U (zh) | 脑出血3d打印导板 | |
| CN214966353U (zh) | 一种经皮椎弓根定位穿刺器 |
Legal Events
| Date | Code | Title | Description |
|---|---|---|---|
| GR01 | Patent grant | ||
| GR01 | Patent grant |