CN212414234U - 一种猪养殖用自动清理内部垃圾的幼崽保温箱 - Google Patents
一种猪养殖用自动清理内部垃圾的幼崽保温箱 Download PDFInfo
- Publication number
- CN212414234U CN212414234U CN202020709502.2U CN202020709502U CN212414234U CN 212414234 U CN212414234 U CN 212414234U CN 202020709502 U CN202020709502 U CN 202020709502U CN 212414234 U CN212414234 U CN 212414234U
- Authority
- CN
- China
- Prior art keywords
- side wall
- incubator
- rod
- screw rod
- cub
- Prior art date
- Legal status (The legal status is an assumption and is not a legal conclusion. Google has not performed a legal analysis and makes no representation as to the accuracy of the status listed.)
- Expired - Fee Related
Links
- 239000010813 municipal solid waste Substances 0.000 title claims abstract description 23
- 238000009413 insulation Methods 0.000 title claims description 22
- 239000002699 waste material Substances 0.000 claims abstract description 14
- 238000009395 breeding Methods 0.000 claims abstract description 13
- 230000001488 breeding effect Effects 0.000 claims abstract description 13
- 238000004140 cleaning Methods 0.000 claims abstract description 12
- 230000005540 biological transmission Effects 0.000 claims description 12
- 238000003466 welding Methods 0.000 claims description 8
- 238000009423 ventilation Methods 0.000 claims description 7
- 239000003381 stabilizer Substances 0.000 claims description 4
- 241000282887 Suidae Species 0.000 abstract description 5
- 238000004321 preservation Methods 0.000 description 12
- 230000000694 effects Effects 0.000 description 5
- 210000002700 urine Anatomy 0.000 description 5
- 238000012986 modification Methods 0.000 description 3
- 230000004048 modification Effects 0.000 description 3
- XAGFODPZIPBFFR-UHFFFAOYSA-N aluminium Chemical compound [Al] XAGFODPZIPBFFR-UHFFFAOYSA-N 0.000 description 2
- 229910052782 aluminium Inorganic materials 0.000 description 2
- 210000003608 fece Anatomy 0.000 description 2
- 238000001914 filtration Methods 0.000 description 2
- 238000004519 manufacturing process Methods 0.000 description 2
- 238000004804 winding Methods 0.000 description 2
- 230000001680 brushing effect Effects 0.000 description 1
- 238000010586 diagram Methods 0.000 description 1
- 230000005484 gravity Effects 0.000 description 1
- 239000002245 particle Substances 0.000 description 1
Images
Landscapes
- Housing For Livestock And Birds (AREA)
Abstract
本实用新型公开了一种猪养殖用自动清理内部垃圾的幼崽保温箱,属于幼崽保温箱技术领域,包括保温箱,所述保温箱内侧壁下部焊接有滤网,所述滤网末端开设有投料口且投料口焊接有护栏,所述保温箱内侧壁底部与废料盒连接,所述滤网顶部与毛刷连接,所述毛刷顶部通过连杆与轴承连接,所述轴承套接在丝杆套外侧壁,所述丝杆套内侧壁开设有内螺纹且通过内螺纹和外螺纹与丝杆配合连接,所述丝杆焊接在盒体内侧壁,所述丝杆的动力输入端与电动机A的动力输出端电性连接,所述保温箱底部四角焊接有支撑架,所述支撑架底部焊接有支脚,本实用新型幼崽保温箱可自动清理滤网顶部的垃圾,节约人力且便于移动和运输。
Description
技术领域
本实用新型涉及幼崽保温箱技术领域,尤其涉及一种猪养殖用自动清理内部垃圾的幼崽保温箱。
背景技术
由传统养猪业向现代养猪业转变,无论是养殖模式、区域布局还是生产方式、生产能力都在发生显著变化,一般母猪一胎生产六到十只左右,有时候由于某一方面的原因,需要将幼崽送入保温箱中保护起来,但是一般的幼崽保温箱很大,不方便搬运,而且使用过后不方便清理粪便,容易造成箱内异味,无法短时间内清理掉,影响使用。
专利号201821074199 .2中公布了一种猪养殖用幼崽保温箱,该幼崽保温箱主要用于养猪业幼崽保护,箱体体型适合猪的幼崽,箱内设置有软垫,防止幼崽意外对箱内构件造成损坏,免去不必要的损失;箱门通过T型插销和固定块配合固定,便于使用;该保温箱主体通过底板和侧板组装而成,底板与侧板通过连接槽和凸台连接,侧板之间通过L型插销和插槽连接,便于组装和拆卸;所述挡板上设置有可转动的连接杆,连接杆之间有空隙,便于粪便掉落,粪便掉落在挡板下方设置的可抽出的收集板,便于清理粪便,保持箱内环境,不影响下次使用。
上述专利中公布的幼崽保温箱有以下缺点:1、上述专利中公布的幼崽保温箱通过粪便在自身重力的作用下从底板缝隙掉入废料盒中,由于粪便颗粒较大,如底板上开设有的空隙过小则粪便无法掉落,如空隙过大则仔猪猪脚容易陷入空隙中,清理粪便不干净且效率低;2、上述专利中公布的幼崽保温箱体体积较大不方便携带和运输,需要工作人员手动人力搬运,增加了工作人员的工作量,使工作人员十分的疲惫;为此,我们提出一种猪养殖用自动清理内部垃圾的幼崽保温箱。
实用新型内容
本实用新型提供一种猪养殖用自动清理内部垃圾的幼崽保温箱,本实用新型幼崽保温箱可自动清理滤网顶部的垃圾,节约人力,当滤网顶部堆积的仔猪粪便过多时,再将仔猪拿出保温箱后,通过电动机A带动丝杆顺时针转动,由于丝杆套内侧壁开设有与丝杆外侧壁外螺纹配合的内螺纹,当丝杆顺时针转动时,丝杆套向保温箱内部护栏一侧转动,由于丝杆套外侧壁通过轴承和连杆与毛刷连接,由于护栏的开孔较大,毛刷可在滤网顶部向护栏一侧刷动将粪便从护栏的孔处刷到废料盒中,清理完毕后通过电动机A带动丝杆逆时针转动,丝杆套通过轴承和连杆带动毛刷向保温箱另一侧移动复位,本实用新型幼崽保温箱便于移动和运输,当需要运输时,控制电动伸缩杆伸长,电动伸缩杆内部的电动机B通过传动轴带动齿轮顺时针旋转,齿轮通过上杆内侧壁的锯齿和下杆外侧壁的锯齿带动下杆沿着上杆向外移动伸长,直到齿轮接触到限位板,使自锁万向轮着地,工作人员推动保温箱,自锁万向轮滚动带动保温箱移动到目的地,控制电动伸缩杆缩短,电动伸缩杆内部的电动机B通过传动轴带动齿轮逆时针旋转,齿轮通过上杆内侧壁的锯齿和下杆外侧壁的锯齿带动下杆沿着上杆向内移动缩短,使支脚着地,支脚底部粘接有橡胶层,橡胶层底部开设有防滑纹且防滑纹呈凸点状,橡胶层质软有弹性,防滑效果佳,使保温箱稳固的站立在地面上。
本实用新型提供的具体技术方案如下:
本实用新型提供的一种猪养殖用自动清理内部垃圾的幼崽保温箱,包括保温箱,所述保温箱内侧壁下部焊接有滤网,所述滤网末端开设有投料口且投料口焊接有护栏,所述保温箱内侧壁底部与废料盒连接,所述滤网顶部与毛刷连接,所述毛刷顶部通过连杆与轴承连接,所述轴承套接在丝杆套外侧壁,所述丝杆套内侧壁开设有内螺纹且通过内螺纹和外螺纹与丝杆配合连接,所述丝杆焊接在盒体内侧壁,所述丝杆的动力输入端与电动机A的动力输出端电性连接,所述保温箱底部四角焊接有支撑架,所述支撑架底部焊接有支脚,所述保温箱底部中间焊接有电动伸缩杆,所述电动伸缩杆底部安装有自锁万向轮。
可选的,所述保温箱顶部开设有换气口。
可选的,所述保温箱外侧壁一侧通过铰链与门连接,所述门表面焊接有把手。
可选的,所述支脚底部粘接有橡胶层,所述橡胶层底部开设有防滑纹且防滑纹呈凸点状。
可选的,所述电动伸缩杆包括上杆和下杆,所述上杆内侧壁和下杆外侧壁均开设有锯齿,所述上杆内侧壁底部通过锯齿和齿轮与下杆外侧壁上部连接,所述下杆顶部焊接有限位板,所述齿轮的动力输入端通过传动杆与电动机B的动力输出端电性连接。
本实用新型的有益效果如下:
本实用新型实施例提供一种猪养殖用自动清理内部垃圾的幼崽保温箱:
1、本实用新型幼崽保温箱可自动清理滤网顶部的垃圾,节约人力,当滤网顶部堆积的仔猪粪便过多时,再将仔猪拿出保温箱后,通过电动机A带动丝杆顺时针转动,由于丝杆套内侧壁开设有与丝杆外侧壁外螺纹配合的内螺纹,当丝杆顺时针转动时,丝杆套向保温箱内部护栏一侧转动,由于丝杆套外侧壁通过轴承和连杆与毛刷连接,由于护栏的开孔较大,毛刷可在滤网顶部向护栏一侧刷动将粪便从护栏的孔处刷到废料盒中,清理完毕后通过电动机A带动丝杆逆时针转动,丝杆套通过轴承和连杆带动毛刷向保温箱另一侧移动复位,解决上述专利中公布的幼崽保温箱清理粪便不干净且效率低的问题。
2、本实用新型幼崽保温箱便于移动和运输,当需要运输时,控制电动伸缩杆伸长,电动伸缩杆内部的电动机B通过传动轴带动齿轮顺时针旋转,齿轮通过上杆内侧壁的锯齿和下杆外侧壁的锯齿带动下杆沿着上杆向外移动伸长,直到齿轮接触到限位板,使自锁万向轮着地,工作人员推动保温箱,自锁万向轮滚动带动保温箱移动到目的地,控制电动伸缩杆缩短,电动伸缩杆内部的电动机B通过传动轴带动齿轮逆时针旋转,齿轮通过上杆内侧壁的锯齿和下杆外侧壁的锯齿带动下杆沿着上杆向内移动缩短,使支脚着地,支脚底部粘接有橡胶层,橡胶层底部开设有防滑纹且防滑纹呈凸点状,橡胶层质软有弹性,防滑效果佳,使保温箱稳固的站立在地面上,解决上述专利中公布的幼崽保温箱不方便携带和运输的问题。
附图说明
为了更清楚地说明本实用新型实施例中的技术方案,下面将对实施例描述中所需要使用的附图作简单地介绍,显而易见地,下面描述中的附图仅仅是本实用新型的一些实施例,对于本领域普通技术人员来讲,在不付出创造性劳动的前提下,还可以根据这些附图获得其他的附图。
图1为本实用新型实施例的一种猪养殖用自动清理内部垃圾的幼崽保温箱的整体结构示意图;
图2为本实用新型实施例的一种猪养殖用自动清理内部垃圾的幼崽保温箱侧面结构示意图;
图3为本实用新型实施例的一种猪养殖用自动清理内部垃圾的幼崽保温箱的电动伸缩杆的结构示意图。
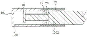
图中:1、保温箱;2、电动机A;3、连杆;4、毛刷;5、滤网;6、废料盒;7、支撑架;8、支脚;9、橡胶层;10、电动伸缩杆;1001、上杆;1002、下杆;11、自锁万向轮;12、换气口;13、轴承;14、丝杆套;15、丝杆;16、盒体;17、护栏;18、限位块;19、齿轮;20、电动机B;21、锯齿。
具体实施方式
为了使本实用新型的目的、技术方案和优点更加清楚,下面将结合附图对本实用新型作进一步地详细描述,显然,所描述的实施例仅仅是本实用新型一部分实施例,而不是全部的实施例。基于本实用新型中的实施例,本领域普通技术人员在没有做出创造性劳动前提下所获得的所有其它实施例,都属于本实用新型保护的范围。
下面将结合图1~图3对本实用新型实施例的一种猪养殖用自动清理内部垃圾的幼崽保温箱进行详细的说明。
参考图1、图2和图3所示,本实用新型实施例提供的一种猪养殖用自动清理内部垃圾的幼崽保温箱,包括保温箱1,所述保温箱1内侧壁下部焊接有滤网5,所述滤网5末端开设有投料口且投料口焊接有护栏17,所述保温箱1内侧壁底部与废料盒6连接,所述滤网5顶部与毛刷4连接,所述毛刷4顶部通过连杆3与轴承13连接,所述轴承13套接在丝杆套14外侧壁,所述丝杆套14内侧壁开设有内螺纹且通过内螺纹和外螺纹与丝杆15配合连接,所述丝杆15焊接在盒体16内侧壁,所述丝杆15的动力输入端与电动机A2的动力输出端电性连接,所述保温箱1底部四角焊接有支撑架7,所述支撑架7底部焊接有支脚8,所述保温箱1底部中间焊接有电动伸缩杆10,所述电动伸缩杆10底部安装有自锁万向轮11。
示例的,本实用新型幼崽保温箱可自动清理滤网5顶部的垃圾,节约人力,当滤网5顶部堆积的仔猪粪便过多时,再将仔猪拿出保温箱1后,通过电动机A2带动丝杆15顺时针转动,由于丝杆套14内侧壁开设有与丝杆15外侧壁外螺纹配合的内螺纹,当丝杆15顺时针转动时,丝杆套14向保温箱1内部护栏17一侧转动,由于丝杆套14外侧壁通过轴承13和连杆3与毛刷4连接,由于护栏17的开孔较大,毛刷4可在滤网5顶部向护栏17一侧刷动将粪便从护栏17的孔处刷到废料盒6中,清理完毕后通过电动机A2带动丝杆15逆时针转动,丝杆套14通过轴承13和连杆3带动毛刷4向保温箱1另一侧移动复位,本实用新型幼崽保温箱便于移动和运输,当需要运输时,控制电动伸缩杆10伸长,电动伸缩杆10内部的电动机B20通过传动轴带动齿轮19顺时针旋转,齿轮19通过上杆1001内侧壁的锯齿21和下杆1002外侧壁的锯齿21带动下杆1002沿着上杆1001向外移动伸长,直到齿轮19接触到限位板18,使自锁万向轮11着地,工作人员推动保温箱1,自锁万向轮11滚动带动保温箱1移动到目的地,控制电动伸缩杆10缩短,电动伸缩杆10内部的电动机B20通过传动轴带动齿轮19逆时针旋转,齿轮19通过上杆1001内侧壁的锯齿21和下杆1002外侧壁的锯齿21带动下杆1002沿着上杆1001向内移动缩短,使支脚8着地,支脚8底部粘接有橡胶层9,橡胶层9底部开设有防滑纹且防滑纹呈凸点状,橡胶层9质软有弹性,防滑效果佳,使保温箱1稳固的站立在地面上。
参考图1所示,所述保温箱1顶部开设有换气口12。
示例的,保温箱1顶部开设有换气口12,便于通风换气。
参考图1所示,所述保温箱1外侧壁一侧通过铰链与门连接,所述门表面焊接有把手。
示例的,保温箱1外侧壁一侧通过铰链与门连接,便于放置或取出仔猪、清理废料盒中的垃圾。
参考图1所示,所述支脚8底部粘接有橡胶层9,所述橡胶层9底部开设有防滑纹且防滑纹呈凸点状。
示例的,支脚8底部粘接有橡胶层9,橡胶层9底部开设有防滑纹且防滑纹呈凸点状,橡胶层9质软有弹性,防滑纹的防滑效果佳。
参考图3所示,所述电动伸缩杆10包括上杆1001和下杆1002,所述上杆1001内侧壁和下杆1002外侧壁均开设有锯齿21,所述上杆1001内侧壁底部通过锯齿21和齿轮19与下杆1002外侧壁上部连接,所述下杆1002顶部焊接有限位板18,所述齿轮19的动力输入端通过传动杆与电动机B20的动力输出端电性连接。
示例的,电动伸缩杆10伸长时,电动伸缩杆10内部的电动机B20通过传动轴带动齿轮19顺时针旋转,齿轮19通过上杆1001内侧壁的锯齿21和下杆1002外侧壁的锯齿21带动下杆1002沿着上杆1001向外移动伸长,直到齿轮19接触到限位板18,电动伸缩杆10缩短时,电动伸缩杆10内部的电动机B20通过传动轴带动齿轮19逆时针旋转,齿轮19通过上杆1001内侧壁的锯齿21和下杆1002外侧壁的锯齿21带动下杆1002沿着上杆1001向内移动缩短。
使用时,当需要运输时,外接电源供电,通过外接开关打开电动伸缩杆10,控制电动伸缩杆10伸长(电动伸缩杆10型号为kwtg),电动伸缩杆10内部的电动机B20通过传动轴带动齿轮19顺时针旋转(电动机A2和电动机B20型号均为YS5624,工作原理为:用定子绕组产生旋转磁场,并作用于鼠笼式闭合铝框,形成磁电动力旋转扭矩,在定子绕组旋转磁场的作用下,电枢鼠笼式铝框中会有电流通过,电流受到磁场的作用,使电动机转动。),齿轮19通过上杆1001内侧壁的锯齿21和下杆1002外侧壁的锯齿21带动下杆1002沿着上杆1001向外移动伸长,直到齿轮19接触到限位板18,使自锁万向轮11着地,工作人员推动保温箱1,自锁万向轮11滚动带动保温箱1移动到目的地,控制电动伸缩杆10缩短,电动伸缩杆10内部的电动机B20通过传动轴带动齿轮19逆时针旋转,齿轮19通过上杆1001内侧壁的锯齿21和下杆1002外侧壁的锯齿21带动下杆1002沿着上杆1001向内移动缩短,使支脚8着地,支脚8底部粘接有橡胶层9,橡胶层9底部开设有防滑纹且防滑纹呈凸点状,橡胶层9质软有弹性,防滑效果佳,使保温箱1稳固的站立在地面上,当滤网5顶部堆积的仔猪粪便过多时,再将仔猪拿出保温箱1后,通过电动机A2带动丝杆15顺时针转动,由于丝杆套14内侧壁开设有与丝杆15外侧壁外螺纹配合的内螺纹,当丝杆15顺时针转动时,丝杆套14向保温箱1内部护栏17一侧转动,由于丝杆套14外侧壁通过轴承13和连杆3与毛刷4连接,由于护栏17的开孔较大,毛刷4可在滤网5顶部向护栏17一侧刷动将粪便从护栏17的孔处刷到废料盒6中,清理完毕后通过电动机A2带动丝杆15逆时针转动,丝杆套14通过轴承13和连杆3带动毛刷4向保温箱1另一侧移动复位,当废料盒6中垃圾满时,打开门将废料盒6取出清理内部垃圾。
需要说明的是,本实用新型为一种猪养殖用自动清理内部垃圾的幼崽保温箱,包括1、保温箱;2、电动机A;3、连杆;4、毛刷;5、滤网;6、废料盒;7、支撑架;8、支脚;9、橡胶层;10、电动伸缩杆;1001、上杆;1002、下杆;11、自锁万向轮;12、换气口;13、轴承;14、丝杆套;15、丝杆;16、盒体;17、护栏;18、限位块;19、齿轮;20、电动机B;21、锯齿,部件均为通用标准件或本领域技术人员知晓的部件,其结构和原理都为本技术人员均可通过技术手册得知或通过常规实验方法获知。
显然,本领域的技术人员可以对本实用新型实施例进行各种改动和变型而不脱离本实用新型实施例的精神和范围。这样,倘若本实用新型实施例的这些修改和变型属于本实用新型权利要求及其等同技术的范围之内,则本实用新型也意图包含这些改动和变型在内。
Claims (5)
1.一种猪养殖用自动清理内部垃圾的幼崽保温箱,包括保温箱(1),其特征在于,所述保温箱(1)内侧壁下部焊接有滤网(5),所述滤网(5)末端开设有投料口且投料口焊接有护栏(17),所述保温箱(1)内侧壁底部与废料盒(6)连接,所述滤网(5)顶部与毛刷(4)连接,所述毛刷(4)顶部通过连杆(3)与轴承(13)连接,所述轴承(13)套接在丝杆套(14)外侧壁,所述丝杆套(14)内侧壁开设有内螺纹且通过内螺纹和外螺纹与丝杆(15)配合连接,所述丝杆(15)焊接在盒体(16)内侧壁,所述丝杆(15)的动力输入端与电动机A(2)的动力输出端电性连接,所述保温箱(1)底部四角焊接有支撑架(7),所述支撑架(7)底部焊接有支脚(8),所述保温箱(1)底部中间焊接有电动伸缩杆(10),所述电动伸缩杆(10)底部安装有自锁万向轮(11)。
2.根据权利要求1所述的一种猪养殖用自动清理内部垃圾的幼崽保温箱,其特征在于,所述保温箱(1)顶部开设有换气口(12)。
3.根据权利要求1所述的一种猪养殖用自动清理内部垃圾的幼崽保温箱,其特征在于,所述保温箱(1)外侧壁一侧通过铰链与门连接,所述门表面焊接有把手。
4.根据权利要求1所述的一种猪养殖用自动清理内部垃圾的幼崽保温箱,其特征在于,所述支脚(8)底部粘接有橡胶层(9),所述橡胶层(9)底部开设有防滑纹且防滑纹呈凸点状。
5.根据权利要求1所述的一种猪养殖用自动清理内部垃圾的幼崽保温箱,其特征在于,所述电动伸缩杆(10)包括上杆(1001)和下杆(1002),所述上杆(1001)内侧壁和下杆(1002)外侧壁均开设有锯齿(21),所述上杆(1001)内侧壁底部通过锯齿(21)和齿轮(19)与下杆(1002)外侧壁上部连接,所述下杆(1002)顶部焊接有限位板(18),所述齿轮(19)的动力输入端通过传动杆与电动机B(20)的动力输出端电性连接。
Priority Applications (1)
| Application Number | Priority Date | Filing Date | Title |
|---|---|---|---|
| CN202020709502.2U CN212414234U (zh) | 2020-05-02 | 2020-05-02 | 一种猪养殖用自动清理内部垃圾的幼崽保温箱 |
Applications Claiming Priority (1)
| Application Number | Priority Date | Filing Date | Title |
|---|---|---|---|
| CN202020709502.2U CN212414234U (zh) | 2020-05-02 | 2020-05-02 | 一种猪养殖用自动清理内部垃圾的幼崽保温箱 |
Publications (1)
| Publication Number | Publication Date |
|---|---|
| CN212414234U true CN212414234U (zh) | 2021-01-29 |
Family
ID=74289165
Family Applications (1)
| Application Number | Title | Priority Date | Filing Date |
|---|---|---|---|
| CN202020709502.2U Expired - Fee Related CN212414234U (zh) | 2020-05-02 | 2020-05-02 | 一种猪养殖用自动清理内部垃圾的幼崽保温箱 |
Country Status (1)
| Country | Link |
|---|---|
| CN (1) | CN212414234U (zh) |
Cited By (1)
| Publication number | Priority date | Publication date | Assignee | Title |
|---|---|---|---|---|
| CN113115715A (zh) * | 2021-04-20 | 2021-07-16 | 杨茜 | 一种恒温箱自动清理装置及其使用方法 |
-
2020
- 2020-05-02 CN CN202020709502.2U patent/CN212414234U/zh not_active Expired - Fee Related
Cited By (1)
| Publication number | Priority date | Publication date | Assignee | Title |
|---|---|---|---|---|
| CN113115715A (zh) * | 2021-04-20 | 2021-07-16 | 杨茜 | 一种恒温箱自动清理装置及其使用方法 |
Similar Documents
| Publication | Publication Date | Title |
|---|---|---|
| CN204911687U (zh) | 一种生活垃圾处理箱 | |
| CN206686873U (zh) | 一种自清洁畜牧笼架 | |
| CN209099258U (zh) | 一种用于城市清洁用的垃圾捡拾装置 | |
| CN205849405U (zh) | 一种拖扫一体机 | |
| CN206294694U (zh) | 一种养殖场用食槽 | |
| CN212414234U (zh) | 一种猪养殖用自动清理内部垃圾的幼崽保温箱 | |
| CN201078941Y (zh) | 组装式机械刮粪板 | |
| CN202173370U (zh) | 一种静电吸附清洁器 | |
| CN207998200U (zh) | 一种可自动清洁垃圾箱 | |
| CN203167768U (zh) | 自走式电动清粪机 | |
| CN107912314A (zh) | 一种机械式牲畜喂食槽废料清理装置 | |
| CN216314645U (zh) | 一种节能环保型牛场清粪车 | |
| CN116098070B (zh) | 一种智能清粪机器人 | |
| CN103190351B (zh) | 奶牛场粪便的自走式清理方法及装置 | |
| CN203985433U (zh) | 一种牛舍清粪机 | |
| CN212589493U (zh) | 一种畜牧业用的粪便高效回收装置 | |
| CN110637732A (zh) | 一种高效机械刮板 | |
| CN211931919U (zh) | 一种牛养殖场用粪便清理装置 | |
| CN221901835U (zh) | 一种牛舍用粪便收集装置 | |
| CN210017389U (zh) | 山羊养殖用粪便清理装置 | |
| CN206851688U (zh) | 一种畜牧饲料槽 | |
| CN221930963U (zh) | 一种生猪养殖粪便清理装置 | |
| CN214071218U (zh) | 一种用于养殖鸡舍的清粪机构 | |
| CN222090453U (zh) | 一种羔羊养殖清粪装置 | |
| CN221948956U (zh) | 一种生猪养殖用刮粪机 |
Legal Events
| Date | Code | Title | Description |
|---|---|---|---|
| GR01 | Patent grant | ||
| GR01 | Patent grant | ||
| CF01 | Termination of patent right due to non-payment of annual fee | ||
| CF01 | Termination of patent right due to non-payment of annual fee |
Granted publication date: 20210129 |