CN212382820U - A dressing for tracheostomy cannula - Google Patents

A dressing for tracheostomy cannula Download PDF

Info

Publication number
CN212382820U
CN212382820U CN202020181831.4U CN202020181831U CN212382820U CN 212382820 U CN212382820 U CN 212382820U CN 202020181831 U CN202020181831 U CN 202020181831U CN 212382820 U CN212382820 U CN 212382820U
Authority
CN
China
Prior art keywords
pad
dressing
extension
patient
tracheotomy
Prior art date
Legal status (The legal status is an assumption and is not a legal conclusion. Google has not performed a legal analysis and makes no representation as to the accuracy of the status listed.)
Active
Application number
CN202020181831.4U
Other languages
Chinese (zh)
Inventor
陈瀚熙
陈凌
卢奕云
欧艳秋
李建鹏
赖文
陈华德
Current Assignee (The listed assignees may be inaccurate. Google has not performed a legal analysis and makes no representation or warranty as to the accuracy of the list.)
Guangdong General Hospital Guangdong Academy of Medical Sciences
Original Assignee
Guangdong General Hospital Guangdong Academy of Medical Sciences
Priority date (The priority date is an assumption and is not a legal conclusion. Google has not performed a legal analysis and makes no representation as to the accuracy of the date listed.)
Filing date
Publication date
Application filed by Guangdong General Hospital Guangdong Academy of Medical Sciences filed Critical Guangdong General Hospital Guangdong Academy of Medical Sciences
Priority to CN202020181831.4U priority Critical patent/CN212382820U/en
Application granted granted Critical
Publication of CN212382820U publication Critical patent/CN212382820U/en
Active legal-status Critical Current
Anticipated expiration legal-status Critical

Links

Images

Landscapes

  • Media Introduction/Drainage Providing Device (AREA)

Abstract

本实用新型涉及医疗器械技术领域,公开了一种用于气管切开套管的敷料,其包括敷料垫和用于环绕在患者颈部上的延长垫,所述敷料垫与所述延长垫的第一端部固定连接,所述延长垫的第二端部可拆卸地连接在所述敷料垫上,所述敷料垫上设有供气管切开套管穿过的定位孔。本实用新型提供的用于气管切开套管的敷料便于医护人员将敷料稳固地固定在患者的颈部。

Figure 202020181831

The utility model relates to the technical field of medical devices, and discloses a dressing for a tracheostomy cannula, which comprises a dressing pad and an extension pad for surrounding the neck of a patient, the dressing pad and the extension pad are The first end is fixedly connected, the second end of the extension pad is detachably connected to the dressing pad, and the dressing pad is provided with a positioning hole through which the tracheostomy cannula passes. The dressing for the tracheotomy sleeve provided by the utility model is convenient for medical staff to fix the dressing firmly on the neck of the patient.

Figure 202020181831

Description

Dressing for tracheotomy cannula
Technical Field
The utility model relates to the technical field of medical equipment, in particular to a dressing for tracheotomy.
Background
The tracheotomy needs to cut the anterior wall of the cartilage ring of the 3 rd and 4 th sections of the trachea, and a tracheotomy tube is inserted into the trachea to establish an artificial airway. The incidence of tracheotomy complications is 6-66%. Incisional infection is one of the common complications after tracheotomy, and the consequences of the infection are delayed healing of the incision, prolonged tube-carrying time, increased hospital stay, increased lung infection and even systemic infection. Therefore, the change of the incision dressing after the operation is the key in nursing, the reasonable dressing selection is very important, and at present, medical care personnel use gauze or functional dressing for changing the dressing.
The drawback of using gauze to cover the incision is that: first, sterile gauze is often contaminated and needs to be replaced frequently. If not in time changing, cause gauze and human tissue adhesion easily, arouse patient's pain, neogenesis tissue damage scheduling problem easily causes vicious circle, increases nursing work load and patient's burden. Moreover, frequent replacement of the incisional gauze tends to pull on the outer cannula and thereby irritate the patient's trachea, causing the patient to cough and restlessness. The patient can have the conditions of accelerated heart rate, increased blood pressure and increased intracranial pressure. Secondly, the non-woven gauze is made of non-woven fabrics, medical staff mainly use sterile vaseline oil gauze for dressing change, the problems of vaseline oil, large density of oil gauze, poor air permeability, unsmooth drainage and the like exist, sputum of a patient is easily accumulated around an incision, and nourishing bacteria grow to cause wound infection and secondary respiratory infection.
The use of the functional dressing can reduce the infection probability of the wound, reduce the use time of antibiotics, reduce the adhesion of the wound, reduce the exudate, reduce the adverse reactions such as red swelling, rash and the like, reduce the pain of the patient and increase the comfort of the patient. The functional dressing also has the good effects of healing the wound surface quickly, reducing the dressing change times and the workload of nurses, saving human resources and the like. However, the functional dressing is composed of only one pad, which is not easily fixed on the neck of a patient and easily slips off the neck of the patient.
SUMMERY OF THE UTILITY MODEL
The utility model aims at: a dressing for a tracheotomy cannula is provided that facilitates a medical practitioner to securely fix the dressing to the neck of a patient.
In order to achieve the above object, the utility model provides a dressing for tracheotomy sleeve pipe, it includes dressing pad and is used for encircleing the extension pad on patient's neck, dressing pad with the first end fixed connection of extension pad, the second end detachably of extension pad is connected dressing pad stacks up, be equipped with the locating hole that the air supply pipe incision sleeve pipe passed on the dressing pad.
Preferably, the dressing pad comprises a pad body and a connecting pad, wherein a notch is formed in one side of the pad body, a first end of the connecting pad is rotatably connected with one side of the notch, a first end of the extension pad is fixedly connected to the other side of the pad body, the positioning hole is located in the center of the pad body, when dressing is conducted, a second end of the extension pad penetrates through the notch and is lapped on one side of the pad body, and a second end of the connecting pad is lapped on the second end of the extension pad and the pad body.
Preferably, the extension pad further comprises a fixing band, a mounting position is arranged in the extension pad, the fixing band is detachably mounted in the mounting position, the head end and the tail end of the fixing band protrude out of the mounting position, and the head end and the tail end of the fixing band are detachably connected together.
Preferably, the mounting location is a channel disposed within the elongate mat, the inlet end of the channel being located at the first end of the elongate mat and the outlet end of the channel being located at the second end of the elongate mat.
Preferably, the material of the extension pad is the same as the material of the dressing pad.
Preferably, the extension pad comprises a skin-friendly layer, an absorption layer and a breathable layer which are sequentially arranged.
Preferably, the outer surface of the extension pad is provided with scale marks.
Preferably, the positioning hole is circular, and the diameter of the positioning hole is 0.4 cm-1.5 cm.
Preferably, the length of the extension pad is 30cm to 60cm, and the width of the extension pad is 2.5cm to 3.0 cm.
The embodiment of the utility model provides a dressing for tracheotomy sleeve pipe compares with prior art, and its beneficial effect lies in: through the fixedly connected with extension pad on the dressing pad, the one end that the dressing pad was kept away from to the extension pad is connected with dressing pad detachably. When the dressing pad is used, one end of the extension pad is connected to the dressing pad when the dressing pad is fixed on the neck of a patient, and when the dressing needs to be replaced, the extension pad is detached from the lower part of the dressing pad. The dressing for the tracheotomy tube is easy to use, and is beneficial to fixing the dressing pad on the neck of a patient, so that the dressing pad is not easy to fall off.
Drawings
Fig. 1 is a schematic structural diagram of a dressing for tracheotomy tubes provided by an embodiment of the invention in a non-use state;
fig. 2 is a schematic structural diagram of a dressing for a tracheotomy tube in a deployed state according to an embodiment of the invention;
fig. 3 is a schematic structural view of a dressing (not including a fixing band) for a tracheotomy tube enclosed into a circle according to an embodiment of the present invention.
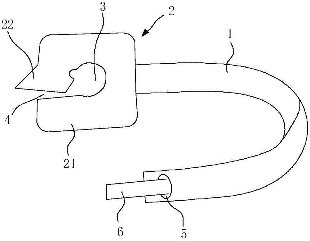
In the figure, 1, an extension pad; 2. a dressing pad; 21. a cushion body; 22. a connecting pad; 3. positioning holes; 4. a notch; 5. an installation position; 6. and (7) fixing the belt.
Detailed Description
The following detailed description of the embodiments of the present invention is provided with reference to the accompanying drawings and examples. The following examples are intended to illustrate the invention, but are not intended to limit the scope of the invention.
In the description of the present invention, it should be understood that the terms used in the present invention are used in the description of the present invention, and it should be understood that the terms "center", "upper", "lower", "front", "inner", "outer" and the like used in the present invention are used as the terms of the directions or positional relationships shown in the drawings, and are used only for convenience of description and simplification of the description, but not for indicating or implying that the device or element to be referred must have a specific direction, be constructed and operated in a specific direction, and thus should not be interpreted as a limitation of the present invention.
It should be understood that the terms "first", "second", etc. are used herein to describe various information, but the information should not be limited to these terms, and these terms are only used to distinguish one type of information from another. For example, "first" information may also be referred to as "second" information, and similarly, "second" information may also be referred to as "first" information, without departing from the scope of the present invention.
In the description of the present invention, it is to be noted that, unless otherwise explicitly specified or limited, the terms "connected" and "connected" are to be interpreted broadly, and may be, for example, fixedly connected, detachably connected, or integrally connected; can be mechanically or electrically connected; they may be connected directly or indirectly through intervening media, or they may be interconnected between two elements. The specific meaning of the above terms in the present invention can be understood in specific cases to those skilled in the art.
As shown in fig. 1 to 3, a dressing for tracheotomy tube according to the preferred embodiment of the invention comprises a dressing pad 2 and an extension pad 1 for surrounding the neck of a patient, wherein the dressing pad 2 is fixedly connected with a first end of the extension pad 1, a second end of the extension pad 1 is detachably connected on the dressing pad 2, and a positioning hole 3 for passing through the tracheotomy tube is arranged on the dressing pad 2.
Based on the technical scheme, during dressing, the dressing pad 2 is positioned on the front side of the neck of a patient, the center of the dressing pad 2 is provided with the positioning hole 3, and medical personnel can insert the tracheotomy tube into the body of the patient through the positioning hole 3. The first end of the extension pad 1 is fixedly connected with the dressing pad 2 and is integrally formed, and the second end of the extension pad 1 is detachably connected with one side, away from the first end of the extension pad 1, of the dressing pad 2. The extension pad 1 can be arranged around the neck of the patient, which is beneficial for the dressing pad 2 to be fixed on the front side of the neck of the patient. When in use, the dressing pad 2 is placed on the front side of the neck of a patient by medical staff, so that the positioning hole 3 is positioned at the incision of the patient. The extension pad 1 encircles behind patient's neck a week, and medical personnel can prune the length of extension pad 1 according to patient's neck circumference, reserves 1cm ~ 3cm of extension pad 1 and is connected with one side detachably of dressing pad 2. The utility model provides a be used for trachea to open sheathed tube dressing is through one side fixed connection of extension pad 1's one end and dressing pad 2, and the other end is connected with dressing pad 2's opposite side detachably for extension pad 1 can enclose and establish at patient's neck, is favorable to medical personnel to fix dressing pad 2 in patient's incision department, has solved the problem of slippage on patient's neck easily from current functional dressing. Extension pad 1 is connected with dressing pad 2 detachably, is favorable to medical personnel to enclose the elasticity of establishing at patient's neck according to patient's neck cover adjustment extension pad 1, improves patient's comfort level.
The dressing pad 2 comprises a pad body 21 and a connecting pad 22, wherein a notch 4 is formed in one side of the pad body 21, the first end of the connecting pad 22 is rotatably connected with one side of the notch 4, the first end of the extension pad 1 is fixedly connected to the other side of the pad body 21, the positioning hole 3 is located in the center of the pad body 21, during dressing, the second end of the extension pad 1 penetrates through the notch 4 to be lapped on one side of the pad body 21, and the second end of the connecting pad 22 is lapped on the second end of the extension pad 1 and the pad body 21. The pad body 21 and the connecting pad 22 are integrally formed, the materials of the pad body and the connecting pad are the same, and the length of the connecting pad 22 is larger than the depth of the notch 4. The pad body 21 and the connecting pad 22 are rotatably connected, which means that the connecting pad 22 can be lifted, and in the non-lifted state, the connecting pad 22 is pressed on the other side of the gap 4, i.e. is lapped on the pad body 21. The notch 4 is located on the center line of one side of the pad body 21, and the shape of the notch 4 may be rectangular. In the non-use state, the second end of the extension pad 1 is not connected to the pad body 21 and the connection pad 22, and the connection pad 22 is pressed against the pad body 21. When the dressing pad 2 is fixed on the neck of a patient, the extension pad 1 is wound around the neck for one circle, and the overlong part of the extension pad 1 is trimmed. The connecting pad 22 is lifted up, so that the trimmed extension pad 1 passes through the notch 4, and the outer side of the second end of the extension pad 1 abuts against the pad body 21. The connecting pad 22 is put down, and the connecting pad 22 is pressed on the extension pad 1 and the pad body 21, thereby realizing the purpose of fixing the dressing pad 2.
Preferably, in order to fix the position of dressing pad 2 more firmly, the utility model provides a be used for the sheathed tube dressing of tracheotomy still includes fixed band 6, is equipped with installation position 5 in the extension pad 1, and fixed band 6 detachably installs in installation position 5, and the head and the tail both ends of fixed band 6 all stand out outside installation position 5, and the head and the tail both ends detachably of fixed band 6 link together. After the connecting pad 22 is pressed on the pad body 21 and the extension pad 1, the whole dressing has the possibility of sliding off, therefore, an installation position 5 for the fixing band 6 to pass through is arranged in the extension pad 1, the middle part of the fixing band 6 is positioned in the installation position 5 and connected with the extension pad 1, and the head end and the tail end of the fixing band 6 protrude out of the installation position 5 and are positioned on the outer side of the dressing pad 2. When the position of the dressing pad 2 needs to be fixed, the head end and the tail end of the fixing band 6 penetrate through the two through holes on the fixing wing of the tracheotomy sleeve tube, and the two ends of the fixing band 6 are knotted, so that the pad body 21, the connecting pad 22 and the extension pad 1 are connected and fastened, the tracheotomy sleeve tube is pressed on the dressing pad 2, and the dressing pad 2 is not easy to loosen. The mounting locations 5 are channels provided in the extension mat 1, the inlet ends of the channels being located at the first end of the extension mat 1 and the outlet ends of the channels being located at the second end of the extension mat 1. The channel extends along the length direction of the extension pad 1, and when the extension pad 1 is arranged in a circular shape, the channel is positioned at the outer side of the extension pad 1. The second end of the fixing strip 6 passes through the inlet end into the channel and then out of the outlet end, i.e. the second end of the extension mat 1, at this time, the first end of the fixing strip 6 is located at the inlet end, i.e. the position of the first end of the extension mat 1, and the fixing strip 6 penetrates through the whole extension mat 1 to realize that it is detachably connected with the extension mat 1. Connect the first end and the second end of fixed band 6, specifically can be for tying up fixed band 6, after passing two through-holes on the sheathed tube stationary vane of tracheotomy with the both ends of fixed band 6, tie a knot the both ends of fixed band 6 to compress tightly the second end of extension pad 1 in dressing pad 2 top, realize fixing the effect at patient's neck with this a dressing that is used for the sheathed tube trachea incision. In the embodiment, the fixing belt 6 is a cloth belt, and may be a cotton braid.
Specifically, the material of the extension pad 1 is the same as that of the dressing pad 2, and the extension pad 1 and the dressing pad 2 are integrally formed. The extension pad 1 comprises a skin-friendly layer, an absorption layer and a breathable layer which are sequentially arranged. The skin-friendly layer is positioned on the innermost side of the extension pad 1 and is close to the skin of a patient, and the skin-friendly layer is made of a skin-friendly base material, specifically hydrocolloid, and cannot adhere to the skin of the patient. The middle part is a foam sponge absorbing layer made of foam sponge, which can absorb a certain amount of seepage and reduce the frequency of dressing change. The outermost layer is a waterproof breathable layer which is a high polymer material PU semipermeable membrane and has better waterproof and breathable performance. The material of the extension pad 1 is the same as that of the dressing pad 2, so that the extension pad has stronger adsorption capacity on the exudate at the secretion position of a patient, can keep the wound dry and clean, and avoids the breeding of bacteria. In practical application, different functional auxiliary materials can be selected from the dressing pad 2 according to the wound condition of a patient, and for example, an antibacterial or bacteriostatic material can be added on the dressing pad 2, so that the incision infection can be effectively prevented. The extension pad 1 and the dressing pad 2 have certain thickness and elasticity, and can effectively reduce the damage of the fixing band 6 to the neck skin.
Further, the outer surface of the extension pad 1 is provided with scale marks. The scale marks are in millimeters, so that the neck circumference of the patient can be measured accurately.
Preferably, the cross section of the tracheotomy tube is circular, so that the matched positioning hole 3 is circular, and the diameter of the positioning hole 3 is 0.4 cm-1.5 cm.
In particular, the shape of the dressing pad 2 can be determined according to the shape of the fixed disk of the tracheotomy tube used, and preferably, the dressing pad 2 is in a shape of a rounded rectangle or an ellipse, which is adapted to the shape of the human body, so that the comfort of the patient is improved.
The extension pad 1 and dressing pad 2 are of various sizes and types. The length of the extension pad 1 is 30 cm-60 cm, and the width is 2.5 cm-3.0 cm. Dressings for tracheostomy tubes for adults can be divided into two types, a normal type and a special type, wherein the special type is designed for patients with inhalation injuries or patients with neck burns or patients with particular obesity. The common type extension pad 1 has a length of 50cm, a width of 3.0cm, a thickness of 1.5cm, a channel with a width of 1.5cm and a height of 1cm is arranged in the middle for a fixing band 6 with a width of 1cm to pass through, and the length of the fixing band 6 is 100 cm. The dressing pad 2 is in the shape of a square with the side length of 8cm, and the center of the dressing pad is provided with a positioning hole 3 with the diameter of 1.0 cm-1.5 cm. The special type for adults is different from the general type in that the length of the extension pad 1 is 60 cm. The dressing for tracheotomy tubes for children can be also divided into a common type and a special type, wherein the extension pad 1 of the common type for children is 30cm in length, 2.5cm in width, 1.5cm in thickness and 2.5cm in width, is provided with a channel 1.5cm in width and 1cm in height in the middle, and can be penetrated by a fixing strap 6 1cm in width, and the length of the fixing strap 6 is 80 cm. The dressing pad 2 is square with the side length of 6cm, and a round positioning hole 3 with the diameter of 0.4 cm-0.8 cm is arranged at the center of the dressing pad. A special type of dressing for tracheotomy tubes for children is mainly used for patients with suction injury or patients with neck burn or patients with special obesity, which differs in size from the ordinary type for children in that the length of the extension pad 1 is 40 cm.
The utility model discloses a working process does: in a non-use state, the fixing band 6 and the extension pad 1 can be separately arranged, the second end of the extension pad 1 is not connected with the dressing pad 2, and the second end of the connecting pad 22 is lapped on the other side of the gap 4 of the pad body 21. When the dressing for the tracheotomy tube needs to be fixed on the neck of a patient, the fixing band 6 passes through the channel in the extension pad 1, so that the head and tail ends of the fixing band 6 protrude out of the inlet end and the outlet end. The cushion body 21 is placed on the front side of the neck of the patient so that the positioning hole 3 corresponds to the incision position. The pad 1 is wrapped around the patient's neck and excess pad 1 is trimmed (taking care not to cut the securing straps 6) leaving a length of approximately 2cm of pad 1. The connecting pad 22 is lifted up, so that the second end of the extension pad 1 passes through the notch 4 and abuts against the pad body 21. The connection pad 22 is pressed down such that the second end of the connection pad 22 covers the extension pad 1 and the pad body 21, respectively. The two ends of the fixing band 6 protruding from the first end and the second end of the extension pad 1 are respectively passed through the two fixing holes of the fixing wing of the tracheotomy tube and tied, so that the tracheotomy tube can be properly fixed on the outer side of the dressing pad 2.
To sum up, the embodiment of the utility model provides a be used for tracheal cannula's dressing of cutting, it fills up fixedly connected with extension pad through stacking up at the dressing, and the one end that dressing pad was kept away from to the extension pad is connected with dressing pad detachably. When the dressing pad is used, one end of the extension pad is connected to the dressing pad when the dressing pad is fixed on the neck of a patient, and when the dressing needs to be replaced, the extension pad is detached from the lower part of the dressing pad. The dressing for the tracheotomy tube is easy to use, and is beneficial to fixing the dressing pad on the neck of a patient, so that the dressing pad is not easy to fall off.
The foregoing is only a preferred embodiment of the present invention, and it should be noted that, for those skilled in the art, a plurality of modifications and replacements can be made without departing from the technical principle of the present invention, and these modifications and replacements should also be regarded as the protection scope of the present invention.

Claims (9)

1. A dressing for a tracheotomy tube comprises a dressing pad and an extension pad for encircling the neck of a patient, wherein the dressing pad is fixedly connected with a first end of the extension pad, a second end of the extension pad is detachably connected to the dressing pad, and a positioning hole through which an air supply tube incision tube passes is formed in the dressing pad.
2. The dressing for a tracheotomy cannula of claim 1, wherein the dressing pad comprises a pad body and a connection pad, wherein one side of the pad body is provided with a notch, a first end of the connection pad is rotatably connected with one side of the notch, a first end of the extension pad is fixedly connected with the other side of the pad body, the positioning hole is positioned at the center of the pad body, during dressing, a second end of the extension pad passes through the notch to be lapped on one side of the pad body, and a second end of the connection pad is lapped on the second end of the extension pad and the pad body.
3. The dressing of claim 1, further comprising a securing strap, wherein the extension pad has a mounting location therein, the securing strap is detachably mounted in the mounting location, the securing strap protrudes from the mounting location at both ends, and the ends of the securing strap are detachably connected together.
4. A dressing for a tracheotomy cannula according to claim 3, wherein the mounting location is a channel provided in the elongate pad, the inlet end of the channel being at the first end of the elongate pad and the outlet end of the channel being at the second end of the elongate pad.
5. A dressing for a tracheotomy cannula according to claim 1, wherein the material of the extension pad and the material of the dressing pad are the same.
6. A dressing for a tracheotomy tube according to claim 1 or 5, wherein the extension pad comprises a skin-friendly layer, an absorbent layer and a gas-permeable layer arranged in that order.
7. A dressing for a tracheotomy cannula according to claim 1, wherein the outer surface of the elongate pad is provided with graduations.
8. A dressing for a tracheotomy cannula according to claim 1, wherein the shape of the location hole is circular and the diameter of the location hole is between 0.4cm and 1.5 cm.
9. The dressing of claim 1, wherein the elongate pad has a length of 30cm to 60cm and a width of 2.5cm to 3.0 cm.
CN202020181831.4U 2020-02-18 2020-02-18 A dressing for tracheostomy cannula Active CN212382820U (en)

Priority Applications (1)

Application Number Priority Date Filing Date Title
CN202020181831.4U CN212382820U (en) 2020-02-18 2020-02-18 A dressing for tracheostomy cannula

Applications Claiming Priority (1)

Application Number Priority Date Filing Date Title
CN202020181831.4U CN212382820U (en) 2020-02-18 2020-02-18 A dressing for tracheostomy cannula

Publications (1)

Publication Number Publication Date
CN212382820U true CN212382820U (en) 2021-01-22

Family

ID=74246924

Family Applications (1)

Application Number Title Priority Date Filing Date
CN202020181831.4U Active CN212382820U (en) 2020-02-18 2020-02-18 A dressing for tracheostomy cannula

Country Status (1)

Country Link
CN (1) CN212382820U (en)

Cited By (1)

* Cited by examiner, † Cited by third party
Publication number Priority date Publication date Assignee Title
TWI830665B (en) * 2023-05-08 2024-01-21 國立臺中科技大學 Antibacterial dressing with oyster powder

Cited By (1)

* Cited by examiner, † Cited by third party
Publication number Priority date Publication date Assignee Title
TWI830665B (en) * 2023-05-08 2024-01-21 國立臺中科技大學 Antibacterial dressing with oyster powder

Similar Documents

Publication Publication Date Title
CN212382820U (en) A dressing for tracheostomy cannula
US20140000625A1 (en) Trach Secretion Catcher
CN110882107A (en) Incision recovery nursing device for general surgery department
CN215995197U (en) Self-adhesive bidirectional fixing device suitable for tracheal cannula
CN210020749U (en) Inflatable adjustable tracheotomy fixing strap
CN215537529U (en) A fixed pipe for behind tracheotomy
CN211797224U (en) Postoperative wound nursing belt
CN114642801A (en) Neonate noninvasive CPAP (continuous positive airway pressure) matched pipeline and nasal obstruction fixing device and manufacturing method
CN202060982U (en) Back-type multi-head chest strap
CN221770581U (en) Medical abdominal belt
CN215309527U (en) A multifunctional peritoneal dialysis catheter fixing belt
CN219127060U (en) A new type of dressing pad for tracheostomy
CN211214853U (en) Tracheostomy cannula strap
CN219307627U (en) Tracheotomy sleeve fixing strap
CN103751896B (en) A kind of tracheal tube casing tube securing straps
CN213698416U (en) A tracheostomy catheter fixing belt
CN215231429U (en) High-elasticity breathable catheter fixing bandage
CN205515192U (en) Band that medical head was simply wrapped
CN216676635U (en) Autogenous cutting sleeve pipe fixer
CN218552861U (en) Throat pad
CN215231304U (en) A tracheal cannula fixation belt for patients with head and neck burns
CN223158659U (en) Silica gel fixing sleeve for assisting in fixing indwelling needle
CN222426427U (en) Ultrathin foam pocket type visual fixed dressing
CN216022353U (en) Catheter with directional fixing structure
CN206044824U (en) Laryngectomy pressing dressings

Legal Events

Date Code Title Description
GR01 Patent grant
GR01 Patent grant