CN212376687U - 一种斜井螺旋提升系统 - Google Patents
一种斜井螺旋提升系统 Download PDFInfo
- Publication number
- CN212376687U CN212376687U CN202020694803.2U CN202020694803U CN212376687U CN 212376687 U CN212376687 U CN 212376687U CN 202020694803 U CN202020694803 U CN 202020694803U CN 212376687 U CN212376687 U CN 212376687U
- Authority
- CN
- China
- Prior art keywords
- threaded
- threaded rod
- driving module
- sleeve
- connecting ring
- Prior art date
- Legal status (The legal status is an assumption and is not a legal conclusion. Google has not performed a legal analysis and makes no representation as to the accuracy of the status listed.)
- Active
Links
- 238000005065 mining Methods 0.000 abstract description 3
- 238000009434 installation Methods 0.000 description 3
- 230000004075 alteration Effects 0.000 description 1
- 230000009286 beneficial effect Effects 0.000 description 1
- 239000003245 coal Substances 0.000 description 1
- 238000010586 diagram Methods 0.000 description 1
- 230000000694 effects Effects 0.000 description 1
- 230000005484 gravity Effects 0.000 description 1
- 238000000034 method Methods 0.000 description 1
- 238000012986 modification Methods 0.000 description 1
- 230000004048 modification Effects 0.000 description 1
- 230000008569 process Effects 0.000 description 1
- 230000003068 static effect Effects 0.000 description 1
- XLYOFNOQVPJJNP-UHFFFAOYSA-N water Substances O XLYOFNOQVPJJNP-UHFFFAOYSA-N 0.000 description 1
Images
Landscapes
- Transmission Devices (AREA)
Abstract
本实用新型一种斜井螺旋提升系统,属于井下采矿设备领域;提出一种采用内螺纹管运行的斜井人车系统;技术方案为:一种斜井螺旋提升系统,包括:螺纹轨道和转运车;所述螺纹轨道固定在斜井的地面上,所述螺纹轨道上活动设置有转运车;所述螺纹轨道包括:螺纹套筒、螺纹杆、驱动模块和连接环;所述螺纹套筒是横截面为“C”形的内螺纹管,所述螺纹杆设置于螺纹套筒内,所述螺纹杆可绕其中心线旋转,所述螺纹杆上活动套装有连接环,所述连接环与转运车连接,所述驱动模块的输出轴与螺纹杆连接,所述驱动模块外壳与连接环相对固定。
Description
技术领域
本实用新型一种斜井螺旋提升系统,属于井下采矿设备领域。
背景技术
井下采矿作业时,经常设置井下与地面相通的倾斜巷道,用于提升煤炭和矸石、下放设备器材、升降人员、通风、排水、充填等任务,这条倾斜巷道就是斜井。
斜井在运输工人时,经常采用斜井人车井下输送人员,具有速度快、使用方便的优点。斜井人车沿着轨道通过缆绳提升或下放实现人员转运。在工作过程中,存在斜井人车行走在中途时缆绳断裂的情况,一旦发生这种故障时,斜井人车上的断绳保护装置(制动闸)自动或者人工手动的方式启动,实现斜井人车制动停机的目的。但是,一旦发生缆绳断裂的情况,如不能及时制动,斜井人车在轨道上运行的速度急剧增加,再加上其本身强大的惯性,实现制动的可能性逐步减小,进而导致斜井人车坠毁在井底,车上人员几无生还可能。
目前,虽然对斜井人车进行了各种改造,制动手段繁杂、缆绳质量提高,但是依然无法从根本上避免斜井人车发生故障后向井底滑落的趋势,斜井人车的工人安全无法得到有效保障。
实用新型内容
为解决上述技术问题,本实用新型提出一种采用内螺纹管运行的斜井人车系统。
为实现上述技术目的,本实用新型提供的技术方案为:
一种斜井螺旋提升系统,包括:螺纹轨道和转运车;所述螺纹轨道固定在斜井的地面上,所述螺纹轨道上活动设置有转运车;
所述螺纹轨道包括:螺纹套筒、螺纹杆、驱动模块和连接环;所述螺纹套筒是横截面为“C”形的内螺纹管,所述螺纹杆设置于螺纹套筒内,所述螺纹杆可绕其中心线旋转,所述螺纹杆上活动套装有连接环,所述连接环与转运车连接,所述驱动模块的输出轴与螺纹杆连接,所述驱动模块外壳与连接环相对固定。
所述一种斜井螺旋提升系统还包括轨道,两根轨道与螺纹轨道平行设置。
所述转运车的两侧设置有若干车轮,车轮上设置有轮缘,若干车轮对应的设置于两根轨道上,且轮缘与对应的轨道内侧面接触。
所述螺纹杆的两端同轴固定有台阶轴,且所述台阶轴的端头设置有外螺纹。
所述台阶轴的端头通过联轴器与驱动模块连接。
所述台阶轴上固定有轴承,且所述轴承外圈与连接环固定连接。
所述连接环包括连接套筒和连接板;所述连接套筒的内壁与轴承外圈固定,且所述连接套筒外径小于螺纹杆的直径。
所述螺纹套筒有多个,若干螺纹套筒依次首尾相连成为螺纹轨道,且每个螺纹套筒的中心线共线。
所述转运车上设置有电池、电机控制器和开关,所述电池、电机控制器与驱动模块电气连接,所述电池正极输出总线上设置有开关。
所述斜井的井斜角为0°~45°。
所述螺纹套筒外径为15~30cm。
所述螺纹套筒内径为7~25cm。
所述螺纹套筒的开口夹角不得大于150°。
所述螺纹套筒长度为200~500cm。
所述电机采用永磁步进电机。
所述螺纹套筒管壁的最下端设置有若干通孔,且若干通孔在螺纹套筒沿其延伸方向均匀排列。
本实用新型与现有技术相比具有以下有益效果:
一、本实用新型采用螺纹轨道进行驱动转运车运行,即使出现故障,螺纹杆亦可在螺纹轨道相对保持静止,从根本上杜绝斜井人车滑落井底的可能。
二、本实用新型采用螺纹轨道与滑轨并存的方式,螺纹轨道可为转运车提供轴向的作用力,实现对转运车的驱动,同时滑轨为转运车提供螺纹轨道径向的作用力,即防止螺杆受转运车重力发生形变后不利于螺纹杆在螺纹轨道内运行。
附图说明
图1为本实用新型结构示意图。
图2为本实用新型一种螺纹轨道安装示意图。
图3为本实用新型另一种螺纹轨道安装示意图。
图4为本实用新型又一种螺纹轨道安装示意图。
图5为本实用新型螺纹轨道的内部结构示意图。
图6为本实用新型螺纹杆、驱动模块和连接环之间的连接示意图。
图7为本实用新型螺纹杆、驱动模块和连接环之间的另一种连接示意图。
图8为本实用新型螺纹杆和驱动模块连接示意图。
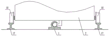
图中:1为螺纹轨道,2为转运车,11为螺纹套筒,12为螺纹杆,13为驱动模块,14为连接环,15为连接套筒,16为连接板,17为轨道,18为车轮。
具体实施方式
为进一步理解本实用新型,下面结合附图和实施例详细阐述:
实施例1
如图1、图2、图5、图6和图8所示:本实用新型一种斜井螺旋提升系统,包括:螺纹轨道1和转运车2;
所述螺纹轨道1有一根,所述螺纹轨道1固定在斜井的地面上,所述螺纹轨道1上活动设置有转运车2;
所述螺纹轨道1包括:螺纹套筒11、螺纹杆12、驱动模块13和连接环14;所述螺纹套筒11是横截面为“C”形的内螺纹管,所述螺纹杆12设置于螺纹套筒11内,所述螺纹杆12可绕其中心线旋转,所述螺纹杆12上活动套装有连接环14,所述连接环14与转运车2连接,所述驱动模块13的输出轴与螺纹杆12连接,所述驱动模块13外壳与连接环14相对固定。
所述驱动模块13为电机、液压发动机等,所述驱动模块13设置于螺纹套筒11内,且所述驱动模块13与螺纹杆12同轴固定连接。
所述一种斜井螺旋提升系统还包括轨道17,两根轨道17平行设置,螺纹轨道1设置于两根轨道17中间,且螺纹轨道1与轨道17平行。
所述转运车2的两侧设置有若干车轮18,车轮18上设置有轮缘,若干车轮18对应的设置于两根轨道17上,且轮缘与对应的轨道17内侧面接触。
所述螺纹杆12的两端同轴固定有台阶轴,且所述台阶轴的端头设置有外螺纹。
所述台阶轴上固定有轴承,且所述轴承外圈与连接环14固定连接。
所述连接环14包括连接套筒15和连接板16;所述连接套筒15的内壁与轴承外圈固定,且所述连接套筒15外径小于螺纹杆12的直径。
所述螺纹套筒11有多个,若干螺纹套筒11依次首尾相连成为螺纹轨道1,且每个螺纹套筒11的中心线共线。
所述转运车2上设置有电池、电机控制器和开关,所述电池、电机控制器与驱动模块13电气连接,所述电池正极输出总线上设置有开关。
所述斜井的井斜角为0°~45°。
实施例2
如图1、图2、图7和图8所示:本实用新型一种斜井螺旋提升系统,包括:螺纹轨道1和转运车2;
所述螺纹轨道1有一根,所述螺纹轨道1固定在斜井的地面上,所述螺纹轨道1上活动设置有转运车2;
所述螺纹轨道1包括:螺纹套筒11、螺纹杆12、驱动模块13和连接环14;所述螺纹套筒11是横截面为“C”形的内螺纹管,所述螺纹杆12设置于螺纹套筒11内,所述螺纹杆12可绕其中心线旋转,所述螺纹杆12上活动套装有连接环14,所述连接环14与转运车2连接,所述驱动模块13的输出轴与螺纹杆12连接,所述驱动模块13外壳与连接环14相对固定。
所述驱动模块13为电机、液压发动机等,所述驱动模块13通过换向器与螺纹杆12连接,所述驱动模块13固定于转运车2上,所述换向器设置于螺纹套筒11内,所述换向器输入轴与驱动模块13输出轴连接,所述换向器输出轴与螺纹杆12连接,所述换向器外壳与连接环14相对固定。
所述一种斜井螺旋提升系统还包括轨道17,两根轨道17平行设置,螺纹轨道1设置于两根轨道17中间,且螺纹轨道1与轨道17平行。
所述转运车2的两侧设置有若干车轮18,车轮18上设置有轮缘,若干车轮18对应的设置于两根轨道17上,且轮缘与对应的轨道17内侧面接触。
所述螺纹杆12的两端同轴固定有台阶轴,且所述台阶轴的端头设置有外螺纹。
所述台阶轴上固定有轴承,且所述轴承外圈与连接环14固定连接。
所述连接环14包括连接套筒15和连接板16;所述连接套筒15的内壁与轴承外圈固定,且所述连接套筒15外径小于螺纹杆12的直径。
所述螺纹套筒11有多个,若干螺纹套筒11依次首尾相连成为螺纹轨道1,且每个螺纹套筒11的中心线共线。
所述转运车2上设置有电池、电机控制器和开关,所述电池、电机控制器与驱动模块13电气连接,所述电池正极输出总线上设置有开关。
所述斜井的井斜角为0°~45°。
实施例3
如图1、图3、图5、图6和图8所示:本实用新型一种斜井螺旋提升系统,包括:螺纹轨道1和转运车2;
所述螺纹轨道1有两根,所述螺纹轨道1固定在斜井的地面上,所述螺纹轨道1上活动设置有转运车2;
所述螺纹轨道1包括:螺纹套筒11、螺纹杆12、驱动模块13和连接环14;所述螺纹套筒11是横截面为“C”形的内螺纹管,所述螺纹杆12设置于螺纹套筒11内,所述螺纹杆12可绕其中心线旋转,所述螺纹杆12上活动套装有连接环14,所述连接环14与转运车2连接,所述驱动模块13的输出轴与螺纹杆12连接,所述驱动模块13外壳与连接环14相对固定。
所述驱动模块13为电机、液压发动机等,所述驱动模块13设置于螺纹套筒11内,且所述驱动模块13与螺纹杆12同轴固定连接。
所述一种斜井螺旋提升系统还包括轨道17,两根轨道17平行设置,两根螺纹轨道1设置于两根轨道17中间,且螺纹轨道1与轨道17平行。
所述转运车2的两侧设置有若干车轮18,车轮18上设置有轮缘,若干车轮18对应的设置于两根轨道17上,且轮缘与对应的轨道17内侧面接触。
所述螺纹杆12的两端同轴固定有台阶轴,且所述台阶轴的端头设置有外螺纹。
所述台阶轴上固定有轴承,且所述轴承外圈与连接环14固定连接。
所述连接环14包括连接套筒15和连接板16;所述连接套筒15的内壁与轴承外圈固定,且所述连接套筒15外径小于螺纹杆12的直径。
所述螺纹套筒11有多个,若干螺纹套筒11依次首尾相连成为螺纹轨道1,且每个螺纹套筒11的中心线共线。
所述转运车2上设置有电池、电机控制器和开关,所述电池、电机控制器与驱动模块13电气连接,所述电池正极输出总线上设置有开关。
所述斜井的井斜角为0°~45°。
实施例4
如图1、图3、图7和图8所示:本实用新型一种斜井螺旋提升系统,包括:螺纹轨道1和转运车2;
所述螺纹轨道1有两根,所述螺纹轨道1固定在斜井的地面上,所述螺纹轨道1上活动设置有转运车2;
所述螺纹轨道1包括:螺纹套筒11、螺纹杆12、驱动模块13和连接环14;所述螺纹套筒11是横截面为“C”形的内螺纹管,所述螺纹杆12设置于螺纹套筒11内,所述螺纹杆12可绕其中心线旋转,所述螺纹杆12上活动套装有连接环14,所述连接环14与转运车2连接,所述驱动模块13的输出轴与螺纹杆12连接,所述驱动模块13外壳与连接环14相对固定。
所述驱动模块13为电机、液压发动机等,所述驱动模块13通过换向器与螺纹杆12连接,所述驱动模块13固定于转运车2上,所述换向器设置于螺纹套筒11内,所述换向器输入轴与驱动模块13输出轴连接,所述换向器输出轴与螺纹杆12连接,所述换向器外壳与连接环14相对固定。
所述一种斜井螺旋提升系统还包括轨道17,两根轨道17平行设置,两根螺纹轨道1设置于两根轨道17之间,且螺纹轨道1与轨道17平行。
所述转运车2的两侧设置有若干车轮18,车轮18上设置有轮缘,若干车轮18对应的设置于两根轨道17上,且轮缘与对应的轨道17内侧面接触。
所述螺纹杆12的两端同轴固定有台阶轴,且所述台阶轴的端头设置有外螺纹。
所述台阶轴上固定有轴承,且所述轴承外圈与连接环14固定连接。
所述连接环14包括连接套筒15和连接板16;所述连接套筒15的内壁与轴承外圈固定,且所述连接套筒15外径小于螺纹杆12的直径。
所述螺纹套筒11有多个,若干螺纹套筒11依次首尾相连成为螺纹轨道1,且每个螺纹套筒11的中心线共线。
所述转运车2上设置有电池、电机控制器和开关,所述电池、电机控制器与驱动模块13电气连接,所述电池正极输出总线上设置有开关。
所述斜井的井斜角为0°~45°。
实施例5
如图1、图4、图5、图6和图8所示:本实用新型一种斜井螺旋提升系统,包括:螺纹轨道1和转运车2;
所述螺纹轨道1有三根,所述螺纹轨道1固定在斜井的地面上,所述螺纹轨道1上活动设置有转运车2;
所述螺纹轨道1包括:螺纹套筒11、螺纹杆12、驱动模块13和连接环14;所述螺纹套筒11是横截面为“C”形的内螺纹管,所述螺纹杆12设置于螺纹套筒11内,所述螺纹杆12可绕其中心线旋转,所述螺纹杆12上活动套装有连接环14,所述连接环14与转运车2连接,所述驱动模块13的输出轴与螺纹杆12连接,所述驱动模块13外壳与连接环14相对固定。
所述驱动模块13为电机、液压发动机等,所述驱动模块13设置于螺纹套筒11内,且所述驱动模块13与螺纹杆12同轴固定连接。
所述一种斜井螺旋提升系统还包括轨道17,两根轨道17平行设置,三根螺纹轨道1设置于两根轨道17中间,且螺纹轨道1与轨道17平行。
所述转运车2的两侧设置有若干车轮18,车轮18上设置有轮缘,若干车轮18对应的设置于两根轨道17上,且轮缘与对应的轨道17内侧面接触。
所述螺纹杆12的两端同轴固定有台阶轴,且所述台阶轴的端头设置有外螺纹。
所述台阶轴上固定有轴承,且所述轴承外圈与连接环14固定连接。
所述连接环14包括连接套筒15和连接板16;所述连接套筒15的内壁与轴承外圈固定,且所述连接套筒15外径小于螺纹杆12的直径。
所述螺纹套筒11有多个,若干螺纹套筒11依次首尾相连成为螺纹轨道1,且每个螺纹套筒11的中心线共线。
所述转运车2上设置有电池、电机控制器和开关,所述电池、电机控制器与驱动模块13电气连接,所述电池正极输出总线上设置有开关。
所述斜井的井斜角为0°~45°。
实施例6
如图1、图4、图7和图8所示:本实用新型一种斜井螺旋提升系统,包括:螺纹轨道1和转运车2;
所述螺纹轨道1有三根,所述螺纹轨道1固定在斜井的地面上,所述螺纹轨道1上活动设置有转运车2;
所述螺纹轨道1包括:螺纹套筒11、螺纹杆12、驱动模块13和连接环14;所述螺纹套筒11是横截面为“C”形的内螺纹管,所述螺纹杆12设置于螺纹套筒11内,所述螺纹杆12可绕其中心线旋转,所述螺纹杆12上活动套装有连接环14,所述连接环14与转运车2连接,所述驱动模块13的输出轴与螺纹杆12连接,所述驱动模块13外壳与连接环14相对固定。
所述驱动模块13为电机、液压发动机等,所述驱动模块13通过换向器与螺纹杆12连接,所述驱动模块13固定于转运车2上,所述换向器设置于螺纹套筒11内,所述换向器输入轴与驱动模块13输出轴连接,所述换向器输出轴与螺纹杆12连接,所述换向器外壳与连接环14相对固定。
所述一种斜井螺旋提升系统还包括轨道17,两根轨道17平行设置,三根螺纹轨道1设置于两根轨道17之间,且螺纹轨道1与轨道17平行。
所述转运车2的两侧设置有若干车轮18,车轮18上设置有轮缘,若干车轮18对应的设置于两根轨道17上,且轮缘与对应的轨道17内侧面接触。
所述螺纹杆12的两端同轴固定有台阶轴,且所述台阶轴的端头设置有外螺纹。
所述台阶轴上固定有轴承,且所述轴承外圈与连接环14固定连接。
所述连接环14包括连接套筒15和连接板16;所述连接套筒15的内壁与轴承外圈固定,且所述连接套筒15外径小于螺纹杆12的直径。
所述螺纹套筒11有多个,若干螺纹套筒11依次首尾相连成为螺纹轨道1,且每个螺纹套筒11的中心线共线。
所述转运车2上设置有电池、电机控制器和开关,所述电池、电机控制器与驱动模块13电气连接,所述电池正极输出总线上设置有开关。
所述斜井的井斜角为0°~45°。
本实用新型具体运行方式如下:
人员乘坐于转运车2上,启动驱动电机13,实现螺纹杆12在螺纹套筒11运转,两个驱动电机13必须保持一致,螺纹杆12运转的同时实现沿螺纹套筒11轴向运行,带动转运车2在斜井内往复运行,实现运输人员的目的。
上述实施方式仅示例性说明本实用新型的原理及其效果,而非用于限制本实用新型。对于熟悉此技术的人皆可在不违背本实用新型的精神及范畴下,对上述实施例进行修饰或改进。因此,凡举所述技术领域中具有通常知识者在未脱离本实用新型所揭示的精神与技术思想下所完成的一切等效修饰或改变,仍应由本实用新型的权利要求所涵盖。
Claims (9)
1.一种斜井螺旋提升系统,其特征在于,包括:螺纹轨道(1)和转运车(2);所述螺纹轨道(1)固定在斜井的地面上,所述螺纹轨道(1)上活动设置有转运车(2);
所述螺纹轨道(1)包括:螺纹套筒(11)、螺纹杆(12)、驱动模块(13)和连接环(14);所述螺纹套筒(11)是横截面为“C”形的内螺纹管,所述螺纹杆(12)设置于螺纹套筒(11)内,所述螺纹杆(12)可绕其中心线旋转,所述螺纹杆(12)上活动套装有连接环(14),所述连接环(14)与转运车(2)连接,所述驱动模块(13)的输出轴与螺纹杆(12)连接,所述驱动模块(13)外壳与连接环(14)相对固定。
2.根据权利要求1所述一种斜井螺旋提升系统,其特征在于:所述一种斜井螺旋提升系统还包括轨道(17),两根轨道(17)与螺纹轨道(1)平行设置。
3.根据权利要求2所述一种斜井螺旋提升系统,其特征在于:所述转运车(2)的两侧设置有若干车轮(18),车轮(18)上设置有轮缘,若干车轮(18)对应的设置于两根轨道(17)上,且轮缘与对应的轨道(17)内侧面接触。
4.根据权利要求1或3所述一种斜井螺旋提升系统,其特征在于:所述螺纹杆(12)的两端同轴固定有台阶轴,且所述台阶轴的端头设置有外螺纹。
5.根据权利要求4所述一种斜井螺旋提升系统,其特征在于:所述台阶轴上固定有轴承,且所述轴承外圈与连接环(14)固定连接。
6.根据权利要求1或5所述一种斜井螺旋提升系统,其特征在于:所述连接环(14)包括连接套筒(15)和连接板(16);所述连接套筒(15)的内壁与轴承外圈固定,且所述连接套筒(15)外径小于螺纹杆(12)的直径。
7.根据权利要求1要求所述一种斜井螺旋提升系统,其特征在于:所述螺纹套筒(11)有多个,若干螺纹套筒(11)依次首尾相连成为螺纹轨道(1),且每个螺纹套筒(11)的中心线共线。
8.根据权利要求1所述一种斜井螺旋提升系统,其特征在于:所述转运车(2)上设置有电池、电机控制器和开关,所述电池、电机控制器与驱动模块(13)电气连接,电池正极输出总线上设置有开关。
9.根据权利要求1所述一种斜井螺旋提升系统,其特征在于:所述斜井的井斜角为0°~45°。
Priority Applications (1)
| Application Number | Priority Date | Filing Date | Title |
|---|---|---|---|
| CN202020694803.2U CN212376687U (zh) | 2020-04-30 | 2020-04-30 | 一种斜井螺旋提升系统 |
Applications Claiming Priority (1)
| Application Number | Priority Date | Filing Date | Title |
|---|---|---|---|
| CN202020694803.2U CN212376687U (zh) | 2020-04-30 | 2020-04-30 | 一种斜井螺旋提升系统 |
Publications (1)
| Publication Number | Publication Date |
|---|---|
| CN212376687U true CN212376687U (zh) | 2021-01-19 |
Family
ID=74161899
Family Applications (1)
| Application Number | Title | Priority Date | Filing Date |
|---|---|---|---|
| CN202020694803.2U Active CN212376687U (zh) | 2020-04-30 | 2020-04-30 | 一种斜井螺旋提升系统 |
Country Status (1)
| Country | Link |
|---|---|
| CN (1) | CN212376687U (zh) |
Cited By (1)
| Publication number | Priority date | Publication date | Assignee | Title |
|---|---|---|---|---|
| CN111379587A (zh) * | 2020-04-30 | 2020-07-07 | 山西开源益通矿业设备制造有限公司 | 斜井螺旋提升系统 |
-
2020
- 2020-04-30 CN CN202020694803.2U patent/CN212376687U/zh active Active
Cited By (1)
| Publication number | Priority date | Publication date | Assignee | Title |
|---|---|---|---|---|
| CN111379587A (zh) * | 2020-04-30 | 2020-07-07 | 山西开源益通矿业设备制造有限公司 | 斜井螺旋提升系统 |
Similar Documents
| Publication | Publication Date | Title |
|---|---|---|
| US9926171B2 (en) | Embedded safety elevator | |
| CN212376687U (zh) | 一种斜井螺旋提升系统 | |
| CN217947452U (zh) | 一种竖井施工提升设备 | |
| CN108190738A (zh) | 一种矿用单轨吊机起重运输装置 | |
| CN215854813U (zh) | 一种新型运输绞车 | |
| CN204727458U (zh) | 一种欧式起重机起重小车 | |
| CN107487422A (zh) | 自驱动小车移船装置 | |
| CN107542297A (zh) | 立体车库升降系统 | |
| CN107313631B (zh) | 一种刚柔组合牵引的立体车库升降机构 | |
| CN205076600U (zh) | 一种电梯防坠落保护装置 | |
| CN108483295A (zh) | 一种绞车自动排绳装置 | |
| CN210505272U (zh) | 气动单轨吊 | |
| CN101863419B (zh) | 多用途起重机小车 | |
| CN219467752U (zh) | 基于旋转阻尼器的矿用阻车器 | |
| CN214879694U (zh) | 一种焦罐提升用起重机 | |
| CN212403119U (zh) | 一种矿井摇台更换装置 | |
| CN100352711C (zh) | 一种螺旋推进式上山列车 | |
| CN209974041U (zh) | 一种可降低楼顶施工量的电梯 | |
| CN111379587A (zh) | 斜井螺旋提升系统 | |
| CN210763773U (zh) | 一种用于建筑施工的升降装置 | |
| CN203529666U (zh) | 一种嵌入式安全升降电梯 | |
| CN221587948U (zh) | 一种采矿用自动提升系统 | |
| CN114275651B (zh) | 一种节能高速电梯 | |
| CN206615957U (zh) | 一种斜巷机器视觉人员识别封闭管理系统用绞车 | |
| CN205858171U (zh) | 一种电梯底坑爬梯装置 |
Legal Events
| Date | Code | Title | Description |
|---|---|---|---|
| GR01 | Patent grant | ||
| GR01 | Patent grant |