CN212361196U - Conventional ceramic composite elbow - Google Patents
Conventional ceramic composite elbow Download PDFInfo
- Publication number
- CN212361196U CN212361196U CN202020788068.1U CN202020788068U CN212361196U CN 212361196 U CN212361196 U CN 212361196U CN 202020788068 U CN202020788068 U CN 202020788068U CN 212361196 U CN212361196 U CN 212361196U
- Authority
- CN
- China
- Prior art keywords
- pipe
- auxiliary pipe
- auxiliary
- main
- ceramic composite
- Prior art date
- Legal status (The legal status is an assumption and is not a legal conclusion. Google has not performed a legal analysis and makes no representation as to the accuracy of the status listed.)
- Active
Links
- 239000000919 ceramic Substances 0.000 title claims abstract description 30
- 239000002131 composite material Substances 0.000 title claims abstract description 11
- 230000003014 reinforcing effect Effects 0.000 claims abstract description 10
- 239000002184 metal Substances 0.000 claims description 5
- 229910052751 metal Inorganic materials 0.000 claims description 5
- 241001391944 Commicarpus scandens Species 0.000 abstract description 2
- 238000005452 bending Methods 0.000 abstract 1
- 239000000463 material Substances 0.000 abstract 1
- 150000001875 compounds Chemical class 0.000 description 8
- 238000005728 strengthening Methods 0.000 description 6
- 239000007788 liquid Substances 0.000 description 4
- 238000007493 shaping process Methods 0.000 description 3
- 238000003466 welding Methods 0.000 description 3
- 238000000034 method Methods 0.000 description 2
- 230000004048 modification Effects 0.000 description 2
- 238000012986 modification Methods 0.000 description 2
- 229910000851 Alloy steel Inorganic materials 0.000 description 1
- 229910000975 Carbon steel Inorganic materials 0.000 description 1
- 229910001018 Cast iron Inorganic materials 0.000 description 1
- 229910001296 Malleable iron Inorganic materials 0.000 description 1
- 238000003723 Smelting Methods 0.000 description 1
- 230000009286 beneficial effect Effects 0.000 description 1
- 230000005540 biological transmission Effects 0.000 description 1
- 239000010962 carbon steel Substances 0.000 description 1
- 238000005266 casting Methods 0.000 description 1
- 239000003245 coal Substances 0.000 description 1
- 230000007797 corrosion Effects 0.000 description 1
- 238000005260 corrosion Methods 0.000 description 1
- 230000002950 deficient Effects 0.000 description 1
- 238000005516 engineering process Methods 0.000 description 1
- 239000012943 hotmelt Substances 0.000 description 1
- 238000009434 installation Methods 0.000 description 1
- 238000004519 manufacturing process Methods 0.000 description 1
- 238000005272 metallurgy Methods 0.000 description 1
- 239000004033 plastic Substances 0.000 description 1
- 229920003023 plastic Polymers 0.000 description 1
- 238000007789 sealing Methods 0.000 description 1
- 239000010935 stainless steel Substances 0.000 description 1
- 229910001220 stainless steel Inorganic materials 0.000 description 1
- 239000000126 substance Substances 0.000 description 1
Images
Landscapes
- Branch Pipes, Bends, And The Like (AREA)
Abstract
The utility model belongs to the technical field of pipe materials, in particular to a conventional ceramic composite elbow, which comprises a main pipe, a first auxiliary pipe, a second auxiliary pipe and a third auxiliary pipe, wherein one side of the main pipe is provided with the first auxiliary pipe, the second auxiliary pipe and the third auxiliary pipe, the first auxiliary pipe and the main pipe are integrally formed and mutually inclined, the second auxiliary pipe and the main pipe are integrally formed and mutually vertical, the third auxiliary pipe and the main pipe are integrally formed and mutually parallel, a plurality of reinforcing ribs are fixedly connected around the outer walls of the main pipe, the first auxiliary pipe, the second auxiliary pipe and the third auxiliary pipe, convex pipes are integrally formed at the pipe orifices of the main pipe, the first auxiliary pipe, the second auxiliary pipe and the third auxiliary pipe, rubber caps are sleeved around the outer parts of the convex pipes, the elbow has various bending angle specifications, has good universality, can be used as spare parts to be used when necessary, and simultaneously, the structural strength of the elbow is higher, is not easy to break and damage.
Description
Technical Field
The utility model belongs to the technical field of the tubular product, concretely relates to compound elbow of conventional pottery.
Background
In a pipeline system, an elbow is a pipe fitting for changing the direction of a pipeline, the three elbows of 45 degrees, 90 degrees and 180 degrees are most commonly used, the elbow is made of cast iron, stainless steel, alloy steel, malleable cast iron, carbon steel, nonferrous metal, plastics and the like, and the elbow is connected with the pipeline in a way that: direct welding, flange joint, hot melt connection, electric smelting connection, threaded connection and socket joint formula are connected etc. can divide into according to production technology: welding elbows, stamping elbows, pushing elbows, casting elbows, butt welding elbows, and the like.
The ceramic composite elbow has good corrosion resistance and heat resistance, is widely applied to industries such as electric power, metallurgy, mine, coal, chemical industry and the like, three ceramic elbows of 45 degrees, 90 degrees and 180 degrees are most commonly used, however, the existing ceramic elbows mostly have single corner specifications and are poor in universality, when the ceramic elbow with the required corner specification is deficient, a good compensation method is lacked, the use is inconvenient, meanwhile, a good reinforcing structure is lacked at the inner corner part or the outer corner part of the ceramic elbow, the structural strength of the ceramic elbow is not high, and the ceramic elbow is easy to break and damage, so that the problem in the prior art is solved by using the ceramic elbow.
SUMMERY OF THE UTILITY MODEL
For solving the above-mentioned problem that exists among the prior art, the utility model provides a compound elbow of conventional pottery has simple structure and uses convenient characteristics.
In order to achieve the above object, the utility model provides a following technical scheme: the utility model provides a compound elbow of conventional pottery, is including being responsible for, attach the pipe No. two, attach the pipe No. three, one side of being responsible for is provided with attaches the pipe No. one, attaches the pipe No. two and attaches the pipe No. three, attach the pipe and be responsible for integrated into one piece and mutually perpendicular No. two, attach the pipe No. three and be responsible for integrated into one piece and be parallel to each other, be responsible for, attach the pipe No. two and attach the outer wall of pipe No. three and all around a plurality of strengthening rib strips of equal fixedly connected with, be responsible for, attach the pipe No. one, attach the pipe No. two and attach the equal integrated into one piece in mouth of pipe department of pipe No. three and have the stand pipe, the outside of stand pipe is registrated connection all around has the rubber cap.
As the utility model discloses a preferred technical scheme of compound elbow of conventional pottery, the internal surface integrated into one piece of flange has the internal thread, the internal surface central point of rubber cap puts the integrated into one piece of department and has the rubber post, the surface integrated into one piece external screw thread of rubber post, the rubber post closes through the screw thread each other soon with the flange.
As the utility model discloses a preferred technical scheme of compound elbow of conventional pottery, the outer wall of protruding pipe is closely laminated all around with the inner wall of rubber cap, the antiskid groove has been seted up to the surface intermediate position department of protruding pipe.
As the utility model discloses a preferred technical scheme of compound elbow of conventional pottery, the mouth of pipe department that is responsible for, attaches pipe, No. two attaches pipes and No. three attaches the pipe is located the homogeneous body shaping all around of bulge tube has the ring flange, a side surface of ring flange is located the fixedly connected with all around of bulge tube and seals up.
As the utility model discloses a preferred technical scheme of compound elbow of conventional pottery, the mouth of pipe department that is responsible for, attaches pipe, No. two attaches pipes and No. three attaches the pipe is located the homogeneous body shaping all around of bulge tube has the ring flange, a side surface of ring flange is located the fixedly connected with all around of bulge tube and seals up.
As the utility model discloses a preferred technical scheme of compound elbow of conventional pottery, the strengthening rib strip is metal component and is the arc structure.
Compared with the prior art, the beneficial effects of the utility model are that: the one end of being responsible for respectively integrated into one piece has the accessory pipe No. one, No. two accessory pipes and No. three accessory pipes, the accessory pipe of No. one inclines with being responsible for mutually, No. two accessory pipes are perpendicular with being responsible for mutually, No. three accessory pipes and being responsible for parallels, this elbow has multiple bent angle specification, the commonality is good, can regard as spare part, in order to use as will be from time to time, simultaneously, be responsible for, the accessory pipe of No. one, the outer wall of No. two accessory pipes and No. three accessory pipes is fixed with a plurality of strengthening ribs all around, a plurality of strengthening ribs comply with the person in charge, the accessory pipe of No. one, the bent angle of No. two accessory pipes and No. three accessory pipes arranges, through the structural strength of a plurality of strengthening rib strip reinforcing person in charge, the accessory pipe of No. one, No. two accessory pipes and No. three accessory pipe bent angles department.
Drawings
The accompanying drawings are included to provide a further understanding of the invention, and are incorporated in and constitute a part of this specification, illustrate embodiments of the invention, and together with the description serve to explain the invention and not to limit the invention. In the drawings:
fig. 1 is a schematic structural view of the present invention;
FIG. 2 is a schematic top view of the main pipe connection of the present invention;
FIG. 3 is a schematic view of the connection between the first auxiliary pipe and the rubber cap of the present invention looking down the external structure;
FIG. 4 is a schematic view of a top-view cross-sectional structure of the connection between the first auxiliary pipe and the rubber cap of the present invention;
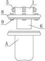
in the figure: 1. a main pipe; 2. a first auxiliary pipe; 3. a second auxiliary pipe; 4. a third auxiliary pipe; 5. reinforcing ribs; 6. a convex pipe; 7. a rubber cap; 8. a flange plate; 9. a gasket; 10. a rubber column.
Detailed Description
The technical solutions in the embodiments of the present invention will be described clearly and completely with reference to the accompanying drawings in the embodiments of the present invention, and it is obvious that the described embodiments are only some embodiments of the present invention, not all embodiments. Based on the embodiments in the present invention, all other embodiments obtained by a person skilled in the art without creative work belong to the protection scope of the present invention.
Examples
Referring to fig. 1-4, the present invention provides the following technical solutions: a conventional ceramic composite elbow comprises a main pipe 1, a first auxiliary pipe 2, a second auxiliary pipe 3 and a third auxiliary pipe 4, wherein one side of the main pipe 1 is provided with the first auxiliary pipe 2, the second auxiliary pipe 3 and the third auxiliary pipe 4, the first auxiliary pipe 2 and the main pipe 1 are integrally formed and mutually inclined, the second auxiliary pipe 3 and the main pipe 1 are integrally formed and mutually vertical, the third auxiliary pipe 4 and the main pipe 1 are integrally formed and mutually parallel, the peripheries of the outer walls of the main pipe 1, the first auxiliary pipe 2, the second auxiliary pipe 3 and the third auxiliary pipe 4 are fixedly connected with a plurality of reinforcing ribs 5, the pipe orifices of the main pipe 1, the first auxiliary pipe 2, the second auxiliary pipe 3 and the third auxiliary pipe 4 are integrally formed with convex pipes 6, the peripheries of the convex pipes 6 are sleeved and connected with rubber caps 7, in the embodiment, the external ceramic pipe A is marked in the figure, the connecting mode between the elbow and the external ceramic pipe A is a flange plate 8, and the elbow has various specifications, the commonality is good, can regard as spare part to need to use from time to time, strengthens the structural strength who is responsible for 1, attaches pipe 2, attaches pipe 3 and attaches 4 bent angles departments of pipe through a plurality of strengthening rib strips 5, and this elbow bent angle department structural strength is higher, difficult fracture damage.
Specifically, the internal surface integrated into one piece of stand 6 has the internal thread, the internal surface central point department integrated into one piece of putting of rubber cap 7 has rubber column 10, the surface integrated into one piece external screw thread of rubber column 10, rubber column 10 closes through the screw thread each other soon with stand 6, rubber cap 7 is the rubber round cap in this embodiment, certain elasticity has, rubber column 10 is the rubber cylinder, certain elasticity has, rubber cap 7 is used for the sealed involution of stand 6 under the non-user state, rubber cap 7 tentatively fixes through registrate with stand 6, and further fix through revolving to close, stand 6 is ceramic ring shape stand 6.
Specifically, the outer wall of the protruding pipe 6 is tightly attached to the inner wall of the rubber cap 7 all around, an anti-slip groove is formed in the middle of the outer surface of the protruding pipe 6, the anti-slip groove is an annular anti-slip groove in the embodiment, and the rubber cap 7 is convenient to pull out and rotate.
Specifically, be responsible for 1, No. one attaches pipe 2, No. two the mouth of pipe departments that attach pipe 3 and No. three attach pipe 4 lie in the homogeneous body shaping all around of bulge tube 6 and have the ring flange 8, a side surface of ring flange 8 lies in the sealed pad 9 of fixedly connected with all around of bulge tube 6, ring flange 8 is ceramic ring flange 8 in this embodiment, a be responsible for 1, No. one attaches pipe 2, No. two attach pipe 3 and No. three attach pipe 4 and external ceramic pipe A's fixed mounting, carry out fixed connection through the fixed screw bolt of a plurality of departments between the ring flange 8, sealed pad 9 is the rubber ring and fills up, a leakproofness for reinforcing ring flange 8 junction.
Specifically, the main pipe 1, the first auxiliary pipe 2, the second auxiliary pipe 3 and the third auxiliary pipe 4 are ceramic components and are communicated with each other, in the embodiment, the first auxiliary pipe 2 forms a 135-degree angle with the main pipe 1, the second auxiliary pipe 3 forms a 90-degree angle with the main pipe 1, the third auxiliary pipe 4 forms a 180-degree angle with the main pipe 1, a liquid flow line is not unique, the second auxiliary pipe 3 can be connected in and out of the first auxiliary pipe 2, and the other two convex pipes 6 are sealed and sealed.
Specifically, the reinforcing ribs 5 are metal members and arc-shaped structures, and the reinforcing ribs 5 are made of metal in this embodiment and arc-shaped strips.
The utility model discloses a theory of operation and use flow: when the utility model is used, the main pipe 1 is connected with the external ceramic pipe A through the flange plate 8, when the connection is carried out, the convex pipe 6 at the pipe orifice of the main pipe 1 is embedded and inserted into the external ceramic pipe A, the flange plate 8 at the pipe orifice of the flange plate 8 is mutually attached with the flange plate 8 at the pipe orifice of the external ceramic pipe A, the two sealing gaskets 9 are tightly attached, and are screwed and passed through the two flange plates 8 through the fixing screw bolts, thereby completing the fixed installation between the main pipe 1 and the external ceramic pipe A, then the first auxiliary pipe 2, the second auxiliary pipe 3 or the third auxiliary pipe 4 are selected and used, when the main pipe 1 and the third auxiliary pipe 4 are used for liquid transportation, the third auxiliary pipe 4 and the external ceramic pipe A are fixedly installed through the method, the rubber cap 7 is sleeved outside the convex pipes 6 at the pipe orifices of the first auxiliary pipe 2 and the second auxiliary pipe 3, the preliminary fixation is carried out through the sleeve joint, the rubber column 10 and the convex pipe 6 are mutually screwed and further fixed, therefore, the first auxiliary pipe 2 and the second auxiliary pipe 3 are sealed and sealed through the rubber cap 7, at the moment, external liquid enters through the main pipe 1 and flows out through the third auxiliary pipe 4, of course, the liquid flow transmission line is not unique, and can also be accessed through the second auxiliary pipe 3 and is connected out through the first auxiliary pipe 2, and other two convex pipes 6 are sealed and sealed.
Finally, it should be noted that: although the present invention has been described in detail with reference to the foregoing embodiments, it will be apparent to those skilled in the art that modifications may be made to the embodiments described in the foregoing embodiments, or equivalents may be substituted for elements thereof. Any modification, equivalent replacement, or improvement made within the spirit and principle of the present invention should be included in the protection scope of the present invention.
Claims (6)
1. A conventional ceramic composite elbow is characterized in that: comprises a main pipe (1), a first auxiliary pipe (2), a second auxiliary pipe (3) and a third auxiliary pipe (4), one side of the main pipe (1) is provided with a first auxiliary pipe (2), a second auxiliary pipe (3) and a third auxiliary pipe (4), the first auxiliary pipe (2) and the main pipe (1) are integrally formed and mutually inclined, the second auxiliary pipe (3) and the main pipe (1) are integrally formed and mutually vertical, the third auxiliary pipe (4) and the main pipe (1) are integrally formed and are parallel to each other, the periphery of the outer walls of the main pipe (1), the first auxiliary pipe (2), the second auxiliary pipe (3) and the third auxiliary pipe (4) is fixedly connected with a plurality of reinforcing ribs (5), the pipe orifices of the main pipe (1), the first auxiliary pipe (2), the second auxiliary pipe (3) and the third auxiliary pipe (4) are all integrally formed with convex pipes (6), the periphery of the outer part of the convex pipe (6) is sleeved with a rubber cap (7).
2. The conventional ceramic composite elbow according to claim 1, wherein: the internal surface integrated into one piece of stand (6) has the internal thread, the internal surface central point department integrated into one piece of putting of rubber cap (7) has rubber column (10), the surface integrated into one piece external screw thread of rubber column (10), rubber column (10) close through the screw thread each other soon with stand (6).
3. The conventional ceramic composite elbow according to claim 1, wherein: the outer wall of the convex pipe (6) is tightly attached to the inner wall of the rubber cap (7) at the periphery, and an anti-skid groove is formed in the middle of the outer surface of the convex pipe (6).
4. The conventional ceramic composite elbow according to claim 1, wherein: be responsible for mouth of pipe department of (1), attach pipe (2), attach pipe (3) No. two and attach pipe (4) No. three and lie in equal integrated into one piece all around protruding pipe (6) and have ring flange (8), one side surface of ring flange (8) lies in the fixedly connected with sealed pad (9) all around of protruding pipe (6).
5. The conventional ceramic composite elbow according to claim 1, wherein: the main pipe (1), the first auxiliary pipe (2), the second auxiliary pipe (3) and the third auxiliary pipe (4) are all ceramic components and are communicated with each other inside.
6. The conventional ceramic composite elbow according to claim 1, wherein: the reinforcing rib (5) is a metal component and has an arc-shaped structure.
Priority Applications (1)
| Application Number | Priority Date | Filing Date | Title |
|---|---|---|---|
| CN202020788068.1U CN212361196U (en) | 2020-05-13 | 2020-05-13 | Conventional ceramic composite elbow |
Applications Claiming Priority (1)
| Application Number | Priority Date | Filing Date | Title |
|---|---|---|---|
| CN202020788068.1U CN212361196U (en) | 2020-05-13 | 2020-05-13 | Conventional ceramic composite elbow |
Publications (1)
| Publication Number | Publication Date |
|---|---|
| CN212361196U true CN212361196U (en) | 2021-01-15 |
Family
ID=74148227
Family Applications (1)
| Application Number | Title | Priority Date | Filing Date |
|---|---|---|---|
| CN202020788068.1U Active CN212361196U (en) | 2020-05-13 | 2020-05-13 | Conventional ceramic composite elbow |
Country Status (1)
| Country | Link |
|---|---|
| CN (1) | CN212361196U (en) |
-
2020
- 2020-05-13 CN CN202020788068.1U patent/CN212361196U/en active Active
Similar Documents
| Publication | Publication Date | Title |
|---|---|---|
| CN212361196U (en) | Conventional ceramic composite elbow | |
| CN206943623U (en) | A kind of large diameter pipe connector | |
| CN214368479U (en) | Large elbow with anti-fracture structure | |
| CN212056248U (en) | Anti-leakage threaded connection flange | |
| CN207018719U (en) | A kind of plastic union pipe head seal | |
| CN208750257U (en) | A kind of PPR house ornamentation water supply pipe bend | |
| CN102865427A (en) | Pipeline connecting device | |
| CN219317858U (en) | Environment-friendly antibacterial aluminum hose | |
| CN210462040U (en) | Seamless steel pipe | |
| CN210440745U (en) | Pipeline connecting piece structure for reducing straight pipe | |
| CN206458906U (en) | A kind of Combined clip | |
| CN216923617U (en) | Detachable reinforced water supply pipeline elbow | |
| CN220957204U (en) | Telescopic multipurpose connecting pipe | |
| CN220727485U (en) | Copper piping with three-way connection | |
| CN219082553U (en) | Elbow stewing pipe fitting | |
| CN213452315U (en) | Elbow with sealing mechanism | |
| CN212718607U (en) | Nonrust steel pipe convenient to connect branch pipe | |
| CN222848846U (en) | Connector of salt collecting pipeline | |
| CN223622492U (en) | Outer conductor tee joint for nuclear power station | |
| CN210372493U (en) | A wear-resistant corrugated compensator for pulverized coal | |
| CN216520143U (en) | Corrosion-resistant sealing flange | |
| CN212361207U (en) | Steel strip corrugated pipe | |
| CN215233121U (en) | A new type of FRP flue structure inserted in the deacidification tower | |
| CN216666773U (en) | Connecting structure of polytetrafluoroethylene anticorrosion lining pipe | |
| CN218816527U (en) | A new type of external hanging channel |
Legal Events
| Date | Code | Title | Description |
|---|---|---|---|
| GR01 | Patent grant | ||
| GR01 | Patent grant |