CN212294069U - A high-efficiency drying equipment for textile fabrics - Google Patents

A high-efficiency drying equipment for textile fabrics Download PDF

Info

Publication number
CN212294069U
CN212294069U CN201922281229.8U CN201922281229U CN212294069U CN 212294069 U CN212294069 U CN 212294069U CN 201922281229 U CN201922281229 U CN 201922281229U CN 212294069 U CN212294069 U CN 212294069U
Authority
CN
China
Prior art keywords
fixedly connected
wall
main body
pipe
drying equipment
Prior art date
Legal status (The legal status is an assumption and is not a legal conclusion. Google has not performed a legal analysis and makes no representation as to the accuracy of the status listed.)
Expired - Fee Related
Application number
CN201922281229.8U
Other languages
Chinese (zh)
Inventor
纪杰
文斌
郑宇�
Current Assignee (The listed assignees may be inaccurate. Google has not performed a legal analysis and makes no representation or warranty as to the accuracy of the list.)
Yangzhou Polytechnic College
Original Assignee
Yangzhou Polytechnic College
Priority date (The priority date is an assumption and is not a legal conclusion. Google has not performed a legal analysis and makes no representation as to the accuracy of the date listed.)
Filing date
Publication date
Application filed by Yangzhou Polytechnic College filed Critical Yangzhou Polytechnic College
Priority to CN201922281229.8U priority Critical patent/CN212294069U/en
Application granted granted Critical
Publication of CN212294069U publication Critical patent/CN212294069U/en
Expired - Fee Related legal-status Critical Current
Anticipated expiration legal-status Critical

Links

Images

Landscapes

  • Treatment Of Fiber Materials (AREA)

Abstract

本实用新型涉及纺织技术领域,且公开了一种纺织面料的高效烘干设备,包括主体箱,所述主体箱的顶部固定连接有加热风机,所述加热风机的左侧固定连接有连接管,所述主体箱的左右两侧均开设有通孔,所述主体箱的内顶壁固定连接有固定管,所述固定管的内壁固定连接有弹簧,所述弹簧的底部与主体箱的左侧内壁均固定连接有压辊,所述主体箱的内顶壁和内底壁均固定连接有连接杆,顶部所述连接杆的底部固定连接有电动推杆,所述电动推杆的底部与底部连接杆的顶部均固定连接有压板,所述主体箱的内顶壁和内底壁均固定连接有稳定组件,两个所述稳定组件的内壁均活动连接有通管。该纺织面料的高效烘干设备,烘干效果好,效率高。

Figure 201922281229

The utility model relates to the technical field of textiles, and discloses a high-efficiency drying device for textile fabrics. The left and right sides of the main body box are provided with through holes, the inner top wall of the main body box is fixedly connected with a fixing tube, the inner wall of the fixing tube is fixedly connected with a spring, and the bottom of the spring is connected to the left side of the main body box. The inner wall is fixedly connected with a pressing roller, the inner top wall and the inner bottom wall of the main body are fixedly connected with a connecting rod, the bottom of the connecting rod at the top is fixedly connected with an electric push rod, and the bottom of the electric push rod is connected with the bottom. The tops of the connecting rods are fixedly connected with pressing plates, the inner top wall and the inner bottom wall of the main body box are fixedly connected with stabilizing components, and the inner walls of the two stabilizing components are movably connected with through pipes. The high-efficiency drying equipment for textile fabrics has good drying effect and high efficiency.

Figure 201922281229

Description

Efficient drying equipment for textile fabric
Technical Field
The utility model relates to the field of textile technology, specifically a textile fabric's high-efficient drying equipment.
Background
Knitted fabrics include weft knitted fabrics and warp knitted fabrics according to the weaving method. Weft-knitted fabrics are usually made from low-stretch polyester yarns or special-shaped polyester yarns, nylon yarns, cotton yarns, wool yarns and the like as raw materials by knitting flat stitch, rib flat stitch, double rib flat stitch, jacquard weave, terry weave and the like on various weft knitting machines.
In the process of processing textile fabric, the fabric needs to be cleaned, and the fabric needs to be dried after cleaning, however, a common drying device is dried by a simple heater, and the drying efficiency is low, so that the high-efficiency drying equipment for the textile fabric is provided to solve the problem.
SUMMERY OF THE UTILITY MODEL
Technical problem to be solved
Not enough to prior art, the utility model provides a textile fabric's high-efficient drying equipment possesses stoving effectual, and advantage such as efficient has solved and has dried through simple heater, problem that drying efficiency is low.
(II) technical scheme
For realizing above-mentioned stoving effectual, efficient purpose, the utility model provides a following technical scheme: a high-efficiency drying device for textile fabric comprises a main body box, wherein the top of the main body box is fixedly connected with a heating fan, the left side of the heating fan is fixedly connected with a connecting pipe, the left side and the right side of the main body box are respectively provided with a through hole, the inner top wall of the main body box is fixedly connected with a fixed pipe, the inner wall of the fixed pipe is fixedly connected with a spring, the bottom of the spring and the inner wall of the left side of the main body box are respectively fixedly connected with a compression roller, the inner top wall and the inner bottom wall of the main body box are respectively fixedly connected with a connecting rod, the bottom of the connecting rod at the top is fixedly connected with an electric push rod, the bottom of the electric push rod and the top of the connecting rod at the bottom are respectively fixedly connected with a compression plate, the inner top wall and the inner bottom wall of the main body, two equal fixedly connected with shower nozzle in the relative one side of connecting plate, two the equal fixedly connected with heater strip in inside of connecting plate, the back fixedly connected with breather pipe of siphunculus, the back and the connecting pipe intercommunication of breather pipe, the right side inner wall fixedly connected with guide roller of main part case.
Preferably, the stabilizing component consists of a clamp and a support rod, the bottom end of the support rod is fixedly connected with the clamp, and the connecting angle between the top end of the support rod and the inner wall of the main box is ninety degrees.
Preferably, the inner wall of the fixed pipe is fixedly connected with a clamping ring, and the clamping ring is positioned at the opening of the fixed pipe.
Preferably, the number of the material guide rollers is two, the material guide rollers are respectively positioned at the top and the bottom of the through hole on the right side, and the outer surface of each material guide roller is provided with heat conduction ceramic.
Preferably, the heating fan is fixedly connected with an air inlet pipe, and a pipe opening of the air inlet pipe is fixedly connected with a dust cover.
Preferably, the outer surface of the pressing plate is fixedly connected with a water absorption layer, and the inner wall of the water absorption layer is filled with water-absorbent resin.
(III) advantageous effects
Compared with the prior art, the utility model provides a textile fabric's high-efficient drying equipment possesses following beneficial effect:
this textile fabric's high-efficient drying equipment, through introducing the cloth from the through-hole, the spring resets and can drive the top compression roller and push down, thereby make two compression rollers carry out the centre gripping and contact to the both sides of cloth, extrude the moisture of cloth, and the clamp plate that drives the top through electric putter pushes down, thereby make two clamp plates extrude the unnecessary moisture of cloth, make things convenient for subsequent stoving, through heating the fan with hot-blast through the connecting pipe introduce two siphunculus, make hot-blast process heater strip spout from the shower nozzle, can dry the two sides of cloth, it is effectual to have played the stoving, efficient effect.
Drawings
Fig. 1 is a schematic structural diagram of the present invention.
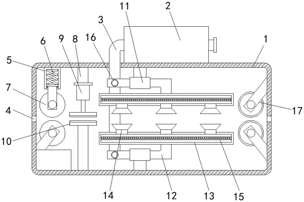
In the figure: the device comprises a main body box 1, a heating fan 2, a connecting pipe 3, a through hole 4, a fixing pipe 5, a spring 6, a compression roller 7, a connecting rod 8, an electric push rod 9, a pressing plate 10, a stabilizing assembly 11, a through pipe 12, a connecting plate 13, a spray head 14, a heating wire 15, a vent pipe 16 and a guide roller 17.
Detailed Description
The technical solutions in the embodiments of the present invention will be described clearly and completely with reference to the accompanying drawings in the embodiments of the present invention, and it is obvious that the described embodiments are only some embodiments of the present invention, not all embodiments. Based on the embodiments in the present invention, all other embodiments obtained by a person skilled in the art without creative work belong to the protection scope of the present invention.
Referring to fig. 1, a high-efficiency drying device for textile fabric comprises a main body box 1, a heating fan 2 is fixedly connected to the top of the main body box 1, an air inlet pipe is fixedly connected to the heating fan 2, a dust cover is fixedly connected to the opening of the air inlet pipe, a connecting pipe 3 is fixedly connected to the left side of the heating fan 2, through holes 4 are formed in the left side and the right side of the main body box 1, a fixing pipe 5 is fixedly connected to the inner top wall of the main body box 1, a snap ring is fixedly connected to the inner wall of the fixing pipe 5, the snap ring is located at the opening of the fixing pipe 5, a spring 6 is fixedly connected to the inner wall of the fixing pipe 5, a compression roller 7 is fixedly connected to the bottom of the spring 6 and the left side inner wall of the main body box 1, connecting rods 8 are fixedly connected to the inner top wall and the inner bottom wall of the main body, the outer surface of the pressing plate 10 is fixedly connected with a water absorption layer, the inner wall of the water absorption layer is filled with water absorption resin, the inner top wall and the inner bottom wall of the main box 1 are both fixedly connected with stabilizing components 11, each stabilizing component 11 consists of a hoop and a supporting rod, the bottom end of each supporting rod is fixedly connected with the hoop, the connecting angle between the top end of each supporting rod and the inner wall of the main box is ninety degrees, the inner walls of the two stabilizing components 11 are both movably connected with through pipes 12, one opposite sides of the two through pipes 12 are both fixedly connected with connecting plates 13, one opposite sides of the two connecting plates 13 are both fixedly connected with spray heads 14, heating wires 15 are both fixedly connected inside the two connecting plates 13, the back sides of the through pipes 12 are fixedly connected with vent pipes 16, the back sides of the vent pipes 16 are communicated with connecting pipes 3, the inner wall of the right side of the main, the outer surface of the material guide roller 17 is provided with heat-conducting ceramic.
In conclusion, this textile fabric's high-efficient drying equipment, through introducing the cloth from through-hole 4, spring 6 resets and can drive top compression roller 7 and push down, thereby make two compression rollers 7 carry out the centre gripping and the contact to the both sides of cloth, extrude the moisture of cloth, and the clamp plate 10 that drives the top through electric putter 9 pushes down, thereby make two clamp plates 10 extrude the unnecessary moisture of cloth, make things convenient for subsequent stoving, through heating blower 2 with hot-blast through connecting pipe 3 introduction to two siphunculus 12, make hot-blast spout in heater strip 15 follow shower nozzle 14, can dry the both sides of cloth, it is effectual to have played the stoving, efficient effect.
It is to be noted that the terms "comprises," "comprising," or any other variation thereof, are intended to cover a non-exclusive inclusion, such that a process, method, article, or apparatus that comprises a list of elements does not include only those elements but may include other elements not expressly listed or inherent to such process, method, article, or apparatus. Without further limitation, an element defined by the phrase "comprising an … …" does not exclude the presence of other identical elements in a process, method, article, or apparatus that comprises the element.
Although embodiments of the present invention have been shown and described, it will be appreciated by those skilled in the art that changes, modifications, substitutions and alterations can be made in these embodiments without departing from the principles and spirit of the invention, the scope of which is defined in the appended claims and their equivalents.

Claims (6)

1. The utility model provides a textile fabric's high-efficient drying equipment, includes main part case (1), its characterized in that: the heating fan is characterized in that a heating fan (2) is fixedly connected to the top of the main body box (1), a connecting pipe (3) is fixedly connected to the left side of the heating fan (2), through holes (4) are formed in the left side and the right side of the main body box (1), a fixing pipe (5) is fixedly connected to the inner top wall of the main body box (1), a spring (6) is fixedly connected to the inner wall of the fixing pipe (5), compression rollers (7) are fixedly connected to the bottoms of the springs (6) and the inner wall of the left side of the main body box (1), connecting rods (8) are fixedly connected to the inner top wall and the inner bottom wall of the main body box (1), an electric push rod (9) is fixedly connected to the bottom of the connecting rods (8), a pressing plate (10) is fixedly connected to the bottoms of the electric push rod (9) and the top of the connecting rods (8), and stabilizing assemblies (11, two the equal swing joint of inner wall of stabilizing the subassembly (11) has siphunculus (12), two the equal fixedly connected with connecting plate (13) in the relative one side of siphunculus (12), two the equal fixedly connected with shower nozzle (14) in the relative one side of connecting plate (13), two the equal fixedly connected with heater strip (15) in inside of connecting plate (13), the back fixedly connected with breather pipe (16) of siphunculus (12), the back and connecting pipe (3) intercommunication of breather pipe (16), the right side inner wall fixedly connected with guide roller (17) of main part case (1).
2. The efficient drying equipment for the textile fabric according to claim 1, characterized in that: stabilize subassembly (11) and constitute by clamp and branch, the bottom and the clamp fixed connection of branch, the top of branch is ninety degrees with main part incasement wall's angle of connection.
3. The efficient drying equipment for the textile fabric according to claim 1, characterized in that: the inner wall fixedly connected with snap ring of fixed pipe (5), the snap ring is located the opening part of fixed pipe (5).
4. The efficient drying equipment for the textile fabric according to claim 1, characterized in that: the number of the material guide rollers (17) is two, the material guide rollers are respectively positioned at the top and the bottom of the right through hole (4), and heat conduction ceramics are arranged on the outer surface of each material guide roller (17).
5. The efficient drying equipment for the textile fabric according to claim 1, characterized in that: the heating fan (2) is fixedly connected with an air inlet pipe, and a dust cover is fixedly connected to the pipe opening of the air inlet pipe.
6. The efficient drying equipment for the textile fabric according to claim 1, characterized in that: the outer surface of the pressing plate (10) is fixedly connected with a water absorption layer, and the inner wall of the water absorption layer is filled with water-absorbent resin.
CN201922281229.8U 2019-12-18 2019-12-18 A high-efficiency drying equipment for textile fabrics Expired - Fee Related CN212294069U (en)

Priority Applications (1)

Application Number Priority Date Filing Date Title
CN201922281229.8U CN212294069U (en) 2019-12-18 2019-12-18 A high-efficiency drying equipment for textile fabrics

Applications Claiming Priority (1)

Application Number Priority Date Filing Date Title
CN201922281229.8U CN212294069U (en) 2019-12-18 2019-12-18 A high-efficiency drying equipment for textile fabrics

Publications (1)

Publication Number Publication Date
CN212294069U true CN212294069U (en) 2021-01-05

Family

ID=73932427

Family Applications (1)

Application Number Title Priority Date Filing Date
CN201922281229.8U Expired - Fee Related CN212294069U (en) 2019-12-18 2019-12-18 A high-efficiency drying equipment for textile fabrics

Country Status (1)

Country Link
CN (1) CN212294069U (en)

Cited By (2)

* Cited by examiner, † Cited by third party
Publication number Priority date Publication date Assignee Title
CN114541066A (en) * 2022-02-15 2022-05-27 广德正欣经编有限公司 Quick drying equipment and method for producing and processing bleached and dyed knitwear
CN115652557A (en) * 2022-08-31 2023-01-31 徐州兴豪纺织新材料有限公司 Be used for weaving class product to wash drying-machine

Cited By (3)

* Cited by examiner, † Cited by third party
Publication number Priority date Publication date Assignee Title
CN114541066A (en) * 2022-02-15 2022-05-27 广德正欣经编有限公司 Quick drying equipment and method for producing and processing bleached and dyed knitwear
CN114541066B (en) * 2022-02-15 2024-03-15 广德正欣经编有限公司 Quick-drying equipment and quick-drying method for production and processing of bleaching and dyeing knitwear
CN115652557A (en) * 2022-08-31 2023-01-31 徐州兴豪纺织新材料有限公司 Be used for weaving class product to wash drying-machine

Similar Documents

Publication Publication Date Title
CN208366013U (en) A kind of textile process cloth drying device
CN207600130U (en) One kind is used for non-woven fabrics drying unit
CN109059502A (en) A kind of energy-efficient weaving drying equipment
CN210425931U (en) Fabric drying device for spinning
CN212294069U (en) A high-efficiency drying equipment for textile fabrics
CN109594275A (en) A kind of weaving drying smoothing wrinkle all-in-one machine
CN214300728U (en) Cloth cleaning and drying device for spinning
CN207945945U (en) A kind of textile process cloth drying device
CN212955780U (en) Cloth design tentering equipment
CN212158020U (en) An industrial drying furnace with efficient drying
CN107326588B (en) Shaping and drying device for spinning
CN211689544U (en) Polyester yarn environment-friendly dyeing device
CN210773258U (en) Even fabrics drying-machine dries
CN211552346U (en) Drying equipment for textile fabric
CN220579558U (en) Cleaning device for textile fabric production
CN208170950U (en) The cloth drying device uniformly dried
CN207738931U (en) Textile machines dust-extraction unit
CN206648412U (en) A kind of textile dryer
CN216898106U (en) Drying device is used in towel production
CN118687355A (en) A drying device for textile processing
CN110736325A (en) Antibacterial drying equipment for composite fabrics
CN210197990U (en) Drying device for textile fabric rolling
CN217174126U (en) Dust removing device for warp knitting and weaving
CN216048972U (en) All-round drying equipment is used in light filter production
CN210886572U (en) Drying device for textile printing and dyeing fabric

Legal Events

Date Code Title Description
GR01 Patent grant
GR01 Patent grant
CF01 Termination of patent right due to non-payment of annual fee
CF01 Termination of patent right due to non-payment of annual fee

Granted publication date: 20210105

Termination date: 20211218