CN212292570U - Hoisting device for boiler installation - Google Patents
Hoisting device for boiler installation Download PDFInfo
- Publication number
- CN212292570U CN212292570U CN202020906846.2U CN202020906846U CN212292570U CN 212292570 U CN212292570 U CN 212292570U CN 202020906846 U CN202020906846 U CN 202020906846U CN 212292570 U CN212292570 U CN 212292570U
- Authority
- CN
- China
- Prior art keywords
- boiler
- base
- movable block
- installation
- hoisting device
- Prior art date
- Legal status (The legal status is an assumption and is not a legal conclusion. Google has not performed a legal analysis and makes no representation as to the accuracy of the status listed.)
- Expired - Fee Related
Links
- 238000009434 installation Methods 0.000 title claims abstract description 26
- 230000003028 elevating effect Effects 0.000 claims description 4
- 230000001105 regulatory effect Effects 0.000 abstract description 2
- 230000032258 transport Effects 0.000 description 3
- 239000007858 starting material Substances 0.000 description 2
- 230000009286 beneficial effect Effects 0.000 description 1
- 238000009776 industrial production Methods 0.000 description 1
- 238000004519 manufacturing process Methods 0.000 description 1
- 230000004048 modification Effects 0.000 description 1
- 238000012986 modification Methods 0.000 description 1
- XLYOFNOQVPJJNP-UHFFFAOYSA-N water Substances O XLYOFNOQVPJJNP-UHFFFAOYSA-N 0.000 description 1
Images
Landscapes
- Jib Cranes (AREA)
Abstract
The utility model discloses a hoisting device for boiler installation, which comprises a hydraulic telescopic hoisting rod, a base and a supporting plate, the fixed block is locked and attached on the ground or other installation positions to fix the position of the hoisting device for boiler installation, meanwhile, the fixed block can provide certain tension to prevent the lifting device for boiler installation from overturning during lifting, the boiler is fixed on the hook through the connecting piece, the two sides of the hook are provided with the raised hanging platforms to more stably fix the boiler, the starting motor drives the hydraulic telescopic lifting rod to rotate upwards to lift the boiler, the position of the boiler can be regulated and controlled through the expansion of the hydraulic telescopic lifting rod, the lifting of the supporting plate can be realized through the movement of the hydraulic cylinder driving movable block, workers can hoist and mount the boiler conveniently, the universal wheels are further mounted below the base, and the workers can move and transport the boiler mounting hoisting device conveniently through the universal wheels.
Description
Technical Field
The utility model relates to a hoist device specifically is a hoist device is used in boiler installation.
Background
The boiler is a common energy exchange device, hot water or steam generated by the boiler can be directly used for industrial production and people life to provide required heat energy in general production and life, and can also be converted into mechanical energy through a steam power device, so that the boiler has wide application and high practicability.
The boiler generally used for life or industry is large in volume and weight, the boiler needs to be lifted and installed during installation, and the lifting rod of the common lifting equipment cannot stretch out and draw back, so that the boiler is inconvenient to install.
SUMMERY OF THE UTILITY MODEL
An object of the utility model is to provide a hoist device is used in boiler installation to solve the problem that proposes among the above-mentioned background art.
In order to achieve the above object, the utility model provides a following technical scheme:
the utility model provides a hoist device for boiler installation, includes hydraulic stretching jib, base, elevating system and backup pad, its characterized in that, hydraulic stretching jib one end fixed connection axis of rotation, hydraulic stretching jib pass through axis of rotation and backup pad and rotate the connection, install the motor in the backup pad, the loose axle and the axis of rotation fixed connection of motor, elevating system includes movable rod, movable block and pneumatic cylinder, movable rod one end and backup pad lower part swing joint, the other end and movable block swing joint, be equipped with on the base with movable block complex spout, movable block and spout sliding connection and movable block and the expansion end fixed connection of installing the pneumatic cylinder in the spout.
As a further aspect of the present invention: the end of the hydraulic telescopic lifting rod is fixedly connected with a hook, and two sides of the hook are provided with protruding hanging platforms.
As a further aspect of the present invention: and universal wheels are further mounted below the base.
As a further aspect of the present invention: fixing device is still installed to the base rear side, fixing device includes connecting rod and fixed block, connecting rod one end and base swing joint, the other end and fixed block swing joint.
Compared with the prior art, the beneficial effects of the utility model are that: during the use, the fixed block lock is attached on ground or other mounted position, fix hoisting device's for boiler installation position, the fixed block can provide certain pulling force simultaneously, prevent that hoisting device for boiler installation from overturning when lifting by crane, pass through the connecting piece with the boiler and fix on the couple, there is the arch platform of hanging in the couple both sides, can more firm fix the boiler, the starter motor drives hydraulic stretching jib and upwards rotates and lifts by crane the boiler, the flexible position that can regulate and control the boiler that lifts by crane of hydraulic stretching jib, can realize the lift of backup pad through the motion of pneumatic cylinder drive movable block, make things convenient for the staff to hoist and mount the installation to the boiler, the universal wheel is still installed to the base below, the staff of being convenient for through the universal wheel removes and transports hoisting device for boiler installation.
Drawings
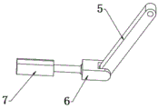
Fig. 1 is a schematic structural view of a lifting device for boiler installation.
Fig. 2 is a schematic structural view of a lifting mechanism in a lifting device for boiler installation.
Fig. 3 is a schematic structural view of a hydraulic telescopic boom of a boiler-mounting hoist.
1-hook, 2-hydraulic telescopic lifting rod, 3-motor, 4-supporting plate, 5-movable rod, 6-movable block, 7-hydraulic cylinder, 8-chute, 9-base, 10-universal wheel, 11-connecting rod, 12-fixed block and 13-rotating shaft.
Detailed Description
The technical solution of the present patent will be described in further detail with reference to the following embodiments.
The present invention will be described in detail with reference to the following embodiments, wherein like or similar elements are designated by like reference numerals throughout the several views, and wherein the shape, thickness or height of the various elements may be expanded or reduced in practice. The examples are given solely for the purpose of illustration and are not intended to limit the scope of the invention. Any obvious modifications or variations can be made to the present invention without departing from the spirit or scope of the present invention.
Example 1
Referring to fig. 1-3, a lifting device for boiler installation comprises a hydraulic telescopic lifting rod 2, a base 9, a lifting mechanism and a support plate 4, wherein one end of the hydraulic telescopic lifting rod 2 is fixedly connected with a rotating shaft 13, the hydraulic telescopic lifting rod 2 is rotatably connected with the support plate 4 through the rotating shaft 13, a motor 3 is installed on the support plate 4, a movable shaft of the motor 3 is fixedly connected with the rotating shaft 13, the motor 3 can drive the hydraulic telescopic lifting rod 2 to rotate, so that the boiler can be conveniently lifted, when in use, the boiler is fixed on the hydraulic telescopic lifting rod 2 through a connecting piece, the hydraulic telescopic lifting rod 2 is driven to rotate upwards by starting the motor 3, the position of the boiler is regulated and controlled through the expansion of the hydraulic telescopic lifting rod 2, so that a worker can conveniently lift the boiler, and the lifting mechanism comprises a movable rod 5, a movable block 6 and a hydraulic cylinder 7, 5 one end of movable rod and 4 lower part swing joint of backup pad, the other end and the 6 swing joint of movable block, be equipped with on the base 9 with the 6 complex spout 8 of movable block, movable block 6 and 8 sliding connection of spout and the movable end fixed connection of movable block 6 and pneumatic cylinder 7 of installing in spout 8 can drive movable block 6 through pneumatic cylinder 7 and move in spout 8, during the use, can realize backup pad 4's lift through the 6 motion of pneumatic cylinder 7 drive movable block, make things convenient for the staff to hoist and mount the installation to the boiler.
End fixed connection couple 1 of flexible jib 2 of hydraulic pressure, 1 both sides of couple have protruding string platform, and during the use, the boiler passes through the connecting piece can be more firm fix at flexible jib 2 of hydraulic pressure.
In order to facilitate the movement and transportation of the lifting device for boiler installation, the universal wheels 10 are further installed below the base 9, and workers can move and transport the lifting device for boiler installation conveniently through the universal wheels 10.
The working principle of the embodiment is as follows: during the use, pass through the connecting piece with the boiler and fix on couple 1, there is protruding string platform couple 1 both sides, can more firm fix the boiler, starter motor 3 drives hydraulic stretching jib 2 and upwards rotates and lifts by crane the boiler, hydraulic stretching jib 2's flexible position that can regulate and control lift by crane the boiler, can realize backup pad 4's lift through the motion of pneumatic cylinder 7 drive movable block 6, make things convenient for the staff to hoist and mount the installation to the boiler, universal wheel 10 is still installed to base 9 below, the staff of being convenient for removes and transports hoisting device for the boiler mounting through universal wheel 10.
Example 2
In order to ensure the stability and safety of the hoisting device for boiler installation during boiler hoisting, the embodiment is further improved on the basis of the embodiment 1, and the improvement is as follows: fixing device is still installed to base 9 rear side, fixing device includes connecting rod 11 and fixed block 12, 11 one end of connecting rod and base 9 swing joint, the other end and fixed block 12 swing joint, during the use, attach on ground or other mounted position through fixed block 12 lock, can fix hoisting device's for boiler mounting position, fixed block 12 can provide certain pulling force simultaneously, prevents that hoisting device for boiler mounting from overturning when lifting by crane.
It will be evident to those skilled in the art that the invention is not limited to the details of the foregoing illustrative embodiments, and that the present invention may be embodied in other specific forms without departing from the spirit or essential attributes thereof. The present embodiments are therefore to be considered in all respects as illustrative and not restrictive, the scope of the invention being indicated by the appended claims rather than by the foregoing description, and all changes which come within the meaning and range of equivalency of the claims are therefore intended to be embraced therein.
Furthermore, it should be understood that although the present description refers to embodiments, not every embodiment may contain only a single embodiment, and such description is for clarity only, and those skilled in the art should integrate the description, and the embodiments may be combined as appropriate to form other embodiments understood by those skilled in the art.
Claims (4)
1. The utility model provides a hoist device for boiler installation, includes hydraulic stretching plays jib (2), base (9), elevating system and backup pad (4), a serial communication port, hydraulic stretching plays jib (2) one end fixed connection axis of rotation (13), and hydraulic stretching plays jib (2) and rotates through axis of rotation (13) and backup pad (4) to be connected, install motor (3) on backup pad (4), the loose axle and axis of rotation (13) fixed connection of motor (3), elevating system includes movable rod (5), movable block (6) and pneumatic cylinder (7), movable rod (5) one end and backup pad (4) lower part swing joint, the other end and movable block (6) swing joint, be equipped with on base (9) with movable block (6) complex spout (8), movable block (6) and spout (8) sliding connection and movable block (6) and the movable end fixed connection who installs pneumatic cylinder (7) in spout (8) .
2. The hoisting device for boiler installation according to claim 1, wherein the end of the hydraulic telescopic boom (2) is fixedly connected with a hook (1), and two sides of the hook (1) are provided with protruding hanging platforms.
3. A boiler installation hoist device according to claim 2, characterized in that universal wheel (10) is still installed to the base (9) below.
4. The hoisting device for boiler installation according to claim 2, wherein a fixing device is further installed at the rear side of the base (9), the fixing device comprises a connecting rod (11) and a fixing block (12), one end of the connecting rod (11) is movably connected with the base (9), and the other end of the connecting rod is movably connected with the fixing block (12).
Priority Applications (1)
| Application Number | Priority Date | Filing Date | Title |
|---|---|---|---|
| CN202020906846.2U CN212292570U (en) | 2020-05-26 | 2020-05-26 | Hoisting device for boiler installation |
Applications Claiming Priority (1)
| Application Number | Priority Date | Filing Date | Title |
|---|---|---|---|
| CN202020906846.2U CN212292570U (en) | 2020-05-26 | 2020-05-26 | Hoisting device for boiler installation |
Publications (1)
| Publication Number | Publication Date |
|---|---|
| CN212292570U true CN212292570U (en) | 2021-01-05 |
Family
ID=73970669
Family Applications (1)
| Application Number | Title | Priority Date | Filing Date |
|---|---|---|---|
| CN202020906846.2U Expired - Fee Related CN212292570U (en) | 2020-05-26 | 2020-05-26 | Hoisting device for boiler installation |
Country Status (1)
| Country | Link |
|---|---|
| CN (1) | CN212292570U (en) |
Cited By (1)
| Publication number | Priority date | Publication date | Assignee | Title |
|---|---|---|---|---|
| CN115010008A (en) * | 2022-08-09 | 2022-09-06 | 山西省安装集团股份有限公司 | Hoisting device for boiler installation |
-
2020
- 2020-05-26 CN CN202020906846.2U patent/CN212292570U/en not_active Expired - Fee Related
Cited By (2)
| Publication number | Priority date | Publication date | Assignee | Title |
|---|---|---|---|---|
| CN115010008A (en) * | 2022-08-09 | 2022-09-06 | 山西省安装集团股份有限公司 | Hoisting device for boiler installation |
| CN115010008B (en) * | 2022-08-09 | 2022-10-21 | 山西省安装集团股份有限公司 | Hoisting device for boiler installation |
Similar Documents
| Publication | Publication Date | Title |
|---|---|---|
| CN101357739B (en) | Column crane special for movable arm type group tower | |
| WO2015042945A1 (en) | An assembled tower type crane with movable counter-weight system | |
| CN212292570U (en) | Hoisting device for boiler installation | |
| CN202423956U (en) | Hoisting device for power transmission line maintenance | |
| CN212799368U (en) | Large-scale power equipment hoisting mounting frame | |
| CN214114710U (en) | Building engineering hoist device | |
| CN214359805U (en) | Crossbeam device for hoisting | |
| CN214422207U (en) | Hoisting device | |
| CN212101641U (en) | Lifting appliance for rotary return crane | |
| CN213537079U (en) | Portable hoisting support is built to bridge | |
| CN222540347U (en) | A deep foundation pit rescue equipment | |
| CN104355241A (en) | Multifunctional high-altitude operation crane for overhauling and maintaining wind power generator | |
| CN211198404U (en) | A detachable rotating crane | |
| CN114104997A (en) | a small crane | |
| CN211169602U (en) | A mobile hoist | |
| CN116835461A (en) | Novel crawler self-propelled electric tower crane | |
| CN219990945U (en) | Dismounting tool suitable for yaw motor of wind turbine generator | |
| CN222433981U (en) | A hoisting device for steel structure installation | |
| CN114180473A (en) | Construction equipment based on 5G communication | |
| CN202594608U (en) | Turnover device for large-size wind generating set rack | |
| CN222743940U (en) | A crane hook structure for lifting equipment | |
| CN221318899U (en) | Hub turning-over adjusting device | |
| CN217555603U (en) | Mechanical equipment installs hoisting machine and constructs | |
| CN221343682U (en) | Wall-attached lifting device and tower crane | |
| CN218478473U (en) | Cantilever crane for steel product processing |
Legal Events
| Date | Code | Title | Description |
|---|---|---|---|
| GR01 | Patent grant | ||
| GR01 | Patent grant | ||
| CF01 | Termination of patent right due to non-payment of annual fee | ||
| CF01 | Termination of patent right due to non-payment of annual fee |
Granted publication date: 20210105 |