CN212277257U - 电芯贴胶装置及叠片机 - Google Patents

电芯贴胶装置及叠片机 Download PDF

Info

Publication number
CN212277257U
CN212277257U CN202020846096.4U CN202020846096U CN212277257U CN 212277257 U CN212277257 U CN 212277257U CN 202020846096 U CN202020846096 U CN 202020846096U CN 212277257 U CN212277257 U CN 212277257U
Authority
CN
China
Prior art keywords
driving
glue
driving member
cutting
adhesive tape
Prior art date
Legal status (The legal status is an assumption and is not a legal conclusion. Google has not performed a legal analysis and makes no representation as to the accuracy of the status listed.)
Active
Application number
CN202020846096.4U
Other languages
English (en)
Inventor
不公告发明人
Current Assignee (The listed assignees may be inaccurate. Google has not performed a legal analysis and makes no representation or warranty as to the accuracy of the list.)
Wuxi Lead Intelligent Equipment Co Ltd
Original Assignee
Wuxi Lead Intelligent Equipment Co Ltd
Priority date (The priority date is an assumption and is not a legal conclusion. Google has not performed a legal analysis and makes no representation as to the accuracy of the date listed.)
Filing date
Publication date
Application filed by Wuxi Lead Intelligent Equipment Co Ltd filed Critical Wuxi Lead Intelligent Equipment Co Ltd
Priority to CN202020846096.4U priority Critical patent/CN212277257U/zh
Application granted granted Critical
Publication of CN212277257U publication Critical patent/CN212277257U/zh
Active legal-status Critical Current
Anticipated expiration legal-status Critical

Links

Images

Classifications

    • YGENERAL TAGGING OF NEW TECHNOLOGICAL DEVELOPMENTS; GENERAL TAGGING OF CROSS-SECTIONAL TECHNOLOGIES SPANNING OVER SEVERAL SECTIONS OF THE IPC; TECHNICAL SUBJECTS COVERED BY FORMER USPC CROSS-REFERENCE ART COLLECTIONS [XRACs] AND DIGESTS
    • Y02TECHNOLOGIES OR APPLICATIONS FOR MITIGATION OR ADAPTATION AGAINST CLIMATE CHANGE
    • Y02EREDUCTION OF GREENHOUSE GAS [GHG] EMISSIONS, RELATED TO ENERGY GENERATION, TRANSMISSION OR DISTRIBUTION
    • Y02E60/00Enabling technologies; Technologies with a potential or indirect contribution to GHG emissions mitigation
    • Y02E60/10Energy storage using batteries
    • YGENERAL TAGGING OF NEW TECHNOLOGICAL DEVELOPMENTS; GENERAL TAGGING OF CROSS-SECTIONAL TECHNOLOGIES SPANNING OVER SEVERAL SECTIONS OF THE IPC; TECHNICAL SUBJECTS COVERED BY FORMER USPC CROSS-REFERENCE ART COLLECTIONS [XRACs] AND DIGESTS
    • Y02TECHNOLOGIES OR APPLICATIONS FOR MITIGATION OR ADAPTATION AGAINST CLIMATE CHANGE
    • Y02PCLIMATE CHANGE MITIGATION TECHNOLOGIES IN THE PRODUCTION OR PROCESSING OF GOODS
    • Y02P70/00Climate change mitigation technologies in the production process for final industrial or consumer products
    • Y02P70/50Manufacturing or production processes characterised by the final manufactured product

Landscapes

  • Sealing Battery Cases Or Jackets (AREA)

Abstract

本实用新型涉及一种电芯贴胶装置,待贴胶的电芯可先搬运至贴合工位并置于两个贴胶机构之间。在贴合驱动组件的带动下,吸胶头可移动至取胶工位并吸取预设长度的胶片。贴合驱动组件带动吸胶头移动至贴合工位,两个贴胶机构上的吸胶头相向移动,可使两个贴胶机构的吸胶头分别与电芯的两个表面接触。此时,附于两个贴胶机构的胶片可分别粘贴于电芯的两个表面。而且,电芯两侧的胶片能够相互粘接,可使电芯被压紧。由于可对电芯的两个表面同时进行贴胶,故上述电芯贴胶装置能显著提升电芯的生产效率。此外,本实用新型还提供一种叠片机。

Description

电芯贴胶装置及叠片机
技术领域
本实用新型涉及电池加工技术领域,特别涉及一种电芯贴胶装置及叠片机。
背景技术
在锂电池的加工过程中,需要对堆叠形成的电芯进行贴胶。随着电池的轻薄化,电芯的厚度也越来越薄。因此,需要在电芯表面贴覆更多的胶带才能起到较好的粘接效果。譬如,一新型电芯包括两个最外侧的第一极片(半涂层)、夹在中间的第二极片及位于第一极片与第二极片之间的隔膜。由于该电芯的层数较少,电芯厚度很薄,需要在四个角上下两面共计贴八道胶。
传统的贴胶机构一般针对厚度较大的电芯进行贴胶,所需贴胶的道数不多。显然,若将传统的贴胶机构用于对厚度减小的电芯进行贴胶,则需要不断重复贴胶过程才能达到预设的效果,导致电芯生产效率不高。
实用新型内容
基于此,有必要提供一种能够提升电芯生产效率的电芯贴胶装置及叠片机。
一种电芯贴胶装置,设有取胶工位及贴合工位,所述电芯贴胶装置包括:
安装板;
供胶机构,用于向所述取胶工位提供裁切成预设长度的胶片;及
设于所述安装板的两个贴胶机构,每个所述贴胶机构包括可吸取所述胶片的吸胶头及可驱动所述吸胶头在所述取胶工位与所述贴合工位之间往复运动的贴合驱动组件;
其中,一个所述贴胶机构上的所述吸胶头与另一个所述贴胶机构上的所述吸胶头相对设置并可相向移动,直至使分别吸附于所述两个贴胶机构的所述胶片相贴合。
在其中一个实施例中,所述供胶机构包括:
胶带放卷盘;
胶带牵引组件,经所述胶带放卷盘放卷的胶带可由所述胶带牵引组件夹紧;
设于所述取胶工位的裁切组件,用于对所述胶带牵引组件夹紧的所述胶带进行裁切,以获得所述胶片。
在其中一个实施例中,所述胶带牵引组件包括第一夹爪气缸、第二夹爪气缸及与所述第二夹爪气缸传动连接的牵引驱动件,所述胶带可穿过所述第一夹爪气缸的夹紧块,所述第二夹爪气缸在所述牵引驱动件的驱动下可相对于所述第一夹爪气缸靠近或远离。
在其中一个实施例中,所述裁切组件包括:
裁切驱动件;
设于所述裁切驱动件的驱动端的至少两个切刀,所述至少两个切刀在所述胶带的延伸方向上间隔设置,所述裁切驱动件可驱动所述至少两个切刀沿裁切方向移动,直至将所述胶带抵持于位于所述取胶工位的所述吸胶头上,以执行裁切动作。
在其中一个实施例中,所述裁切组件还包括:
连接块,与所述裁切驱动件的驱动端固定连接,所述至少两个切刀设于所述连接块上;
压块,安装于所述连接块并相对于所述连接块沿所述裁切方向可伸缩;
弹簧,夹持于所述压块与所述连接块之间并对所述压块提供弹性力,所述裁切驱动件带动所述连接块沿裁切方向移动以执行裁切操作时,所述压块先于所述至少两个切刀与所述胶带接触,并在所述弹性力的作用下将所述胶带抵持于所述吸胶头上。
在其中一个实施例中,所述供胶机构为两个,且分别两个所述供胶机构为两个所述贴胶机构供胶。
在其中一个实施例中,每个所述贴胶机构包括至少两个所述吸胶头,同一个所述贴胶机构上,至少两个所述吸胶头之间可操作地相互靠近或远离。
在其中一个实施例中,所述贴合驱动组件包括:
第一驱动件;
第二驱动件,设于所述第一驱动件的驱动端并可在所述第一驱动件的带动下沿第一方向移动,以在所述取胶工位与所述贴合工位之间往复运动;
其中,所述吸胶头设于所述第二驱动件,并可在所述第二驱动件的带动下沿与所述第一方向垂直的第二方向移动,以向位于所述贴合工位的电芯粘贴所述胶片。
在其中一个实施例中,所述贴合驱动组件还包括第三驱动件、第四驱动件及第五驱动件,所述第三驱动件及所述第四驱动件安装于所述第二驱动件的驱动端,所述第五驱动件安装于所述第三驱动件的驱动端并可在所述第三驱动件的带动下沿所述第一方向移动,两个所述吸胶头分别安装于所述第四驱动件及所述第五驱动件的驱动端,并可在所述第四驱动件及所述第五驱动件的带动下沿所述第二方向移动。
在其中一个实施例中,还包括搬运机构,所述搬运机构包括机架、搬运驱动组件及用于固定待贴胶的电芯的夹板,在所述搬运驱动组件的驱动下,所述夹板可带动待贴胶的电芯的移动至所述贴合工位。
在其中一个实施例中,所述搬运驱动组件包括第一搬运驱动件、第二搬运驱动件、旋转驱动件及夹紧驱动件,所述第二搬运驱动件设于所述第一搬运驱动件的驱动端,所述旋转驱动件设于所述第二搬运驱动件的驱动端,且所述第一搬运驱动件与所述第二搬运驱动件的驱动方向垂直,所述夹紧驱动件设于所述旋转驱动件的驱动端,所述夹板在所述夹紧驱动件带动下可夹紧或张开。
上述电芯贴胶装置,待贴胶的电芯可先搬运至贴合工位并置于两个贴胶机构300之间。在贴合驱动组件的带动下,吸胶头310可移动至取胶工位并吸取预设长度的胶片。贴合驱动组件320带动吸胶头310移动至贴合工位,两个贴胶机构300上的吸胶头310相向移动,可使两个贴胶机构300的吸胶头310分别与电芯的两个表面接触。此时,吸附于两个贴胶机构300的胶片可分别粘贴于电芯的两个表面。而且,电芯两侧的胶片能够相互粘接,可使电芯被压紧。由于可对电芯的两个表面同时进行贴胶,故上述电芯贴胶装置能显著提升电芯的生产效率。
一种叠片机,其特征在于,包括如上述优选实施例中任一项所述的电芯贴胶装置。
附图说明
为了更清楚地说明本申请实施例或现有技术中的技术方案,下面将对实施例或现有技术描述中所需要使用的附图作简单地介绍,显而易见地,下面描述中的附图仅仅是本申请的一些实施例,对于本领域普通技术人员来讲,在不付出创造性劳动的前提下,还可以根据这些附图获得其他的附图。
图1为本实用新型较佳实施例中电芯贴胶装置的结构示意图;
图2为图1所示电芯贴胶装置的半侧局部示意图;
图3为图1所示电芯贴胶装置中裁切组件的正视图;
图4为图3所示裁切组件的侧视图;
图5为图1所示电芯贴胶装置中搬运机构的主视图;
图6为图5所示搬运机构的侧视图。
具体实施方式
为使本实用新型的上述目的、特征和优点能够更加明显易懂,下面结合附图对本实用新型的具体实施方式做详细的说明。在下面的描述中阐述了很多具体细节以便于充分理解本实用新型。但是本实用新型能够以很多不同于在此描述的其它方式来实施,本领域技术人员可以在不违背本实用新型内涵的情况下做类似改进,因此本实用新型不受下面公开的具体实施例的限制。
在本实用新型的描述中,需要理解的是,术语“中心”、“纵向”、“横向”、“长度”、“宽度”、“厚度”、“上”、“下”、“前”、“后”、“左”、“右”、“竖直”、“水平”、“顶”、“底”、“内”、“外”、“顺时针”、“逆时针”、“轴向”、“径向”、“周向”等指示的方位或位置关系为基于附图所示的方位或位置关系,仅是为了便于描述本实用新型和简化描述,而不是指示或暗示所指的装置或元件必须具有特定的方位、以特定的方位构造和操作,因此不能理解为对本实用新型的限制。
此外,术语“第一”、“第二”仅用于描述目的,而不能理解为指示或暗示相对重要性或者隐含指明所指示的技术特征的数量。由此,限定有“第一”、“第二”的特征可以明示或者隐含地包括至少一个该特征。在本实用新型的描述中,“多个”的含义是至少两个,例如两个,三个等,除非另有明确具体的限定。
在本实用新型中,除非另有明确的规定和限定,术语“安装”、“相连”、“连接”、“固定”等术语应做广义理解,例如,可以是固定连接,也可以是可拆卸连接,或成一体;可以是机械连接,也可以是电连接;可以是直接相连,也可以通过中间媒介间接相连,可以是两个元件内部的连通或两个元件的相互作用关系,除非另有明确的限定。对于本领域的普通技术人员而言,可以根据具体情况理解上述术语在本实用新型中的具体含义。
在本实用新型中,除非另有明确的规定和限定,第一特征在第二特征“上”或“下”可以是第一和第二特征直接接触,或第一和第二特征通过中间媒介间接接触。而且,第一特征在第二特征“之上”、“上方”和“上面”可是第一特征在第二特征正上方或斜上方,或仅仅表示第一特征水平高度高于第二特征。第一特征在第二特征“之下”、“下方”和“下面”可以是第一特征在第二特征正下方或斜下方,或仅仅表示第一特征水平高度小于第二特征。
需要说明的是,当元件被称为“固定于”或“设置于”另一个元件,它可以直接在另一个元件上或者也可以存在居中的元件。当一个元件被认为是“连接”另一个元件,它可以是直接连接到另一个元件或者可能同时存在居中元件。本文所使用的术语“垂直的”、“水平的”、“上”、“下”、“左”、“右”以及类似的表述只是为了说明的目的,并不表示是唯一的实施方式。
本实用新型提供可一种叠片机及电芯贴胶装置。叠片机包括电芯贴胶装置,待叠片机将极片及隔膜堆叠形成电芯后,可由电芯贴胶装置在电芯的两侧表面进行贴胶,并使两侧的胶片相互粘接。
请参阅图1及图2,本实用新型较佳实施例中的电芯贴胶装置10包括安装板100、供胶机构200及贴胶机构300。
安装板100起支撑作用,一般为金属板状结构。电芯贴胶装置10上设有取胶工位及贴合工位,而取胶工位及贴合工位可位于安装板100的范围内。
供胶机构200用于向取胶工位提供裁切成预设长度的胶片。胶片可由成卷的胶带经裁切形成。供胶机构200可利用胶带进行现场裁切,实时获得胶片。当然,供胶机构200也可将预先裁切好的胶片由相应的料仓进给到取胶工位。
贴胶机构300设于安装板100,用于向待贴胶的电芯表面粘贴胶片。贴胶机构300为两个,分别为电芯相对的两个表面实现贴胶。待贴胶的电芯可先搬运至贴合工位并置于两个贴胶机构300之间。两个贴胶机构300的结构完全相同,可对称设置于安装板100上。如图1所示,本实施例中的两个贴胶机构300并列设于安装板100,并分别位于取胶工位及贴合工位的相对两侧,使得电芯贴胶装置10的结构更紧凑。
每个贴胶机构300包括吸胶头310及贴合驱动组件320。吸胶头310可以是真空吸头,其上开设有抽真空孔(图未示),抽真空组件与该抽真空孔相连,从而使得吸胶头310的吸附面形成负压吸附胶片。当需要将胶片粘接于电芯表面时,则可以通过向该抽真空孔通入空气,实现破真空,以使胶带脱离吸胶头310 的吸附面。
贴合驱动组件320可以是气缸、电机丝杠副组件等结构。贴合驱动组件320 可驱动至少两个吸胶头310在取胶工位与贴合工位之间往复运动。因此,吸胶头310可将胶片从取胶工位移载至贴合工位,并可重复该过程。进一步的,一个贴胶机构300上的吸胶头310与另一个贴胶机构300上的吸胶头310相对设置且可相向移动,直至使分别吸附于两个贴胶机构300的胶片相贴合。
吸胶头310可在贴合驱动组件320的驱动下移动,也可随贴合驱动组件320 整体移动。当贴胶机构300上的吸胶头310移动至贴合工位时,可使吸胶头310 朝位于贴合工位上的电芯移动,当吸附于吸胶头310的胶片与电芯表面接触,便可将胶片粘接于电芯的表面。以图1所示为例,上面的贴胶机构300上的吸胶头310向下移动,下面的贴胶机构300上的吸胶头310向上移动。两个贴胶机构300的吸胶头310相向移动,最终分别将胶片粘贴于电芯的上表面及下表面。
而且,电芯两侧的胶片能够相互粘接,从而得到类似于传统的U型封胶结构,以对电芯形成封边。电芯被两侧的胶片压紧,从而能防止叠片脱落。
具体在本实施例中,每个贴胶机构300包括至少两个吸胶头310。至少两个吸胶头310可分别吸取胶片。即,每个贴胶机构300一次至少可以吸取两个胶片。
因此,一次贴胶过程便可在电芯的同一个表面实现至少两道胶片的粘贴。如图1所示,每个贴胶机构300包括两个吸胶头310,一次可贴两道胶,两个贴胶机构300便可贴四道胶。对于背景技术中所述的需要贴八道胶的新型电芯,上述电芯贴胶装置10只需执行两次贴胶过程即可。可见,电芯的生产效率得以显著提升。
由于胶片尺寸较小,预先裁切成型后再进给会导致操作不便。而且,胶片质轻,在进给过程中容易因气流作用而飘散。因此,采用胶带进行现场裁切而实时获得胶片的方式,更有利于提升加工过程的便捷性。
在本实施例中,供胶机构200包括胶带放卷盘210、胶带牵引组件220及裁切组件230。其中:
胶带放卷盘210设于安装板100上,用于绕存胶带。胶带放卷盘210以一定的速度对胶带进行放卷。胶带牵引组件220设于取胶工位,经胶带放卷盘210 放卷的胶带可由胶带牵引组件220牵引并夹紧。具体在本实施例中,胶带牵引组件220包括第一夹爪气缸221、第二夹爪气缸222及与第二夹爪气缸222传动连接的牵引驱动件223,胶带可穿过第一夹爪气缸221的夹紧块,第二夹爪气缸 222在牵引驱动件223的驱动下可相对于第一夹爪气缸221靠近或远离。
第一夹爪气缸221及第二夹爪气缸222均包括夹紧块(图未示),可夹紧或松开胶带。牵引驱动件223可以是直线电机或气缸,可带动第二夹爪气缸222 往复运动。胶带可传送至第一夹爪气缸221并被夹紧;牵引驱动件223动作,可驱使第二夹爪气缸222横向移动靠近第一夹爪气缸221;第二夹爪气缸222夹紧胶带的末端,并在牵引驱动件223的带动下回退,便可拉取一定长度的胶带。第二夹爪气缸222拉取胶带时,第一夹爪气缸221处于打开状态。当第二夹爪气缸222拉取胶带到位后,第一夹爪气缸221再次夹紧胶带。
裁切组件230设于取胶工位,用于对胶带牵引组件220夹紧的胶带进行裁切,从而获得胶片。裁切组件230对第一夹爪气缸221与第二夹爪气缸222之间的胶带进行裁切,由于牵引驱动件223的夹紧定位,故裁切的精度颇高。
进一步的,在本实施例中,供胶机构200还包括设于胶带放卷盘210与胶带牵引组件220之间的料带缓存组件240,胶带可绕经料带缓存组件240,料带缓存组件240包括升降辊241及位于所述升降辊241两侧的过渡辊242,升降辊 241相对于过渡辊242的位置可调,以实现对胶带的缓存及释放。
由于胶带放卷盘210的放卷过程是连续的,而胶带牵引组件220牵引胶带的动作是断续的。只有当裁切组件230执行完一次裁切动作后,胶带牵引组件 220才会牵引下一段胶带并夹紧。料带缓存组件240可周期性的释放及缓存胶带,从而能避免胶带堆积、缠绕。如图1所示,裁切组件230执行裁切动作时,升降辊241下降以将胶带缓存;胶带牵引组件220牵引胶带时,则升降辊241上升,以将缓存的胶带释放。
胶带由胶带放卷盘210放卷,在胶带牵引组件220的牵引下来到取胶工位并夹紧,并最终由裁切组件230裁切得到胶片。而且,裁切得到的胶片可被移动至取胶工位的吸胶头310立即吸走,避免了胶片飘散。
两个贴胶机构300可由同一个供胶机构200供胶,也可采用两个供胶机构 200分别供胶。为了提升效率,也避免相互干扰,本实施例中的供胶机构200包括两个,且分别为两个贴胶机构300供胶。即,一个供胶机构200对应一个贴胶机构300,且每个供胶机构200裁切得到的胶片,最终由对应的贴胶机构300 的吸胶头310吸取。针对每个贴胶机构300均包括至少两个吸胶头310的情况,裁切组件230每执行一次裁切动作,可获得至少两个胶片。
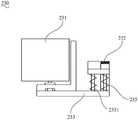
请一并参阅图3及图4,在本实施例中,裁切组件230包括裁切驱动件231 及切刀232。其中:
裁切驱动件231可以是气缸,可固定于安装板100。切刀232设于裁切驱动件231的驱动端,由裁切驱动件231驱动执行裁切动作。切刀232至少为两个,并在胶带的延伸方向上间隔设置。因此,执行一次裁切动作,可裁切得到至少两个胶片。
每个裁切组件230上切刀232的数量与每个贴胶机构300上吸胶头310的数量一致,故一个每次裁切得到的胶片数量与每个贴胶机构300上吸胶头310 的数量相对应。如图1所示,每个贴胶机构300包括两个吸胶头310,则裁切组件230包含两个切刀232。每次裁切得到两个胶片,可分别被两个吸胶头310吸取。这样,由裁切组件230裁切得到的胶片以及每个吸胶头310都能得到充分利用。
执行裁切动作时,每个贴胶机构300上的吸胶头310移动至取胶工位。裁切驱动件231驱动至少两个切刀232沿裁切方向(图1所示竖直方向)移动,直至将胶带抵持于对应的贴胶机构300的吸胶头310上。胶带切断后,得到的胶片便可立即被抵接的吸胶头310所吸取。
进一步的,在本实施例中,裁切组件230还包括连接块233、压块234及弹簧235。其中:
连接块233可以是金属弯板结构,可通过焊接、螺接等方式与裁切驱动件231的驱动端固定连接。裁切组件230的至少两个切刀232设于连接块233上。压块234安装于连接块233并相对于连接块233沿裁切方向可伸缩。具体的,连接块233上设有导杆2331,压块234套设于导杆2331上。
弹簧235夹持于压块234与连接块233之间并对压块234提供弹性力。具体的,弹簧235也套设于导杆2331上,以实现良好的定位。而且,裁切驱动件 231带动连接块233沿裁切方向移动以执行裁切操作时,压块234先于至少两个切刀232与胶带接触,并在弹性力的作用下将胶带抵持于吸胶头310上。
在切刀232对胶带进行切割时,由于存在压块234对胶带进行限位,故能更可靠的切断胶带。其中,压块234至少为两个,且与至少两个切刀232交替排列,以进一步提升针对胶带的限位效果。
自然状态下,压块234在裁切方向上突出于切刀232。因此,当裁切驱动件 231驱动连接块133沿裁切方向移动时,突出的压块234将先于切刀232与胶带接触。而且,随着裁切驱动件231继续驱动,压块234会将胶带抵压于对应吸胶头310。裁切驱动件231继续驱动,压块234相对于切刀232回缩而弹簧235 被压缩,直至切刀232将胶带切断。
请再次参阅图1及图2,在本实施例中,贴合驱动组件320包括第一驱动件 321及第二驱动件322。其中:
第一驱动件321及第二驱动件322可以是气缸。第二驱动件322设于第一驱动件321的驱动端并可在第一驱动件321的带动下沿第一方向移动。第一方向为取胶工位与贴合工位的连线方向,即图1所示的水平方向。因此,第二驱动件322可在第一驱动件321的驱动下在取胶工位与贴合工位之间往复运动。
吸胶头310设于第二驱动件322,并可在第二驱动件322的带动下沿与第一方向垂直的第二方向移动,以向位于贴合工位的电芯粘贴胶片。第二方向即为图1所示的竖直方向,两个贴胶机构300在第二方向上间隔设置。在第二驱动件322的驱动下,吸附于两个贴胶机构300上的胶片最终与电芯实现接触。
进一步的,在本实施例中,贴合驱动组件320还包括第三驱动件323、第四驱动件324及第五驱动件325。其中:
第三驱动件323、第四驱动件324及第五驱动件325可以是气缸。第三驱动件323及第四驱动件324安装于第二驱动件322的驱动端。因此,可在第二驱动件322的驱动下沿第二方向进行升降。第五驱动件325安装于第三驱动件323 的驱动端并可在第三驱动件323的带动下沿第一方向移动。因此,第三驱动件 323动作可调节第五驱动件325与第四驱动件324之间的距离。
两个吸胶头310分别安装于第四驱动件324及第五驱动件325的驱动端,并可在第四驱动件324及第五驱动件325的带动下沿第二方向移动。而且,第二驱动件322以及第四驱动件324及第五驱动件325均可驱动吸胶头310在第二方向上升降,其行程可相叠加。因此,可避免因行程不够而导致无法顺利完成对胶片的吸取及贴胶工序。
需要指出的是,在其他实施例中,贴合驱动组件320还可采用滚珠丝杠副结构。滚珠丝杠副的行程较长,可减少驱动件的数量。
进一步的,在本实施例中,同一个贴胶机构300上,至少两个吸胶头310 之间可操作地相互靠近或远离。即,吸胶头310之间的间距可以调节。
受限于安装板100上的空间,裁切得到的胶片在取胶工位上排列紧密,相邻两个胶片之间的间距极小。而在对电芯贴胶时,相邻两道胶片在电芯上的间隔一般较大(譬如,两个角之间)。因此,当贴胶机构300需要吸附位于取胶工位的胶带时,可操作吸胶头310之间相互靠近,以使每个吸胶头310对应一个胶片;而当贴胶机构300将吸附的胶带转移至电芯时,则可操作吸胶头310之间相互远离,以将胶片粘贴到预定的位置。
而且,针对不同型号的电芯,其表面贴胶的位置是不同的。因此,通过调节吸胶头310之间的间距,还可使得电芯贴胶装置10适用于对多种不同型号的电芯进行贴胶。
具体在本实施例,两个吸胶头310分别安装于第四驱动件324及第五驱动件325的驱动端,而第五驱动件325安装于第三驱动件323的驱动端。第三驱动件323动作,可以带动第五驱动件325沿第一方向移动,从而改变两个吸胶头310之间的距离。
需要指出的是,在其他实施例中,贴胶机构300上的至少两个吸胶头310 还可通过其他方式进行安装以实现间距可调。譬如,设置一支撑板,支撑板与贴合驱动组件320传动连接,至少两个吸胶头310可滑动地安装于支撑板上。
请一并参阅图5及图6,在本实施例中,电芯贴胶装置10还包括搬运机构 400,搬运机构400包括机架410、搬运驱动组件420及夹板430。其中:
机架410起支撑作用,可以是金属桁架结构。夹板430用于夹持待贴胶的电芯。在搬运驱动组件420的驱动下,夹板430可带动待贴胶的电芯的移动至贴合工位。
需要指出的是,在其他实施例中,搬运机构400可以省略。而且,可使叠片机上一道工序的下料流水线穿过贴合工位。
进一步的,在本实施例中,搬运驱动组件420包括第一搬运驱动件421、第二搬运驱动件422、旋转驱动件423及夹紧驱动件424。
第一搬运驱动件421、第二搬运驱动件422可以是气缸,旋转驱动件423可以是电机,夹紧驱动件424可以是夹爪气缸。第二搬运驱动件422设于第一搬运驱动件421的驱动端,旋转驱动件423设于第二搬运驱动件422的驱动端,且第一搬运驱动件421与第二搬运驱动件422的驱动方向垂直。夹紧驱动件424 设于旋转驱动件423的驱动端,夹板430在夹紧驱动件424带动下可夹紧或张开。
搬运驱动组件420可在多个自由度上对电芯的方位进行调整,从而保证贴胶的精度。而且,通过带动夹板430旋转,可方便转运电芯。如图1所示,第一搬运驱动件421沿垂直于第一方向及第二方向的第三方向驱动,第三方向垂直于图纸纸面方向。在第一搬运驱动件421的带动下,电芯移向贴合工位。第二搬运驱动件422可沿第二方向进行驱动,且旋转驱动件423的转轴延伸方向与第二方向一致。
下面参照附图1至6,简要描述电芯贴胶装置10对背景技术中所述的新型电芯进行贴胶的过程:
两个供胶机构200的胶带放卷盘210同时放卷,胶带牵引组件220驱动下拉取一定尺寸的胶带,两个裁切组件230执行裁切操作,分别将上下两层胶带切断,实现上下两层同时备胶;上层两个吸胶头310吸取上层两个胶片,下层的两个吸胶头310吸取位于下层的两个胶片;贴合驱动组件320,将四道胶片移载到贴合工位;上下两侧的吸胶头310相向移动,完成对电芯一侧的双面贴胶;
接着,搬运机构400带动电芯沿第三方向平移一定距离,使得吸胶头310 与另一侧的贴胶位对齐。吸胶头310返回取胶工位再一次备胶,执行上述相同的过程便可完成对电芯另一侧的双面贴胶。
上述电芯贴胶装置10,待贴胶的电芯可先搬运至贴合工位并置于两个贴胶机构300之间。在贴合驱动组件320的带动下,吸胶头310可移动至取胶工位并吸取预设长度的胶片。贴合驱动组件带动吸胶头310移动至贴合工位,两个贴胶机构300的吸胶头310相向移动,可使两个贴胶机构300的吸胶头310分别与电芯的两个表面接触。此时,吸附于两个贴胶机构300的胶片可分别粘贴于电芯的两个表面。而且,电芯两侧的胶片能够相互粘接,可使电芯被压紧。由于可对电芯的两个表面同时进行贴胶,故上述电芯贴胶装置10能显著提升电芯的生产效率。
以上所述实施例的各技术特征可以进行任意的组合,为使描述简洁,未对上述实施例中的各个技术特征所有可能的组合都进行描述,然而,只要这些技术特征的组合不存在矛盾,都应当认为是本说明书记载的范围。
以上所述实施例仅表达了本实用新型的几种实施方式,其描述较为具体和详细,但并不能因此而理解为对实用新型专利范围的限制。应当指出的是,对于本领域的普通技术人员来说,在不脱离本实用新型构思的前提下,还可以做出若干变形和改进,这些都属于本实用新型的保护范围。因此,本实用新型专利的保护范围应以所附权利要求为准。

Claims (12)

1.一种电芯贴胶装置,设有取胶工位及贴合工位,其特征在于,所述电芯贴胶装置包括:
安装板;
供胶机构,用于向所述取胶工位提供裁切成预设长度的胶片;及
设于所述安装板的两个贴胶机构,每个所述贴胶机构包括可吸取所述胶片的吸胶头及可驱动所述吸胶头在所述取胶工位与所述贴合工位之间往复运动的贴合驱动组件;
其中,一个所述贴胶机构上的所述吸胶头与另一个所述贴胶机构上的所述吸胶头相对设置并可相向移动,直至使分别吸附于所述两个贴胶机构的所述胶片相贴合。
2.根据权利要求1所述的电芯贴胶装置,其特征在于,所述供胶机构包括:
胶带放卷盘;
胶带牵引组件,经所述胶带放卷盘放卷的胶带能够由所述胶带牵引组件夹紧;
设于所述取胶工位的裁切组件,用于对所述胶带牵引组件夹紧的所述胶带进行裁切,以获得所述胶片。
3.根据权利要求2所述的电芯贴胶装置,其特征在于,所述胶带牵引组件包括第一夹爪气缸、第二夹爪气缸及与所述第二夹爪气缸传动连接的牵引驱动件,所述胶带能够穿过所述第一夹爪气缸的夹紧块,所述第二夹爪气缸在所述牵引驱动件的驱动下能够相对于所述第一夹爪气缸靠近或远离。
4.根据权利要求2所述的电芯贴胶装置,其特征在于,所述裁切组件包括:
裁切驱动件;
设于所述裁切驱动件的驱动端的至少两个切刀,所述至少两个切刀在所述胶带的延伸方向上间隔设置,所述裁切驱动件可驱动所述至少两个切刀沿裁切方向移动,直至将所述胶带抵持于位于所述取胶工位的所述吸胶头上,以执行裁切动作。
5.根据权利要求4所述的电芯贴胶装置,其特征在于,所述裁切组件还包括:
连接块,与所述裁切驱动件的驱动端固定连接,所述至少两个切刀设于所述连接块上;
压块,安装于所述连接块并相对于所述连接块沿所述裁切方向可伸缩;
弹簧,夹持于所述压块与所述连接块之间并对所述压块提供弹性力,所述裁切驱动件带动所述连接块沿裁切方向移动以执行裁切操作时,所述压块先于所述至少两个切刀与所述胶带接触,并在所述弹性力的作用下将所述胶带抵持于所述吸胶头上。
6.根据权利要求1所述的电芯贴胶装置,其特征在于,所述供胶机构为两个,且两个所述供胶机构分别为两个所述贴胶机构供胶。
7.根据权利要求1至6任一项所述的电芯贴胶装置,其特征在于,每个所述贴胶机构包括至少两个所述吸胶头,同一个所述贴胶机构上,至少两个所述吸胶头之间可操作地相互靠近或远离。
8.根据权利要求1所述的电芯贴胶装置,其特征在于,所述贴合驱动组件包括:
第一驱动件;
第二驱动件,设于所述第一驱动件的驱动端并可在所述第一驱动件的带动下沿第一方向移动,以在所述取胶工位与所述贴合工位之间往复运动;
其中,所述吸胶头设于所述第二驱动件,并可在所述第二驱动件的带动下沿与所述第一方向垂直的第二方向移动,以向位于所述贴合工位的电芯粘贴所述胶片。
9.根据权利要求8所述的电芯贴胶装置,其特征在于,所述贴合驱动组件还包括第三驱动件、第四驱动件及第五驱动件,所述第三驱动件及所述第四驱动件安装于所述第二驱动件的驱动端,所述第五驱动件安装于所述第三驱动件的驱动端并可在所述第三驱动件的带动下沿所述第一方向移动,两个所述吸胶头分别安装于所述第四驱动件及所述第五驱动件的驱动端,并可在所述第四驱动件及所述第五驱动件的带动下沿所述第二方向移动。
10.根据权利要求1所述的电芯贴胶装置,其特征在于,还包括搬运机构,所述搬运机构包括机架、搬运驱动组件及用于固定待贴胶的电芯的夹板,在所述搬运驱动组件的驱动下,所述夹板可带动待贴胶的电芯的移动至所述贴合工位。
11.根据权利要求10所述的电芯贴胶装置,其特征在于,所述搬运驱动组件包括第一搬运驱动件、第二搬运驱动件、旋转驱动件及夹紧驱动件,所述第二搬运驱动件设于所述第一搬运驱动件的驱动端,所述旋转驱动件设于所述第二搬运驱动件的驱动端,且所述第一搬运驱动件与所述第二搬运驱动件的驱动方向垂直,所述夹紧驱动件设于所述旋转驱动件的驱动端,所述夹板在所述夹紧驱动件带动下可夹紧或张开。
12.一种叠片机,其特征在于,包括如上述权利要求1至11任一项所述的电芯贴胶装置。
CN202020846096.4U 2020-05-20 2020-05-20 电芯贴胶装置及叠片机 Active CN212277257U (zh)

Priority Applications (1)

Application Number Priority Date Filing Date Title
CN202020846096.4U CN212277257U (zh) 2020-05-20 2020-05-20 电芯贴胶装置及叠片机

Applications Claiming Priority (1)

Application Number Priority Date Filing Date Title
CN202020846096.4U CN212277257U (zh) 2020-05-20 2020-05-20 电芯贴胶装置及叠片机

Publications (1)

Publication Number Publication Date
CN212277257U true CN212277257U (zh) 2021-01-01

Family

ID=73878504

Family Applications (1)

Application Number Title Priority Date Filing Date
CN202020846096.4U Active CN212277257U (zh) 2020-05-20 2020-05-20 电芯贴胶装置及叠片机

Country Status (1)

Country Link
CN (1) CN212277257U (zh)

Cited By (8)

* Cited by examiner, † Cited by third party
Publication number Priority date Publication date Assignee Title
CN112864442A (zh) * 2021-01-25 2021-05-28 深圳市诚捷智能装备股份有限公司 贴胶装置及贴胶方法
CN113241470A (zh) * 2021-06-08 2021-08-10 苏州巨一智能装备有限公司 一种新能源汽车电芯贴胶设备
CN113948753A (zh) * 2021-09-22 2022-01-18 东莞市爱康智能技术有限公司 一种电池贴尾部胶机构
CN114408255A (zh) * 2022-01-27 2022-04-29 深圳市誉辰智能装备股份有限公司 贴胶带捆扎装置
WO2022194120A1 (zh) * 2021-03-16 2022-09-22 东莞市雅康精密机械有限公司 隔膜新型自动备胶装置
CN116873347A (zh) * 2023-08-24 2023-10-13 东莞市中天自动化科技有限公司 电池极耳贴胶设备
WO2024140309A1 (zh) * 2022-12-26 2024-07-04 无锡先导智能装备股份有限公司 裹胶设备
WO2025185065A1 (zh) * 2024-03-07 2025-09-12 宁德时代新能源科技股份有限公司 贴胶装置、贴胶方法及电池生产线

Cited By (10)

* Cited by examiner, † Cited by third party
Publication number Priority date Publication date Assignee Title
CN112864442A (zh) * 2021-01-25 2021-05-28 深圳市诚捷智能装备股份有限公司 贴胶装置及贴胶方法
CN112864442B (zh) * 2021-01-25 2022-04-26 深圳市诚捷智能装备股份有限公司 贴胶装置及贴胶方法
WO2022194120A1 (zh) * 2021-03-16 2022-09-22 东莞市雅康精密机械有限公司 隔膜新型自动备胶装置
CN113241470A (zh) * 2021-06-08 2021-08-10 苏州巨一智能装备有限公司 一种新能源汽车电芯贴胶设备
CN113948753A (zh) * 2021-09-22 2022-01-18 东莞市爱康智能技术有限公司 一种电池贴尾部胶机构
CN113948753B (zh) * 2021-09-22 2023-09-26 东莞市爱康智能技术有限公司 一种电池贴尾部胶机构
CN114408255A (zh) * 2022-01-27 2022-04-29 深圳市誉辰智能装备股份有限公司 贴胶带捆扎装置
WO2024140309A1 (zh) * 2022-12-26 2024-07-04 无锡先导智能装备股份有限公司 裹胶设备
CN116873347A (zh) * 2023-08-24 2023-10-13 东莞市中天自动化科技有限公司 电池极耳贴胶设备
WO2025185065A1 (zh) * 2024-03-07 2025-09-12 宁德时代新能源科技股份有限公司 贴胶装置、贴胶方法及电池生产线

Similar Documents

Publication Publication Date Title
CN212277257U (zh) 电芯贴胶装置及叠片机
CN103050737B (zh) 锂电池卷绕贴胶机构
CN108306055A (zh) 一种锂电池电芯一次成型叠片机
CN112635846A (zh) 模切叠片一体机
CN111029639A (zh) 一种包膜机构
CN116119078B (zh) 电芯包装机
CN212303752U (zh) 一种叠片电芯贴对角胶带装置
CN115548596A (zh) 换卷装置
CN115649944B (zh) 电芯侧边自动贴胶带设备
CN117276625A (zh) 一种多片叠片一体机
CN218472012U (zh) 胶带侧板复合机构
CN215988885U (zh) 贴胶设备及电池生产系统
CN212062604U (zh) 贴胶装置及贴胶设备
CN211879512U (zh) 贴胶装置
CN218602694U (zh) 换卷装置
CN117976995B (zh) 一种电池凹槽贴胶机及方法
CN108666607A (zh) 备胶系统
CN219859788U (zh) 贴胶装置
CN220866686U (zh) 接带装置
CN217848062U (zh) 电芯贴胶装置
CN218039332U (zh) 一种贴胶设备
CN216288590U (zh) 一种用于偏置型焊接电芯的贴胶装置
CN116443329A (zh) 一种电池包膜贴侧胶装置及其贴侧胶工艺
CN115385158A (zh) 一种贴胶带机构
CN210576292U (zh) 一种卷绕制片一体机

Legal Events

Date Code Title Description
GR01 Patent grant
GR01 Patent grant