CN212238357U - High-low voltage switch cabinet production cleaning device - Google Patents
High-low voltage switch cabinet production cleaning device Download PDFInfo
- Publication number
- CN212238357U CN212238357U CN202020728313.XU CN202020728313U CN212238357U CN 212238357 U CN212238357 U CN 212238357U CN 202020728313 U CN202020728313 U CN 202020728313U CN 212238357 U CN212238357 U CN 212238357U
- Authority
- CN
- China
- Prior art keywords
- low voltage
- voltage switch
- switch cabinet
- cleaning device
- plate
- Prior art date
- Legal status (The legal status is an assumption and is not a legal conclusion. Google has not performed a legal analysis and makes no representation as to the accuracy of the status listed.)
- Active
Links
Images
Landscapes
- Electrostatic Separation (AREA)
- Water Treatment By Sorption (AREA)
Abstract
本实用新型公开了一种高低压开关柜生产清洁装置,包括底板,所述底板顶部一侧通过螺丝安装有支撑块,所述支撑块上设置有水箱,所述底板顶部另一侧通过螺丝安装有安装板,所述安装板一侧通过螺栓安装有液压推杆,所述液压推杆驱动端设置有支撑板,所述支撑板一侧通过螺丝安装有静电消除器,所述底板顶部位于水箱和安装板之间通过螺栓安装有清洗台,所述清洗台顶部一端放置有高低压开关柜,所述清洗台顶部另一端通过螺栓安装有架台,所述架台一侧通过螺栓安装有热风机,本实用新型一种高低压开关柜生产清洁装置,适合被广泛推广和使用。
The utility model discloses a production and cleaning device for high and low voltage switch cabinets, comprising a bottom plate, a support block is installed on one side of the top of the bottom plate by screws, a water tank is arranged on the support block, and the other side of the top of the bottom plate is mounted by screws There is a mounting plate, one side of the mounting plate is installed with a hydraulic push rod through bolts, the driving end of the hydraulic push rod is provided with a support plate, one side of the support plate is installed with a static eliminator through screws, and the top of the bottom plate is located in the water tank A cleaning table is installed between the cleaning table and the mounting plate through bolts, and a high and low voltage switch cabinet is placed on one end of the top of the cleaning table. The utility model is a production cleaning device for high and low voltage switch cabinets, which is suitable for being widely popularized and used.
Description
技术领域technical field
本实用新型涉及清洁装置技术领域,特别涉及一种高低压开关柜生产清洁装置。The utility model relates to the technical field of cleaning devices, in particular to a production cleaning device for high and low voltage switch cabinets.
背景技术Background technique
高低压开关柜顾名思义就是接高压或低压线缆的设备,一般供电局、变电所都是用高压柜,然后经变压器降压再到低压柜,低压柜再到各个用电的配电箱,高低压开关柜里面无非就是把一些开关断路器之类保护器件组装成一体的电气设备,因此对高低压开关柜的清洗防护也就成了重点工作,目前市场上的清洁装置种类繁多、功能丰富,但是也存在以下不足:1、大多数清洁装置采用气吹的方法,清洁的不太彻底,2、高低压开关柜表面有静电,易吸附灰尘,造成二次污染,3、清洗完之后的污水排放会对环境造成污染,为此,我们提出一种高低压开关柜生产清洁装置。As the name implies, high and low voltage switchgear is a device that connects high voltage or low voltage cables. Generally, power supply bureaus and substations use high voltage cabinets, which are then stepped down by transformers to low voltage cabinets, and then low voltage cabinets to each power distribution box. The high and low voltage switchgear is nothing more than an electrical equipment that assembles some protective devices such as switch circuit breakers into one, so the cleaning and protection of the high and low voltage switchgear has become a key task. At present, there are many kinds of cleaning devices on the market with rich functions. , but there are also the following shortcomings: 1. Most cleaning devices use the method of air blowing, and the cleaning is not thorough. 2. There is static electricity on the surface of the high and low voltage switchgear, which is easy to absorb dust and cause secondary pollution. 3. After cleaning Sewage discharge will pollute the environment, for this reason, we propose a production cleaning device for high and low voltage switchgear.
实用新型内容Utility model content
本实用新型的主要目的在于提供一种高低压开关柜生产清洁装置,可以有效解决背景技术中的问题。The main purpose of the utility model is to provide a high and low voltage switch cabinet production cleaning device, which can effectively solve the problems in the background technology.
为实现上述目的,本实用新型采取的技术方案为:To achieve the above purpose, the technical scheme adopted by the present utility model is:
一种高低压开关柜生产清洁装置,包括底板,所述底板顶部一侧通过螺丝安装有支撑块,所述支撑块上设置有水箱,所述底板顶部另一侧通过螺丝安装有安装板,所述安装板一侧通过螺栓安装有液压推杆,所述液压推杆驱动端设置有支撑板,所述支撑板一侧通过螺丝安装有静电消除器,所述底板顶部位于水箱和安装板之间通过螺栓安装有清洗台,所述清洗台顶部一端放置有高低压开关柜,所述清洗台顶部另一端通过螺栓安装有架台,所述架台一侧通过螺栓安装有热风机。A high and low voltage switch cabinet production cleaning device, comprising a bottom plate, a support block is installed on one side of the top of the bottom plate through screws, a water tank is arranged on the support block, and a mounting plate is installed on the other side of the top of the bottom plate through screws, so the A hydraulic push rod is installed on one side of the mounting plate through bolts, a support plate is provided at the driving end of the hydraulic push rod, a static eliminator is installed on one side of the support plate through screws, and the top of the bottom plate is located between the water tank and the mounting plate A cleaning table is installed by bolts, a high and low voltage switch cabinet is placed on one end of the top of the cleaning table, a stand is installed on the other end of the top of the cleaning table by bolts, and a hot air blower is installed on one side of the stand by bolts.
进一步地,所述底板顶部表面通过开设槽安装有污水箱,所述污水箱内设置有活性炭吸附层,所述污水箱内位于活性炭吸附层底部设置有氯化物填充层,所述污水箱一侧底部开设有出水口。Further, a sewage tank is installed on the top surface of the bottom plate by opening a slot, an activated carbon adsorption layer is arranged in the sewage tank, a chloride filling layer is arranged at the bottom of the activated carbon adsorption layer in the sewage tank, and one side of the sewage tank is provided. There is a water outlet at the bottom.
进一步地,所述热风机的出风端位于高低压开关柜的一侧。Further, the air outlet end of the hot air blower is located at one side of the high and low voltage switch cabinet.
进一步地,所述清洗台内底部设置有过滤板,所述过滤板位于污水箱顶部。Further, the inner bottom of the cleaning table is provided with a filter plate, and the filter plate is located on the top of the sewage tank.
进一步地,所述水箱一侧底部连接有水管,所述水管上设置有水泵,所述水泵出水端通过水管连通喷枪。Further, a water pipe is connected to the bottom of one side of the water tank, a water pump is arranged on the water pipe, and the water outlet end of the water pump is connected to the spray gun through the water pipe.
与现有技术相比,本实用新型具有如下有益效果:Compared with the prior art, the utility model has the following beneficial effects:
1.通过设置水箱、水管、水泵和喷枪,可以对高低压开关柜进行整体的清洁,绝不遗漏任何地方,通过设置热风机,热风机的出风端设置在高低压开关柜一侧,可以对清洗完后的高低压开关柜进行烘干,减少等待时间,通过设置过滤板和污水箱,可以对清洗之后产生的污水进行收集,避免污水对环境造成污染。1. By setting the water tank, water pipe, water pump and spray gun, the high and low voltage switch cabinet can be cleaned as a whole, and no place is left out. Dry the cleaned high and low voltage switchgear to reduce the waiting time. By setting up a filter plate and a sewage tank, the sewage generated after cleaning can be collected to avoid the sewage polluting the environment.
2.通过设置安装板、液压推杆和静电消除器,可以在清洗完之后对高低压开关柜进行除静电工作,静电消除器只需要和高低压开关柜有短暂的接触即可去除静电,省时省力,同时也可以避免高低压开关柜表面因静电积聚灰尘,造成二次污染。2. By setting the mounting plate, hydraulic push rod and static eliminator, the high and low voltage switchgear can be destaticized after cleaning. The static eliminator only needs to have a short contact with the high and low voltage switchgear to remove static electricity. It saves time and effort, and also avoids secondary pollution caused by the accumulation of dust on the surface of the high and low voltage switchgear due to static electricity.
3.通过设置活性炭吸附层,可以对清洗完之后的污水进行过滤吸附,去除水中的杂质以及污垢,通过设置氯化物填充层,可以对污水进行杀菌消毒,保证排出的污水无毒无害无污染。3. By setting the activated carbon adsorption layer, the sewage after cleaning can be filtered and adsorbed to remove impurities and dirt in the water. By setting the chloride filling layer, the sewage can be sterilized and disinfected to ensure that the discharged sewage is non-toxic, harmless and pollution-free. .
附图说明Description of drawings
图1为本实用新型一种高低压开关柜生产清洁装置的整体结构示意图。Figure 1 is a schematic diagram of the overall structure of a high and low voltage switch cabinet production cleaning device of the present invention.
图2为本实用新型一种高低压开关柜生产清洁装置的俯视结构示意图。FIG. 2 is a schematic top-view structural diagram of a production cleaning device for high and low voltage switch cabinets according to the present invention.
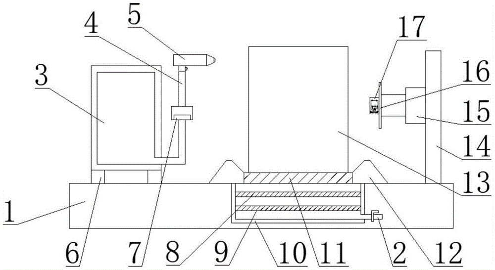
图中:1、底板;2、出水口;3、水箱;4、水管;5、喷枪;6、支撑块;7、水泵;8、活性炭吸附层;9、氯化物填充层;10、污水箱;11、过滤板;12、清洗台;13、高低压开关柜;14、安装板;15、液压推杆;16、支撑板;17、静电消除器;18、架台;19、热风机;20、出风口。In the figure: 1. Bottom plate; 2. Water outlet; 3. Water tank; 4. Water pipe; 5. Spray gun; 6. Support block; 7. Water pump; 8. Activated carbon adsorption layer; 9. Chloride filling layer; 10. Sewage tank ;11, filter plate; 12, cleaning table; 13, high and low voltage switch cabinet; 14, installation plate; 15, hydraulic push rod; 16, support plate; 17, static eliminator; 18, stand; 19, hot air blower; 20 , air outlet.
具体实施方式Detailed ways
为使本实用新型实现的技术手段、创作特征、达成目的与功效易于明白了解,下面结合具体实施方式,进一步阐述本实用新型。In order to make the technical means, creation features, achievement goals and effects of the present invention easy to understand and understand, the present invention will be further described below with reference to the specific embodiments.
如图1-2所示,一种高低压开关柜生产清洁装置,包括底板1,所述底板1顶部一侧通过螺丝安装有支撑块6,所述支撑块6上设置有水箱3,所述底板1顶部另一侧通过螺丝安装有安装板14,所述安装板14一侧通过螺栓安装有液压推杆15,所述液压推杆15驱动端设置有支撑板16,所述支撑板16一侧通过螺丝安装有静电消除器17,所述底板1顶部位于水箱3和安装板14之间通过螺栓安装有清洗台12,所述清洗台12顶部一端放置有高低压开关柜13,所述清洗台12顶部另一端通过螺栓安装有架台18,所述架台18一侧通过螺栓安装有热风机19。As shown in Figure 1-2, a high and low voltage switchgear production cleaning device includes a bottom plate 1, a
其中,所述底板1顶部表面通过开设槽安装有污水箱10,所述污水箱10内设置有活性炭吸附层8,所述污水箱10内位于活性炭吸附层8底部设置有氯化物填充层9,所述污水箱10一侧底部开设有出水口2。Wherein, a
本实施例中如图1所示,污水箱10可以将清洗之后产生的污水进行收集,避免污水对环境造成污染,污水箱10内的活性炭吸附层8可以对清洗完之后的污水进行过滤吸附,去除水中的杂质以及污垢,污水箱10内的氯化物填充层9,可以对污水进行杀菌消毒,过滤杀毒后的污水可以从出水口2排出。In this embodiment, as shown in FIG. 1 , the
其中,所述热风机19的出风端20位于高低压开关柜13的一侧。Wherein, the
本实施例中如图2所示,热风机19的出风端20位于高低压开关柜13的一侧,可以对清洗完后的高低压开关柜13进行烘干,减少等待时间。In this embodiment, as shown in FIG. 2 , the
其中,所述清洗台12内底部设置有过滤板11,所述过滤板11位于污水箱10顶部。Wherein, the inner bottom of the cleaning table 12 is provided with a
本实施例中如图所示,清洗之后的污水可以通过过滤板11进入到污水箱10内,方便对污水的收集。In this embodiment, as shown in the figure, the cleaned sewage can enter the
其中,所述水箱3一侧底部连接有水管4,所述水管4上设置有水泵7,所述水泵7出水端通过水管4连通喷枪5。A
本实施例中如图所示,水泵7通过水管4将水箱3内的水抽出,通过喷枪5对高低压开关柜13进行清洗。In this embodiment, as shown in the figure, the water pump 7 draws out the water in the
需要说明的是,本实用新型为一种高低压开关柜生产清洁装置,工作时,工作人员需要将水泵7、液压推杆15、静电消除器17和热风机17连通外部电源,之后将高低压开关柜13放置在清洗台12上,之后人工开启水泵7,水泵7通过水管4将水箱3内的水抽出,通过喷枪5对高低压开关柜13进行清洗,清洗之后的污水可以通过过滤板11进入到污水箱10内,污水箱10可以将清洗之后产生的污水进行收集,避免污水对环境造成污染,污水箱10内的活性炭吸附层8可以对清洗完之后的污水进行过滤吸附,去除水中的杂质以及污垢,污水箱10内的氯化物填充层9,可以对污水进行杀菌消毒,保证出水口2排出的污水无毒无害无污染,之后人工开启热风机19,热风机19的出风端20位于高低压开关柜13的一侧,可以对清洗完后的高低压开关柜13进行烘干,减少等待时间,之后人工开启液压推杆15和静电消除器17,液压推杆15工作时可以推动静电消除器17靠近高低压开关柜13,静电消除器17工作时可以将高低压开关柜13表面的静电去除,避免高低压开关柜表面因静电积聚灰尘,造成二次污染,操作简单。It should be noted that the present utility model is a high and low voltage switch cabinet production and cleaning device. When working, the staff needs to connect the water pump 7, the
以上显示和描述了本实用新型的基本原理和主要特征和本实用新型的优点。本行业的技术人员应该了解,本实用新型不受上述实施例的限制,上述实施例和说明书中描述的只是说明本实用新型的原理,在不脱离本实用新型精神和范围的前提下,本实用新型还会有各种变化和改进,这些变化和改进都落入要求保护的本实用新型范围内。本实用新型要求保护范围由所附的权利要求书及其等效物界定。The basic principles and main features of the present invention and the advantages of the present invention are shown and described above. It should be understood by those skilled in the art that the present invention is not limited by the above-mentioned embodiments. The above-mentioned embodiments and descriptions only illustrate the principles of the present invention. Without departing from the spirit and scope of the present invention, the present invention There will also be various changes and improvements in the new model, which all fall within the scope of the claimed invention. The claimed scope of the present invention is defined by the appended claims and their equivalents.
Claims (5)
Priority Applications (1)
| Application Number | Priority Date | Filing Date | Title |
|---|---|---|---|
| CN202020728313.XU CN212238357U (en) | 2020-05-07 | 2020-05-07 | High-low voltage switch cabinet production cleaning device |
Applications Claiming Priority (1)
| Application Number | Priority Date | Filing Date | Title |
|---|---|---|---|
| CN202020728313.XU CN212238357U (en) | 2020-05-07 | 2020-05-07 | High-low voltage switch cabinet production cleaning device |
Publications (1)
| Publication Number | Publication Date |
|---|---|
| CN212238357U true CN212238357U (en) | 2020-12-29 |
Family
ID=73997999
Family Applications (1)
| Application Number | Title | Priority Date | Filing Date |
|---|---|---|---|
| CN202020728313.XU Active CN212238357U (en) | 2020-05-07 | 2020-05-07 | High-low voltage switch cabinet production cleaning device |
Country Status (1)
| Country | Link |
|---|---|
| CN (1) | CN212238357U (en) |
-
2020
- 2020-05-07 CN CN202020728313.XU patent/CN212238357U/en active Active
Similar Documents
| Publication | Publication Date | Title |
|---|---|---|
| CN206247507U (en) | A filter element for an air purification device | |
| CN212238357U (en) | High-low voltage switch cabinet production cleaning device | |
| CN215785551U (en) | Dust collector is used in production of mechano-electronic equipment convenient to clearance | |
| CN212397502U (en) | Dust removal device for capacitor cabinet body | |
| CN216362215U (en) | Energy-saving environment-friendly low-voltage switch cabinet | |
| CN207532962U (en) | A kind of electrical equipment rack with depth cleaner | |
| CN216289575U (en) | A energy-conserving block terminal for photovoltaic distribution network | |
| CN213258944U (en) | Carbon element product polishing dust collector | |
| CN210517373U (en) | Indoor high-low voltage power switch cabinet | |
| CN210898008U (en) | Dust removal lightning-protection power distribution cabinet | |
| CN221983371U (en) | Dust collector for electric automatization | |
| CN216903781U (en) | A residential power supply monitoring system | |
| CN218733244U (en) | High-voltage neutral grounding resistor device | |
| CN220306726U (en) | Dust collector for regulator cubicle | |
| CN218525903U (en) | High-low voltage cabinet convenient to remove dust | |
| CN222072479U (en) | Switch cabinet with ash removal function | |
| CN218498596U (en) | Dustproof high-voltage capacitor cabinet for cement plant | |
| CN210674532U (en) | Indoor dust removal equipment for green building | |
| CN207035364U (en) | A kind of solar air purification device | |
| CN221884993U (en) | Handcart type vacuum circuit breaker | |
| CN218867692U (en) | An anti-corrosion and anti-leakage electric transformer cabinet for a substation | |
| CN216819043U (en) | An anti-interference device for intelligent distribution switch cabinet | |
| CN205287981U (en) | Clean environmental protection equipment of high -efficient air dust | |
| CN217436601U (en) | Power station electromechanical device fixing device | |
| CN216262158U (en) | Computer with deashing function |
Legal Events
| Date | Code | Title | Description |
|---|---|---|---|
| GR01 | Patent grant | ||
| GR01 | Patent grant | ||
| TR01 | Transfer of patent right |
Effective date of registration: 20251112 Address after: 257300 Shandong Province, Dongying City, Guangrao County, Guangrao Street Office, Sunwu Road 137, Building 3, Unit 1, Room 401 Patentee after: Zhang Xu Country or region after: China Address before: 223300 Jiangsu Province Huaiyin District Ma'kou Town Zhangzhuang Town Industrial Concentration Area Patentee before: Jiangsu Rongchang Electric Co.,Ltd. Country or region before: China |
|
| TR01 | Transfer of patent right | ||
| TR01 | Transfer of patent right |
Effective date of registration: 20251118 Address after: Room 703, Yixin Building, No. 70 Huizhou Road, Dongying Development Zone, Shandong Province, China 257000 Patentee after: Shandong Shengshi Bocheng Electric Power Engineering Co.,Ltd. Country or region after: China Address before: 257300 Shandong Province, Dongying City, Guangrao County, Guangrao Street Office, Sunwu Road 137, Building 3, Unit 1, Room 401 Patentee before: Zhang Xu Country or region before: China |
|
| TR01 | Transfer of patent right |
