CN212213142U - A reclining lounge chair - Google Patents

A reclining lounge chair Download PDF

Info

Publication number
CN212213142U
CN212213142U CN202020395673.2U CN202020395673U CN212213142U CN 212213142 U CN212213142 U CN 212213142U CN 202020395673 U CN202020395673 U CN 202020395673U CN 212213142 U CN212213142 U CN 212213142U
Authority
CN
China
Prior art keywords
seat
chair
telescopic rod
fixed
base
Prior art date
Legal status (The legal status is an assumption and is not a legal conclusion. Google has not performed a legal analysis and makes no representation as to the accuracy of the status listed.)
Expired - Fee Related
Application number
CN202020395673.2U
Other languages
Chinese (zh)
Inventor
任文强
Current Assignee (The listed assignees may be inaccurate. Google has not performed a legal analysis and makes no representation or warranty as to the accuracy of the list.)
Zhejiang Qiangsheng Furniture Co ltd
Original Assignee
Zhejiang Qiangsheng Furniture Co ltd
Priority date (The priority date is an assumption and is not a legal conclusion. Google has not performed a legal analysis and makes no representation as to the accuracy of the date listed.)
Filing date
Publication date
Application filed by Zhejiang Qiangsheng Furniture Co ltd filed Critical Zhejiang Qiangsheng Furniture Co ltd
Priority to CN202020395673.2U priority Critical patent/CN212213142U/en
Application granted granted Critical
Publication of CN212213142U publication Critical patent/CN212213142U/en
Expired - Fee Related legal-status Critical Current
Anticipated expiration legal-status Critical

Links

Images

Landscapes

  • Chairs Characterized By Structure (AREA)

Abstract

The utility model discloses a leisure chaise longue that can lie flat, including seat support, the back of the chair, still include: the rear end of the chair seat is hinged to the base mechanism; the first turnover mechanism is connected with the chair seat and the chair back and can drive the chair back to turn over and reset; and the second turnover mechanism is arranged on the base mechanism and acts on the middle front part of the chair seat to drive the chair seat to turn over, the first turnover mechanism and the second turnover mechanism are linked to enable the chair back and the chair seat to synchronously turn over in the same direction, and the turning amplitude of the first turnover mechanism is larger than that of the second turnover mechanism. The beneficial effects of the utility model reside in that, its structure is comparatively retrencied, can be rapidly adjusted by the position of sitting when the user controls for the appearance of lying to the appearance of lying accords with ergonomic, has splendid comfort level.

Description

一种可平躺的休闲椅A reclining lounge chair

技术领域technical field

本实用新型涉及一种可平躺的休闲椅,主要应用在椅类技术领域。The utility model relates to a reclining leisure chair, which is mainly used in the technical field of chairs.

背景技术Background technique

休闲椅的种类较为繁多,用户对于休闲椅的关注点舒适度和操控简便度,对于可平躺类型的休闲椅,舒适度主要体现在是否人体工学,操控简便度主要体现在是否能从坐姿迅速调整为躺姿。There are many types of leisure chairs. Users focus on the comfort and ease of operation of the leisure chair. For the reclining type of leisure chairs, the comfort is mainly reflected in whether it is ergonomic, and the ease of control is mainly reflected in whether it can quickly change from the sitting position. Adjust to a lying position.

现有技术公开号CN104886964B公开了一种休闲座椅结构,包括一基座、一椅座、一椅背、一接合座、一脚垫单元、一调整单元,其中该椅座设于基座上方;又椅背与椅座枢接;又接合座设于基座与椅座间,并具一下接合部、二枢杆组、一上接合部,并该下接合部与基座支撑部组合,上接合部与椅座组合;又该二枢杆组分别与下接合部二侧枢接,并可对应接下接合部偏移动作;又上接合部与二枢杆组枢接,并设置侧接合部;又脚垫单元由二连杆组组成并可展开、收合,并该二连杆组后端与上接合部枢接;又调整单元包括一操控杆、二摆动杆、二第一弹簧、一驱动杆、一气压杆、一拉杆、一第二弹簧、一第三弹簧。这种休闲椅还是有缺陷的:首先,通过同一操控杆控制椅背后仰以及脚垫单元展开动作,从坐姿调整为躺姿的操作需要操作两次略显繁琐;其次,该休闲椅无法对腿部完全支撑,并且操控至躺姿时用户完全处于平躺状态,不符合人体工学,尤其是腿部,消除腿部的疲劳感的效果一般,用户的舒适度体验具有缺陷;再者,该休闲椅的机械结构过于复杂,操控运行时相对容易出现故障。The prior art publication number CN104886964B discloses a leisure seat structure, which includes a base, a seat, a back, a joint seat, a foot pad unit, and an adjustment unit, wherein the seat is arranged above the base ; And the seat back is pivotally connected with the seat; and the joint seat is arranged between the base and the seat, and has a lower joint, two pivot rod groups, and an upper joint, and the lower joint is combined with the base support, The upper joint part is combined with the seat; the two pivot rod groups are pivotally connected to the two sides of the lower joint part respectively, and can correspond to the offset action of the lower joint part; and the upper joint part is pivotally connected with the two pivot rod groups, and the side is set. the joint part; the foot pad unit is composed of two connecting rods and can be unfolded and folded, and the rear end of the two connecting rods is pivotally connected with the upper joint; and the adjustment unit includes a control rod, two swing rods, two first Spring, a drive rod, a pneumatic rod, a pull rod, a second spring, and a third spring. This kind of leisure chair is still flawed: firstly, the back of the chair is controlled by the same joystick and the footrest unit is deployed, and the operation to adjust from the sitting position to the lying position needs to be operated twice, which is slightly cumbersome; secondly, the leisure chair cannot face the legs It is not ergonomic, especially for the legs, the effect of eliminating the fatigue of the legs is average, and the user's comfort experience is flawed; moreover, this leisure The mechanical structure of the chair is too complicated, and it is relatively easy to fail during operation.

实用新型内容Utility model content

本实用新型要解决的技术问题是提供一种可平躺的休闲椅,其结构较为精简,用户操控时可迅速由坐姿调整为躺姿,并且躺姿符合人体工学,具有极佳的舒适度。The technical problem to be solved by the utility model is to provide a reclining leisure chair, which has a simpler structure, can be quickly adjusted from a sitting posture to a lying posture when manipulated by a user, and the lying posture conforms to ergonomics and has excellent comfort.

本实用新型是通过以下技术方案来实现的。The utility model is realized by the following technical solutions.

一种可平躺的休闲椅,包括椅座、椅背,还包括:A reclining leisure chair, comprising a seat, a seat back, and further comprising:

位于椅座下方的底座机构,所述椅座的后端铰接在所述底座机构;a base mechanism located under the seat, the rear end of the seat is hinged to the base mechanism;

连接椅座和椅背的第一翻转机构,可带动所述椅背翻转并可复位;以及a first turning mechanism connecting the seat and the seat back, which can drive the seat back to turn over and reset; and

安装在底座机构的第二翻转机构,作用在椅座中前部以带动椅座翻转,第一翻转机构与第二翻转机构联动使椅背和椅座同步同向翻转,并且第一翻转机构的翻转幅度大于第二翻转机构。The second turning mechanism installed on the base mechanism acts on the middle and front part of the seat to drive the seat to turn over. The turning range is greater than that of the second turning mechanism.

本实用新型的原理在于,通过第一翻转机构与第二翻转机构的联动,用户只需背靠椅背并且使用一定力度后仰,即可使得椅背和椅座同时向后翻转,由坐姿转为躺姿,而用户只需由躺姿直接坐起,椅背以及椅座即可向前复位翻转,对于用户而言无论是操控的简便程度还是姿态的转换速度相比现有技术具有一定优越性;另外,操控至躺姿时,由于椅座也一定程度向后翻转,使得用户并非为平躺状态,腿部与躯干呈一定夹角,腰部得到支撑,避免处于悬空所导致腰部肌肉紧张的不适感,符合人体工学。The principle of the present invention is that, through the linkage between the first turning mechanism and the second turning mechanism, the user only needs to lean back against the seat back and lean back with a certain force, so that the seat back and the seat seat can be turned backward at the same time, and the seat back and the seat can be turned backward at the same time. For the lying position, the user only needs to sit up directly from the lying position, and the chair back and seat can be reset and flipped forward. For the user, both the ease of manipulation and the speed of posture conversion have certain advantages compared to the prior art. In addition, when manipulating to the lying position, because the seat is also turned backward to a certain extent, the user is not in a lying state, the legs and the torso are at a certain angle, and the waist is supported to avoid the tension of the waist muscles caused by being suspended in the air. Uncomfortable, ergonomic.

作为本实用新型的进一步改进,所述第一翻转机构具有两个并位于椅座两侧对称设置,其包括铰接的固定臂、摆动臂以及连接两者的复位弹簧,所述固定臂的端部固定在椅座侧部,所述摆动臂至少有两处与椅背侧部固定。第一翻转机构以固定臂定位固定,以摆动臂铰接带动椅背翻转,恢复弹簧带动椅背复位,实现了椅背简洁有效的双向翻转功能,这种精简的结构相对于现有技术繁琐复杂的机械结构出错率较低。As a further improvement of the present invention, the first turning mechanism has two and is symmetrically arranged on both sides of the seat, which includes a hinged fixed arm, a swing arm and a return spring connecting the two. The end of the fixed arm is Fixed on the side of the seat, the swing arm is fixed with the side of the seat back at least two places. The first turning mechanism is positioned and fixed by the fixed arm, the swing arm is hinged to drive the seat back to turn over, and the recovery spring drives the seat back to reset, realizing the simple and effective two-way turning function of the seat back. The error rate of the mechanical structure is low.

作为本实用新型的进一步改进,所述椅座侧部设有位于椅座下方的固定板,所述固定臂具有两个端部,并且另一个端部固定在所述固定板,所述摆动臂铰接在所述固定臂的中部。固定臂以及摆动臂构成了三叉式的整体结构,从而使得该整体机构具有较好的结构强度,另外固定臂的两个端部分别固定在椅座侧部以及固定板,使得第一翻转机构的安装牢固度较好,并使得椅背翻转的运行较为稳定。As a further improvement of the present invention, the side part of the seat is provided with a fixing plate under the seat, the fixing arm has two ends, and the other end is fixed on the fixing plate, and the swing arm has two ends. Hinged in the middle of the fixed arm. The fixed arm and the swing arm form a three-pronged overall structure, so that the overall mechanism has good structural strength. In addition, the two ends of the fixed arm are respectively fixed on the side of the seat and the fixed plate, so that the The installation firmness is good, and the operation of the seat back is more stable.

作为本实用新型的进一步改进,所述固定臂位于固定板的端部铰接有第一联动伸缩杆的一端以及第二联动伸缩杆的一端,所述第一联动伸缩杆、所述第二联动伸缩杆的另一端分别铰接在所述摆动臂、所述第二翻转机构,所述第一联动伸缩杆与所述第二联动伸缩杆之间连接有拉伸弹簧。用户操控椅背翻转,带动第一联动伸缩杆向后转动,由于拉伸弹簧的拉伸作用,因此第二联动伸缩杆也随之转动,但是其转动角度小于第一联动伸缩杆,从而使得椅座的转动幅度小于椅背,这样用户调整为躺姿后即可避免腿部过于向上抬起从而影响其舒适度。As a further improvement of the present invention, the end of the fixed arm located on the fixed plate is hinged with one end of the first linkage telescopic rod and one end of the second linkage telescopic rod. The first linkage telescopic rod and the second linkage telescopic rod are hinged. The other end of the rod is hinged to the swing arm and the second turning mechanism respectively, and a tension spring is connected between the first linkage telescopic rod and the second linkage telescopic rod. The user controls the back of the chair to turn over, which drives the first linkage telescopic rod to rotate backward. Due to the stretching action of the tension spring, the second linkage telescopic rod also rotates, but its rotation angle is smaller than that of the first linkage telescopic rod, so that the chair The rotation of the seat is smaller than that of the seat back, so that the user can avoid lifting the legs too much upwards and affecting their comfort after adjusting to the lying position.

作为本实用新型的进一步改进,所述第二翻转机构具有两个并位于底座机构两侧对称设置,其包括固定座、伸缩杆,所述固定座固定在底座机构的侧部,所述伸缩杆的底端固定连接在所述固定座,顶端铰接在椅座中前部底面的侧部,所述伸缩杆的上部具有与所述第二联动伸缩杆铰接的铰接件。第二翻转机构以伸缩杆的伸缩调节控制椅座的翻转,这种后仰机制较为简单,同时与第一翻转机构的联动速度较快。As a further improvement of the present invention, the second turning mechanism has two and is symmetrically arranged on both sides of the base mechanism. It includes a fixed seat and a telescopic rod. The fixed seat is fixed on the side of the base mechanism, and the telescopic rod The bottom end of the telescopic rod is fixedly connected to the fixed seat, the top end is hinged to the side of the bottom surface of the front part of the seat seat, and the upper part of the telescopic rod has a hinge piece that is hinged with the second linkage telescopic rod. The second overturning mechanism controls the overturning of the seat by the telescopic adjustment of the telescopic rod. This backward tilting mechanism is relatively simple, and at the same time, the linkage speed with the first overturning mechanism is fast.

作为本实用新型的进一步改进,所述伸缩杆套设固定有伸缩套,并且伸缩杆的伸缩处位于伸缩套内。伸缩套主要起到对伸缩处的保护作用。As a further improvement of the present invention, the telescopic rod is sleeved and fixed with a telescopic sleeve, and the telescopic part of the telescopic rod is located in the telescopic sleeve. The telescopic sleeve mainly plays a protective role on the telescopic part.

作为本实用新型的进一步改进,所述椅座顶面包括使腿部自然弯曲的大腿承载部以及小腿承载部。通过大腿承载部以及小腿承载部的分体设置,使得腿部呈一定程度弯曲,使得腿部的舒适度较佳。As a further improvement of the present invention, the top surface of the seat includes a thigh bearing portion and a calf bearing portion that allow the legs to naturally bend. The legs are bent to a certain extent through the separate arrangement of the thigh bearing part and the calf bearing part, so that the comfort of the legs is better.

作为本实用新型的进一步改进,所述小腿承载部的中部设有小腿分隔件。小腿分隔件将用户的两小腿分离并配合椅座侧部,可使小腿具有较好的包裹性。As a further improvement of the present invention, the middle part of the lower leg carrying part is provided with a lower leg partition. The calf divider separates the two calfs of the user and cooperates with the side part of the seat, so that the calf can have better wrapping property.

作为本实用新型的进一步改进,所述底座机构包括底座、连接件,所述连接件倾斜设置并且后端高于前端,所述连接件的后端与椅座后端铰接,前端与底座的顶端固定连接。以底座作为整个休闲椅的基座,以连接件衔接底座与椅座,结构精简空间分布合理,为第二翻转机构提供充足的安装空间。As a further improvement of the present invention, the base mechanism includes a base and a connecting piece, the connecting piece is inclined and the rear end is higher than the front end, the rear end of the connecting piece is hinged with the rear end of the seat, and the front end is connected with the top end of the base Fixed connection. The base is used as the base of the entire leisure chair, and the connecting piece is used to connect the base and the seat, the structure is simplified and the space distribution is reasonable, providing sufficient installation space for the second turning mechanism.

作为本实用新型的进一步改进,所述底座两个侧部的顶端铰接有对称的支架,铰接处均设有调节板,调节板具有多个绕铰接点圆周排列的调节孔,所述支架设有插入调节孔的插销,两个所述支架之间连接有脚踏杆。脚踏杆给用户提供脚部的搭放,并且无论用户处于坐姿还是躺姿均可调节脚踏杆的位置,以获得脚部较好的舒适度。As a further improvement of the present invention, symmetrical brackets are hinged on the top ends of the two side parts of the base, and adjustment plates are provided at the hinge joints. The adjustment plates have a plurality of adjustment holes arranged around the hinge point. A pin is inserted into the adjustment hole, and a foot lever is connected between the two brackets. The foot bar provides the user with a foot rest, and the position of the foot bar can be adjusted whether the user is in a sitting position or a lying position, so as to obtain better foot comfort.

本实用新型的有益效果:The beneficial effects of the present utility model:

(1)本实用新型以第一翻转机构与第二翻转机构联动并驱使同步同向翻转的方式实现休闲椅快速从坐姿调整为躺姿,并且用户仅需使用一定的力度背靠椅背或坐起即可实施操控,较为便利;(1) The present utility model realizes that the leisure chair can be quickly adjusted from the sitting position to the lying position by means of the linkage between the first turning mechanism and the second turning mechanism and driving the synchronous turning in the same direction, and the user only needs to use a certain strength to lean against the back of the chair or sit down. It can be controlled from the beginning, which is more convenient;

(2)本实用新型提供给用户的躺姿,并非现有技术中的平躺,以椅背翻转幅度大于椅座的机制使用户躯干与腿部之间呈一定夹角,用户腰部得到支撑并且舒适度较好;(2) The lying posture provided to the user by the present invention is not the flat lay in the prior art. The mechanism that the back of the chair is turned larger than the seat makes a certain angle between the user's torso and the legs, and the user's waist is supported and better comfort;

(3)本实用新型的第一翻转机构为三叉式结构,其整体强度较好,并且在椅座侧部的安装牢固度较佳,确保椅背翻转的运行较为稳定;(3) The first overturning mechanism of the present utility model is a trident structure, which has better overall strength and better installation firmness on the side of the seat, ensuring that the operation of the seatback overturning is relatively stable;

(4)本实用新型的第二翻转机构的结构与翻转机制较为简单,与第一翻转机构的联动速度较快,并且设置有较好的防护措施以保持稳定的运行;(4) The structure and the inversion mechanism of the second inversion mechanism of the present invention are relatively simple, the linkage speed with the first inversion mechanism is fast, and better protection measures are provided to maintain stable operation;

(5)本实用新型的椅座通过设置大腿承载部以及小腿承载部,使得用户腿部自然弯曲,当用户调整为躺姿后人体呈三段自然弯曲,符合人体工学,具有极佳的舒适度以及放松效果;(5) The seat of the present utility model is provided with a thigh bearing part and a calf bearing part, so that the user's legs are naturally bent. When the user is adjusted to the lying position, the human body is naturally bent in three sections, which is ergonomic and has excellent comfort. and relaxation effects;

(6)本实用新型通过在小腿承载部设置小腿分隔件,使小腿具有较好的包裹性,并且可对小腿施压按摩;(6) In the present invention, the calf spacer is arranged on the calf bearing part, so that the calf has a good wrapping property, and can apply pressure and massage to the calf;

(7)本实用新型通过可调节的脚踏杆使用户可随意调整搭放脚部,可提高坐姿或躺姿的舒适度。(7) The utility model enables the user to freely adjust and place the feet through the adjustable foot lever, which can improve the comfort of the sitting or lying posture.

附图说明Description of drawings

图1为可平躺的休闲椅的正视示意图;1 is a schematic front view of a reclining lounge chair;

图2为椅座与椅背的结构示意图;Figure 2 is a schematic structural diagram of a seat and a seat back;

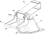
图3为底座机构的结构示意图。FIG. 3 is a schematic structural diagram of the base mechanism.

具体实施方式Detailed ways

下面根据附图和实施例对本实用新型作进一步详细说明。The utility model will be described in further detail below according to the accompanying drawings and embodiments.

参照图1-图3,本实施案例,可平躺的休闲椅,包括椅座1、椅背2、底座机构、第一翻转机构、第二翻转机构,其中所述底座机构位于所述椅座1的下方,所述椅座1的后端铰接在所述底座机构,第一翻转机构作为执行椅背2翻转的机构,可带动所述椅背2翻转并具有复位转动的趋势,而第二翻转机构作为椅座1翻转的机构,作用在椅座1中前部以带动椅座1翻转,第一翻转机构与第二翻转机构联动使椅背2和椅座1同步同向翻转,并且第一翻转机构的翻转幅度大于第二翻转机构。用户端坐在椅座1,当需要由坐姿调整为躺姿时,用户调整坐姿使得背部以及腰部紧贴椅背2,只需使用一定力度后仰即可使得椅背2向后翻转,通过第一翻转机构与第二翻转机构的联动,椅座1也相应向后翻转,用户即由坐姿转为躺姿,无论是操控的简便程度还是姿态的转换速度相比现有技术具有一定优越性;处于该躺姿时,用户并非为平躺状态,腿部与躯干呈一定夹角,使得用户臀部陷入椅座1与椅背2交界呈凹陷的区域,对臀部的包裹性较好,对于肥胖的用户尤其舒适,另外,处于这种躺姿用户的腰部就能得到椅背2的支撑作用,避免处于悬空所导致腰部肌肉紧绷,有利于腰部与背部肌肉的放松,符合人体工学,这种躺姿极其适合腰椎劳损的用户。Referring to Figures 1 to 3, the present embodiment, a reclining lounge chair, includes a seat 1, a seat back 2, a base mechanism, a first flipping mechanism, and a second flipping mechanism, wherein the base mechanism is located in the seat. Below 1, the rear end of the seat 1 is hinged to the base mechanism. The first turning mechanism is used as a mechanism for performing the turning of the seat back 2, which can drive the seat back 2 to turn over and has a tendency to reset and rotate. As a mechanism for the overturning of the seat 1, the turning mechanism acts on the front part of the seat 1 to drive the seat 1 to turn over. The inversion range of the first inversion mechanism is greater than that of the second inversion mechanism. The user sits on the seat 1. When the user needs to adjust the sitting position to the lying position, the user adjusts the sitting position so that the back and waist are close to the seat back 2, and the back 2 can be turned backward by simply leaning back with a certain force. The linkage between the first turning mechanism and the second turning mechanism causes the seat 1 to be turned backward correspondingly, so that the user changes from the sitting position to the lying position, which has certain advantages compared with the prior art in terms of the ease of manipulation and the conversion speed of the posture; When in this lying position, the user is not in a lying state, and the legs and the torso form a certain angle, so that the user's buttocks fall into the concave area at the junction of the seat 1 and the seat back 2, and the wrapping of the buttocks is good. The user is particularly comfortable. In addition, the waist of the user in this lying position can be supported by the chair back 2, avoiding the tightness of the waist muscles caused by being in the air, which is conducive to the relaxation of the waist and back muscles, and is ergonomic. The posture is extremely suitable for users with lumbar spine strain.

对于第一翻转机构,所述第一翻转机构具有两个并位于椅座1两侧对称设置,因此这两个第一翻转机构的结构相同,机械动作也相同,第一翻转机构包括固定臂31、摆动臂32以及连接复位弹簧33,所述固定臂31呈一定角度由中部弯折,其两个端部分别设有固定盘31-1,所述摆动臂32的底端铰接在所述固定臂31中部的弯折处,所述摆动臂32设有有两处固定点,固定点设有垂直于摆动臂32的连接轴32-1,连个所述连接轴32-1与椅背侧部2-A固定,通过这两个连接轴32-1可使得椅背2牢固地固定连接在摆动臂32,使其无论向后还是向前翻转均能保持稳定,椅座侧部1-A设有位于椅座1下方的固定板11,所述固定臂31两个端部的固定盘31-1分别固定安装在所述椅座侧部1-A以及固定板11。For the first inversion mechanism, the first inversion mechanism has two and is located symmetrically on both sides of the seat 1, so the structure and mechanical action of the two first inversion mechanisms are the same, and the first inversion mechanism includes a fixed arm 31. , a swing arm 32 and a connecting return spring 33, the fixed arm 31 is bent at a certain angle from the middle, and two ends of the fixed arm 31 are respectively provided with a fixed plate 31-1, and the bottom end of the swing arm 32 is hinged on the fixed At the bending part of the middle part of the arm 31, the swing arm 32 is provided with two fixed points, and the fixed point is provided with a connecting shaft 32-1 perpendicular to the swing arm 32, connecting the connecting shaft 32-1 to the seat back side The seat back 2 can be firmly connected to the swing arm 32 through the two connecting shafts 32-1, so that it can remain stable whether it is turned backward or forward, and the seat side portion 1-A A fixing plate 11 is provided under the seat 1 , and the fixing plates 31 - 1 at the two ends of the fixing arm 31 are respectively fixed and installed on the side portion 1 -A of the seat and the fixing plate 11 .

用户背靠椅背2并使用一定力度后仰,即可推动椅座1以及摆动臂32绕固定臂31的铰接处向后翻转,迅速从坐姿调整为躺姿,用户坐起时椅背2由恢复弹簧带动迅速复位,迅速从躺姿调整为坐姿,当用户需要从躺姿调整为坐姿时直接坐起即可,在复位弹簧33的作用下即可复位,操控较为简单并且反应速度也较为快捷,使得用户具有较好的使用体验。The user leans back against the seat back 2 and uses a certain force to lean back, then the seat 1 and the swing arm 32 can be pushed backwards around the hinge of the fixed arm 31 to quickly adjust from the sitting position to the lying position. The recovery spring drives the rapid reset, and quickly adjusts from the lying position to the sitting position. When the user needs to adjust from the lying position to the sitting position, he can directly sit up, and can be reset under the action of the reset spring 33. The control is relatively simple and the response speed is also relatively fast. , so that users have a better experience.

从结构整体来看,首先,第一翻转机构的结构相比现有技术较为精简,但是其完成双向翻转的功能是健全的,因此使用时出现故障的概率相比现有技术会降低很多,明显具有更好的实用性,使得用户具有更好的使用体验。其次,第一翻转机构以固定臂31以及摆动臂32构成三叉式的整体结构,从而使得该整体结构具有较好的结构强度,另外固定臂31通过两个端部的固定盘31-1分别固定在椅座侧部1-A以及固定板11,使得第一翻转机构的安装牢固度较好。另外可进一步优化方案,为使得固定臂31在固定板11的安装牢固度更为可靠,可在固定板11的内端面设置加强筋固定连接至椅座1的底面,这样可提高固定板11的结构强度,使其不易发生左右方向的弯曲变形从而使得固定在该处的固定盘31-1安装较为牢固。From the perspective of the overall structure, first of all, the structure of the first turning mechanism is simpler than the existing technology, but its function of completing the two-way turning is sound, so the probability of failure during use will be much lower than the existing technology. It has better practicability and enables users to have a better experience. Secondly, the first turning mechanism uses the fixed arm 31 and the swing arm 32 to form a three-pronged overall structure, so that the overall structure has better structural strength. In addition, the fixed arm 31 is respectively fixed by the fixing plates 31-1 at the two ends. On the seat side portion 1-A and the fixing plate 11, the installation firmness of the first turning mechanism is better. In addition, the solution can be further optimized. In order to make the installation firmness of the fixing arm 31 on the fixing plate 11 more reliable, a reinforcing rib can be arranged on the inner end surface of the fixing plate 11 to be fixedly connected to the bottom surface of the seat 1, which can improve the stability of the fixing plate 11. The structural strength makes it less prone to bending deformation in the left and right directions, so that the fixing plate 31-1 fixed there can be installed more firmly.

所述固定臂31位于固定板11的端部铰接有第一联动伸缩杆34的一端以及第二联动伸缩杆35的一端,所述第一联动伸缩杆34、所述第二联动伸缩杆35的另一端分别铰接在所述摆动臂32、所述第二翻转机构,所述第一联动伸缩杆34与所述第二联动伸缩杆35之间连接有拉伸弹簧36,第一联动伸缩杆34以及第二联动伸缩杆35为第一翻转机构与第二翻转机构的联动部件,当用户处于坐姿时,拉伸弹簧36处于自然状态并未发生形变,当用户使用一定力度后仰,使得椅背2翻转,摆动臂32向后转动从而带动第一联动伸缩杆34向后转动,第一联动伸缩杆34与第二联动伸缩杆35的夹角变大,拉伸弹簧36被拉伸并在其拉伸弹力的作用下,第二联动伸缩杆35也随之同向转动,但是显然,第二联动伸缩杆35的转动角度于第一联动伸缩杆34,从而使得椅座1的转动幅度小于椅背2,调整至躺姿后,用户的躯干由大致竖直的端坐状态调整至平躺状态,而用户的腿部由端坐状态调整至略微向上倾斜一定角度的状态,即使得用户调整为躺姿后即可避免腿部过于向上抬起从而影响其舒适度,事实上,用户腿部对椅座1施加的压力也对椅座1的翻转幅度起到调节作用,用户处于躺姿时,还能通过腿部重心的调节控制,这种调节方式较为人性化。The fixed arm 31 is located at the end of the fixed plate 11 and is hinged with one end of the first linked telescopic rod 34 and one end of the second linked telescopic rod 35 . The other end is hinged to the swing arm 32 and the second flipping mechanism respectively, a tension spring 36 is connected between the first linkage telescopic rod 34 and the second linkage telescopic rod 35 , and the first linkage telescopic rod 34 And the second linkage telescopic rod 35 is the linkage part of the first flipping mechanism and the second flipping mechanism. When the user is in a sitting position, the tension spring 36 is in a natural state and does not deform. 2 Turn over, the swing arm 32 rotates backwards to drive the first linkage telescopic rod 34 to rotate backwards, the angle between the first linkage telescopic rod 34 and the second linkage telescopic rod 35 becomes larger, and the tension spring 36 is stretched and at its Under the action of the stretching elastic force, the second linkage telescopic rod 35 also rotates in the same direction, but obviously, the rotation angle of the second linkage telescopic rod 35 is smaller than that of the first linkage telescopic rod 34, so that the rotation range of the seat 1 is smaller than that of the chair. Back 2, after adjusting to the lying position, the user's torso is adjusted from a generally vertical sitting state to a flat lying state, and the user's legs are adjusted from the sitting state to a state that is slightly inclined upward at a certain angle, even if the user adjusts to After the lying position, the legs can be prevented from being lifted up too much and thus affecting the comfort. In fact, the pressure exerted by the user's legs on the seat 1 also adjusts the turning range of the seat 1. It can also be controlled by adjusting the center of gravity of the legs, which is more user-friendly.

所述第二翻转机构具有两个并位于底座机构两侧对称设置,因此这两个第二翻转机构的结构相同,机械动作也相同,第二翻转机构包括固定座41、伸缩杆42,所述固定座41固定在底座机构的侧部,所述伸缩杆42的底端固定连接在所述固定座41,顶端铰接在椅座1中前部底面的侧部,所述伸缩杆42的上部具有与所述第二联动伸缩杆35铰接的铰接件43。第二翻转机构以伸缩杆的伸缩调节控制椅座1的翻转,这种后仰机制较为简单,同时与第一翻转机构的联动速度较快。The second inversion mechanism has two and is located symmetrically on both sides of the base mechanism. Therefore, the two second inversion mechanisms have the same structure and the same mechanical action. The second inversion mechanism includes a fixed seat 41 and a telescopic rod 42. The said The fixed seat 41 is fixed on the side of the base mechanism, the bottom end of the telescopic rod 42 is fixedly connected to the fixed seat 41, and the top end is hinged on the side of the bottom surface of the front part of the seat 1, and the upper part of the telescopic rod 42 has The hinge 43 is hinged with the second linkage telescopic rod 35 . The second overturning mechanism controls the overturning of the seat 1 by the telescopic adjustment of the telescopic rod. This backward tilting mechanism is relatively simple, and at the same time, the linkage speed with the first overturning mechanism is fast.

所述伸缩杆42套设固定有伸缩套44,并且伸缩杆42的伸缩处位于伸缩套44内,厂商在生产时可选择塑料材质的伸缩套44最为低配款,也可以选择皮质材质作为高配款,伸缩套44主要起到对伸缩处的保护作用,一方面避免该部位受到损伤,另一方面伸缩套44具有防尘功能,避免灰尘或杂物淤积在伸缩处从而影响其性能。The telescopic rod 42 is sleeved and fixed with a telescopic sleeve 44, and the telescopic part of the telescopic rod 42 is located in the telescopic sleeve 44. The manufacturer can choose the plastic material of the telescopic sleeve 44 as the lowest model during production, and can also choose a leather material as the high-end model. The telescopic sleeve 44 mainly protects the telescopic part. On the one hand, it avoids damage to this part. On the other hand, the telescopic sleeve 44 has a dust-proof function to prevent dust or debris from accumulating in the telescopic part and affecting its performance.

所述椅座1顶面包括使腿部自然弯曲的大腿承载部1-a以及小腿承载部1-b。通过大腿承载部1-a以及小腿承载部1-b的分体设置,使得腿部呈一定程度弯曲,使得腿部的疲劳得到极大的缓解,配合椅座1与椅背2的翻转幅度,使得用户的躺姿呈小腿、大腿、躯干三段的自然弯曲,符合人体工学,使用户获得极为舒适并能舒缓全身疲劳的效果。The top surface of the seat 1 includes a thigh bearing portion 1-a and a calf bearing portion 1-b for naturally bending the legs. The legs are bent to a certain extent through the separate arrangement of the thigh bearing part 1-a and the calf bearing part 1-b, so that the fatigue of the legs is greatly relieved. The user's lying posture is naturally curved in three segments of the calf, the thigh and the torso, which is ergonomic and makes the user extremely comfortable and relieves the fatigue of the whole body.

另外,所述小腿承载部1-b的中部设有小腿分隔件1-c,小腿分隔件1-c将用户的两小腿分离并配合椅座侧部1-A,可使小腿具有较好的包裹性,并且还可对小腿产生一定程度的挤压效果,有利于小腿肌肉的放松。In addition, the middle part of the lower leg carrying part 1-b is provided with a lower leg partition 1-c. The lower leg partition 1-c separates the two lower legs of the user and cooperates with the seat side part 1-A, so that the lower leg can have a better shape. Wrapping, and can also produce a certain degree of squeezing effect on the calf, which is conducive to the relaxation of the calf muscles.

所述底座机构包括底座51、连接件52,所述连接件52为强化板件连续弯折成的矩形体结构,其结构强度较佳,用来连接承载底座51以及椅座1的牢固度、稳定性较好,所述连接件52倾斜设置并且后端高于前端,所述连接件52的后端与椅座1后端铰接,前端与底座51的顶端固定连接,底座机构的结构设置使得该休闲椅具有较好的底部稳定性,所述底座51两个侧部的顶端铰接有对称的支架61,铰接处均设有调节板62,调节板62具有多个绕铰接点圆周排列的调节孔62-a,所述支架61设有插入调节孔62-a的插销63,两个所述支架61之间连接有脚踏杆64。脚踏杆64给用户提供脚部的搭放,并且无论用户处于坐姿还是躺姿均可调节脚踏杆64的位置,以获得脚部较好的舒适度。The base mechanism includes a base 51 and a connecting piece 52. The connecting piece 52 is a rectangular structure formed by continuous bending of reinforcing plate pieces. The stability is good, the connecting member 52 is inclined and the rear end is higher than the front end, the rear end of the connecting member 52 is hinged with the rear end of the seat 1, and the front end is fixedly connected with the top end of the base 51. The structure of the base mechanism is such that The leisure chair has good bottom stability. The top ends of the two sides of the base 51 are hinged with symmetrical brackets 61, and the hinges are provided with adjustment plates 62. The adjustment plates 62 have a plurality of adjustment plates arranged around the hinge point. A hole 62-a, the bracket 61 is provided with a latch 63 inserted into the adjustment hole 62-a, and a pedal rod 64 is connected between the two brackets 61. The foot bar 64 provides the user with a foot rest, and the position of the foot bar 64 can be adjusted regardless of whether the user is in a sitting or lying position, so as to obtain better foot comfort.

上述实施例只为说明本实用新型的技术构思及特点,其目的在于让熟悉此领域技术的人士能够了解本实用新型内容并加以实施,并不能以此限制本实用新型的保护范围。凡根据本实用新型精神实质所作的等效变化或修饰,都应涵盖在本实用新型的保护范围内。The above-mentioned embodiments are only intended to illustrate the technical concept and characteristics of the present invention, and the purpose thereof is to enable those skilled in the art to understand the content of the present invention and implement it, and cannot limit the protection scope of the present invention. All equivalent changes or modifications made according to the spirit of the present invention shall be covered within the protection scope of the present invention.

Claims (10)

1. The utility model provides a leisure chaise longue that can lie flat, includes seat support (1), back of the chair (2), its characterized in that still includes:
the base mechanism is positioned below the seat (1), and the rear end of the seat (1) is hinged to the base mechanism;
the first turnover mechanism is connected with the chair seat (1) and the chair back (2) and can drive the chair back (2) to turn over and reset; and
install the second tilting mechanism at base mechanism, the effect is anterior in order to drive seat support (1) upset in seat support (1), and first tilting mechanism and the linkage of second tilting mechanism make back of the chair (2) and the synchronous syntropy upset of seat support (1) to the upset range of first tilting mechanism is greater than second tilting mechanism.
2. The lounge chair with the lying function according to claim 1, wherein the first tilting mechanism has two parts symmetrically arranged on both sides of the seat (1), and comprises a hinged fixed arm (31), a swing arm (32) and a return spring (33) connecting the two parts, the end of the fixed arm (31) is fixed on the side part (1-A) of the seat, and the swing arm (32) is fixed on the side part (2-A) of the back at least two positions.
3. Lying leisure chair according to claim 2 characterized in that the seat side (1-a) is provided with a fixed plate (11) under the seat (1), the fixed arm (31) has two ends and the other end is fixed to the fixed plate (11), the swing arm (32) is hinged in the middle of the fixed arm (31).
4. The lounge chair for lying on back of claim 3, wherein the fixed arm (31) is located at one end of the fixed plate (11) where a first linkage telescopic rod (34) and one end of a second linkage telescopic rod (35) are hinged, the other ends of the first linkage telescopic rod (34) and the second linkage telescopic rod (35) are respectively hinged at the swing arm (32) and the second turnover mechanism, and a tension spring (36) is connected between the first linkage telescopic rod (34) and the second linkage telescopic rod (35).
5. Lying leisure chair according to claim 4 characterized in that the second tilting mechanism has two and two bilaterally symmetrical arrangements of the base mechanism, and comprises a fixed base (41) and a telescopic rod (42), wherein the fixed base (41) is fixed on the side of the base mechanism, the telescopic rod (42) is fixedly connected with the fixed base (41) at the bottom end and hinged with the side of the bottom surface of the front part in the chair seat (1) at the top end, and the upper part of the telescopic rod (42) is provided with a hinge (43) hinged with the second linkage telescopic rod (35).
6. The lounge chair with the lying function according to claim 5, wherein the telescopic rod (42) is sleeved with a telescopic sleeve (44), and the telescopic part of the telescopic rod (42) is located in the telescopic sleeve (44).
7. Lying leisure chair according to claim 1 characterized in that the top surface of the seat (1) comprises thigh carrying parts (1-a) and lower leg carrying parts (1-b) which naturally bend the legs.
8. Lying leisure chair according to claim 7 characterized in that the middle of the lower leg carrier (1-b) is provided with a lower leg partition (1-c).
9. Lying leisure chair according to claim 1 characterized in that the base mechanism comprises a base (51), a connecting piece (52) which is arranged obliquely and has a rear end higher than a front end, the connecting piece (52) has a rear end hinged with the rear end of the chair seat (1) and a front end fixedly connected with the top end of the base.
10. The lounge chair for lying on back according to claim 9, wherein the top ends of the two side portions of the base (51) are hinged to symmetrical brackets (61), each hinge is provided with an adjusting plate (62), the adjusting plates (62) are provided with a plurality of adjusting holes (62-a) arranged around the circumference of the hinge, the brackets (61) are provided with bolts (63) inserted into the adjusting holes, and a foot lever (64) is connected between the two brackets (61).
CN202020395673.2U 2020-03-25 2020-03-25 A reclining lounge chair Expired - Fee Related CN212213142U (en)

Priority Applications (1)

Application Number Priority Date Filing Date Title
CN202020395673.2U CN212213142U (en) 2020-03-25 2020-03-25 A reclining lounge chair

Applications Claiming Priority (1)

Application Number Priority Date Filing Date Title
CN202020395673.2U CN212213142U (en) 2020-03-25 2020-03-25 A reclining lounge chair

Publications (1)

Publication Number Publication Date
CN212213142U true CN212213142U (en) 2020-12-25

Family

ID=73903240

Family Applications (1)

Application Number Title Priority Date Filing Date
CN202020395673.2U Expired - Fee Related CN212213142U (en) 2020-03-25 2020-03-25 A reclining lounge chair

Country Status (1)

Country Link
CN (1) CN212213142U (en)

Cited By (1)

* Cited by examiner, † Cited by third party
Publication number Priority date Publication date Assignee Title
CN111436783A (en) * 2020-03-25 2020-07-24 浙江强盛家具有限公司 A reclining lounge chair

Cited By (2)

* Cited by examiner, † Cited by third party
Publication number Priority date Publication date Assignee Title
CN111436783A (en) * 2020-03-25 2020-07-24 浙江强盛家具有限公司 A reclining lounge chair
CN111436783B (en) * 2020-03-25 2025-06-03 浙江强盛家具有限公司 A reclining leisure chair

Similar Documents

Publication Publication Date Title
CN111602993A (en) A sofa stretching device that can provide zero gravity sitting feeling
JPH09503144A (en) Split back chair
GB2109677A (en) Motorized reclining chair
JPH06500944A (en) work chairs, especially office chairs
CN111642922A (en) Adjustable seat support
CN111436783A (en) A reclining lounge chair
CN212213142U (en) A reclining lounge chair
US11910932B2 (en) Motion chair
CN101505634A (en) Chair
TWI691323B (en) Bed structure
JP3718628B2 (en) Chair
CN207075770U (en) A kind of health-care chair
KR20100111430A (en) Massage chair with pivot rotatable seat
CN210904856U (en) Electric handstand
US20100102606A1 (en) Chair Structure
CN209983814U (en) Foldable human engineering double chair
CN114392118A (en) A rocking massage chair
CN209284644U (en) lazy chair
CN216723885U (en) Sofa chair with adjustable shape
CN219680169U (en) Sofa metal framework and reclining type couch
CN219699441U (en) Chair capable of switching kneeling and sitting postures
CN216393553U (en) Seat frame
CN223195760U (en) Mechanical stretching unit for eliminating back rubbing sense
TWM592777U (en) Electric handstand machine
JPH048821Y2 (en)

Legal Events

Date Code Title Description
GR01 Patent grant
GR01 Patent grant
CF01 Termination of patent right due to non-payment of annual fee
CF01 Termination of patent right due to non-payment of annual fee

Granted publication date: 20201225