CN212189324U - A screening device for preservative wood processing leftovers - Google Patents
A screening device for preservative wood processing leftovers Download PDFInfo
- Publication number
- CN212189324U CN212189324U CN202020595149.XU CN202020595149U CN212189324U CN 212189324 U CN212189324 U CN 212189324U CN 202020595149 U CN202020595149 U CN 202020595149U CN 212189324 U CN212189324 U CN 212189324U
- Authority
- CN
- China
- Prior art keywords
- screening
- box
- crushing
- deflector
- crushing box
- Prior art date
- Legal status (The legal status is an assumption and is not a legal conclusion. Google has not performed a legal analysis and makes no representation as to the accuracy of the status listed.)
- Expired - Fee Related
Links
Images
Landscapes
- Crushing And Pulverization Processes (AREA)
Abstract
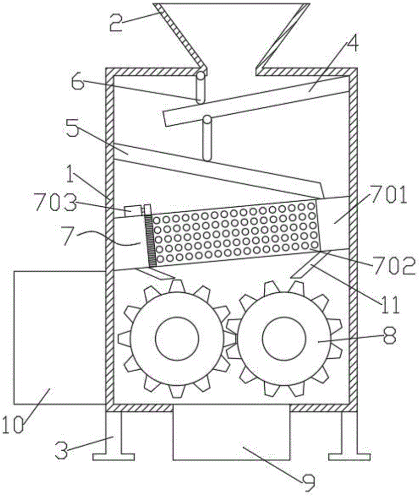
本实用新型涉及木材加工技术领域,具体涉及一种防腐木材加工边角料的筛选装置,包括筛选粉碎箱,筛选粉碎箱的顶部设有进料漏斗,筛选粉碎箱的内部设有第一导流板和第二导流板,筛选粉碎箱的顶壁和第一导流板的底部均铰接有防尘挡板,第二导流板的底部设有过滤组件,过滤组件的底部设有粉碎对辊,筛选粉碎箱的底部设有木屑回收箱和边角料回收箱;本实用新型通过设置第一导流板和第二导流板,可以降低边角料在倾倒筛选过程中灰尘的逸散,具有很好的防尘效果,本实用新型可以筛选出大号边角里进入边角料回收箱内,不可以直接回收利用的小号边角料直接进入粉碎对辊中,粉碎成木屑进行回收利用,避免了筛选取出后单独进行粉碎的繁琐操作。
The utility model relates to the technical field of wood processing, in particular to a screening device for anti-corrosion wood processing scraps, comprising a screening and crushing box, a feeding funnel is arranged on the top of the screening and crushing box, and a first deflector and The second deflector, the top wall of the screening and crushing box and the bottom of the first deflector are hinged with dust baffles, the bottom of the second deflector is provided with a filter assembly, and the bottom of the filter assembly is provided with crushing rollers, The bottom of the screening and crushing box is provided with a wood chip recovery box and a leftover material recovery box; the utility model can reduce the dust escape of the leftover material during the dumping and screening process by setting the first deflector and the second deflector, and has a good anti-corrosion effect. The utility model can screen out the large corners and put them into the scrap recycling box, and the small scraps that cannot be directly recycled directly enter the crushing counter-roller, and crush them into wood chips for recycling, which avoids the need for screening and taking out them separately. The tedious operation of smashing.
Description
技术领域technical field
本实用新型涉及木材加工技术领域,具体涉及一种防腐木材加工边角料的筛选装置。The utility model relates to the technical field of wood processing, in particular to a screening device for leftover materials of anti-corrosion wood processing.
背景技术Background technique
边角料,指在生产制造产品的过程中,在原定计划、设计的生产原料内、加工过程中没有完全消耗掉的,且无法再用于加工该产品项下制成品的数量合理的剩余废、碎料及下脚料。一般也称为“边角余料”,边角料一般指带有平面的板材、型材而言。例如:在一块正方形的板材上面,最大限度地切下一个圆形面,其剩余的四个直角边与圆周线中间部分的剩余,就是边角料。无形的如液体、沙子,石子原料的剩余,不能称作边角料边角余料。Leftovers and scraps refer to the reasonable amount of residual waste that is not completely consumed in the original plan and design of the production raw materials and processing during the process of manufacturing a product, and cannot be used to process the finished products under the product. , scraps and scraps. Also known as "leftover material", leftover material generally refers to the flat plate and profile. For example: on a square plate, cut a circular surface to the maximum extent, and the remaining four right-angled sides and the middle part of the circle line are leftovers. Intangible residues of raw materials such as liquid, sand, and stones cannot be called leftovers and scraps.
防腐木材加工产生的边角料大小不一,所以需要进行筛选,但是现有的边角料筛选装置在筛选出大号可以回收利用的边角料后,需要单独对小号不规则的边角料进行粉碎回收,操作繁琐,且在筛选过程中,灰尘容易逸散,对使用者的健康造成损害。The leftovers produced by the processing of anti-corrosion wood are of different sizes, so they need to be screened. However, after screening out the large-sized scraps that can be recycled, the existing scraps screening device needs to separately crush and recycle the small-sized and irregular scraps, which is cumbersome to operate. And in the screening process, the dust is easy to escape, causing damage to the user's health.
基于此,本实用新型设计了一种防腐木材加工边角料的筛选装置,以解决上述问题。Based on this, the present utility model designs a screening device for processing leftovers of anti-corrosion wood, so as to solve the above problems.
实用新型内容Utility model content
本实用新型的目的在于提供一种防腐木材加工边角料的筛选装置,以解决上述背景技术中提出的问题。The purpose of this utility model is to provide a screening device for the leftovers of anti-corrosion wood processing, so as to solve the problems raised in the above-mentioned background technology.
为实现上述目的,本实用新型提供如下技术方案:一种防腐木材加工边角料的筛选装置,包括筛选粉碎箱,筛选粉碎箱的顶部设有进料口,底端固定有支撑腿,进料口的顶端设有进料漏斗,进料漏斗的底端与筛选粉碎箱连通固定,筛选粉碎箱的内部设有第一导流板和第二导流板,第一导流板和第二导流板相对倾斜设置,第一导流板的右端与筛选粉碎箱的右壁顶端固定连接,第二导流板的左端与筛选粉碎箱的左壁固定连接,筛选粉碎箱的顶壁和第一导流板的底部均铰接有防尘挡板,第二导流板的底部设有过滤组件,过滤组件的底部设有粉碎对辊,粉碎对辊与筛选粉碎箱的前后两侧壁转动连接,筛选粉碎箱的底端连通设有木屑回收箱,筛选粉碎箱的左侧壁设有边角料回收箱。In order to achieve the above purpose, the utility model provides the following technical scheme: a screening device for anti-corrosion wood processing scraps, including a screening and crushing box, the top of the screening and crushing box is provided with a feeding port, the bottom end is fixed with a supporting leg, and the The top is provided with a feeding funnel, the bottom end of the feeding funnel is connected and fixed with the screening and crushing box, and the interior of the screening and crushing box is provided with a first deflector and a second deflector, the first deflector and the second deflector Relatively inclined, the right end of the first deflector is fixedly connected to the top of the right wall of the screening and crushing box, the left end of the second deflector is fixedly connected to the left wall of the screening and crushing box, and the top wall of the screening and crushing box and the first guide The bottom of the plate is hinged with a dust-proof baffle, the bottom of the second deflector is provided with a filter assembly, and the bottom of the filter assembly is provided with a crushing roller, which is rotatably connected to the front and rear side walls of the screening and crushing box, and the screen is crushed. The bottom end of the box is connected with a sawdust recovery box, and the left side wall of the screening and crushing box is provided with a scrap recovery box.
进一步的,过滤组件包括两个连通管,两个连通管分别与筛选粉碎箱的左右两侧壁固定连接,位于右侧的连通管的顶部设有进料通孔,两个连通管之间转动连接有转动筛选管,转动筛选管上均匀设有多个筛选孔,且左端沿圆周方向设有齿纹,左侧连通管的顶部固定有电机,电机的输出轴固定有齿轮,齿轮与转动筛选管上的齿纹啮合,筛选粉碎箱的左侧壁对应连通管的位置设有边角料出料口。Further, the filter assembly includes two communicating pipes, the two communicating pipes are respectively fixedly connected with the left and right side walls of the screening and crushing box, the top of the communicating pipe on the right is provided with a feeding through hole, and the two communicating pipes rotate between them. A rotating screening tube is connected, and a plurality of screening holes are evenly arranged on the rotary screening tube, and the left end is provided with tooth patterns along the circumferential direction. The top of the left connecting tube is fixed with a motor, and the output shaft of the motor is fixed with a gear. The tooth pattern on the pipe meshes, and the left side wall of the screening and crushing box is provided with a leftover material discharge port corresponding to the position of the connecting pipe.
进一步的,两个连通管的底部均固定有限位板,限位板相对倾斜设置。Further, limit plates are fixed to the bottoms of the two communication pipes, and the limit plates are relatively inclined.
进一步的,转动筛选管的两端固定有滑块,连通管对应滑块位置设有滑槽,滑块伸入滑槽中并与滑槽滑动连接。Further, the two ends of the rotating screening pipe are fixed with sliders, the communication pipe is provided with a chute corresponding to the position of the slider, and the slider extends into the chute and is slidably connected with the chute.
进一步的,木屑回收箱和边角料回收箱均通过螺栓与筛选粉碎箱可拆卸连接。Further, both the wood chip recycling box and the scrap recycling box are detachably connected to the screening and crushing box through bolts.
与现有技术相比,本实用新型的有益效果是:本实用新型通过设置第一导流板和第二导流板,可以使得边角料随着第一导流板和第二导流板逐渐向下流动,从而可以进一步降低边角料在倾倒筛选过程中灰尘的逸散,并在第一导流板和第二导流板上设置了防尘挡板,边角料在流动时防尘挡板不会影响其进入,边角料经过后,防尘挡板就会在重力作用下保持竖直状态,可以进一步阻挡灰尘的逸散,具有很好的防尘效果;通过设置可以转动的转动筛选管,能够更加充分的对边角料进行筛选;筛选出可以直接回收利用的大号边角里进入边角料回收箱内,不可以直接回收利用的小号边角料直接进入粉碎对辊中,粉碎成木屑进行回收利用,避免了筛选取出后单独再次进行粉碎的繁琐操作。Compared with the prior art, the beneficial effect of the present utility model is that the utility model can make the scrap material gradually move towards the first deflector and the second deflector by setting the first deflector and the second deflector. Downflow, which can further reduce the escape of dust during the dumping and screening process of the scraps, and the dust baffles are set on the first and second baffles, and the dust baffles will not affect the flow of the scraps. When it enters and the leftover material passes through, the dust-proof baffle will remain in a vertical state under the action of gravity, which can further block the escape of dust and has a good dust-proof effect. Screen the leftovers; screen out the large-sized corners that can be directly recycled into the scrap recycling bin, and the small-sized scraps that cannot be directly recycled directly into the crushing rollers, crushed into wood chips for recycling, avoiding screening After taking it out, it is a tedious operation to pulverize again separately.
附图说明Description of drawings
为了更清楚地说明本实用新型实施例的技术方案,下面将对实施例描述所需要使用的附图作简单地介绍,显而易见地,下面描述中的附图仅仅是本实用新型的一些实施例,对于本领域普通技术人员来讲,在不付出创造性劳动的前提下,还可以根据这些附图获得其他的附图。In order to illustrate the technical solutions of the embodiments of the present invention more clearly, the accompanying drawings required for the description of the embodiments will be briefly introduced below. Obviously, the drawings in the following description are only some embodiments of the present invention. For those of ordinary skill in the art, other drawings can also be obtained from these drawings without creative effort.
图1为本实用新型结构示意图;Fig. 1 is the structural representation of the utility model;
图2为本实用新型过滤组件的剖视图;2 is a cross-sectional view of the filter assembly of the present invention;
图3为本实用新型A处的滑块结构示意图。3 is a schematic diagram of the structure of the slider at A of the present invention.
附图中,各标号所代表的部件列表如下:In the accompanying drawings, the list of components represented by each number is as follows:
1、筛选粉碎箱;2、进料漏斗;3、支撑腿;4、第一导流板;5、第二导流板;6、防尘挡板;7、过滤组件;701、连通管;702、转动筛选管;703、电机;8、粉碎对辊;9、木屑回收箱;10、边角料回收箱;11、限位板。1. Screening and crushing box; 2. Feeding funnel; 3. Supporting legs; 4. First deflector; 5. Second deflector; 6. Dust-proof baffle; 7. Filter assembly; 701. Connecting pipe; 702, rotating screening tube; 703, motor; 8, crushing rollers; 9, wood chip recycling box; 10, scrap recycling box; 11, limit plate.
具体实施方式Detailed ways
下面将结合本实用新型实施例中的附图,对本实用新型实施例中的技术方案进行清楚、完整地描述,显然,所描述的实施例仅仅是本实用新型一部分实施例,而不是全部的实施例。基于本实用新型中的实施例,本领域普通技术人员在没有作出创造性劳动前提下所获得的所有其它实施例,都属于本实用新型保护的范围。The technical solutions in the embodiments of the present utility model will be clearly and completely described below with reference to the accompanying drawings in the embodiments of the present utility model. Obviously, the described embodiments are only a part of the embodiments of the present utility model, rather than all the implementations. example. Based on the embodiments of the present invention, all other embodiments obtained by those of ordinary skill in the art without creative work fall within the protection scope of the present invention.
请参阅图1-3,本实用新型提供一种技术方案:一种防腐木材加工边角料的筛选装置,包括筛选粉碎箱1,筛选粉碎箱1的顶部设有进料口,底端固定有支撑腿3,进料口的顶端设有进料漏斗2,进料漏斗2的底端与筛选粉碎箱1连通固定,筛选粉碎箱1的内部设有第一导流板4和第二导流板5,第一导流板4和第二导流板5相对倾斜设置,第一导流板4的右端与筛选粉碎箱1的右壁顶端固定连接,第二导流板5的左端与筛选粉碎箱1的左壁固定连接,筛选粉碎箱1的顶壁和第一导流板4的底部均铰接有防尘挡板6,第二导流板5的底部设有过滤组件7,过滤组件7的底部设有粉碎对辊8,粉碎对辊8由驱动电机驱动,且与筛选粉碎箱1的前后两侧壁转动连接,筛选粉碎箱1的底端连通设有木屑回收箱9,筛选粉碎箱1的左侧壁设有边角料回收箱10。1-3, the present utility model provides a technical solution: a screening device for anti-corrosion wood processing leftovers, including a screening and crushing box 1, the top of the screening and crushing box 1 is provided with a feeding port, and the bottom end is fixed with a supporting leg 3. The top of the feeding port is provided with a feeding funnel 2, and the bottom end of the feeding funnel 2 is connected and fixed with the screening and crushing box 1. The interior of the screening and crushing box 1 is provided with a first deflector 4 and a
过滤组件7包括两个连通管701,两个连通管701分别与筛选粉碎箱1的左右两侧壁固定连接,位于右侧的连通管701的顶部设有进料通孔,两个连通管701之间转动连接有转动筛选管702,转动筛选管702上均匀设有多个筛选孔,且左端沿圆周方向设有齿纹,左侧连通管701的顶部固定有电机703,电机703的输出轴固定有齿轮,齿轮与转动筛选管702上的齿纹啮合,筛选粉碎箱1的左侧壁对应连通管701的位置设有边角料出料口,连通管701和转动筛选管702均保持一定的倾斜度。The
两个连通管701的底部均固定有限位板11,限位板11相对倾斜设置,限位板11可以保证两侧筛选落下的边角料进入粉碎对辊8中进行粉碎。The bottoms of the two
转动筛选管702的两端固定有滑块,连通管701对应滑块位置设有滑槽,滑块伸入滑槽中并与滑槽滑动连接。The two ends of the
木屑回收箱9和边角料回收箱10均通过螺栓与筛选粉碎箱1可拆卸连接,可以方便的拆卸整个木屑回收箱9和边角料回收箱10进行倾倒回收利用。Both the wood chip recovery box 9 and the leftover
本实施例的一个具体应用为:将木材加工的边角料放入进料漏斗2内,边角料随着进料漏斗2进入筛选粉碎箱1内;A specific application of this embodiment is as follows: the leftover material of wood processing is put into the feeding funnel 2, and the leftover material enters the screening and crushing box 1 along with the feeding funnel 2;
首先落到第一导流板4上,并随着第一导流板4向左下方流动,边角料流动过程中撞击防尘挡板6,防尘挡板6关于铰接点旋转打开,不会阻挡边角料的流动;边角料继续流动,撞击筛选粉碎箱1的左侧壁,反向随着第二导流板5继续向右下方流动,继续撞开防尘挡板6,进入连通管701顶部的进料通孔内;It first falls on the first deflector 4, and flows to the lower left with the first deflector 4. During the flow of the scrap material, it hits the dust-proof baffle 6, and the dust-proof baffle 6 rotates and opens about the hinge point without blocking it. The flow of leftover material; the leftover material continues to flow, hits the left side wall of the screening and crushing box 1, and continues to flow downward to the right along with the
电机703启动,输出轴带动齿轮转动,齿轮带动与之啮合的转动筛选管702转动,进入连通管701内的边角料流入转动筛选管702内,并随着倾斜的转动筛选管702继续向左下方流动,在流动过程中,转动筛选管702转动带动边角料上下翻转,能够达到更好的筛选效果,还可以通过控制转动筛选管702的倾斜度来控制边角料流动的速度,从而控制边角料在转动筛选管702内的筛选时间,得到合适的筛选效果;The
经过筛选,可以回收利用的大号边角料顺着连通管701流入边角料回收箱10内进行回收利用,小号大小不规则的边角料通过筛选孔筛出,掉入粉碎对辊8中进行粉碎,粉碎成统一大小的木屑并落入木屑回收箱9中,便于进行回收利用。After screening, the recyclable large scraps flow into the
本实用新型通过设置第一导流板4和第二导流板5,可以使得边角料随着第一导流板4和第二导流板5逐渐向下流动,从而可以进一步降低边角料在倾倒筛选过程中灰尘的逸散,并在第一导流板4和第二导流板5上设置了防尘挡板6,边角料在流动时防尘挡板6不会影响其进入,边角料经过后,防尘挡板6就会在重力作用下保持竖直状态,可以进一步阻挡灰尘的逸散,具有很好的防尘效果;通过设置可以转动的转动筛选管702,能够更加充分的对边角料进行筛选;筛选出可以直接回收利用的大号边角里进入边角料回收箱10内,不可以直接回收利用的小号边角料直接进入粉碎对辊8中,粉碎成木屑进行回收利用,避免了筛选取出后单独再次进行粉碎的繁琐操作。By arranging the first deflector 4 and the
值得注意的是:电机703是通过控制按钮对其实现控制,由于控制按钮匹配的设备为常用设备,属于现有成熟技术,在此不再赘述其电性连接关系以及具体的电路结构。It is worth noting that the
在本说明书的描述中,参考术语“一个实施例”、“示例”、“具体示例”等的描述意指结合该实施例或示例描述的具体特征、结构、材料或者特点包含于本实用新型的至少一个实施例或示例中。在本说明书中,对上述术语的示意性表述不一定指的是相同的实施例或示例。而且,描述的具体特征、结构、材料或者特点可以在任何的一个或多个实施例或示例中以合适的方式结合。In the description of this specification, description with reference to the terms "one embodiment", "example", "specific example", etc. means that a specific feature, structure, material or characteristic described in connection with the embodiment or example is included in the present invention. in at least one embodiment or example. In this specification, schematic representations of the above terms do not necessarily refer to the same embodiment or example. Furthermore, the particular features, structures, materials or characteristics described may be combined in any suitable manner in any one or more embodiments or examples.
以上公开的本实用新型优选实施例只是用于帮助阐述本实用新型。优选实施例并没有详尽叙述所有的细节,也不限制该实用新型仅为的具体实施方式。显然,根据本说明书的内容,可作很多的修改和变化。本说明书选取并具体描述这些实施例,是为了更好地解释本实用新型的原理和实际应用,从而使所属技术领域技术人员能很好地理解和利用本实用新型。本实用新型仅受权利要求书及其全部范围和等效物的限制。The preferred embodiments of the present invention disclosed above are only used to help illustrate the present invention. The preferred embodiments do not exhaustively describe all the details, nor do they limit the invention to specific embodiments only. Obviously, many modifications and variations are possible in light of the content of this specification. This specification selects and describes these embodiments in order to better explain the principle and practical application of the present invention, so that those skilled in the art can well understand and utilize the present invention. The present invention is limited only by the claims and their full scope and equivalents.
Claims (5)
Priority Applications (1)
| Application Number | Priority Date | Filing Date | Title |
|---|---|---|---|
| CN202020595149.XU CN212189324U (en) | 2020-04-20 | 2020-04-20 | A screening device for preservative wood processing leftovers |
Applications Claiming Priority (1)
| Application Number | Priority Date | Filing Date | Title |
|---|---|---|---|
| CN202020595149.XU CN212189324U (en) | 2020-04-20 | 2020-04-20 | A screening device for preservative wood processing leftovers |
Publications (1)
| Publication Number | Publication Date |
|---|---|
| CN212189324U true CN212189324U (en) | 2020-12-22 |
Family
ID=73832220
Family Applications (1)
| Application Number | Title | Priority Date | Filing Date |
|---|---|---|---|
| CN202020595149.XU Expired - Fee Related CN212189324U (en) | 2020-04-20 | 2020-04-20 | A screening device for preservative wood processing leftovers |
Country Status (1)
| Country | Link |
|---|---|
| CN (1) | CN212189324U (en) |
-
2020
- 2020-04-20 CN CN202020595149.XU patent/CN212189324U/en not_active Expired - Fee Related
Similar Documents
| Publication | Publication Date | Title |
|---|---|---|
| CN212142793U (en) | A device for treating solid wood furniture waste | |
| CN215612201U (en) | Powder coating grading and grinding device | |
| CN212189324U (en) | A screening device for preservative wood processing leftovers | |
| CN115646586A (en) | Coal mining crushing system and crushing process | |
| CN210729757U (en) | A daily garbage crushing device | |
| CN220969360U (en) | A device for recycling concrete waste | |
| CN218554277U (en) | A crushing apparatus for processing of polypropylene PP granule | |
| CN217164534U (en) | A diamond crushing device with water washing structure | |
| CN212040678U (en) | Rock wool recycling device | |
| CN212527902U (en) | Wood material smashing device for processing wood-plastic composite board | |
| CN210545388U (en) | Surplus defective material recovery unit of carton production | |
| CN211367600U (en) | Multifunctional leather production and processing equipment | |
| CN210552664U (en) | Plastic powder loading attachment for injection molding machine | |
| CN221872782U (en) | Smashing device for plastic plate leftover materials | |
| CN222753371U (en) | A construction waste crushing device for construction engineering | |
| CN219003301U (en) | Raymond Crusher | |
| CN222000817U (en) | A construction waste slag recycling screening device | |
| CN218590712U (en) | Production of woodwork is with rubbing crusher for waste recovery | |
| CN222325279U (en) | Crusher with anti-jamming function | |
| CN112844654A (en) | Solid waste treatment device for bamboo and wood processing | |
| CN221847321U (en) | A new type of multi-stage raw material crusher | |
| CN221656796U (en) | Refractory material grinder | |
| CN222325369U (en) | A sand washing, screening and crushing device | |
| CN222875064U (en) | Crushing device for recycling waste rubber | |
| CN221413311U (en) | Charcoal production grinder |
Legal Events
| Date | Code | Title | Description |
|---|---|---|---|
| GR01 | Patent grant | ||
| GR01 | Patent grant | ||
| PE01 | Entry into force of the registration of the contract for pledge of patent right |
Denomination of utility model: A screening device for leftover materials in anti-corrosion wood processing Effective date of registration: 20231110 Granted publication date: 20201222 Pledgee: Agricultural Bank of China Limited by Share Ltd. Zhangping branch Pledgor: Zhangping Ruijing Wood Industry Co.,Ltd. Registration number: Y2023980064828 |
|
| PE01 | Entry into force of the registration of the contract for pledge of patent right | ||
| CF01 | Termination of patent right due to non-payment of annual fee |
Granted publication date: 20201222 |
|
| CF01 | Termination of patent right due to non-payment of annual fee |
