CN212172105U - Screen protection structure of vehicle-mounted navigator - Google Patents
Screen protection structure of vehicle-mounted navigator Download PDFInfo
- Publication number
- CN212172105U CN212172105U CN202020751329.2U CN202020751329U CN212172105U CN 212172105 U CN212172105 U CN 212172105U CN 202020751329 U CN202020751329 U CN 202020751329U CN 212172105 U CN212172105 U CN 212172105U
- Authority
- CN
- China
- Prior art keywords
- push
- frame
- screen
- pull plate
- vehicle
- Prior art date
- Legal status (The legal status is an assumption and is not a legal conclusion. Google has not performed a legal analysis and makes no representation as to the accuracy of the status listed.)
- Active
Links
Images
Landscapes
- Fittings On The Vehicle Exterior For Carrying Loads, And Devices For Holding Or Mounting Articles (AREA)
Abstract
本实用新型提供了一种车载导航仪的屏幕防护结构,包括框架,框架的内部固定安装有显示屏,显示屏的顶部设有遮挡机构,遮挡机构包括推拉板,推拉板滑动连接于框架内,推拉板的一侧固定设有遮光折叠板,遮光折叠板的一端与框架一端开设的开槽槽壁固定连接,推拉板的顶部设有推手,推拉板的另一侧顶部固定设有定位框,定位框的顶端开设有与推手位置相对的穿孔,推手与穿孔活动穿插连接。本实用新型通过遮光折叠板对车载导航仪的显示屏进行遮光保护,避屏幕长时间在阳光下暴晒造成屏幕变色或触摸屏失灵,同时具有防尘效果,延长屏幕的使用期限。
The utility model provides a screen protection structure for a vehicle-mounted navigator, which comprises a frame, a display screen is fixedly installed inside the frame, a shielding mechanism is arranged on the top of the display screen, and the shielding mechanism comprises a push-pull plate, and the push-pull plate is slidably connected in the frame. One side of the push-pull plate is fixedly provided with a light-shielding folding plate, one end of the light-shielding folding plate is fixedly connected with the slotted wall formed at one end of the frame, the top of the push-pull plate is provided with a push handle, and the top of the other side of the push-pull plate is fixedly provided with a positioning frame. The top of the positioning frame is provided with a perforation opposite to the position of the pusher, and the pusher and the perforation are movably connected. The utility model provides shading protection to the display screen of the vehicle navigator through the shading folding plate, so as to avoid discoloration of the screen or failure of the touch screen caused by exposure of the screen to the sun for a long time, and at the same time, it has a dustproof effect and prolongs the service life of the screen.
Description
技术领域technical field
本实用新型主要涉及屏幕防护技术领域,具体为一种车载导航仪的屏幕防护结构。The utility model mainly relates to the technical field of screen protection, in particular to a screen protection structure of a vehicle-mounted navigator.
背景技术Background technique
车载导航仪是一种能够帮助用户准确定位当前位置,并且根据既定的目的地计算行程,通过地图显示和语音提示两种方式引导用户行至目的地的仪器的行车辅助设备,基本上已经成为车辆必备设备,车载导航仪主要由芯片、天线、处理器、内存、屏幕组成,为保证屏幕的使用期限通常会对屏幕采取适当措施进行防护,常见的屏幕防护基本上都是在屏幕上贴膜,当屏幕长期被阳光照射时,会导致贴膜的胶粘在了屏幕表层,使屏幕表层的清晰度降低,而且长期的紫外线照射会导致屏幕的颜色变色,严重会影响触摸屏失灵,影响导航仪屏幕的正常触屏使用。A car navigator is a kind of driving aids that can help users accurately locate the current location, calculate the itinerary according to the established destination, and guide the user to the destination through map display and voice prompts. It has basically become a vehicle. Necessary equipment, the car navigator is mainly composed of chips, antennas, processors, memory, and screens. In order to ensure the service life of the screen, appropriate measures are usually taken to protect the screen. The common screen protection is basically a film on the screen. When the screen is exposed to sunlight for a long time, the glue of the film will stick to the surface of the screen, which will reduce the clarity of the surface of the screen. Moreover, long-term ultraviolet radiation will cause the color of the screen to change color, which will seriously affect the failure of the touch screen and affect the screen of the navigator. Normal touch screen use.
实用新型内容Utility model content
本实用新型主要提供了车载导航仪的屏幕防护结构,用以解决上述背景技术中提出的技术问题。The utility model mainly provides a screen protection structure of a vehicle-mounted navigator, which is used to solve the technical problems raised in the above-mentioned background art.
本实用新型解决上述技术问题采用的技术方案为:The technical scheme adopted by the utility model to solve the above-mentioned technical problems is:
一种车载导航仪的屏幕防护结构,包括框架,所述框架的内部固定安装有显示屏,所述显示屏的顶部设有遮挡机构;A screen protection structure for a vehicle-mounted navigator, comprising a frame, a display screen is fixedly installed inside the frame, and a shielding mechanism is arranged on the top of the display screen;
所述遮挡机构包括推拉板,所述推拉板滑动连接于框架内,所述推拉板的一侧固定设有遮光折叠板,所述遮光折叠板的一端与框架一端开设的开槽槽壁固定连接,所述推拉板的顶部设有推手,所述推拉板的另一侧顶部固定设有定位框,所述定位框的顶端开设有与推手位置相对的穿孔,所述推手与穿孔活动穿插连接。The shielding mechanism includes a push-pull plate, which is slidably connected to the frame, one side of the push-pull plate is fixedly provided with a light-shielding folding plate, and one end of the light-shielding folding plate is fixedly connected to the slotted wall formed at one end of the frame. The top of the push-pull plate is provided with a push handle, the top of the other side of the push-pull plate is fixedly provided with a positioning frame, the top of the positioning frame is provided with a perforation opposite to the position of the push handle, and the push handle is movably connected to the perforation.
优选的,所述推拉板的两端均固定设有滑块,所述滑块的一端固定设有限位块,所述框架的两侧内壁均开设有与滑块位置相对的滑槽,所述滑块与位置相对的滑槽滑动连接。Preferably, both ends of the push-pull plate are fixedly provided with a slider, one end of the slider is fixed with a limit block, and the inner walls of both sides of the frame are provided with sliding grooves opposite to the slider. The sliding block is slidably connected with the chute at the opposite position.
优选的,所述限位块的一侧活动连接有两个滑辊,所述滑辊与滑槽的一侧内壁滑动连接,所述限位块的另一侧活动安装有多个等距分布的滚轮,所述滚轮与滑槽的另一侧内壁滑动连接。Preferably, two sliding rollers are movably connected to one side of the limit block, the sliding rollers are slidably connected to the inner wall of one side of the chute, and the other side of the limit block is movably installed with a plurality of equidistantly distributed The roller is slidably connected with the inner wall of the other side of the chute.
优选的,所述限位块的一端固定设有第一弹簧,所述第一弹簧的一端与框架一端开设的开槽槽壁固定连接。Preferably, one end of the limiting block is fixedly provided with a first spring, and one end of the first spring is fixedly connected to the slot wall formed at one end of the frame.
优选的,所述推拉板的顶部开设有内腔,所述推手的两端分别与内腔顶端两侧开设的开孔活动穿插连接,所述推手的底端固定设有连板,所述连板滑动连接于内腔的内部,所述连板的底端固定设有第二弹簧,所述第二弹簧的一端与内腔的底端腔壁固定连接。Preferably, the top of the push-pull plate is provided with an inner cavity, the two ends of the push handle are respectively connected with the openings on both sides of the top end of the inner cavity to be movably inserted and connected, and the bottom end of the push handle is fixedly provided with a connecting plate, and the connecting plate The plate is slidably connected to the interior of the inner cavity, the bottom end of the connecting plate is fixedly provided with a second spring, and one end of the second spring is fixedly connected to the cavity wall of the bottom end of the inner cavity.
优选的,所述推手呈U型形状。Preferably, the push handle is U-shaped.
与现有技术相比,本实用新型的有益效果为:Compared with the prior art, the beneficial effects of the present utility model are:
当车辆停放不使用车载导航仪时,通过遮光折叠板对车载导航仪的显示屏进行遮光保护,避屏幕长时间在阳光下暴晒造成屏幕变色或触摸屏失灵,同时具有防尘效果,延长屏幕的使用期限,利用限位块上的滑辊和滚轮保证推拉板在框架内滑动时的顺畅性,并通过定位框上的穿孔对推拉板上的推手进行定位,保证遮光折叠板对显示屏的遮挡效果,当车辆行驶使用车载导航仪时,推拉板在第一弹簧的弹力作用下带动遮光折叠板移动将遮光折叠板收进框架一端的开槽内,使显示屏显示出来,使用方便。When the vehicle is parked and the car navigator is not in use, the display screen of the car navigator is protected from light by the shading folding plate, so as to avoid the screen discoloration or touch screen failure caused by the long-term exposure of the screen to the sun. Use the sliding rollers and rollers on the limit block to ensure the smoothness of the sliding plate when sliding in the frame, and position the push handle on the sliding plate through the perforation on the positioning frame to ensure the shading effect of the shading folding plate on the display screen. , When the vehicle is running and using the car navigation system, the push-pull plate drives the shading folding plate to move under the elastic force of the first spring, and the shading folding plate is retracted into the slot at one end of the frame, so that the display screen can be displayed, which is convenient to use.
以下将结合附图与具体的实施例对本实用新型进行详细的解释说明。The present utility model will be explained in detail below with reference to the accompanying drawings and specific embodiments.
附图说明Description of drawings
图1为本实用新型的正面结构示意图;Fig. 1 is the front structure schematic diagram of the present utility model;
图2为本实用新型的俯视剖面结构示意图;Fig. 2 is the top view sectional structure schematic diagram of the utility model;
图3为本实用新型的图2中A处局部放大结构示意图;Fig. 3 is the partial enlarged structural schematic diagram of A in Fig. 2 of the present utility model;
图4为本实用新型的推手与推拉板之间侧面剖视结构示意图。FIG. 4 is a schematic view of a side cross-sectional structure between the push handle and the push-pull plate of the present invention.
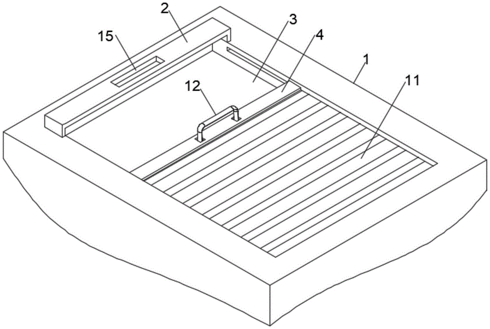
图中:1、框架;2、定位框;3、显示屏;4、推拉板;5、滑块;6、限位块;7、滑槽;8、滑辊;9、滚轮;10、第一弹簧;11、遮光折叠板;12、推手;13、连板;14、第二弹簧;15、穿孔。In the picture: 1. Frame; 2. Positioning frame; 3. Display screen; 4. Push-pull plate; 5. Slider; 6. Limit block; 7. Chute; 8. Roller; 9. Roller; 10. A spring; 11, a shading folding plate; 12, a push handle; 13, a connecting plate; 14, a second spring; 15, a perforation.
具体实施方式Detailed ways
为了便于理解本实用新型,下面将参照相关附图对本实用新型进行更加全面的描述,附图中给出了本实用新型的若干实施例,但是本实用新型可以通过不同的形式来实现,并不限于文本所描述的实施例,相反的,提供这些实施例是为了使对本实用新型公开的内容更加透彻全面。In order to facilitate the understanding of the present utility model, the present utility model will be more fully described below with reference to the related drawings. Several embodiments of the present utility model are given in the accompanying drawings, but the present utility model can be realized in different forms, and it is not We are limited to the embodiments described herein, but rather, these embodiments are provided so that this disclosure will be thorough and complete.
需要说明的是,当元件被称为“固设于”另一个元件,它可以直接在另一个元件上也可以存在居中的元件,当一个元件被认为是“连接”另一个元件,它可以是直接连接到另一个元件或者可能同时存在居中元件,本文所使用的术语“垂直的”、“水平的”、“左”、“右”以及类似的表述只是为了说明的目的。It should be noted that when an element is referred to as being "fixed" to another element, it may be directly on the other element or intervening elements may be present, and when an element is referred to as being "connected" to another element, it may be The terms "vertical," "horizontal," "left," "right," and similar expressions used herein are for the purpose of illustration only.
除非另有定义,本文所使用的所有的技术和科学术语与属于本实用新型的技术领域的技术人员通常连接的含义相同,本文中在本实用新型的说明书中所使用的术语知识为了描述具体的实施例的目的,不是旨在于限制本实用新型,本文所使用的术语“及/或”包括一个或多个相关的所列项目的任意的和所有的组合。Unless otherwise defined, all technical and scientific terms used herein have the same meaning as commonly connected by those skilled in the technical field of the present invention, and the terminology used herein in the description of the present invention is used for the purpose of describing specific For the purpose of the examples, and not for the purpose of limiting the present invention, the term "and/or" as used herein includes any and all combinations of one or more of the associated listed items.
请着重参照附图1-4,一种车载导航仪的屏幕防护结构,包括框架1,框架1的内部固定安装有显示屏3,显示屏3的顶部设有遮挡机构,遮挡机构包括推拉板4,推拉板4滑动连接于框架1内,推拉板4的一侧固定设有遮光折叠板11,遮光折叠板11的一端与框架1一端开设的开槽槽壁固定连接,推拉板4的顶部设有推手12,推拉板4的另一侧顶部固定设有定位框2,定位框2的顶端开设有与推手12位置相对的穿孔15,推手12与穿孔15活动穿插连接,通过遮光折叠板11对车载导航仪的显示屏3进行遮光保护,避屏幕长时间在阳光下暴晒造成屏幕变色或触摸屏失灵,同时具有防尘效果,延长屏幕的使用期限。Please emphatically refer to the accompanying drawings 1-4, a screen protection structure of a vehicle navigator, including a frame 1, a
推拉板4的两端均固定设有滑块5,滑块5的一端固定设有限位块6,框架1的两侧内壁均开设有与滑块5位置相对的滑槽7,滑块5与位置相对的滑槽7滑动连接,限位块6的一侧活动连接有两个滑辊8,滑辊8与滑槽7的一侧内壁滑动连接,限位块6的另一侧活动安装有多个等距分布的滚轮9,滚轮9与滑槽7的另一侧内壁滑动连接,限位块6的一端固定设有第一弹簧10,第一弹簧10的一端与框架1一端开设的开槽槽壁固定连接,利用限位块6上的滑辊8和滚轮9保证推拉板4在框架1内滑动时的顺畅性。Both ends of the push-
推拉板4的顶部开设有内腔,推手12的两端分别与内腔顶端两侧开设的开孔活动穿插连接,推手12的底端固定设有连板13,连板13滑动连接于内腔的内部,连板13的底端固定设有第二弹簧14,第二弹簧14的一端与内腔的底端腔壁固定连接,推手12呈U型形状。The top of the push-
本实用新型的具体操作方式如下:The concrete operation mode of the present utility model is as follows:
操作时,当车辆停放不使用车载导航仪时,握住推手12,推手12带动推拉板4往定位框2的方向移动,推拉板4带动遮光折叠板11移动,此时遮光折叠板11逐渐拉伸展开,第一弹簧10处于逐渐拉伸状态,当推拉板4上的推手12移动到定位框2跟前时,按压推手12,推手12通过连板13对第二弹簧14进行挤压,继续移动推拉板4,使推拉板4进入定位框2内,当推拉板4上的推手12与定位框2上的穿孔15对齐时,连板13在第二弹簧14的弹力作用下带动推手12向上移动卡进穿孔15内,以此固定推拉板4的位置,此时遮光折叠板11处于展开状态置于显示屏3的上方对显示屏3进行遮光防尘;During operation, when the vehicle is parked and the in-vehicle navigator is not used, hold the
当车辆行驶使用车载导航仪时,按压推手12,推手12通过连板13对第二弹簧14进行挤压,将推拉板4从定位框2内移出,推拉板4在第一弹簧10的弹力作用下带动遮光折叠板11往回移动,此时遮光折叠板11逐渐收缩,当推拉板4移动到框架1一端的开槽跟前时,遮光折叠板11收进开槽内放置,使用方便,遮光和防尘效果好,提高显示屏3的使用期限。When the vehicle is running and using the in-vehicle navigator, the push handle 12 is pressed, and the push handle 12 squeezes the
上述结合附图对本实用新型进行了示例性描述,显然本实用新型具体实现并不受上述方式的限制,只要采用了本实用新型的方法构思和技术方案进行的这种非实质改进,或未经改进将本实用新型的构思和技术方案直接应用于其他场合的,均在本实用新型的保护范围之内。The present utility model has been exemplarily described above in conjunction with the accompanying drawings. Obviously, the specific implementation of the present utility model is not limited by the above-mentioned methods, as long as the non-substantial improvement made by the method concept and technical solution of the present utility model is adopted, or the Improvements in which the concept and technical solutions of the present invention are directly applied to other occasions are all within the protection scope of the present invention.
Claims (6)
Priority Applications (1)
| Application Number | Priority Date | Filing Date | Title |
|---|---|---|---|
| CN202020751329.2U CN212172105U (en) | 2020-05-09 | 2020-05-09 | Screen protection structure of vehicle-mounted navigator |
Applications Claiming Priority (1)
| Application Number | Priority Date | Filing Date | Title |
|---|---|---|---|
| CN202020751329.2U CN212172105U (en) | 2020-05-09 | 2020-05-09 | Screen protection structure of vehicle-mounted navigator |
Publications (1)
| Publication Number | Publication Date |
|---|---|
| CN212172105U true CN212172105U (en) | 2020-12-18 |
Family
ID=73774452
Family Applications (1)
| Application Number | Title | Priority Date | Filing Date |
|---|---|---|---|
| CN202020751329.2U Active CN212172105U (en) | 2020-05-09 | 2020-05-09 | Screen protection structure of vehicle-mounted navigator |
Country Status (1)
| Country | Link |
|---|---|
| CN (1) | CN212172105U (en) |
Cited By (2)
| Publication number | Priority date | Publication date | Assignee | Title |
|---|---|---|---|---|
| CN113335192A (en) * | 2021-06-17 | 2021-09-03 | 浙江吉利控股集团有限公司 | Sliding screen mounting structure and vehicle comprising same |
| CN113808479A (en) * | 2021-08-27 | 2021-12-17 | 陈至捷 | Vehicle-mounted navigation display |
-
2020
- 2020-05-09 CN CN202020751329.2U patent/CN212172105U/en active Active
Cited By (4)
| Publication number | Priority date | Publication date | Assignee | Title |
|---|---|---|---|---|
| CN113335192A (en) * | 2021-06-17 | 2021-09-03 | 浙江吉利控股集团有限公司 | Sliding screen mounting structure and vehicle comprising same |
| CN113335192B (en) * | 2021-06-17 | 2022-07-29 | 浙江吉利控股集团有限公司 | Sliding screen mounting structure and vehicle comprising same |
| CN113808479A (en) * | 2021-08-27 | 2021-12-17 | 陈至捷 | Vehicle-mounted navigation display |
| CN113808479B (en) * | 2021-08-27 | 2023-08-18 | 谢培钦 | Vehicle navigation display |
Similar Documents
| Publication | Publication Date | Title |
|---|---|---|
| CN212172105U (en) | Screen protection structure of vehicle-mounted navigator | |
| CN101634760B (en) | Display device | |
| CN108924310A (en) | a mobile terminal | |
| WO2022033244A1 (en) | Display device | |
| CN207676538U (en) | A financial economics teaching display board | |
| CN210053405U (en) | Optical time domain reflectometer with supporting mechanism | |
| CN206259076U (en) | Mathematical Modeling demonstration teaching aid | |
| CN201257846Y (en) | Movable composite blackboard with post projection curtain | |
| CN211787274U (en) | Face entrance guard that protecting effect is good | |
| CN216486830U (en) | Ideological and political education guiding device based on new media | |
| CN209641242U (en) | A multi-screen splicing structure of electronic ink screen | |
| CN221292908U (en) | Spliced automobile sunshade roller shutter | |
| CN210743320U (en) | Auxiliary memory device for public English words | |
| CN211827641U (en) | A translator for English teaching | |
| CN211021976U (en) | Tenon fourth of twelve earthly branches mounting frame | |
| CN213751427U (en) | Spoken english pronunciation illustration display device | |
| CN218159550U (en) | Guide mark for cultural wound propaganda | |
| CN221442198U (en) | Tourism management brief introduction service platform | |
| CN221285224U (en) | Building information model display device | |
| CN221392797U (en) | Hearing training teaching device | |
| CN221750093U (en) | Achievements management device for engineering consultation | |
| CN221720225U (en) | Drawing rolling device | |
| CN215933138U (en) | Outdoor publicity column is used in party building propaganda | |
| CN220584890U (en) | Cultural activity planning display stand | |
| CN219016977U (en) | English translator with voice function |
Legal Events
| Date | Code | Title | Description |
|---|---|---|---|
| GR01 | Patent grant | ||
| GR01 | Patent grant | ||
| CP03 | Change of name, title or address | ||
| CP03 | Change of name, title or address |
Address after: 344000 first floor, Zhanghu medical building, Qianping Industrial Park, Le'an County, Fuzhou City, Jiangxi Province Patentee after: Jiangxi Yunzhi Yilian Technology Co.,Ltd. Country or region after: China Address before: 344000 first floor, Zhanghu medical building, Qianping Industrial Park, Le'an County, Fuzhou City, Jiangxi Province Patentee before: Le'an Yunzhi Yi Lian Technology Co.,Ltd. Country or region before: China |
|
| TR01 | Transfer of patent right | ||
| TR01 | Transfer of patent right |
Effective date of registration: 20241106 Address after: 344000 No. 6, south side of South Ring Road, Qianping Industrial Park, Le'an County, Fuzhou City, Jiangxi Province Patentee after: Jiangxi Hand Care Medical Technology Co.,Ltd. Country or region after: China Address before: 344000 first floor, Zhanghu medical building, Qianping Industrial Park, Le'an County, Fuzhou City, Jiangxi Province Patentee before: Jiangxi Yunzhi Yilian Technology Co.,Ltd. Country or region before: China |
|
| TR01 | Transfer of patent right | ||
| TR01 | Transfer of patent right |
Effective date of registration: 20250904 Address after: 344000 first floor, Zhanghu medical building, Qianping Industrial Park, Le'an County, Fuzhou City, Jiangxi Province Patentee after: Jiangxi Yunzhi Yilian Technology Co.,Ltd. Country or region after: China Address before: 344000 No. 6, south side of South Ring Road, Qianping Industrial Park, Le'an County, Fuzhou City, Jiangxi Province Patentee before: Jiangxi Hand Care Medical Technology Co.,Ltd. Country or region before: China |
