CN212154262U - 一种新型智能卫生间 - Google Patents
一种新型智能卫生间 Download PDFInfo
- Publication number
- CN212154262U CN212154262U CN201922459466.9U CN201922459466U CN212154262U CN 212154262 U CN212154262 U CN 212154262U CN 201922459466 U CN201922459466 U CN 201922459466U CN 212154262 U CN212154262 U CN 212154262U
- Authority
- CN
- China
- Prior art keywords
- toilet
- wall body
- water
- automatic
- flushing
- Prior art date
- Legal status (The legal status is an assumption and is not a legal conclusion. Google has not performed a legal analysis and makes no representation as to the accuracy of the status listed.)
- Active
Links
- 238000004140 cleaning Methods 0.000 claims abstract description 48
- XLYOFNOQVPJJNP-UHFFFAOYSA-N water Substances O XLYOFNOQVPJJNP-UHFFFAOYSA-N 0.000 claims abstract description 42
- 238000004659 sterilization and disinfection Methods 0.000 claims abstract description 19
- 238000005406 washing Methods 0.000 claims abstract description 18
- 239000011521 glass Substances 0.000 claims abstract description 15
- 238000000889 atomisation Methods 0.000 claims abstract description 10
- 238000011010 flushing procedure Methods 0.000 claims description 21
- 239000007921 spray Substances 0.000 claims description 16
- 238000000746 purification Methods 0.000 claims description 12
- 239000000645 desinfectant Substances 0.000 claims description 11
- 239000007788 liquid Substances 0.000 claims description 10
- 238000012544 monitoring process Methods 0.000 claims description 9
- 230000001680 brushing effect Effects 0.000 claims description 6
- 241000894006 Bacteria Species 0.000 claims description 3
- 238000001514 detection method Methods 0.000 claims description 3
- 238000005485 electric heating Methods 0.000 claims description 3
- 238000005034 decoration Methods 0.000 description 1
- 238000010586 diagram Methods 0.000 description 1
- 230000000694 effects Effects 0.000 description 1
- 238000012986 modification Methods 0.000 description 1
- 230000004048 modification Effects 0.000 description 1
- NJPPVKZQTLUDBO-UHFFFAOYSA-N novaluron Chemical compound C1=C(Cl)C(OC(F)(F)C(OC(F)(F)F)F)=CC=C1NC(=O)NC(=O)C1=C(F)C=CC=C1F NJPPVKZQTLUDBO-UHFFFAOYSA-N 0.000 description 1
- 239000002699 waste material Substances 0.000 description 1
Images
Landscapes
- Bidet-Like Cleaning Device And Other Flush Toilet Accessories (AREA)
Abstract
本实用新型公开了一种新型智能卫生间,包括卫生间本体,所述卫生间本体截面为扇形,沿半径方向设有内部均为中空结构的左墙体、右墙体,在所述左墙体、右墙体的连接处设有自动旋转坐便器;在所述左墙体内设有冲洗室、洗手装置、节水处理装置;所述右墙体内设有洁净室、压力泵、中央控制机构、外接设备模块;所述左墙体、右墙体的上部设有储水箱;所述卫生间本体的前部为电子雾化玻璃自动门;所述卫生间本体的顶部设有自动清洗装置;本实用新型整体结构采用直角式布置方式,给使用者以更大的空间感;将马桶主体与马桶盖分开单独清洗消毒,保证清洁消毒更充分,通过中央控制机构将各功能的控制整合到一起,使整个卫生间的智能化水平得到强化。
Description
技术领域
本实用新型涉及卫生间技术领域,具体是一种新型智能卫生间。
背景技术
我国城市发展迅速,旅游景区、各大公园、大型商业街等是投入较多的发展经济的产业,但是公共卫生间长期存在脏乱差的现象。现有公共卫生间还大都处于较低档次,仅仅是装修精致一些,还没有达到智能化水平,尤其在空间利用、卫生清洁、舒适度等方面还处于较低水平。现有公共卫生间,虽然装设了坐便器,但是人们对于其卫生清洁状况不满意,导致资源不能充分利用,甚至人为破坏;还有一些公共卫生间虽然增加了一些智能设备,但存在功能单一、适应性差,没有真正解决问题。
实用新型内容
本实用新型要解决的技术问题是:为克服上述问题,提供一种新型智能卫生间。
本实用新型解决其技术问题所采用的技术方案是:一种新型智能卫生间,包括卫生间本体,所述卫生间本体截面为扇形,沿半径方向设有内部均为中空结构的左墙体、右墙体,在所述左墙体、右墙体的连接处设有自动旋转坐便器;在所述左墙体内设有冲洗室、洗手装置、节水处理装置;所述右墙体内设有洁净室、压力泵、中央控制机构、外接设备模块;所述左墙体、右墙体的上部设有储水箱;所述卫生间本体的前部为电子雾化玻璃自动门;所述卫生间本体的顶部设有自动清洗装置。
所述自动旋转坐便器包括上驱动电机、下驱动电机、旋转轴,所述上驱动电机、下驱动电机均设有主动齿轮;所述旋转轴内部设有空腔,所述旋转轴从下到上依次设有两个与驱动齿轮相配的从动齿轮,所述从动齿轮上设有马桶主体、马桶盖;所述马桶主体、马桶盖均单独旋转,所述马桶主体、马桶盖分别位于所述冲洗室和所述洁净室内;所述马桶主体设有冲洗管并穿入所述旋转轴的空腔内。
所述冲洗室内设有刷洗装置、液体消毒装置、热风循环装置、细菌检测装置,所述刷洗装置包括移动架,所述移动架上设有旋转刷,所述旋转刷设有喷水口,所述喷水口通过管道与清洗液储存罐连接;所述液体消毒装置位于所述冲洗室的上部,所述液体消毒装置包括消毒液储存罐及通过管道与其连通的消毒液喷嘴;所述热风循环装置包括风机、电热管。
所述洁净室设有净水清洗装置、紫外线消毒装置,所述净水清洗装置位于所述洁净室的上部,能对马桶盖进行全方位的快速清洗;所述紫外线消毒装置为紫外线发生器,能对马桶盖进行全面消毒,并且不存在消毒液残留问题;
所述自动清洗装置包括驱动电机、伸缩杆、三维喷头组件,所述三维喷头组件包括水平旋转的支架,所述支架上设有垂直旋转的喷头。
所述中央控制机构包括控制模块、监控模块,所述控制模块通过数据线与所述自动旋转坐便器、所述自动清洗装置、所述冲洗室、所述洁净室及电子雾化玻璃自动门的电气元件关联工作,所述监控模块用于统计如厕人数。
本实用新型中,所述节水处理装置包括净水清洗单元、收集水冲洗单元,所述净水清洗单元与所述冲洗室、所述洁净室、所述洗手装置、所述自动清洗装置的供水管路连接,所述收集水冲洗单元与所述冲洗室的供水管路连接,所述收集水冲洗单元与所述洁净室、所述洗手装置、所述自动清洗装置的回水管路连接。
本实用新型中,所述电子雾化玻璃自动门设有电子雾化处理模块、门锁信号处理模块;在无人使用卫生间的时候,玻璃门为透明状态,有人使用卫生间时,玻璃门为雾化状态。
所述自动清洗装置与监控模块相连接,在统计人数达到设定值时,自动清洗装置开启。
本实用新型的有益效果是:
1、本实用新型整体结构采用直角式布置方式,在不增加卫生间占地面积的基础上,给使用者以更大的空间感;
2、本实用新型将马桶主体与马桶盖分开单独清洗消毒,并分别采用独立存储空间,保证清洁消毒更充分,让人们更加放心使用;
3、本实用新型通过设置中央控制机构将各功能的控制整合到一起,使整个卫生间的智能化水平进一步得到强化。
附图说明
图1、本实用新型的结构示意图;
图2、本实用新型的自动旋转坐便器的结构示意图;
图3、本实用新型的冲洗室的结构示意图;
图4、本实用新型的洁净室的结构示意图;
图5、本实用新型的自动清洗装置的结构示意图;
图6、本实用新型的中央控制机构的结构示意图;
图7、本实用新型的节水处理装置的结构示意图。
具体实施方式
现在结合附图对本实用新型作进一步详细的说明,这些附图均为简化的示意图,仅以示意方式说明本实用新型的基本结构,因此其仅显示与本实用新型有关的构成。
如图1-7所示,一种新型智能卫生间,包括卫生间本体1,所述卫生间本体1截面为扇形,沿半径方向设有内部均为中空结构的左墙体101、右墙体102,在所述左墙体101、右墙体102的连接处设有自动旋转坐便器2;在所述左墙体101内设有冲洗室3、洗手装置4、节水处理装置5;所述右墙体102内设有洁净室6、压力泵7、中央控制机构8、外接设备模块9;所述左墙体101、右墙体102的上部设有储水箱10;所述卫生间本体1的前部为电子雾化玻璃自动门11;所述卫生间本体1的顶部设有自动清洗装置12。
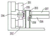
所述自动旋转坐便器2包括上驱动电机201、下驱动电机202、旋转轴203,所述上驱动电机201、下驱动电机202均设有主动齿轮204;所述旋转轴203内部设有空腔,所述旋转轴203从下到上依次设有两个与驱动齿轮相配的从动齿轮205,所述从动齿轮205上设有马桶主体206、马桶盖207;所述马桶主体206、马桶盖207均单独旋转,所述马桶主体206、马桶盖207分别位于所述冲洗室3和所述洁净室6内;所述马桶主体206设有冲洗管208并穿入所述旋转轴203的空腔内。
所述冲洗室3内设有刷洗装置301、液体消毒装置302、热风循环装置303、细菌检测装置304,所述刷洗装置301包括移动架301.1,所述移动架301.1上设有旋转刷301.2,所述旋转刷301.2设有喷水口301.3,所述喷水口301.3通过管道与清洗液储存罐301.4连接;所述液体消毒装置302位于所述冲洗室3的上部,所述液体消毒装置302包括消毒液储存罐302.1及通过管道与其连通的消毒液喷嘴302.2;所述热风循环装置303包括风机303.1、电热管303.2。
所述洁净室6设有净水清洗装置601、紫外线消毒装置602,所述净水清洗装置601位于所述洁净室6的上部,能对马桶盖207进行全方位的快速清洗;所述紫外线消毒装置602为紫外线发生器,能对马桶盖207进行全面消毒,并且不存在消毒液残留问题。
所述自动清洗装置12包括驱动电机12.1、伸缩杆12.2、三维喷头组件12.3,所述三维喷头组件12.3包括水平旋转的支架12.31,所述支架12.31上设有垂直旋转的喷头12.32。本装置采用伸缩式结构及旋转式喷头,能够覆盖整个卫生间,使清洁无死角。
所述中央控制机构8包括控制模块801、监控模块802,所述控制模块801通过数据线与所述自动旋转坐便器2、所述自动清洗装置12、所述冲洗室3、所述洁净室6及电子雾化玻璃自动门11的电气元件关联工作,所述监控模块802用于统计如厕人数。
本实施例中,所述节水处理装置5包括净水清洗单元501、收集水冲洗单元502,所述净水清洗单元501与所述冲洗室3、所述洁净室6、所述洗手装置4、所述自动清洗装置12的供水管路连接,所述收集水冲洗单元502与所述冲洗室3的供水管路连接,所述收集水冲洗单元502与所述洁净室6、所述洗手装置4、自动清洗装置12的回水管路连接。通过设置本装置,能够充分利用水资源,减少水资源的浪费。
本实施例中,所述电子雾化玻璃自动门11设有电子雾化处理模块、门锁信号处理模块;在无人使用卫生间的时候,玻璃门为透明状态,有人使用卫生间时,玻璃门为雾化状态。通过该结构,在无人使用时在外面就能看到内部结构,更有利于展示内部清洁情况。
所述自动清洗装置12与监控模块802相连接,在统计人数达到设定值时,自动清洗装置12开启。
本实用新型在使用时:如厕者到达卫生间门口,自动门自动打开,进入后自动关闭,并将所有玻璃呈雾化状态;如厕者可按自动旋转坐便器的启动按钮,并可选择是否使用马桶盖,使用后如厕者离开时,自动旋转坐便器将自动旋入冲洗室进行冲洗消毒;当使用者达到设定数值时,自动清洗装置将开启对整个卫生间进行清洗,达到整体清洁的效果,减少了清洁人员的工作。
本实用新型整体结构采用直角式布置方式,在不增加卫生间占地面积的基础上,给使用者以更大的空间感;本实用新型将马桶主体与马桶盖分开单独清洗消毒,并分别采用独立存储空间,保证清洁消毒更充分,让人们更加放心使用;本实用新型通过设置中央控制机构将各功能的控制整合到一起,使整个卫生间的智能化水平进一步得到强化。
以上述依据本实用新型的理想实施例为启示,通过上述的说明内容,相关工作人员完全可以在不偏离本项实用新型技术思想的范围内,进行多样的变更以及修改,本项实用新型的技术性范围并不局限于说明书上的内容,必须要根据权利要求范围来确定其技术性范围。
Claims (4)
1.一种新型智能卫生间,其特征在于:包括卫生间本体,所述卫生间本体截面为扇形,沿半径方向设有内部均为中空结构的左墙体、右墙体,在所述左墙体、右墙体的连接处设有自动旋转坐便器;在所述左墙体内设有冲洗室、洗手装置、节水处理装置;所述右墙体内设有洁净室、压力泵、中央控制机构、外接设备模块;所述左墙体、右墙体的上部设有储水箱;所述卫生间本体的前部为电子雾化玻璃自动门;所述卫生间本体的顶部设有自动清洗装置;
所述自动旋转坐便器包括上驱动电机、下驱动电机、旋转轴,所述上驱动电机、下驱动电机均设有主动齿轮;所述旋转轴内部设有空腔,所述旋转轴从下到上依次设有两个与驱动齿轮相配的从动齿轮,所述从动齿轮上设有马桶主体、马桶盖;所述马桶主体、马桶盖均单独旋转,所述马桶主体、马桶盖分别位于所述冲洗室和所述洁净室内;所述马桶主体设有冲洗管并穿入所述旋转轴的空腔内;
所述冲洗室内设有刷洗装置、液体消毒装置、热风循环装置、细菌检测装置,所述刷洗装置包括移动架,所述移动架上设有旋转刷,所述旋转刷设有喷水口,所述喷水口通过管道与清洗液储存罐连接;所述液体消毒装置位于所述冲洗室的上部,所述液体消毒装置包括消毒液储存罐及通过管道与其连通的消毒液喷嘴;所述热风循环装置包括风机、电热管;
所述洁净室设有净水清洗装置、紫外线消毒装置,所述净水清洗装置位于所述洁净室的上部;所述紫外线消毒装置为紫外线发生器;
所述自动清洗装置包括驱动电机、伸缩杆、三维喷头组件,所述三维喷头组件包括水平旋转的支架,所述支架上设有垂直旋转的喷头;
所述中央控制机构包括控制模块、监控模块,所述控制模块通过数据线与所述自动旋转坐便器、所述自动清洗装置、所述冲洗室、所述洁净室及电子雾化玻璃自动门的电气元件关联工作,所述监控模块用于统计如厕人数。
2.如权利要求1所述的一种新型智能卫生间,其特征在于:所述节水处理装置包括净水清洗单元、收集水冲洗单元,所述净水清洗单元与所述冲洗室、所述洁净室、所述洗手装置、所述自动清洗装置的供水管路连接,所述收集水冲洗单元与所述冲洗室的供水管路连接,所述收集水冲洗单元与所述洁净室、所述洗手装置、所述自动清洗装置的回水管路连接。
3.如权利要求1所述的一种新型智能卫生间,其特征在于:所述电子雾化玻璃自动门设有电子雾化处理模块、门锁信号处理模块。
4.如权利要求1所述的一种新型智能卫生间,其特征在于:所述自动清洗装置与监控模块相连接,在统计人数达到设定值时,自动清洗装置开启。
Priority Applications (1)
| Application Number | Priority Date | Filing Date | Title |
|---|---|---|---|
| CN201922459466.9U CN212154262U (zh) | 2019-12-31 | 2019-12-31 | 一种新型智能卫生间 |
Applications Claiming Priority (1)
| Application Number | Priority Date | Filing Date | Title |
|---|---|---|---|
| CN201922459466.9U CN212154262U (zh) | 2019-12-31 | 2019-12-31 | 一种新型智能卫生间 |
Publications (1)
| Publication Number | Publication Date |
|---|---|
| CN212154262U true CN212154262U (zh) | 2020-12-15 |
Family
ID=73708546
Family Applications (1)
| Application Number | Title | Priority Date | Filing Date |
|---|---|---|---|
| CN201922459466.9U Active CN212154262U (zh) | 2019-12-31 | 2019-12-31 | 一种新型智能卫生间 |
Country Status (1)
| Country | Link |
|---|---|
| CN (1) | CN212154262U (zh) |
Cited By (1)
| Publication number | Priority date | Publication date | Assignee | Title |
|---|---|---|---|---|
| CN110939297A (zh) * | 2019-12-31 | 2020-03-31 | 日照大象房屋建设有限公司 | 一种智能卫生间 |
-
2019
- 2019-12-31 CN CN201922459466.9U patent/CN212154262U/zh active Active
Cited By (2)
| Publication number | Priority date | Publication date | Assignee | Title |
|---|---|---|---|---|
| CN110939297A (zh) * | 2019-12-31 | 2020-03-31 | 日照大象房屋建设有限公司 | 一种智能卫生间 |
| CN110939297B (zh) * | 2019-12-31 | 2025-04-11 | 日照大象房屋建设有限公司 | 一种智能卫生间 |
Similar Documents
| Publication | Publication Date | Title |
|---|---|---|
| KR102249345B1 (ko) | 세척 및 살균 기능을 가진 양변기 | |
| CN106320752A (zh) | 一种多功能整合型卫浴 | |
| CN110725571B (zh) | 一种环保公厕小便间及其实现方法 | |
| CN104088347A (zh) | 全自动节水防溅臀蹲坐两用便器 | |
| CN204001126U (zh) | 全自动节水防溅臀蹲坐两用便器 | |
| CN203420340U (zh) | 一种具有自动杀菌的马桶 | |
| CN110939297B (zh) | 一种智能卫生间 | |
| CN212154262U (zh) | 一种新型智能卫生间 | |
| CN110629847A (zh) | 小便池清洁系统及自清洁卫生间 | |
| US7269863B1 (en) | Automatic self-cleaning toilet | |
| CN210151867U (zh) | 一种翻转式智能节水杀菌坐便器 | |
| CN109458005A (zh) | 一种整体卫厕系统 | |
| CN104499555B (zh) | 一种隐藏式小便器 | |
| CN113529884A (zh) | 一种公厕马桶、蹲便及小便器的清洁装置 | |
| CN214402028U (zh) | 一种装配式公厕的智能感应排水结构 | |
| US6944894B1 (en) | Self-cleaning toilet | |
| CN206308766U (zh) | 一种折叠卫生间 | |
| CN201008530Y (zh) | 一种坐便器及其底座 | |
| CN201059002Y (zh) | 公共楼宇废水再利用系统 | |
| CN213897376U (zh) | 一种无人管理无人打扫的装配式移动公厕 | |
| CN215802085U (zh) | 一种用于城市公共厕所的环保便池 | |
| CN209595611U (zh) | 坐便冲水电动刮便器 | |
| CN221760817U (zh) | 一种具有防堵塞功能的洗手池 | |
| CN217500456U (zh) | 一种集杀菌及一体式感应伸缩接盘防外滴尿的小便器 | |
| CN219386539U (zh) | 一种自清洗式蹲便器 |
Legal Events
| Date | Code | Title | Description |
|---|---|---|---|
| GR01 | Patent grant | ||
| GR01 | Patent grant |