CN212152845U - A drying device for garment processing - Google Patents
A drying device for garment processing Download PDFInfo
- Publication number
- CN212152845U CN212152845U CN202020527031.3U CN202020527031U CN212152845U CN 212152845 U CN212152845 U CN 212152845U CN 202020527031 U CN202020527031 U CN 202020527031U CN 212152845 U CN212152845 U CN 212152845U
- Authority
- CN
- China
- Prior art keywords
- heating
- drying
- drying box
- box body
- rotating
- Prior art date
- Legal status (The legal status is an assumption and is not a legal conclusion. Google has not performed a legal analysis and makes no representation as to the accuracy of the status listed.)
- Expired - Fee Related
Links
Images
Landscapes
- Detail Structures Of Washing Machines And Dryers (AREA)
- Drying Of Solid Materials (AREA)
Abstract
本实用新型涉及服装加工技术领域,尤其涉及的是一种用于服装加工的烘干装置,包括烘干箱体、加热装置、旋转装置,所述加热装置包括第一加热装置、第二加热装置,所述旋转装置设置在烘干箱体内,所述旋转装置包括旋转底座、转轴,所述旋转底座设置在烘干箱体的底部,所述转轴的底端与旋转底座连接,所述转轴上设置有若干个挂衣层杆,所述挂衣层杆包括与转轴转动连接的若干个挂衣杆,所述挂衣杆上设置有挂孔,所述旋转底座连接有电机,所述电机与外部电源连接,所述烘干箱体的前侧设置有与烘干箱体合页连接的箱门。本实用新型结构简单,操作方便,受热均匀,烘干速度快,满足了规模化的烘干,满足了人们的需求。
The utility model relates to the technical field of garment processing, in particular to a drying device for garment processing, comprising a drying box, a heating device and a rotating device, wherein the heating device comprises a first heating device and a second heating device , the rotating device is arranged in the drying box, the rotating device includes a rotating base and a rotating shaft, the rotating base is arranged at the bottom of the drying box, the bottom end of the rotating shaft is connected with the rotating base, and the rotating shaft is on the rotating base. A plurality of clothes-hanging layer rods are provided, and the clothes-hanging layer rods include a plurality of clothes-hanging rods rotatably connected with the rotating shaft. The clothes-hanging rods are provided with hanging holes; The external power supply is connected, and the front side of the drying box is provided with a box door connected with the hinge of the drying box. The utility model has the advantages of simple structure, convenient operation, uniform heating and high drying speed, which can meet the needs of large-scale drying and people's needs.
Description
技术领域technical field
本实用新型涉及服装加工技术领域,尤其涉及的是一种用于服装加工的烘干装置。The utility model relates to the technical field of garment processing, in particular to a drying device for garment processing.
背景技术Background technique
在服装清洗或者保存过程中,经常需要进行烘干,这是就需要用到服装加工用烘干机。目前,市场上现有的服装加工用的烘干机使用的局限性大,无法对服装进行全方位的烘干,无法保证每件服装在加工后都能保持干燥,对服装烘干效果不佳,不能满足规模化烘干,不能满足人们的需求。另外,在烘干作业结束之后,因为烘干箱内部温度很高,需要等待一段时间才能拿出衣服,降低了服装加工的效率。In the process of clothing cleaning or storage, drying is often required, which requires the use of a dryer for clothing processing. At present, the existing drying machines for clothing processing on the market have great limitations, and cannot dry clothing in all directions, and cannot guarantee that each piece of clothing can be kept dry after processing, so the drying effect on clothing is not good. , can not meet the large-scale drying, can not meet the needs of people. In addition, after the drying operation is completed, because the internal temperature of the drying box is very high, it takes a period of time to take out the clothes, which reduces the efficiency of garment processing.
实用新型内容Utility model content
本实用新型的目的在于克服上述不足,提供一种用于服装加工的烘干装置,其受热均匀,烘干效果佳,烘干完后无需等待即可拿出服装,生产加工效率高。The purpose of the utility model is to overcome the above deficiencies and provide a drying device for garment processing, which is heated evenly, has a good drying effect, and can take out the garment without waiting after drying, and has high production and processing efficiency.
为实现上述目的,本实用新型的技术解决方案是:一种用于服装加工的烘干装置,包括烘干箱体、加热装置、旋转装置,所述加热装置包括设置在烘干箱体左侧的第一加热装置、设置在烘干箱体右侧的第二加热装置,所述旋转装置设置在烘干箱体内,所述旋转装置包括旋转底座、转轴,所述旋转底座设置在烘干箱体的底部,所述转轴的底端与旋转底座连接,所述转轴上设置有若干个挂衣层杆,所述挂衣层杆包括与转轴转动连接的若干个挂衣杆,所述挂衣杆上设置有挂孔,所述旋转底座连接有电机,所述电机与外部电源连接,所述烘干箱体的前侧设置有与烘干箱体合页连接的箱门。In order to achieve the above purpose, the technical solution of the present invention is: a drying device for garment processing, comprising a drying box, a heating device, and a rotating device, and the heating device includes a drying box disposed on the left side of the drying box. The first heating device and the second heating device arranged on the right side of the drying box, the rotating device is arranged in the drying box, the rotating device includes a rotating base and a rotating shaft, and the rotating base is arranged in the drying box The bottom end of the rotating shaft is connected to the rotating base, and the rotating shaft is provided with several clothes-hanging layer rods, and the clothes-hanging layer rods include several clothes-hanging rods rotatably connected to the A hanging hole is arranged on the rod, a motor is connected to the rotating base, and the motor is connected to an external power supply, and a box door connected to the hinge of the drying box is arranged on the front side of the drying box.
优选的,所述第一加热装置包括设置在烘干箱体外左侧的第一加热箱、设置在烘干箱体内左侧的第一出风板、设置在第一加热箱左侧的第一风机,所述第一加热箱内设置有第一加热板,所述第一出风板内设置有第一出风管,所述第一出风管与第一加热箱连通,所述第一风机与外部电源连接。Preferably, the first heating device includes a first heating box arranged on the left side of the drying box, a first air outlet plate arranged on the left side of the drying box, and a first heating box arranged on the left side of the first heating box. A fan, a first heating plate is arranged in the first heating box, a first air outlet pipe is arranged in the first air outlet plate, the first air outlet pipe is communicated with the first heating box, and the first air outlet pipe is connected with the first heating box. A fan is connected to an external power source.
优选的,所述第二加热装置包括设置在烘干箱体外右侧的第二加热箱、设置在烘干箱体内右侧的第二出风板、设置在第二加热箱右侧的第二风机,所述第二加热箱内设置有第二加热板,所述第二出风板内设置有第二出风管,所述第二出风管与第二加热箱连通,所述第二风机与外部电源连接。Preferably, the second heating device includes a second heating box arranged on the right side of the drying box, a second air outlet plate arranged on the right side of the drying box, and a second heating box arranged on the right side of the second heating box. Two fans, the second heating box is provided with a second heating plate, the second air outlet plate is provided with a second air outlet pipe, the second air outlet pipe is communicated with the second heating box, and the second air outlet pipe is arranged in the second heating box. The second fan is connected to the external power supply.
优选的,所述烘干箱体外设置有抽气泵,所述抽气泵上端连接有抽气管道,所述抽气管道的另一端与烘干箱体内连通,所述抽气泵与外部电源连接,所述抽气泵用于将烘干箱体内多余的热量抽出烘干箱体外,烘干完后,烘干箱体内的温度立即降下来,无需等待就可以把烘干箱体内的衣服取出来。Preferably, an air extraction pump is provided outside the drying box, an air extraction pipeline is connected to the upper end of the air extraction pump, the other end of the air extraction pipeline is communicated with the inside of the drying box, and the air extraction pump is connected to an external power supply, The air pump is used to extract the excess heat in the drying box out of the drying box. After drying, the temperature in the drying box immediately drops, and the clothes in the drying box can be taken out without waiting.
优选的,所述箱门上设置有透明窗,可以随时观察烘干箱体内的状态。Preferably, the box door is provided with a transparent window, so that the state of the drying box can be observed at any time.
本实用新型的使用方法:打开箱门,将待烘干的面料悬挂在挂衣杆上,关上箱门,开启加热装置和旋转装置、抽气泵,待烘干完毕后,打开箱门,即可取出烘干完的面料。The use method of the utility model: open the box door, hang the fabric to be dried on the clothes rail, close the box door, turn on the heating device, the rotating device and the air pump, and after the drying is completed, open the box door to Remove the dried fabric.
通过采用上述的技术方案,本实用新型的有益效果是:本实用新型通过在烘干箱体内设置了第一出风板、第二出风板、旋转装置,采用左右同时给风的方式,再加上面料360°全方位的旋转,使得面料受热均匀,加快了烘干速度。本实用新型还在烘干箱体外设置了抽气泵,用于抽出烘干箱体内多余的热量,且烘干作业完后,无需等待烘干箱体温度的降低,即可取出面料。另外,本实用新型设置了带有透明窗的箱门,可以随时观察烘干箱体内的状态。本实用新型结构简单,操作方便,受热均匀,烘干速度快,满足了规模化的烘干,满足了人们的需求。By adopting the above-mentioned technical scheme, the beneficial effect of the present utility model is that: the present utility model adopts the method of simultaneously supplying air on the left and right by arranging the first air outlet plate, the second air outlet plate and the rotating device in the drying box, and then Coupled with the 360° rotation of the fabric, the fabric is heated evenly and the drying speed is accelerated. The utility model is also provided with an air pump outside the drying box to extract excess heat in the drying box, and after the drying operation is completed, the fabric can be taken out without waiting for the temperature of the drying box to decrease. In addition, the utility model is provided with a box door with a transparent window, so that the state inside the drying box can be observed at any time. The utility model has the advantages of simple structure, convenient operation, uniform heating and high drying speed, which can meet the needs of large-scale drying and people's needs.
附图说明Description of drawings
图1为本实用新型的结构示意图;Fig. 1 is the structural representation of the utility model;
图2为本实用新型的另一结构示意图。FIG. 2 is another structural schematic diagram of the present invention.
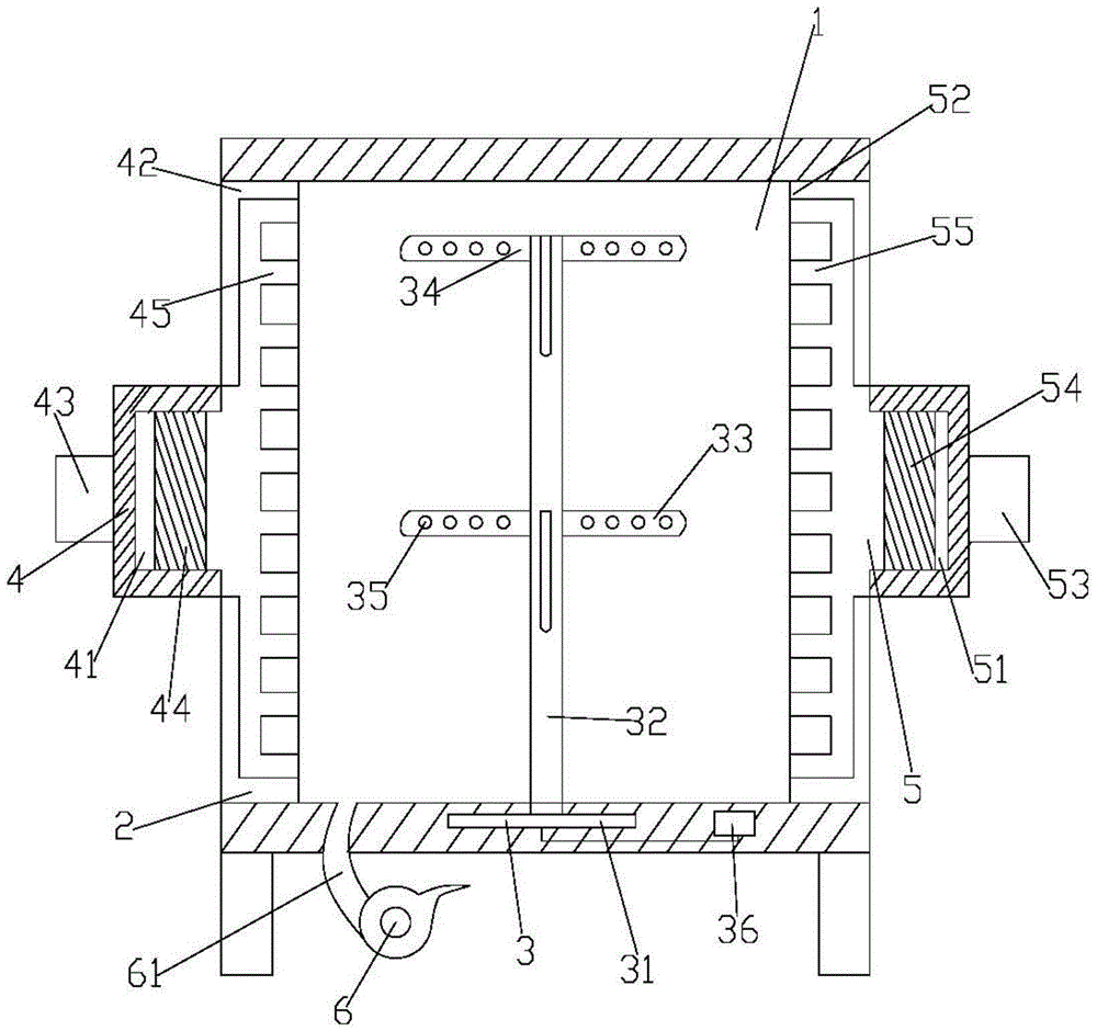
主要附图标记说明:(1、烘干箱体;11、箱门;12、透明窗;2、加热装置;3、旋转装置;31、旋转底座;32、转轴;33、挂衣层杆;34、挂衣杆;35、挂孔;36、电机;4、第一加热装置;41、第一加热箱;42、第一出风板;43、第一风机;44、第一加热板;45、第一出风管;5、第二加热装置;51、第二加热箱;52、第二出风板;53、第二风机;54、第二加热板;55、第二出风管;6、抽气泵;61、抽气管道)。Description of main reference signs: (1, drying box; 11, box door; 12, transparent window; 2, heating device; 3, rotating device; 31, rotating base; 32, rotating shaft; 33, clothes hanger rod; 34, clothes rail; 35, hanging hole; 36, motor; 4, first heating device; 41, first heating box; 42, first air outlet; 43, first fan; 44, first heating plate; 45, the first air outlet; 5, the second heating device; 51, the second heating box; 52, the second air outlet; 53, the second fan; 54, the second heating plate; 55, the second air outlet ; 6. Air pump; 61. Air pump).
具体实施方式Detailed ways
以下结合附图和具体实施例来进一步说明本实用新型。The present utility model will be further described below in conjunction with the accompanying drawings and specific embodiments.
如图1-2所示,一种用于服装加工的烘干装置,包括烘干箱体1、加热装置2、旋转装置3,所述加热装置2包括设置在烘干箱体1左侧的第一加热装置4、设置在烘干箱体1右侧的第二加热装置5,所述旋转装置3设置在烘干箱体1内,所述旋转装置3包括旋转底座31、转轴32,所述旋转底座31设置在烘干箱体1的底部,所述转轴32的底端与旋转底座31连接,所述转轴32上设置有若干个挂衣层杆33,所述挂衣层杆33包括与转轴32转动连接的若干个挂衣杆34,所述挂衣杆34上设置有挂孔35,所述旋转底座31连接有电机36,所述电机36与外部电源连接,所述烘干箱体1的前侧设置有与烘干箱体1合页连接的箱门11。As shown in Figures 1-2, a drying device for garment processing includes a drying box 1, a
所述第一加热装置4包括设置在烘干箱体1外左侧的第一加热箱41、设置在烘干箱体1内左侧的第一出风板42、设置在第一加热箱41左侧的第一风机43,所述第一加热箱41内设置有第一加热板44,所述第一出风板42内设置有第一出风管45,所述第一出风管45与第一加热箱41连通,所述第一风机43与外部电源连接。所述第一加热箱41通过螺栓与烘干箱体1固定连接,所述第一风机43通过螺栓与第一加热箱41连接且通过管道与第一加热箱41相连通。The first heating device 4 includes a
所述第二加热装置5包括设置在烘干箱体1外右侧的第二加热箱51、设置在烘干箱体1内右侧的第二出风板52、设置在第二加热箱51右侧的第二风机53,所述第二加热箱51内设置有第二加热板54,所述第二出风板52内设置有第二出风管55,所述第二出风管55与第二加热箱51连通,所述第二风机53与外部电源连接。所述第二加热箱51通过螺栓与烘干箱体1固定连接,所述第二风机53通过螺栓与第二加热箱51连接且通过管道与第二加热箱51相连通。The second heating device 5 includes a
所述烘干箱体1外设置有抽气泵6,所述抽气泵6上端连接有抽气管道61,所述抽气管道61的另一端与烘干箱体1内连通,所述抽气泵6与外部电源连接,所述抽气泵6用于将烘干箱体1内多余的热量抽出烘干箱体1外,烘干完后,烘干箱体1内的温度立即降下来,无需等待就可以把烘干箱体1内的衣服取出来。The drying box 1 is provided with an air pump 6, the upper end of the air pump 6 is connected with an
所述箱门11上设置有透明窗12,可以随时观察烘干箱体1内的状态。The
本实施例的使用方法:打开箱门11,将待烘干的面料悬挂在挂衣杆34上,关上箱门11,开启加热装置2和旋转装置3、抽气泵6,第一加热板44、第二加热板54进行加热,在第一风机43、第二风机53的作用下,热风分别从第一出风板42、第二出风板52出来,对悬挂在挂衣杆34上的面料进行烘干,与此同时,在电机36的带动下,旋转底座31、转轴32也旋转起来,从而带动面料进行360°全方位的旋转,使得面料受热均匀,加快烘干速度,待烘干完毕后,打开箱门11,即可取出烘干完的面料。The use method of this embodiment: open the
以上所述的,仅为本实用新型的较佳实施例而已,不能限定本实用实施的范围,凡是依本实用新型申请专利范围所作的均等变化与装饰,皆应仍属于本实用新型涵盖的范围内。The above are only the preferred embodiments of the present invention, and cannot limit the scope of the present invention. All the equivalent changes and decorations made according to the scope of the patent application of the present invention should still belong to the scope covered by the present invention. Inside.
Claims (5)
Priority Applications (1)
| Application Number | Priority Date | Filing Date | Title |
|---|---|---|---|
| CN202020527031.3U CN212152845U (en) | 2020-04-10 | 2020-04-10 | A drying device for garment processing |
Applications Claiming Priority (1)
| Application Number | Priority Date | Filing Date | Title |
|---|---|---|---|
| CN202020527031.3U CN212152845U (en) | 2020-04-10 | 2020-04-10 | A drying device for garment processing |
Publications (1)
| Publication Number | Publication Date |
|---|---|
| CN212152845U true CN212152845U (en) | 2020-12-15 |
Family
ID=73719527
Family Applications (1)
| Application Number | Title | Priority Date | Filing Date |
|---|---|---|---|
| CN202020527031.3U Expired - Fee Related CN212152845U (en) | 2020-04-10 | 2020-04-10 | A drying device for garment processing |
Country Status (1)
| Country | Link |
|---|---|
| CN (1) | CN212152845U (en) |
Cited By (1)
| Publication number | Priority date | Publication date | Assignee | Title |
|---|---|---|---|---|
| CN115540530A (en) * | 2022-10-11 | 2022-12-30 | 浙江播黛时装股份有限公司 | Drying device for clothes |
-
2020
- 2020-04-10 CN CN202020527031.3U patent/CN212152845U/en not_active Expired - Fee Related
Cited By (1)
| Publication number | Priority date | Publication date | Assignee | Title |
|---|---|---|---|---|
| CN115540530A (en) * | 2022-10-11 | 2022-12-30 | 浙江播黛时装股份有限公司 | Drying device for clothes |
Similar Documents
| Publication | Publication Date | Title |
|---|---|---|
| CN108151499A (en) | Multistage drying device is used in textile processing | |
| CN205088449U (en) | Clothes drying machine | |
| CN212152845U (en) | A drying device for garment processing | |
| CN101798740A (en) | Multifunctional fulling and softening finishing machine | |
| CN111501306A (en) | Clothes stoving case that drying efficiency is high | |
| CN111364218A (en) | Drying machine convenient for hanging clothes | |
| CN211256422U (en) | Drying device for tailoring | |
| CN208087971U (en) | A kind of full-automatic Clothes-hanging cabinet of resistance to flatiron | |
| CN109322125A (en) | A kind of clothing drying device | |
| CN211012276U (en) | A multipurpose drying device | |
| CN211596020U (en) | A dyeing device for socks processing | |
| CN209482015U (en) | A drying device for garment processing | |
| WO2019010881A1 (en) | Textile cloth dryer | |
| CN218454282U (en) | Drying and setting machine for knitting sock processing | |
| CN208087975U (en) | A kind of simple adjustable domestic type dryer | |
| CN207439027U (en) | A kind of textile yarn high efficiency drying case | |
| CN215832383U (en) | A garment drying device for garment processing | |
| CN206196818U (en) | Flesh of fish dryer | |
| CN210177224U (en) | Clothing processing drying-machine | |
| CN222279240U (en) | A drying device | |
| CN212030128U (en) | Energy-conserving weaving cloth drying equipment | |
| CN209636486U (en) | A kind of textile cloth open washing conveying device | |
| CN210481824U (en) | A high-efficiency and energy-saving cabinet dryer | |
| CN211571135U (en) | Clothing drying device for tailoring | |
| CN218864699U (en) | Clothing drying device |
Legal Events
| Date | Code | Title | Description |
|---|---|---|---|
| GR01 | Patent grant | ||
| GR01 | Patent grant | ||
| CF01 | Termination of patent right due to non-payment of annual fee |
Granted publication date: 20201215 |
|
| CF01 | Termination of patent right due to non-payment of annual fee |
