CN212133514U - 一种曲轴皮带轮轴长度检具 - Google Patents

一种曲轴皮带轮轴长度检具 Download PDF

Info

Publication number
CN212133514U
CN212133514U CN202021014421.7U CN202021014421U CN212133514U CN 212133514 U CN212133514 U CN 212133514U CN 202021014421 U CN202021014421 U CN 202021014421U CN 212133514 U CN212133514 U CN 212133514U
Authority
CN
China
Prior art keywords
pulley shaft
crankshaft pulley
inspection
detection surface
shaft length
Prior art date
Legal status (The legal status is an assumption and is not a legal conclusion. Google has not performed a legal analysis and makes no representation as to the accuracy of the status listed.)
Active
Application number
CN202021014421.7U
Other languages
English (en)
Inventor
李成
唐建军
关文海
彭旺生
陆长艳
Current Assignee (The listed assignees may be inaccurate. Google has not performed a legal analysis and makes no representation or warranty as to the accuracy of the list.)
GUILIN FUDA CO Ltd
Original Assignee
Guilin Fuda Crankshaft Co ltd
Priority date (The priority date is an assumption and is not a legal conclusion. Google has not performed a legal analysis and makes no representation as to the accuracy of the date listed.)
Filing date
Publication date
Application filed by Guilin Fuda Crankshaft Co ltd filed Critical Guilin Fuda Crankshaft Co ltd
Priority to CN202021014421.7U priority Critical patent/CN212133514U/zh
Application granted granted Critical
Publication of CN212133514U publication Critical patent/CN212133514U/zh
Active legal-status Critical Current
Anticipated expiration legal-status Critical

Links

Images

Landscapes

  • A Measuring Device Byusing Mechanical Method (AREA)

Abstract

本实用新型公开了一种曲轴皮带轮轴长度检具,包括检具体及端盖;所述检具体的截面为半圆弧形;两组所述端盖分别与检具体的两端活动匹配套接;所述检具体的一个端面从上至下分为两部分,分别设置为前检测面及后检测面;所述后检测面向内凹,与所述前检测面之间形成阶梯;所述检具体的另一个端面光滑平直,设置为定位面;所述检具体及端盖上分别设有相互匹配的磁铁Ⅰ及磁铁Ⅱ。本实用新型能够快速判断曲轴皮带轮轴的长度合格与否,还具备检具端面保护装置,保护了检具完好。

Description

一种曲轴皮带轮轴长度检具
技术领域
本实用新型属于汽车零部件检测技术领域,涉及一种曲轴皮带轮轴长度检具。
背景技术
曲轴是形状细长,来回弯曲的复杂工件,是汽车发动机的关键组件,在汽车发动机工作时,曲轴高速旋转。曲轴主要由主轴颈、油封轴颈、齿轮轴颈、皮带轮轴和曲柄臂等组成。 曲轴的装配要求较高,大部分曲轴前端都设有长度较短的的皮带轮轴。目前在机加工中曲轴皮带轮轴的长度通常采用深度游标卡尺进行检测。此类检测方式需人工缓慢调整深度游标卡尺与皮带轮轴轴心线平行,不平行时检测误差大,同时还有读错数据的风险,不能及时发生产过程中出现的不良问题。
申请号为CN201520338236.6的中国实用新型专利公开了一种测量轴类零件长度尺寸的环形塞板,该装置为圆弧状,包括横截面呈半圆形的检具本体,并在检具本体的同侧两端分别设置有圆弧通端端面和圆弧止端端面;该装置通过在测量轴类零件外圆上转动环形塞板的通端和止端来检测轴类零件卡簧槽端面到大端面的长度尺寸合格与否;该装置虽然能够对轴类零件进行长度测量,但缺乏端面保护装置,检具掉落或磕碰容易对检具与工件的光滑接触端面带来伤害,影响接触端面的粗糙度,使测量造成误差。
实用新型内容
本实用新型的目的在于针对现有技术的不足,提出一种曲轴皮带轮轴长度检具,该装置能够快速判断曲轴皮带轮轴的长度合格与否,还具备检具端面保护装置,保护了检具完好。
为了实现上述目的,本实用新型采用了以下技术方案:
一种曲轴皮带轮轴长度检具,包括检具体及端盖;所述检具体的截面为半圆弧形;两组所述端盖分别与检具体的两端活动匹配套接;所述检具体的一个端面从上至下分为两部分,分别设置为前检测面及后检测面;所述后检测面向内凹,与所述前检测面之间形成阶梯;所述检具体的另一个端面光滑平直,设置为定位面;所述检具体及端盖上分别设有相互匹配的磁铁Ⅰ及磁铁Ⅱ。
在不使用本检具时,将所述端盖匹配套在检具体的两端,可以保护检具体端面不易因磕碰而损坏;使用时所述定位面与曲轴贴合,确定曲轴与曲轴皮带轮轴的结合面;所述前检测面、后检测面及定位面需要光滑平直,才能确保测量精度达标;所述磁铁Ⅰ与磁铁Ⅱ吸合后可将端盖固定在检具体上,防止松脱。
作为进一步的技术改进,所述前检测面到定位面的距离为曲轴皮带轮轴凸出曲轴所允许的最长值。测量时一旦所述曲轴皮带轮轴超出前检测面,则说明该曲轴皮带轮轴过长。
作为进一步的技术改进,所述后检测面到定位面的距离为曲轴皮带轮轴凸出曲轴所允许的最短值。测量时一旦所述曲轴皮带轮轴不超出后检测面,则说明该曲轴皮带轮轴过短。
作为进一步的技术改进,沿着所述前检测面及后检测面均分别涂有一道荧光涂层。所述荧光涂层更方便使用者判断曲轴皮带轮轴是否超出前检测面或后检测面。
作为进一步的技术改进,所述检具体下部弧面与定位面之间设有底部弧面倒角。所述底部弧面倒角需大于曲轴皮带轮轴的圆角,以保证定位准确。
作为进一步的技术改进,所述检具体下部弧面的直径比被测曲轴皮带轮轴的直径大0.02~0.04mm。
作为进一步的技术改进,所述检具体上部的弧面滚花处理。如此设置方便平稳手持本检具。
作为进一步的技术改进,所述端盖上设有套口;所述套口与检具体匹配。
作为进一步的技术改进,所述磁铁Ⅰ镶嵌在检具体的顶部;所述磁铁Ⅱ镶嵌在套口的内壁上。所述磁铁Ⅰ及磁铁Ⅱ均分别与检具体及套口的表面平齐。
作为进一步的技术改进,所述检具体及端盖的边沿均设有倒角。
以上所述的曲轴皮带轮轴长度检具的使用方法:
使用时先将检具体下部的弧面与曲轴皮带轮轴表面贴合;轴向移动检具体,使检具体的定位面紧靠曲轴皮带轮轴与曲轴连接的台阶面;目测检具的前检测面和后检测面,若被检测的曲轴皮带轮轴前端面落在前检测面和后检测面之间,则判定合格;若被检测的曲轴皮带轮轴前端面落在前检测面和后检测面之外,则判定不合格;不使用时将端盖套在检具体的两端,保护检具端面不被损坏,此时磁铁Ⅰ及磁铁Ⅱ相互吸合,使端盖不易松脱。
与现有技术相比较,本实用新型具备的有益效果:
1.本实用新型结构简单,使用方便,利用前检测面及后检测面,通过目测的形式即可快速判断被检测的曲轴皮带轮轴长度是否合格。
2.本实用新型通过端盖保护了检具体端面,不使用时检具体端面不易被损坏。
3.本实用新型通过荧光涂层,可方便使用者观察曲轴皮带轮轴是否合格。
附图说明
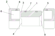
图1为检具体及端盖剖面图。
图2为使用本检具进行曲轴皮带轮轴长度检测工作的侧视图。
图3为图2中P部位的放大图。
图4为使用本检具进行曲轴皮带轮轴长度检测工作的主视图。
图5为检具体的主视图。
图6为端盖的主视图。
图7为检具体的三维示意图。
附图标记:1-检具体,2-端盖,3-前检测面,4-后检测面,5-定位面,6-套口,7-磁铁Ⅰ,8-磁铁Ⅱ,9-底部弧面倒角,10-曲轴皮带轮轴,11-曲轴,12-荧光涂层。
具体实施方式
下面结合附图对本实用新型进一步说明。
实施例1:
如图1-7所示,一种曲轴皮带轮轴长度检具,包括检具体1及端盖2;所述检具体1的截面为半圆弧形;两组所述端盖2分别与检具体1的两端活动匹配套接;所述检具体1的一个端面从上至下分为两部分,分别设置为前检测面3及后检测面4;所述后检测面4向内凹,与所述前检测面3之间形成阶梯;所述检具体1的另一个端面光滑平直,设置为定位面5;所述检具体1及端盖2上分别设有相互匹配的磁铁Ⅰ7及磁铁Ⅱ8。
所述前检测面3到定位面5的距离为曲轴皮带轮轴10凸出曲轴11所允许的最长值。
所述后检测面4到定位面5的距离为曲轴皮带轮轴10凸出曲轴11所允许的最短值。
沿着所述前检测面3及后检测面4均分别涂有一道荧光涂层12。
所述检具体1下部弧面与定位面5之间设有底部弧面倒角9。
所述检具体1下部弧面的直径比被测曲轴皮带轮轴10的直径大0.02~0.04mm。
所述端盖2上设有套口6;所述套口6与检具体1匹配。
所述磁铁Ⅰ7镶嵌在检具体1的顶部;所述磁铁Ⅱ8镶嵌在套口6的内壁上。
本实用新型的使用方法如下:
使用时先将检具体1下部的弧面与曲轴皮带轮轴10表面贴合;轴向移动检具体1,使检具体1的定位面5紧靠曲轴皮带轮轴10与曲轴11连接的台阶面;目测检具的前检测面3和后检测面4,若被检测的曲轴皮带轮轴10前端面落在前检测面3和后检测面4之间,则判定合格;若被检测的曲轴皮带轮轴10前端面落在前检测面3和后检测面4之外,则判定不合格;不使用时将端盖2套在检具体1的两端,保护检具端面不被损坏,此时磁铁Ⅰ7及磁铁Ⅱ8相互吸合,使端盖2不易松脱。
实施例2:
本实施例与实施例1的区别在于:所述检具体1上部的弧面滚花处理。
本实施例的使用方法与实施例1相同。
实施例3:
本实施例与实施例1的区别在于:所述检具体1及端盖2的边沿均设有倒角。
本实施例的使用方法与实施例1相同。
实施例4:
本实施例与实施例1的区别在于:所述检具体1上部的弧面滚花处理。所述具体1及端盖2的边沿均设有倒角。
本实施例的使用方法与实施例1相同。
本文中所描述的具体实施例仅仅是对本实用新型精神作举例说明。本实用新型所属技术领域的技术人员可以对所描述的具体实施例做各种各样的修改或补充或采用类似的方式替代,但并不会偏离本实用新型的精神或者超越所附权利要求书所定义的范围。

Claims (10)

1.一种曲轴皮带轮轴长度检具,包括检具体(1)及端盖(2);其特征在于:所述检具体(1)的截面为半圆弧形;两组所述端盖(2)分别与检具体(1)的两端活动匹配套接;所述检具体(1)的一个端面从上至下分为两部分,分别设置为前检测面(3)及后检测面(4);所述后检测面(4)向内凹,与所述前检测面(3)之间形成阶梯;所述检具体(1)的另一个端面光滑平直,设置为定位面(5);所述检具体(1)及端盖(2)上分别设有相互匹配的磁铁Ⅰ(7)及磁铁Ⅱ(8)。
2.根据权利要求1所述的一种曲轴皮带轮轴长度检具,其特征在于:所述前检测面(3)到定位面(5)的距离为曲轴皮带轮轴(10)凸出曲轴(11)所允许的最长值。
3.根据权利要求1所述的一种曲轴皮带轮轴长度检具,其特征在于:所述后检测面(4)到定位面(5)的距离为曲轴皮带轮轴(10)凸出曲轴(11)所允许的最短值。
4.根据权利要求1所述的一种曲轴皮带轮轴长度检具,其特征在于:沿着所述前检测面(3)及后检测面(4)均分别涂有一道荧光涂层(12)。
5.根据权利要求1所述的一种曲轴皮带轮轴长度检具,其特征在于:所述检具体(1)下部弧面与定位面(5)之间设有底部弧面倒角(9)。
6.根据权利要求1所述的一种曲轴皮带轮轴长度检具,其特征在于:所述检具体(1)下部弧面的直径比被测曲轴皮带轮轴(10)的直径大0.02~0.04mm。
7.根据权利要求1所述的一种曲轴皮带轮轴长度检具,其特征在于:所述检具体(1)上部的弧面滚花处理。
8.根据权利要求1所述的一种曲轴皮带轮轴长度检具,其特征在于:所述端盖(2)上设有套口(6);所述套口(6)与检具体(1)匹配。
9.根据权利要求8所述的一种曲轴皮带轮轴长度检具,其特征在于:所述磁铁Ⅰ(7)镶嵌在检具体(1)的顶部;所述磁铁Ⅱ(8)镶嵌在套口(6)的内壁上。
10.根据权利要求1所述的一种曲轴皮带轮轴长度检具,其特征在于:所述检具体(1)及端盖(2)的边沿均设有倒角。
CN202021014421.7U 2020-06-05 2020-06-05 一种曲轴皮带轮轴长度检具 Active CN212133514U (zh)

Priority Applications (1)

Application Number Priority Date Filing Date Title
CN202021014421.7U CN212133514U (zh) 2020-06-05 2020-06-05 一种曲轴皮带轮轴长度检具

Applications Claiming Priority (1)

Application Number Priority Date Filing Date Title
CN202021014421.7U CN212133514U (zh) 2020-06-05 2020-06-05 一种曲轴皮带轮轴长度检具

Publications (1)

Publication Number Publication Date
CN212133514U true CN212133514U (zh) 2020-12-11

Family

ID=73685414

Family Applications (1)

Application Number Title Priority Date Filing Date
CN202021014421.7U Active CN212133514U (zh) 2020-06-05 2020-06-05 一种曲轴皮带轮轴长度检具

Country Status (1)

Country Link
CN (1) CN212133514U (zh)

Similar Documents

Publication Publication Date Title
CN103278077B (zh) 用于短外圆锥测量的量规及方法
CN101776429A (zh) 测量曲轴轴向长度的检具及其应用
CN212133514U (zh) 一种曲轴皮带轮轴长度检具
CN112284213A (zh) 一种弹簧的全尺寸测量装置及使用方法
CN110345840A (zh) 一种曲轴台肩外圆直径的检测样板及其使用方法
CN111426253B (zh) 一种曲轴台肩外圆直径、厚度综合检具的使用方法
CN213274192U (zh) 一种齿轮齿轴配合检验工装
CN211234200U (zh) 一种检测曲轴止推挡宽度的量规
CN209470617U (zh) 一种油封端面跳动的检具
CN108050914B (zh) 一种零件轴组合检测量具及检测方法
CN201653315U (zh) 气门跳动检具
CN211977781U (zh) 一种曲轴台肩外圆直径、厚度综合检具
CN215003381U (zh) 一种曲轴油孔角度辅助检棒
CN207300087U (zh) 一种便携式扭力弹簧检测工具
CN206891357U (zh) 一种六缸曲轴相位角的检测装置
CN207214988U (zh) 斜火花塞孔密封面深度检测杆及基于检测杆的检测装置
CN106197217B (zh) 一种轴承套圈外径精度准确检测装置
CN205393974U (zh) 一种cg发动机曲轴箱传动齿轮装配测量辅具
CN210165864U (zh) 一种曲轴台肩外圆直径的检测样板
CN105563103B (zh) Cg发动机曲轴箱传动齿轮装配测量辅具
CN211503945U (zh) 一种内花键大径测量装置
CN218443686U (zh) 汽车配重块装配孔同轴检具
CN209961100U (zh) 三销架孔中心到轴颈测量点距离的专用检具
CN217845142U (zh) 一种电动车电池生产线用放收卷滚轴支架内孔检具
CN221649429U (zh) 一种角度检测机构

Legal Events

Date Code Title Description
GR01 Patent grant
GR01 Patent grant
TR01 Transfer of patent right
TR01 Transfer of patent right

Effective date of registration: 20241231

Address after: 541104 East side of Yang18th Road, Yangtang Industrial Park, Xicheng Economic Development Zone, Guilin City, Guangxi Zhuang Autonomous Region

Patentee after: GUILIN FUDA Co.,Ltd.

Country or region after: China

Address before: 541001 yang18th Road, Yangtang Industrial Park, Xicheng Economic Development Zone, Guilin City, Guangxi Zhuang Autonomous Region

Patentee before: GUILIN FUDA CRANKSHAFT Co.,Ltd.

Country or region before: China

EE01 Entry into force of recordation of patent licensing contract
EE01 Entry into force of recordation of patent licensing contract

Assignee: GUILIN FUDA HEAVY INDUSTRY FORGING Co.,Ltd.

Assignor: GUILIN FUDA Co.,Ltd.

Contract record no.: X2025980020220

Denomination of utility model: A crankshaft pulley shaft length measuring tool

Granted publication date: 20201211

License type: Common License

Record date: 20250901