CN212129255U - A waterproof structure for anti-floating anchor rod and basement floor - Google Patents
A waterproof structure for anti-floating anchor rod and basement floor Download PDFInfo
- Publication number
- CN212129255U CN212129255U CN202020386265.0U CN202020386265U CN212129255U CN 212129255 U CN212129255 U CN 212129255U CN 202020386265 U CN202020386265 U CN 202020386265U CN 212129255 U CN212129255 U CN 212129255U
- Authority
- CN
- China
- Prior art keywords
- waterproof
- floating anchor
- anchor rod
- waterproof structure
- concrete layer
- Prior art date
- Legal status (The legal status is an assumption and is not a legal conclusion. Google has not performed a legal analysis and makes no representation as to the accuracy of the status listed.)
- Expired - Fee Related
Links
Images
Landscapes
- Building Environments (AREA)
Abstract
本实用新型公开了一种抗浮锚杆与地下室底板的防水结构,其包括抗渗混凝土层、防水涂料和防水卷材;所述抗渗混凝土层预设于地下室底板,抗浮锚杆贯穿抗渗混凝土层设置;所述防水涂料设置于抗浮锚杆周边并覆盖抗渗混凝土层和地下室底板的上部,所述防水卷材设置于防水涂料;所述防水结构还包括止水带,所述止水带缠绕设置于抗浮锚杆且止水带的底面与所述防水卷材抵接;所述相邻止水带之间由沥青嵌缝、油膏填满。本实用新型提供的抗浮锚杆与地下室底板的防水结构,结构合理,预设抗渗混凝土层并在抗浮锚杆缠绕遇水膨胀的止水带,有效提升防水结构的性能,具有适用性强、防水性好的优点。
The utility model discloses a waterproof structure of an anti-floating anchor rod and a basement floor, which comprises an impermeable concrete layer, a waterproof coating and a waterproof coil material; the impermeable concrete layer is preset on the basement floor, and the anti-floating anchor rod penetrates through the anti-seepage anchor rod. The permeable concrete layer is arranged; the waterproof coating is arranged on the periphery of the anti-floating anchor rod and covers the upper part of the anti-seepage concrete layer and the basement floor, and the waterproof membrane is arranged on the waterproof coating; the waterproof structure further comprises a water stop, the The waterstop is wound around the anti-floating anchor rod, and the bottom surface of the waterstop is in contact with the waterproof membrane; the adjacent waterstops are filled with asphalt caulking and grease. The waterproof structure of the anti-floating anchor rod and the basement floor provided by the utility model is reasonable in structure, the anti-seepage concrete layer is preset, and the anti-floating anchor rod is wound with a water-swelling water stop belt, which effectively improves the performance of the waterproof structure and has applicability Strong and waterproof.
Description
技术领域technical field
本实用新型属于建筑工程技术领域,涉及一种抗浮锚杆与地下室底板的防水结构。The utility model belongs to the technical field of construction engineering, and relates to a waterproof structure for an anti-floating anchor rod and a basement floor.
背景技术Background technique
建筑工程中,抗浮锚杆是抵抗其上建筑物向上移位而设置的结构构件,与地下水位高低及变化情况有关,与抗压桩受力方向相反。筑工程施工中,抗浮锚杆通常直接连通基岩与地下室底板,贯穿了基底的防水层,造成渗水的可能性增大,是防水施工中的薄弱环节。而地下室底板与抗浮锚杆节点防水在现行的规范、图集中的规定较少,从而导致了抗浮锚杆与地下室底板的防水效果参差不齐,一定程度上影响基坑的施工效果。In construction projects, the anti-floating anchor is a structural component set up to resist the upward displacement of the building above it, which is related to the height and change of the groundwater level, and is opposite to the stress direction of the compressive pile. In the construction of the construction project, the anti-floating bolt usually directly connects the bedrock and the basement floor, and penetrates the waterproof layer of the base, which increases the possibility of water seepage and is the weak link in the waterproof construction. However, there are few regulations on the waterproofing of the basement floor and the anti-floating anchor joint in the current specifications and atlases, which leads to the uneven waterproof effect of the anti-floating anchor and the basement floor, which affects the construction effect of the foundation pit to a certain extent.
因此,亟需设计一种抗浮锚杆与地下室底板的防水结构,解决现有技术中存在的技术问题。Therefore, there is an urgent need to design a waterproof structure for the anti-floating anchor rod and the basement floor to solve the technical problems existing in the prior art.
实用新型内容Utility model content
本实用新型的目的是至少一定程度上解决现有技术中存在的部分技术问题,提供的一种抗浮锚杆与地下室底板的防水结构,应用于基坑施工中抗浮锚杆与地下室底板的防水处理,其结构合理,操作便捷,具有适用性强、防水性好的优点。The purpose of this utility model is to solve some technical problems existing in the prior art at least to a certain extent, and provides a waterproof structure of anti-floating anchor rod and basement floor, which is applied to the waterproof structure of anti-floating anchor rod and basement floor in foundation pit construction. Waterproof treatment, its structure is reasonable, the operation is convenient, and it has the advantages of strong applicability and good waterproofness.
为解决上述技术问题,本实用新型提供的一种抗浮锚杆与地下室底板的防水结构,其包括抗渗混凝土层、防水涂料和防水卷材;所述抗渗混凝土层预设于地下室底板,抗浮锚杆贯穿抗渗混凝土层设置;所述防水涂料设置于抗浮锚杆周边并覆盖抗渗混凝土层和地下室底板的上部,所述防水卷材设置于防水涂料;所述防水结构还包括止水带,所述止水带缠绕设置于抗浮锚杆且止水带的底面与所述防水卷材抵接;所述相邻止水带之间由沥青嵌缝、油膏填满。In order to solve the above-mentioned technical problems, the utility model provides a waterproof structure of an anti-floating anchor rod and a basement floor, which comprises an impermeable concrete layer, a waterproof coating and a waterproof coil material; the impermeable concrete layer is preset on the basement floor, The anti-floating anchor rod is arranged through the impermeable concrete layer; the waterproof coating is arranged on the periphery of the anti-floating anchor rod and covers the upper part of the impermeable concrete layer and the basement floor, and the waterproof membrane is arranged on the waterproof coating; the waterproof structure also includes Waterstops, the waterstops are wound around the anti-floating anchor rod, and the bottom surface of the waterstops is in contact with the waterproof membrane; the adjacent waterstops are filled with asphalt caulking and grease.
在一些实施例中,所述止水带为BW膨胀止水带,其环向缠绕于抗浮锚杆的外周侧。In some embodiments, the waterstop is a BW expansion waterstop, which is circumferentially wound around the outer peripheral side of the anti-floating anchor.
在一些实施例中,缠绕至抗浮锚杆的止水带的高度不少于30mm。In some embodiments, the height of the waterstop wrapped around the anti-floating bolt is not less than 30 mm.
在一些实施例中,所述防水结构还包括防水保护层,其覆盖抗浮锚杆的止水带并位于防水卷材的上部。In some embodiments, the waterproof structure further includes a waterproof protective layer, which covers the waterstop of the anti-floating anchor rod and is located on the upper part of the waterproofing membrane.
在一些实施例中,所述防水结构还包括涂料加强层,其设置于防水涂料下部以增强涂料的附着力。In some embodiments, the waterproof structure further includes a paint reinforcement layer disposed on the lower part of the waterproof paint to enhance the adhesion of the paint.
在一些实施例中,所述涂料加强层为水泥基渗透结晶型防水涂料加强层。In some embodiments, the paint reinforcement layer is a cement-based permeable crystalline waterproof paint reinforcement layer.
在一些实施例中,所述防水保护层为C25细石混凝土浇筑层,其厚度为50mm。In some embodiments, the waterproof protective layer is a C25 fine stone concrete pouring layer with a thickness of 50mm.
在一些实施例中,所述防水涂料的厚度为2mm,所述防水卷材的厚度为3mm。In some embodiments, the thickness of the waterproof coating is 2 mm, and the thickness of the waterproof membrane is 3 mm.
在一些实施例中,所述抗渗混凝土层为P8抗渗混凝土层,其厚度为厚度为100mm。In some embodiments, the impermeable concrete layer is a P8 impermeable concrete layer with a thickness of 100 mm.
在一些实施例中,所述抗渗混凝土层的外形为圆形或方形,抗浮锚杆间隔、贯穿所述抗渗混凝土层设置。In some embodiments, the shape of the impermeable concrete layer is circular or square, and the anti-floating bolts are arranged at intervals and penetrate through the impermeable concrete layer.
本实用新型有益效果:Beneficial effects of the utility model:
本实用新型提供的一种抗浮锚杆与地下室底板的防水结构,应用于基坑施工中抗浮锚杆与地下室底板的防水处理,其结构合理,操作便捷,具有适用性强、防水性好的优点。The waterproof structure of the anti-floating anchor rod and the basement bottom plate provided by the utility model is applied to the waterproof treatment of the anti-floating anchor rod and the basement bottom plate in the foundation pit construction, and has the advantages of reasonable structure, convenient operation, strong applicability and good waterproof performance. The advantages.
附图说明Description of drawings
通过结合以下附图所作的详细描述,本实用新型的上述优点将变得更清楚和更容易理解,这些附图只是示意性的,并不限制本实用新型,其中:The above-mentioned advantages of the present invention will become clearer and easier to understand through the detailed description in conjunction with the following drawings, which are only schematic and do not limit the present invention, wherein:
图1是本实用新型所述一种抗浮锚杆与地下室底板的防水结构的结构示意图;Fig. 1 is the structural representation of the waterproof structure of a kind of anti-floating anchor rod and basement bottom plate according to the present utility model;
图2是图1中Ⅰ处局部放大图。FIG. 2 is a partial enlarged view of part I in FIG. 1 .
附图中,各标号所代表的部件如下:In the accompanying drawings, the components represented by each number are as follows:
10.抗渗混凝土层;10. Impermeable concrete layer;
20.防水涂料;20. Waterproof coating;
30.防水卷材;30. Waterproof membrane;
40.防水保护层;40. Waterproof protective layer;
50.地下室底板;50. Basement floor;
60.抗浮锚杆;60. Anti-floating anchor rod;
70.止水带;70. Waterstop;
80.涂料加强层。80. Paint reinforcement layer.
具体实施方式Detailed ways
图1至图2是本申请所述一种抗浮锚杆与地下室底板的防水结构的相关示意图,下面结合具体实施例和附图,对本实用新型进行详细说明。1 to 2 are related schematic diagrams of a waterproof structure of an anti-floating anchor rod and a basement floor according to the present application, and the present utility model will be described in detail below with reference to specific embodiments and accompanying drawings.
在此记载的实施例为本实用新型的特定的具体实施方式,用于说明本实用新型的构思,均是解释性和示例性的,不应解释为对本实用新型实施方式及本实用新型范围的限制。除在此记载的实施例外,本领域技术人员还能够基于本申请权利要求书和说明书所公开的内容采用显而易见的其它技术方案,这些技术方案包括采用对在此记载的实施例的做出任何显而易见的替换和修改的技术方案。The embodiments described herein are specific embodiments of the present invention, and are used to illustrate the concept of the present invention. They are all illustrative and exemplary, and should not be construed as limiting the embodiments of the present invention and the scope of the present invention. limit. In addition to the embodiments described herein, those skilled in the art can also adopt other obvious technical solutions based on the contents disclosed in the claims and the description of the present application, and these technical solutions include any obvious technical solutions to the embodiments described herein. Alternative and modified technical solutions.
本说明书的附图为示意图,辅助说明本实用新型的构思,示意性地表示各部分的形状及其相互关系。请注意,为了便于清楚地表现出本实用新型实施例的各部件的结构,各附图之间并未按照相同的比例绘制。相同的参考标记用于表示相同的部分。The accompanying drawings in this specification are schematic diagrams, which assist in explaining the concept of the present invention, and schematically show the shapes of various parts and their mutual relationships. Please note that in order to clearly represent the structures of the various components of the embodiments of the present invention, the drawings are not drawn on the same scale. The same reference numerals are used to denote the same parts.
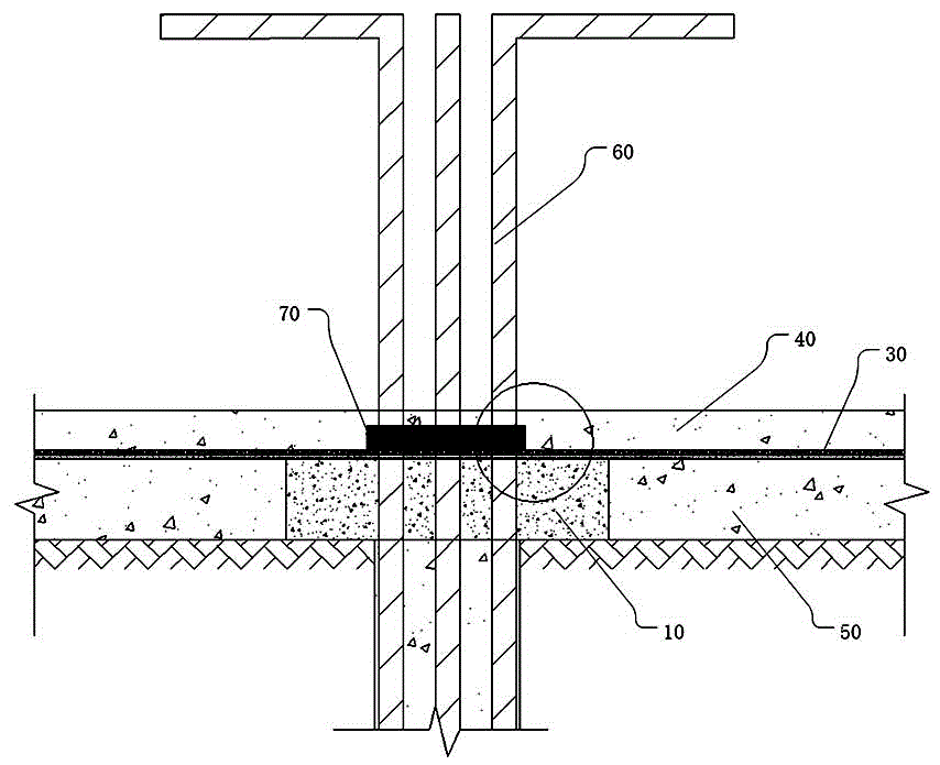
本实用新型所述一种抗浮锚杆与地下室底板的防水结构的结构示意图,如图1及图2所示,其包括抗渗混凝土层10、防水涂料20和防水卷材30;所述抗渗混凝土层10预设于地下室底板50,抗浮锚杆60贯穿抗渗混凝土层10设置;所述防水涂料20设置于抗浮锚杆60周边并覆盖抗渗混凝土层10和地下室底板50的上部,所述防水卷材30设置于防水涂料20;所述防水结构还包括止水带70,所述止水带70缠绕设置于抗浮锚杆60且止水带70的底面与所述防水卷材30抵接;所述相邻止水带70之间由沥青嵌缝、油膏填满。The structural schematic diagram of the waterproof structure of the anti-floating anchor rod and the basement floor according to the present invention, as shown in Figures 1 and 2, includes an
作为本实用新型的一个实施例,所述止水带70为BW膨胀止水带,其环向缠绕于抗浮锚杆60的外周侧。BW膨胀止水带遇水膨胀以密封抗浮锚杆60与抗渗混凝土层10之间的缝隙,防止水由间隙向上溢出。作为本实施例的一个方面,缠绕至抗浮锚杆60的止水带70的高度不少于30mm。在图1所示的实施例中,缠绕至抗浮锚杆60的止水带70的高度为50mm。止水带在遇水后膨胀,以防止抗渗混凝土层10、防水涂料20和防水卷材30组合作用的失效而出现渗水的情况,有效增强防水结构的防水性能。As an embodiment of the present invention, the
作为本实用新型的另一个实施例,所述防水结构还包括防水保护层40,其覆盖抗浮锚杆60的止水带70并位于防水卷材30的上部。作为本实施例的一个方面,所述防水保护层40为C25细石混凝土浇筑层,其厚度为50mm。As another embodiment of the present invention, the waterproof structure further includes a waterproof
本实用新型中,所述防水结构还包括涂料加强层80,其位于防水涂料20下部以增强涂料的附着力。所述涂料加强层80为水泥基渗透结晶型防水涂料加强层。In the present invention, the waterproof structure further includes a
在图1所示的实施例中,所述防水涂料20的厚度为2mm,所述防水卷材30的厚度为3mm。在图1所示的实施例中,防水卷材30为BAC自粘防水卷材,其由增强胎体、高品质的改性沥青胶料和含有CaSiO3的自粘胶料复合而成的新型防水卷材,具有粘结可靠,避免窜水的优点。In the embodiment shown in FIG. 1 , the thickness of the
作为本实用新型的一个实施例,所述抗渗混凝土层10为P8抗渗混凝土层,其厚度为厚度为100mm。P8抗渗混凝土层通过提高混凝土的密实度,改善孔隙结构,从而减少渗透通道,提高抗渗性。所述抗渗混凝土层10的外形可以为圆形,抗浮锚杆60间隔、贯穿所述抗渗混凝土层10设置。在图1所示的实施例中,抗渗混凝土层10的外形为圆形,其直径为400mm,这样可以保证抗浮锚杆60的固定,同时节约抗渗混凝土的使用,达到控制防水施工成本的目的。As an embodiment of the present invention, the impermeable
相比于现有技术的缺点和不足,本实用新型提供的一种抗浮锚杆与地下室底板的防水结构,应用于基坑施工中抗浮锚杆与地下室底板的防水处理,其结构合理,通过抗渗混凝土层、防水涂料、防水卷材及止水带组合作用,有效提升抗浮锚杆的防水性,具有适用性强、防水性好的优点。Compared with the shortcomings and deficiencies of the prior art, the utility model provides a waterproof structure of an anti-floating anchor rod and a basement floor, which is applied to the waterproof treatment of the anti-floating anchor rod and the basement floor in foundation pit construction, and has a reasonable structure. Through the combined action of impermeable concrete layer, waterproof coating, waterproof membrane and waterstop, the waterproofness of the anti-floating anchor rod is effectively improved, and it has the advantages of strong applicability and good waterproofness.
本实用新型不局限于上述实施方式,任何人在本实用新型的启示下都可得出其他各种形式的产品,但不论在其形状或结构上作任何变化,凡是具有与本申请相同或相近似的技术方案,均落在本实用新型的保护范围之内。The present utility model is not limited to the above-mentioned embodiments, and anyone can draw other various forms of products under the inspiration of the present utility model, but no matter if any changes are made in its shape or structure, all products with the same or similar characteristics as those of the present application can be obtained. Similar technical solutions all fall within the protection scope of the present invention.
Claims (10)
Priority Applications (1)
| Application Number | Priority Date | Filing Date | Title |
|---|---|---|---|
| CN202020386265.0U CN212129255U (en) | 2020-03-24 | 2020-03-24 | A waterproof structure for anti-floating anchor rod and basement floor |
Applications Claiming Priority (1)
| Application Number | Priority Date | Filing Date | Title |
|---|---|---|---|
| CN202020386265.0U CN212129255U (en) | 2020-03-24 | 2020-03-24 | A waterproof structure for anti-floating anchor rod and basement floor |
Publications (1)
| Publication Number | Publication Date |
|---|---|
| CN212129255U true CN212129255U (en) | 2020-12-11 |
Family
ID=73671137
Family Applications (1)
| Application Number | Title | Priority Date | Filing Date |
|---|---|---|---|
| CN202020386265.0U Expired - Fee Related CN212129255U (en) | 2020-03-24 | 2020-03-24 | A waterproof structure for anti-floating anchor rod and basement floor |
Country Status (1)
| Country | Link |
|---|---|
| CN (1) | CN212129255U (en) |
Cited By (1)
| Publication number | Priority date | Publication date | Assignee | Title |
|---|---|---|---|---|
| CN114263173A (en) * | 2021-12-28 | 2022-04-01 | 北京中岩大地科技股份有限公司 | Existing basement anchor head waterproof structure and construction method thereof |
-
2020
- 2020-03-24 CN CN202020386265.0U patent/CN212129255U/en not_active Expired - Fee Related
Cited By (1)
| Publication number | Priority date | Publication date | Assignee | Title |
|---|---|---|---|---|
| CN114263173A (en) * | 2021-12-28 | 2022-04-01 | 北京中岩大地科技股份有限公司 | Existing basement anchor head waterproof structure and construction method thereof |
Similar Documents
| Publication | Publication Date | Title |
|---|---|---|
| CN107190844A (en) | The waterproof and water drainage system and construction method of a kind of basement bottom board and exterior wall | |
| CN102650128A (en) | Cement mixing pile with stiffness core capable of draining and pre-pressing firstly and then grouting as well as construction method thereof | |
| CN108331034A (en) | Pier nose formula anti-float anchor rod waterproofing node and its construction method | |
| CN109706925A (en) | Novel fiber rib anti-floating anchor rod anchoring method | |
| CN210104811U (en) | Basement pile-wall integrated waterproof structure system | |
| CN212129255U (en) | A waterproof structure for anti-floating anchor rod and basement floor | |
| CN219527748U (en) | Waterproof construction structure is synthesized to high water level area anti-floating anchor rod tip | |
| CN106948502A (en) | A kind of water-proof top cover and its construction method | |
| CN204475379U (en) | Shorten the basement post-pouring zone in Dewatering cycle | |
| CN202559340U (en) | First-drainage post-preloading grouting stiff-core cement mixing pile | |
| CN209129037U (en) | One kind is for high-rise annex bottom plate post-poured strip waterproof structure | |
| CN106869304A (en) | Outer wall of basement waterproof construction and construction method in a kind of confined space | |
| CN211735379U (en) | Waterproof structure of anti-floating anchor rod penetrating through basement bottom plate | |
| CN203583440U (en) | Waterproof structure of concrete panel rockfill dam joint | |
| CN111042184A (en) | Basement tower crane foundation construction method | |
| CN206457737U (en) | Conveyance Box Culvert bottom plate waterstop reinforces stopping means | |
| CN215715534U (en) | Deformation joint waterproof construction of utility tunnel | |
| CN217782077U (en) | Connection structure of cut-off wall and foundation pit supporting construction | |
| CN111021506A (en) | Anti-seepage intercepting ditch structure that can resist foundation deformation | |
| CN105625744A (en) | Seepage prevention structure for suspension rod for steel girder reinforcement of aerated concrete roof and construction method of seepage prevention structure | |
| CN211775060U (en) | Waterproof and moistureproof composite concrete slab | |
| CN210216453U (en) | Slope roof supporting and drainage ditch structure | |
| CN205024718U (en) | Ground lower plate structure | |
| CN211472603U (en) | Composite foundation mattress layer | |
| CN210315688U (en) | Basement pile head waterproof device |
Legal Events
| Date | Code | Title | Description |
|---|---|---|---|
| GR01 | Patent grant | ||
| GR01 | Patent grant | ||
| CF01 | Termination of patent right due to non-payment of annual fee |
Granted publication date: 20201211 |
|
| CF01 | Termination of patent right due to non-payment of annual fee |
