CN212104635U - An external wall panel - Google Patents
An external wall panel Download PDFInfo
- Publication number
- CN212104635U CN212104635U CN201922141043.2U CN201922141043U CN212104635U CN 212104635 U CN212104635 U CN 212104635U CN 201922141043 U CN201922141043 U CN 201922141043U CN 212104635 U CN212104635 U CN 212104635U
- Authority
- CN
- China
- Prior art keywords
- layer
- concrete structure
- structure layer
- wall panel
- thermal insulation
- Prior art date
- Legal status (The legal status is an assumption and is not a legal conclusion. Google has not performed a legal analysis and makes no representation as to the accuracy of the status listed.)
- Expired - Fee Related
Links
- 239000010410 layer Substances 0.000 claims abstract description 92
- 238000009413 insulation Methods 0.000 claims abstract description 31
- 230000002787 reinforcement Effects 0.000 claims abstract description 23
- 239000002356 single layer Substances 0.000 claims abstract description 22
- 229910000831 Steel Inorganic materials 0.000 claims abstract description 10
- 239000010959 steel Substances 0.000 claims abstract description 10
- 238000010276 construction Methods 0.000 claims abstract description 7
- 230000000694 effects Effects 0.000 abstract description 8
- 238000005192 partition Methods 0.000 abstract description 5
- 238000009434 installation Methods 0.000 abstract description 3
- 239000004566 building material Substances 0.000 abstract description 2
- 238000005034 decoration Methods 0.000 description 5
- 210000005069 ears Anatomy 0.000 description 5
- 238000004078 waterproofing Methods 0.000 description 3
- 238000003466 welding Methods 0.000 description 3
- 238000005260 corrosion Methods 0.000 description 2
- 230000007797 corrosion Effects 0.000 description 2
- VYPSYNLAJGMNEJ-UHFFFAOYSA-N Silicium dioxide Chemical compound O=[Si]=O VYPSYNLAJGMNEJ-UHFFFAOYSA-N 0.000 description 1
- 230000009286 beneficial effect Effects 0.000 description 1
- 230000005540 biological transmission Effects 0.000 description 1
- 239000011449 brick Substances 0.000 description 1
- 230000003749 cleanliness Effects 0.000 description 1
- 238000010586 diagram Methods 0.000 description 1
- 238000004519 manufacturing process Methods 0.000 description 1
- 239000000463 material Substances 0.000 description 1
- 238000000034 method Methods 0.000 description 1
- 230000004048 modification Effects 0.000 description 1
- 238000012986 modification Methods 0.000 description 1
- 238000004321 preservation Methods 0.000 description 1
- 230000002265 prevention Effects 0.000 description 1
- 239000000741 silica gel Substances 0.000 description 1
- 229910002027 silica gel Inorganic materials 0.000 description 1
- 239000002002 slurry Substances 0.000 description 1
- 239000007779 soft material Substances 0.000 description 1
- XLYOFNOQVPJJNP-UHFFFAOYSA-N water Substances O XLYOFNOQVPJJNP-UHFFFAOYSA-N 0.000 description 1
Images
Landscapes
- Building Environments (AREA)
Abstract
本实用新型公开一种外挂墙板,属于及建筑材料技术领域,包括墙板本体,所述墙板本体包括外混凝土构造层、保温层和内混凝土构造层,所述保温层设在所述外混凝土构造层和所述内混凝土构造层之间,所述外混凝土构造层内设有外单层钢筋网,所述内混凝土构造层内设有内单层钢筋网,所述外单层钢筋网和所述内单层钢筋网之间连接多个水平设置的紧固钢筋,所述外混凝土构造层的上端面和下端面分别低于所述内混凝土构造层的上端面和下端面,所述保温层的端面为连接外混凝土构造层和内混凝土构造层的斜面。本实用新型在相邻的墙板之间设有防水企口,在外挂墙板的安装后,避免了保温层出现隔断部分,从而有效提高保温效果。
The utility model discloses an external wall panel, which belongs to the technical field of building materials, and comprises a wall panel body. The wall panel body includes an outer concrete structural layer, a thermal insulation layer and an internal concrete structural layer, and the thermal insulation layer is arranged on the outer concrete structure layer. Between the concrete construction layer and the inner concrete construction layer, the outer concrete construction layer is provided with an outer single-layer reinforcement mesh, the inner concrete construction layer is provided with an inner single-layer reinforcement mesh, and the outer single-layer reinforcement mesh A plurality of horizontally arranged fastening steel bars are connected with the inner single-layer reinforcement mesh, the upper and lower end surfaces of the outer concrete structure layer are respectively lower than the upper and lower end surfaces of the inner concrete structure layer, and the The end face of the thermal insulation layer is an inclined plane connecting the outer concrete structural layer and the inner concrete structural layer. The utility model is provided with a waterproof tongue and groove between adjacent wall panels, and after the installation of the external wall panels, the occurrence of a partition part in the thermal insulation layer is avoided, thereby effectively improving the thermal insulation effect.
Description
技术领域technical field
本实用新型涉及建筑材料技术领域,特别涉及一种外挂墙板。The utility model relates to the technical field of building materials, in particular to an external wall panel.
背景技术Background technique
框架结构的外围护墙应具有装饰、保温隔热、防水、隔音、防潮、防火等功能,同时还应承担墙面的自重以及风荷载或地震作用,且对主体结构不应有刚度贡献。保温装饰一体化外挂墙板由于其在工厂生产,质量稳定,保温隔热性能可靠,外观装饰效果易于控制,适合现浇(或预制)框架结构的外围护。The outer retaining wall of the frame structure should have the functions of decoration, thermal insulation, waterproof, sound insulation, moisture resistance, fire prevention, etc. At the same time, it should also bear the self-weight of the wall and the effect of wind load or earthquake, and should not contribute to the stiffness of the main structure. The thermal insulation and decoration integrated external wall panel is suitable for the outer protection of cast-in-place (or prefabricated) frame structures because of its stable quality, reliable thermal insulation performance, and easy control of the appearance and decoration effect due to its production in the factory.
近年来,装配式建筑得到了较快发展,保温装饰一体化外墙板受到了广泛关注,保温装饰一体化外挂墙板的使用寿命是研究的重点,直接影响外围护系统是否同主体结构同寿命。现有外挂墙板需要在墙外外挂多块,才构成整个外挂墙体,相邻的外挂墙板之间存在隔断,保温效果欠佳,并且不利防水。并且当现浇楼面时,会出现混凝土沿着隔断流到外挂墙呆瓜,影响了立面的整洁。另外,现有的外挂墙板吊装支撑复杂,需要焊接,有可能因腐蚀增加使用风险。In recent years, prefabricated buildings have developed rapidly, and thermal insulation and decoration integrated external wall panels have received extensive attention. The service life of thermal insulation and decoration integrated external wall panels is the focus of research, which directly affects whether the external protection system is the same as the main structure. life. The existing external wall panels need to be hung outside the wall to form the entire external wall body. There is a partition between the adjacent external wall panels, the heat preservation effect is not good, and it is not good for waterproofing. And when the floor is cast-in-place, the concrete will flow along the partition to the external wall, which affects the cleanliness of the facade. In addition, the hoisting support of the existing external wall panels is complicated and requires welding, which may increase the risk of use due to corrosion.
实用新型内容Utility model content
本实用新型提供一种外挂墙板,解决现有的外挂墙板保温效果欠佳、不利于防水的问题。The utility model provides an external hanging wall panel, which solves the problems that the existing external hanging wall panel has poor thermal insulation effect and is unfavorable for waterproofing.
为解决上述技术问题,本实用新型提供的技术方案为:In order to solve the above-mentioned technical problem, the technical scheme that the utility model provides is:
一种外挂墙板,包括墙板本体,所述墙板本体包括外混凝土构造层、保温层和内混凝土构造层,所述保温层设在所述外混凝土构造层和所述内混凝土构造层之间,所述外混凝土构造层内设有外单层钢筋网,所述内混凝土构造层内设有内单层钢筋网,所述外单层钢筋网和所述内单层钢筋网之间连接多个水平设置的紧固钢筋,所述外混凝土构造层的上端面和下端面分别低于所述内混凝土构造层的上端面和下端面,所述保温层的端面为连接外混凝土构造层和内混凝土构造层的斜面。An external wall panel includes a wall panel body, the wall panel body includes an outer concrete structural layer, a thermal insulation layer and an internal concrete structural layer, and the thermal insulation layer is arranged between the external concrete structural layer and the internal concrete structural layer. The outer concrete structure layer is provided with an outer single-layer reinforcement mesh, the inner concrete structure layer is provided with an inner single-layer reinforcement mesh, and the outer single-layer reinforcement mesh and the inner single-layer reinforcement mesh are connected A plurality of horizontally arranged fastening steel bars, the upper and lower end surfaces of the outer concrete structure layer are respectively lower than the upper end surface and the lower end surface of the inner concrete structure layer, and the end surface of the thermal insulation layer is for connecting the outer concrete structure layer and the lower end surface. The slope of the inner concrete construction layer.
其中,优选地,相邻的所述紧固钢筋的间距为500-700mm。Wherein, preferably, the distance between the adjacent fastening bars is 500-700mm.
其中,优选地,相邻墙板之间的缝隙构成防水企口,所述防水企口内相邻的外混凝土构造层之间设有排水件,所述防水企口内相邻的内混凝土构造层之间设有防水件。Wherein, preferably, the gap between the adjacent wall panels constitutes a waterproof groove, a drainage piece is arranged between the adjacent outer concrete structural layers in the waterproof groove, and between the adjacent inner concrete structural layers in the waterproof groove. There is a waterproofing in the room.
其中,优选地,所述内混凝土构造层内壁分别设有上挂耳和下挂耳,所述上挂耳和所述下挂耳与所述内混凝土构造层一体构成,所述上挂耳和所述下挂耳内分别设有纵向连接孔。Wherein, preferably, the inner wall of the inner concrete structure layer is respectively provided with an upper hanging ear and a lower hanging ear, the upper hanging ear and the lower hanging ear are integrally formed with the inner concrete structure layer, and the upper hanging ear and the lower hanging ear are integrally formed with the inner concrete structure layer. The lower hanging ears are respectively provided with longitudinal connecting holes.
其中,优选地,所述上挂耳的数量为多个,横向均匀的分布在所述内混凝土构造层内壁的一水平面上。Wherein, preferably, the number of the upper hanging lugs is multiple, which are uniformly distributed laterally on a horizontal plane of the inner wall of the inner concrete structure layer.
其中,优选地,所述下挂耳的数量为多个,横向均匀的分布在所述内混凝土构造层内壁的一水平面上。Wherein, preferably, the number of the lower hanging lugs is multiple, which are uniformly distributed laterally on a horizontal plane of the inner wall of the inner concrete structure layer.
本实用新型提供的技术方案,与现有技术相比,具有以下有益效果:Compared with the prior art, the technical solution provided by the utility model has the following beneficial effects:
本实用新型在相邻的墙板之间设有防水企口,在外挂墙板的安装后,避免了保温层出现隔断部分,从而有效提高保温效果;并且,内外混凝土构造层分别布置有单层钢筋网,紧固钢筋穿过保温层与两侧的单层钢筋网有效连接,使两侧混凝土构造层和保温层紧密结合,提高了外挂墙板的整体稳定性、耐久性,彻底解决了保温层易开裂、易脱落的问题。The utility model is provided with a waterproof tongue and groove between the adjacent wall panels, and after the installation of the external wall panels, the occurrence of a partition part in the thermal insulation layer is avoided, thereby effectively improving the thermal insulation effect; and the inner and outer concrete structural layers are respectively arranged with a single layer Reinforcement mesh, the tightening steel bar passes through the insulation layer and is effectively connected to the single-layer reinforcement mesh on both sides, so that the concrete structure layer on both sides and the insulation layer are closely combined, which improves the overall stability and durability of the external wall panel, and completely solves the problem of thermal insulation. The layer is easy to crack and fall off.
附图说明Description of drawings
为了更清楚地说明本实用新型实施例或现有技术中的技术方案,下面将对实施例或现有技术描述中所需要使用的附图作简单地介绍,显而易见地,下面描述中的附图仅仅是本实用新型的一些实施例,对于本领域普通技术人员来讲,在不付出创造性劳动的前提下,还可以根据这些附图获得其他的实施例;In order to more clearly illustrate the embodiments of the present utility model or the technical solutions in the prior art, the following briefly introduces the accompanying drawings that need to be used in the description of the embodiments or the prior art. Obviously, the accompanying drawings in the following description These are just some embodiments of the present utility model, and for those of ordinary skill in the art, other embodiments can also be obtained according to these drawings without creative work;
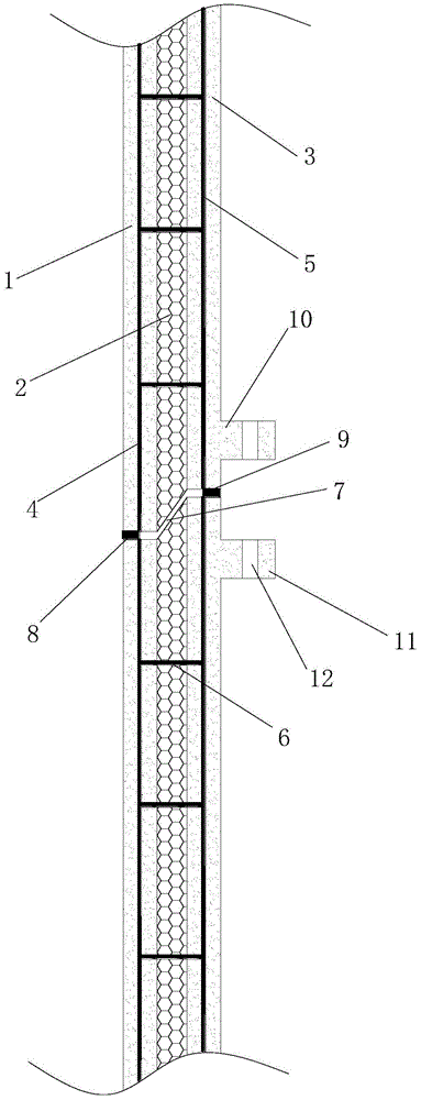
图1为本实用新型中外挂墙板的结构示意图。FIG. 1 is a schematic structural diagram of an external wall panel in the utility model.
图中:1.外混凝土构造层,2.保温层,3.内混凝土构造层,4.外单层钢筋网, 5.内单层钢筋网,6.紧固钢筋,7.防水企口,8.排水件,9.防水件,10.上挂耳, 11.下挂耳,12.纵向连接孔。In the picture: 1. Outer concrete structure layer, 2. Insulation layer, 3. Inner concrete structure layer, 4. Outer single-layer reinforcement mesh, 5. Inner single-layer reinforcement mesh, 6. Fastening steel bar, 7. Waterproof tongue and groove, 8. Drainage parts, 9. Waterproof parts, 10. Upper hanging ears, 11. Lower hanging ears, 12. Vertical connection holes.
具体实施方式Detailed ways
下面将结合本实用新型具体实施例,对本实用新型的技术方案进行清楚、完整地描述,显然,所描述的实施例仅仅是本实用新型一部分实施例,而不是全部的实施例。基于本实用新型中的实施例,本领域普通技术人员在没有做出创造性劳动前提下所获得的所有其他实施例,都属于本实用新型保护的范围。The technical solutions of the present invention will be clearly and completely described below with reference to the specific embodiments of the present invention. Obviously, the described embodiments are only a part of the embodiments of the present invention, rather than all the embodiments. Based on the embodiments of the present invention, all other embodiments obtained by those of ordinary skill in the art without creative work fall within the protection scope of the present invention.
如图1所示,本实施例提供一种外挂墙板,包括墙板本体,墙板本体包括外混凝土构造层1、保温层2和内混凝土构造层3,保温层2设在外混凝土构造层1和内混凝土构造层3之间,外混凝土构造层1内设有外单层钢筋网4,内混凝土构造层3内设有内单层钢筋网5,外单层钢筋网4和内单层钢筋网5之间连接多个水平设置的紧固钢筋6,外混凝土构造层1的上端面和下端面分别低于内混凝土构造层3的上端面和下端面,保温层2的端面为连接外混凝土构造层1 和内混凝土构造层3的斜面。在相邻的墙板之间设有防水企口7,在外挂墙板的安装后,避免了保温层2出现隔断部分,从而有效提高保温效果;并且,内外混凝土构造层1分别布置有单层钢筋网,紧固钢筋6穿过保温层2与两侧的单层钢筋网有效连接,使两侧混凝土构造层和保温层2紧密结合,提高了外挂墙板的整体稳定性、耐久性,彻底解决了保温层2易开裂、易脱落的问题。As shown in FIG. 1 , this embodiment provides an external wall panel, including a wall panel body. The wall panel body includes an outer concrete structural layer 1 , an
其中,相邻的紧固钢筋6的间距为600mm,以确保紧固钢筋6的强度。Among them, the distance between the adjacent tightening
其中,相邻墙板之间的缝隙构成防水企口7,防水企口7内相邻的外混凝土构造层1之间设有排水件8,防水企口7内相邻的内混凝土构造层3之间设有防水件9。排水件8、防水件9的材质可为硅胶、橡胶等常用的软性材料。排水件8具有一定的弹性,能够保证排水件8与相邻墙板的内混凝土构造层3之间不存在缝隙,墙内的水不会流到墙板内。通过设置防水件9可以防止在后续浇筑时,发生水平方向的漏浆。并且,排水件8和防水件9的设置使用防水企口7 为封闭的空间,进一步的提高了防水企口7的保温效果。Wherein, the gap between the adjacent wall panels constitutes a
其中,内混凝土构造层3内壁分别设有上挂耳10和下挂耳11,上挂耳10 和下挂耳11与内混凝土构造层3一体构成,上挂耳10和下挂耳11内分别设有纵向连接孔12。其中,上挂耳10的数量为三个,横向均匀的分布在内混凝土构造层3内壁的一水平面上。下挂耳11的数量为三个,横向均匀的分布在内混凝土构造层3内壁的一水平面上。上挂耳10与下挂耳11与内混凝土构造层3为一体结构,增强了挂耳的稳定性。使用时,只需通过上挂耳10和下挂耳11将外挂墙板挂到主体墙体上,吊装支撑简便,无需焊接,与焊接挂装连接相比,彻底解决腐蚀,火灾隐患问题;并且,由于设置有多个挂耳,外挂墙板传力和传统砖砌墙体一致,受力均匀。Wherein, the inner wall of the inner
以上所述仅为本实用新型的较佳实施例而已,并不用以限制本实用新型,凡在本实用新型的精神和原则之内,所作的任何修改、等同替换、改进等,均应包含在本实用新型的保护范围之内。The above are only preferred embodiments of the present invention, and are not intended to limit the present invention. Any modification, equivalent replacement, improvement, etc. made within the spirit and principle of the present invention shall be included in the within the scope of protection of the present invention.
Claims (6)
Priority Applications (1)
| Application Number | Priority Date | Filing Date | Title |
|---|---|---|---|
| CN201922141043.2U CN212104635U (en) | 2019-12-03 | 2019-12-03 | An external wall panel |
Applications Claiming Priority (1)
| Application Number | Priority Date | Filing Date | Title |
|---|---|---|---|
| CN201922141043.2U CN212104635U (en) | 2019-12-03 | 2019-12-03 | An external wall panel |
Publications (1)
| Publication Number | Publication Date |
|---|---|
| CN212104635U true CN212104635U (en) | 2020-12-08 |
Family
ID=73620938
Family Applications (1)
| Application Number | Title | Priority Date | Filing Date |
|---|---|---|---|
| CN201922141043.2U Expired - Fee Related CN212104635U (en) | 2019-12-03 | 2019-12-03 | An external wall panel |
Country Status (1)
| Country | Link |
|---|---|
| CN (1) | CN212104635U (en) |
-
2019
- 2019-12-03 CN CN201922141043.2U patent/CN212104635U/en not_active Expired - Fee Related
Similar Documents
| Publication | Publication Date | Title |
|---|---|---|
| CN207296270U (en) | Half inlay semi-mounted side fascia mounting structure suitable for assembly type structure | |
| CN204510527U (en) | Sheet-pile self heat insulation wall | |
| WO2012119479A1 (en) | Outer insulating composite wall of outer wall | |
| CN212104635U (en) | An external wall panel | |
| CN115217245A (en) | Waterproof heat preservation template | |
| CN207110209U (en) | A kind of intelligent building concrete special brick | |
| CN204781387U (en) | Composite wall panel with vapour barrier | |
| CN209817737U (en) | Assembly type bay window and structure system thereof | |
| CN209277343U (en) | A kind of multi-functional complex heat-preservation exempts to tear exterior sheathing open | |
| CN209874110U (en) | Exterior wall cladding | |
| CN209293233U (en) | A high-efficiency thermal insulation building wall | |
| CN102776988B (en) | Thermal insulation fireproof anti-seismic integrated novel energy-saving roof board | |
| CN111997234A (en) | Novel ALC plate steel structure antidetonation connected node | |
| CN212104634U (en) | A fixed structure for an external wall panel | |
| CN203795707U (en) | Anti-crack light wallboard | |
| CN203583769U (en) | Hole-bearing double-vane wire-frame concrete sandwich composite thermal-insulation external wall board | |
| CN118241796A (en) | Construction of steel building shell | |
| CN211229005U (en) | Building heat preservation outer wall | |
| CN209907721U (en) | Heat preservation wallboard structure | |
| CN206957106U (en) | Wire netting rock cotton board | |
| CN222614575U (en) | Composite heat-insulating external wall panel | |
| CN209760427U (en) | Sandwich insulation structure system that meets the requirements of ultra-low energy consumption buildings | |
| CN206655353U (en) | A kind of sandwich wall that the connection of cement-foam panel mesh sheet is adopted with steel wire | |
| CN206800997U (en) | A kind of fireproof heat insulating template | |
| CN211949057U (en) | A kind of building clapboard for lightweight protective outer wall |
Legal Events
| Date | Code | Title | Description |
|---|---|---|---|
| GR01 | Patent grant | ||
| GR01 | Patent grant | ||
| CF01 | Termination of patent right due to non-payment of annual fee | ||
| CF01 | Termination of patent right due to non-payment of annual fee |
Granted publication date: 20201208 |
