CN212103756U - A warning device for communication engineering construction - Google Patents
A warning device for communication engineering construction Download PDFInfo
- Publication number
- CN212103756U CN212103756U CN202020193775.6U CN202020193775U CN212103756U CN 212103756 U CN212103756 U CN 212103756U CN 202020193775 U CN202020193775 U CN 202020193775U CN 212103756 U CN212103756 U CN 212103756U
- Authority
- CN
- China
- Prior art keywords
- wall
- warning
- engineering construction
- warning device
- communication engineering
- Prior art date
- Legal status (The legal status is an assumption and is not a legal conclusion. Google has not performed a legal analysis and makes no representation as to the accuracy of the status listed.)
- Expired - Fee Related
Links
- 238000010276 construction Methods 0.000 title claims abstract description 27
- 238000004891 communication Methods 0.000 title claims abstract description 21
- 230000007246 mechanism Effects 0.000 claims abstract description 21
- 230000008878 coupling Effects 0.000 claims abstract description 4
- 238000010168 coupling process Methods 0.000 claims abstract description 4
- 238000005859 coupling reaction Methods 0.000 claims abstract description 4
- 244000309464 bull Species 0.000 claims 2
- 238000010586 diagram Methods 0.000 description 4
- 230000000694 effects Effects 0.000 description 3
- 238000000034 method Methods 0.000 description 2
- 238000013475 authorization Methods 0.000 description 1
- 230000009286 beneficial effect Effects 0.000 description 1
- 239000003086 colorant Substances 0.000 description 1
- 238000007689 inspection Methods 0.000 description 1
- 230000004048 modification Effects 0.000 description 1
- 238000012986 modification Methods 0.000 description 1
- 230000008569 process Effects 0.000 description 1
Images
Landscapes
- Road Signs Or Road Markings (AREA)
Abstract
本实用新型公开了一种通信工程施工用警示装置,包括底板,所述底板的底部外壁四角均设置有移动轮,且底板的顶部外壁四角均设置有第一液压杆,所述第一液压杆的顶部外壁设置有支撑箱,所述支撑箱的顶部外壁两侧均设置有警示机构,且支撑箱的一侧内壁通过滑轨滑动连接有收纳机构,所述支撑箱的底部内壁设置有电机,且电机的输出轴通过联轴器连接有转杆,转杆的顶部外壁设置有支撑柱,且支撑柱的顶部外壁设有角度调节机构。本实用新型通过设置有底板、移动轮和第一液压杆,通过将第一液压杆连接液压系统,可根据施工地的高度对第一液压杆的长度进行调节,便于人们更加清晰的看见警示装置,提高了装置的实用性。
The utility model discloses a warning device for communication engineering construction. The top outer wall of the support box is provided with a support box, both sides of the top outer wall of the support box are provided with warning mechanisms, and one side inner wall of the support box is slidably connected with a storage mechanism through a slide rail, and the bottom inner wall of the support box is provided with a motor, And the output shaft of the motor is connected with a rotating rod through a coupling, the top outer wall of the rotating rod is provided with a support column, and the top outer wall of the support column is provided with an angle adjustment mechanism. The utility model is provided with a bottom plate, a moving wheel and a first hydraulic rod, and by connecting the first hydraulic rod with the hydraulic system, the length of the first hydraulic rod can be adjusted according to the height of the construction site, so that people can see the warning device more clearly , which improves the practicability of the device.
Description
技术领域technical field
本实用新型涉及通信工程技术领域,尤其涉及一种通信工程施工用警示装置。The utility model relates to the technical field of communication engineering, in particular to a warning device for communication engineering construction.
背景技术Background technique
安全标志是由安全色、几何图形和图形符号所构成,用以表达特定的安全信息分为禁止标志、警告标志、指令标志和提示标志四大类。一般在施工的过程中,都会使用到警示牌。Safety signs are composed of safety colors, geometric figures and graphic symbols, which are used to express specific safety information and are divided into four categories: prohibition signs, warning signs, instruction signs and prompt signs. Generally, warning signs are used during the construction process.
经检索,中国专利授权号为CN209508861U的专利,公开了一种道路施工用警示装置,包括底座、转动组件、支架、往复组件及摇摆组件;本实用新型提供了一种道路施工用警示装置。上述专利还存在以下不足:无法对装置的高度进行调节,不能够根据通信工程的施工地进行调节装置的高度,降低了装置的实用性。After searching, the Chinese patent authorization number is CN209508861U, which discloses a warning device for road construction, including a base, a rotating component, a bracket, a reciprocating component and a swing component; the utility model provides a warning device for road construction. The above patent also has the following shortcomings: the height of the device cannot be adjusted, and the height of the device cannot be adjusted according to the construction site of the communication project, which reduces the practicability of the device.
实用新型内容Utility model content
本实用新型的目的是为了解决现有技术中存在的缺点,而提出的一种通信工程施工用警示装置。The purpose of the utility model is to propose a warning device for communication engineering construction in order to solve the shortcomings existing in the prior art.
为了实现上述目的,本实用新型采用了如下技术方案:In order to achieve the above-mentioned purpose, the utility model adopts the following technical scheme:
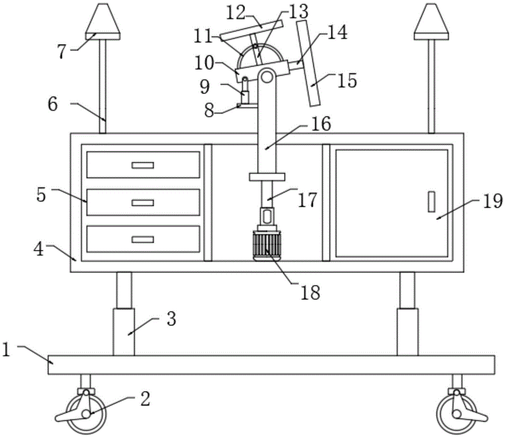
一种通信工程施工用警示装置,包括底板,所述底板的底部外壁四角均设置有移动轮,且底板的顶部外壁四角均设置有第一液压杆,所述第一液压杆的顶部外壁设置有支撑箱,所述支撑箱的顶部外壁两侧均设置有警示机构,且支撑箱的一侧内壁通过滑轨滑动连接有收纳机构,所述支撑箱的底部内壁设置有电机,且电机的输出轴通过联轴器连接有转杆,转杆的顶部外壁设置有支撑柱,且支撑柱的顶部外壁通过铰链连接有角度调节机构。A warning device for communication engineering construction includes a bottom plate, four corners of the bottom outer wall of the bottom plate are provided with moving wheels, and the four corners of the top outer wall of the bottom plate are provided with first hydraulic rods, and the top outer wall of the first hydraulic rod is provided with Support box, both sides of the top outer wall of the support box are provided with warning mechanisms, and one side inner wall of the support box is slidably connected to a storage mechanism through a slide rail, the bottom inner wall of the support box is provided with a motor, and the output shaft of the motor A rotating rod is connected through a coupling, a support column is arranged on the top outer wall of the rotating rod, and an angle adjusting mechanism is connected to the top outer wall of the support column through a hinge.
进一步的,所述收纳机构包括有抽屉,且抽屉的一侧外壁设置有拉环。Further, the storage mechanism includes a drawer, and an outer wall of one side of the drawer is provided with a pull ring.
进一步的,所述支撑箱的一侧外壁通过铰链连接有检修门和箱门。Further, an outer wall of one side of the support box is connected with an access door and a box door through a hinge.
进一步的,所述角度调节机构包括有移动板,且支撑柱的一侧外壁设置有连接板,连接板的顶部外壁设置有第二液压杆。Further, the angle adjustment mechanism includes a moving plate, and one side outer wall of the support column is provided with a connecting plate, and the top outer wall of the connecting plate is provided with a second hydraulic rod.
进一步的,所述第二液压杆的一侧外壁通过铰链连接于移动板的一侧外壁,且移动板的顶部外壁设置有固定罩和固定柱,固定柱的顶部外壁设置有太阳能电池板。Further, an outer wall of one side of the second hydraulic rod is connected to an outer wall of one side of the moving plate through a hinge, and the top outer wall of the moving plate is provided with a fixed cover and a fixed column, and the top outer wall of the fixed column is provided with a solar cell panel.
进一步的,所述移动板的一侧外壁设置有连接杆,且连接杆的一侧外壁设置有警示板。Further, one side outer wall of the moving plate is provided with a connecting rod, and one side outer wall of the connecting rod is provided with a warning board.
进一步的,所述警示机构包括有灯杆,且灯杆的顶部外壁设置有警示灯。Further, the warning mechanism includes a light pole, and the top outer wall of the light pole is provided with a warning light.
进一步的,还包括设置于底板底部外壁的第三液压杆,所述第三液压杆的底部外壁设置有防滑座。Further, it also includes a third hydraulic rod disposed on the bottom outer wall of the bottom plate, and the bottom outer wall of the third hydraulic rod is provided with an anti-skid seat.
本实用新型的有益效果为:The beneficial effects of the present utility model are:
1、通过设置有底板、移动轮和第一液压杆,通过将第一液压杆连接液压系统,可根据施工地的高度对第一液压杆的长度进行调节,便于人们更加清晰的看见警示装置,提高了装置的实用性。1. The length of the first hydraulic rod can be adjusted according to the height of the construction site by being provided with a bottom plate, a moving wheel and a first hydraulic rod, and by connecting the first hydraulic rod to the hydraulic system, so that people can see the warning device more clearly. The practicality of the device is improved.
2、通过设置有电机、转杆、第二液压杆和警示板,将第二液压杆连接液压系统,可根据装置的摆放位置,调节第二液压杆的长度,调节警示板的角度,便于更加清晰的看见警示板,另外打开电机,电机带动转杆进行转动,旋转的警示板可更加吸引人们的注意。2. By being provided with a motor, a rotating rod, a second hydraulic rod and a warning board, the second hydraulic rod is connected to the hydraulic system, and the length of the second hydraulic rod and the angle of the warning board can be adjusted according to the placement position of the device, which is convenient for The warning board can be seen more clearly. In addition, the motor is turned on, and the motor drives the rotating rod to rotate. The rotating warning board can attract people's attention more.
3、通过设置有太阳能电池板、灯杆和警示灯,太阳能电池板将太阳能转化为电能可为装置提供部分电力,可合理地利用能源,另外警示灯的设置可提高装置的警示效果。3. By being equipped with solar panels, light poles and warning lights, the solar panels can convert solar energy into electrical energy to provide part of the power for the device, and the energy can be used reasonably. In addition, the setting of the warning lights can improve the warning effect of the device.
4、通过设置有第三液压杆和防滑座,通过将第三液压杆连接液压系统,调节第三液压杆的长度可使防滑座触地,可提高装置的稳定性。4. By setting the third hydraulic rod and the anti-skid seat, by connecting the third hydraulic rod to the hydraulic system, adjusting the length of the third hydraulic rod can make the anti-skid seat touch the ground, which can improve the stability of the device.
附图说明Description of drawings
图1为本实用新型实施例1提出的一种通信工程施工用警示装置的结构示意图;1 is a schematic structural diagram of a warning device for communication engineering construction proposed in
图2为本实用新型实施例1提出的一种通信工程施工用警示装置的检修门的结构示意图;2 is a schematic structural diagram of an inspection door of a warning device for communication engineering construction proposed in
图3为本实用新型实施例1提出的一种通信工程施工用警示装置的太阳能电池板的结构示意图;3 is a schematic structural diagram of a solar cell panel of a warning device for communication engineering construction proposed in
图4为本实用新型实施例2提出的一种通信工程施工用警示装置的第三液压杆的结构示意图。4 is a schematic structural diagram of a third hydraulic rod of a warning device for communication engineering construction proposed in
图中:1-底板、2-移动轮、3-第一液压杆、4-支撑箱、5-抽屉、6-灯杆、7-警示灯、8-连接板、9-第二液压杆、10-移动板、11-固定罩、12-太阳能电池板、13-固定柱、14-连接杆、15-警示板、16-支撑柱、17-转杆、18-电机、19-箱门、20-拉环、21-检修门、22-防滑座、23-第三液压杆。In the picture: 1-base plate, 2-moving wheel, 3-first hydraulic rod, 4-support box, 5-drawer, 6-light rod, 7-warning light, 8-connecting plate, 9-second hydraulic rod, 10-moving board, 11-fixed cover, 12-solar panel, 13-fixed column, 14-connecting rod, 15-warning board, 16-support column, 17-rotating rod, 18-motor, 19-box door, 20- pull ring, 21- access door, 22- anti-skid seat, 23- third hydraulic rod.
具体实施方式Detailed ways
下面结合具体实施方式对本专利的技术方案作进一步详细地说明。The technical solution of the present patent will be described in further detail below in conjunction with specific embodiments.
下面详细描述本专利的实施例,所述实施例的示例在附图中示出,其中自始至终相同或类似的标号表示相同或类似的元件或具有相同或类似功能的元件。下面通过参考附图描述的实施例是示例性的,仅用于解释本专利,而不能理解为对本专利的限制。Embodiments of the present patent are described in detail below, examples of which are illustrated in the accompanying drawings, wherein the same or similar reference numerals refer to the same or similar elements or elements having the same or similar functions throughout. The embodiments described below with reference to the accompanying drawings are exemplary and are only used to explain the present patent, but should not be construed as a limitation on the present patent.
在本专利的描述中,需要理解的是,术语“中心”、“上”、“下”、“前”、“后”、“左”、“右”、“竖直”、“水平”、“顶”、“底”、“内”、“外”等指示的方位或位置关系为基于附图所示的方位或位置关系,仅是为了便于描述本专利和简化描述,而不是指示或暗示所指的装置或元件必须具有特定的方位、以特定的方位构造和操作,因此不能理解为对本专利的限制。In the description of this patent, it should be understood that the terms "center", "upper", "lower", "front", "rear", "left", "right", "vertical", "horizontal", The orientation or positional relationship indicated by "top", "bottom", "inner", "outer", etc. is based on the orientation or positional relationship shown in the drawings, and is only for the convenience of describing the present patent and simplifying the description, rather than indicating or implying The device or element referred to must have, be constructed, and operate in a particular orientation and is not to be construed as a limitation of this patent.
在本专利的描述中,需要说明的是,除非另有明确的规定和限定,术语“安装”、“相连”、“连接”、“设置”应做广义理解,例如,可以是固定相连、设置,也可以是可拆卸连接、设置,或一体地连接、设置。对于本领域的普通技术人员而言,可以根据具体情况理解上述术语在本专利中的具体含义。In the description of this patent, it should be noted that, unless otherwise expressly specified and limited, the terms "installed", "connected", "connected" and "arranged" should be understood in a broad sense. , it can also be detachably connected and set, or integrally connected and set. For those of ordinary skill in the art, the specific meanings of the above terms in this patent can be understood according to specific situations.
实施例1Example 1
参照图1-3,一种通信工程施工用警示装置,包括底板1,底板1的底部外壁四角均通过螺钉固定有移动轮2,且底板1的顶部外壁四角均通过螺钉固定有第一液压杆3,第一液压杆3的顶部外壁通过螺钉固定有支撑箱4,支撑箱4的顶部外壁两侧均通过螺钉固定有警示机构,且支撑箱4的一侧内壁通过滑轨滑动连接有收纳机构,支撑箱4的底部内壁通过螺钉固定有电机18,且电机18的输出轴通过联轴器连接有转杆17,转杆17的顶部外壁通过螺钉固定有支撑柱16,且支撑柱16的顶部外壁通过铰链连接有角度调节机构。Referring to Figures 1-3, a warning device for communication engineering construction includes a
其中,收纳机构包括有抽屉5,且抽屉5的一侧外壁通过螺钉固定有拉环20,支撑箱4的一侧外壁通过铰链连接有检修门21和箱门19。The storage mechanism includes a
其中,角度调节机构包括有移动板10,且支撑柱16的一侧外壁焊接有连接板8,连接板8的顶部外壁通过螺钉固定有第二液压杆9。The angle adjustment mechanism includes a moving
其中,第二液压杆9的一侧外壁通过铰链连接于移动板10的一侧外壁,且移动板10的顶部外壁焊接有固定罩11和固定柱13,固定柱13的顶部外壁通过螺钉固定有太阳能电池板12。One side outer wall of the second
其中,移动板10的一侧外壁通过螺钉固定有连接杆14,且连接杆14的一侧外壁通过螺钉固定有警示板15。The connecting
其中,警示机构包括有灯杆6,且灯杆6的顶部外壁通过螺钉固定有警示灯7。The warning mechanism includes a
工作原理:将设备连接电源,将第一液压杆3、第二液压杆9和第三液压杆23分别液压系统,可根据施工地的高度对第一液压杆3的长度进行调节,可根据装置的摆放位置,调节第二液压杆9的长度,调节警示板15的角度,便于更加清晰的看见警示板15,另外打开电机18,电机18带动转杆17进行转动,旋转的警示板15可更加吸引人们的注意,太阳能电池板12将太阳能转化为电能可为装置提供部分电力,合理地利用能源,另外警示灯7的设置可提高装置的警示效果,抽屉5提高了装置的收纳性能。Working principle: Connect the equipment to the power supply, separate the first
实施例2Example 2
参照图4,一种通信工程施工用警示装置,还包括通过螺钉固定于底板1底部外壁的第三液压杆23,第三液压杆23的底部外壁通过螺钉固定有防滑座22。4 , a communication engineering construction warning device further includes a third
工作原理:将设备连接电源,将第一液压杆3、第二液压杆9和第三液压杆23分别液压系统,可根据施工地的高度对第一液压杆3的长度进行调节,可根据装置的摆放位置,调节第二液压杆9的长度,调节警示板15的角度,便于更加清晰的看见警示板15,另外打开电机18,电机18带动转杆17进行转动,旋转的警示板15可更加吸引人们的注意,太阳能电池板12将太阳能转化为电能可为装置提供部分电力,合理地利用能源,另外警示灯7的设置可提高装置的警示效果,抽屉5提高了装置的收纳性能,另外通过将第三液压杆23连接液压系统,调节第三液压杆23的长度可使防滑座22触地,可提高装置的稳定性。Working principle: Connect the equipment to the power supply, separate the first
以上所述,仅为本实用新型较佳的具体实施方式,但本实用新型的保护范围并不局限于此,任何熟悉本技术领域的技术人员在本实用新型揭露的技术范围内,根据本实用新型的技术方案及其实用新型构思加以等同替换或改变,都应涵盖在本实用新型的保护范围之内。The above description is only a preferred embodiment of the present invention, but the protection scope of the present invention is not limited to this. Equivalent replacement or modification of the new technical solution and its utility model concept shall be included within the protection scope of the present utility model.
Claims (8)
Priority Applications (1)
| Application Number | Priority Date | Filing Date | Title |
|---|---|---|---|
| CN202020193775.6U CN212103756U (en) | 2020-02-21 | 2020-02-21 | A warning device for communication engineering construction |
Applications Claiming Priority (1)
| Application Number | Priority Date | Filing Date | Title |
|---|---|---|---|
| CN202020193775.6U CN212103756U (en) | 2020-02-21 | 2020-02-21 | A warning device for communication engineering construction |
Publications (1)
| Publication Number | Publication Date |
|---|---|
| CN212103756U true CN212103756U (en) | 2020-12-08 |
Family
ID=73631782
Family Applications (1)
| Application Number | Title | Priority Date | Filing Date |
|---|---|---|---|
| CN202020193775.6U Expired - Fee Related CN212103756U (en) | 2020-02-21 | 2020-02-21 | A warning device for communication engineering construction |
Country Status (1)
| Country | Link |
|---|---|
| CN (1) | CN212103756U (en) |
-
2020
- 2020-02-21 CN CN202020193775.6U patent/CN212103756U/en not_active Expired - Fee Related
Similar Documents
| Publication | Publication Date | Title |
|---|---|---|
| CN212869587U (en) | Liftable energy-saving street lamp | |
| CN210983747U (en) | License plate recognition device for gas station | |
| CN212103756U (en) | A warning device for communication engineering construction | |
| CN204119126U (en) | Self adaptation portable type solar energy photovoltaic power supply system | |
| CN211016436U (en) | A highway billboard | |
| CN204427289U (en) | A kind of solar energy seat | |
| CN112289192A (en) | Label based on solar power generation and installation method thereof | |
| CN209229576U (en) | A kind of haze monitoring environmental protection lighting device based on Internet of Things | |
| CN218895317U (en) | Energy-saving lamp with automatic illumination intensity adjustment function | |
| CN217629532U (en) | A job site warning equipment for municipal construction | |
| CN211342093U (en) | A kind of fence for safety maintenance of electric power construction | |
| CN212430732U (en) | Liftable intelligent LED solar street lamp | |
| CN115331566A (en) | Construction warning sign based on bore hole 3D technique | |
| CN213178125U (en) | Angle can be adjusted freely type solar street lamp | |
| CN209357422U (en) | A kind of economic management Show board | |
| CN209859460U (en) | A simulation sand table for railway traffic safety operation | |
| CN220815199U (en) | Photovoltaic power generation construction protection frame | |
| CN221632091U (en) | Temporary energy-saving traffic light for crossroad | |
| CN207149193U (en) | A kind of sound billboard | |
| CN221375546U (en) | Can prevent solar street lamp that emptys | |
| CN210035328U (en) | Solar LED garden lamp | |
| CN216822403U (en) | Multi-functional seat of municipal administration sanitation | |
| CN211773068U (en) | Road and bridge restricted driving equipment | |
| CN218469030U (en) | Energy-saving lighting system for municipal landscape | |
| CN221724226U (en) | A rotating device for road engineering lighting |
Legal Events
| Date | Code | Title | Description |
|---|---|---|---|
| GR01 | Patent grant | ||
| GR01 | Patent grant | ||
| PE01 | Entry into force of the registration of the contract for pledge of patent right | ||
| PE01 | Entry into force of the registration of the contract for pledge of patent right |
Denomination of utility model: A warning device for communication engineering construction Effective date of registration: 20210531 Granted publication date: 20201208 Pledgee: Xi'an Science and Technology Financial Service Center Co.,Ltd. Pledgor: China mutual linkage Construction Co.,Ltd. Registration number: Y2021610000121 |
|
| PC01 | Cancellation of the registration of the contract for pledge of patent right | ||
| PC01 | Cancellation of the registration of the contract for pledge of patent right |
Date of cancellation: 20220610 Granted publication date: 20201208 Pledgee: Xi'an Science and Technology Financial Service Center Co.,Ltd. Pledgor: China mutual linkage Construction Co.,Ltd. Registration number: Y2021610000121 |
|
| PE01 | Entry into force of the registration of the contract for pledge of patent right | ||
| PE01 | Entry into force of the registration of the contract for pledge of patent right |
Denomination of utility model: A warning device for communication engineering construction Effective date of registration: 20220617 Granted publication date: 20201208 Pledgee: China Dadi Property Insurance Co.,Ltd. Shaanxi Branch Pledgor: China mutual linkage Construction Co.,Ltd. Registration number: Y2022980008100 |
|
| PC01 | Cancellation of the registration of the contract for pledge of patent right | ||
| PC01 | Cancellation of the registration of the contract for pledge of patent right |
Date of cancellation: 20231204 Granted publication date: 20201208 Pledgee: China Dadi Property Insurance Co.,Ltd. Shaanxi Branch Pledgor: China mutual linkage Construction Co.,Ltd. Registration number: Y2022980008100 |
|
| CF01 | Termination of patent right due to non-payment of annual fee | ||
| CF01 | Termination of patent right due to non-payment of annual fee |
Granted publication date: 20201208 |
