CN212103387U - An energy-saving drying device for the production of knitted sweaters - Google Patents
An energy-saving drying device for the production of knitted sweaters Download PDFInfo
- Publication number
- CN212103387U CN212103387U CN202020283276.6U CN202020283276U CN212103387U CN 212103387 U CN212103387 U CN 212103387U CN 202020283276 U CN202020283276 U CN 202020283276U CN 212103387 U CN212103387 U CN 212103387U
- Authority
- CN
- China
- Prior art keywords
- drying box
- air
- drying
- energy
- air outlet
- Prior art date
- Legal status (The legal status is an assumption and is not a legal conclusion. Google has not performed a legal analysis and makes no representation as to the accuracy of the status listed.)
- Expired - Fee Related
Links
Images
Landscapes
- Accessory Of Washing/Drying Machine, Commercial Washing/Drying Machine, Other Washing/Drying Machine (AREA)
Abstract
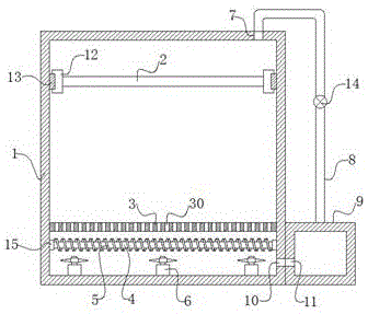
本实用新型公开了一种针织衫生产用节能烘干装置,包括烘干箱体,烘干箱体的内腔顶部滑动装配安装设有挂衣杆,烘干箱体的内腔底部固定安装设有底板,底板上均布开设有若干个均流风孔,底板的下方设置有加热棒,在加热棒上缠绕套设有加热线圈,烘干箱体的内底壁上均布安装设有多个风扇,烘干箱体的顶壁上开设有排风口,所开设的排风口的位置处固定插设连接回风管的一端,回风管的另一端连接至循环箱体,烘干箱体、循环箱体的侧壁上分别相对应开设有进风口、溢风口,进风口与溢风口之间相密封连通设置。采用本技术方案,其结构简单,装配安装方便,通过循环箱体把余热部分余量流入至烘干箱体进行再次加热利用,起到节能烘干的作用。
The utility model discloses an energy-saving drying device for the production of knitted sweaters, which comprises a drying box body, a clothes hanger is slidably assembled and installed at the top of the inner cavity of the drying box body, and a clothes hanger is fixedly installed at the bottom of the inner cavity of the drying box body. There is a bottom plate, a number of uniform air holes are evenly distributed on the bottom plate, a heating rod is arranged under the bottom plate, a heating coil is wound around the heating rod, and a plurality of uniformly installed on the inner bottom wall of the drying box The fan, the top wall of the drying box is provided with an air outlet, and one end of the air return pipe is fixedly inserted at the position of the opened air outlet, and the other end of the return air pipe is connected to the circulation box, and the drying box The side walls of the body and the circulation box are respectively provided with an air inlet and an air outlet, and the air inlet and the air outlet are sealed and communicated with each other. By adopting the technical scheme, the structure is simple, the assembly and installation are convenient, and the residual heat part is flowed into the drying box through the circulation box for reheating and utilization, which plays the role of energy saving and drying.
Description
技术领域technical field
本实用新型涉及针织衫生产的技术领域,尤其涉及一种针织衫生产用节能烘干装置。The utility model relates to the technical field of knitted sweater production, in particular to an energy-saving drying device for knitted sweater production.
背景技术Background technique
在针织衫烘干过程中,现有的针织衫烘干不均匀,烘干效果不理想,且烘干时造成部分余热排出,造成余热部分余量浪费,因此,我们设计一种针织衫生产用节能烘干装置。During the drying process of knitted sweaters, the existing knitted sweaters are not uniformly dried, the drying effect is not ideal, and part of the waste heat is discharged during drying, resulting in waste of part of the waste heat. Therefore, we design a knitted sweater production Energy saving drying unit.
实用新型内容Utility model content
为解决现有技术方案的缺陷,本实用新型公开了一种针织衫生产用节能烘干装置。In order to solve the defects of the prior art solutions, the utility model discloses an energy-saving drying device for the production of knitted sweaters.
本实用新型公开了一种针织衫生产用节能烘干装置,包括烘干箱体,所述烘干箱体的内腔顶部滑动装配安装设有挂衣杆,所述烘干箱体的内腔底部固定安装设有底板,所述底板上均布开设有若干个均流风孔,所述底板的下方设置有加热棒,在所述的加热棒上缠绕套设有加热线圈,所述烘干箱体的内底壁上均布安装设有多个风扇,所述烘干箱体的顶壁上开设有排风口,所开设的排风口的位置处固定插设连接回风管的一端,所述回风管的另一端连接至循环箱体,所述烘干箱体、循环箱体的侧壁上分别相对应开设有进风口、溢风口,所述进风口与溢风口之间相密封连通设置。The utility model discloses an energy-saving drying device for the production of knitted sweaters, which comprises a drying box body, the top of the inner cavity of the drying box body is slidably assembled and installed with a clothes hanger, and the inner cavity of the drying box body is provided with a clothes hanger. A bottom plate is fixedly installed at the bottom, and a number of equalizing air holes are evenly distributed on the bottom plate. A heating rod is arranged below the bottom plate, and a heating coil is wound and sleeved on the heating rod. The drying box A plurality of fans are evenly installed on the inner bottom wall of the drying box, and an air outlet is opened on the top wall of the drying box, and one end connected to the air return pipe is fixedly inserted at the position of the opened air outlet. The other end of the air return pipe is connected to the circulation box, and the side walls of the drying box and the circulation box are respectively provided with an air inlet and an air overflow, and the air inlet and the overflow are sealed. Connectivity settings.
优选的,所述挂衣杆的两侧杆端均固接设有滑块,所述滑块滑动匹配安装设置在直线滑轨上,所述直线滑轨固定安装设置在烘干箱体的内侧壁上。Preferably, sliders are fixedly connected to both ends of the clothes hanging rod, the sliders are slidably installed on a linear sliding rail, and the linear sliding rail is fixedly installed on the inner side of the drying box. on the wall.
优选的,所述回风管上固定安装设有管道风机。Preferably, a duct fan is fixedly installed on the air return pipe.
优选的,所述加热棒的两侧端固定套设安装有绝缘套块,所述绝缘套块固定安装设置在烘干箱体的内侧壁上。Preferably, insulating sleeve blocks are fixedly installed on both sides of the heating rod, and the insulating sleeve blocks are fixedly installed on the inner side wall of the drying box.
有益效果是:The beneficial effects are:
1、其结构简单,装配安装方便,烘干箱体内底壁均布安装的风扇向上吹送由加热线圈及加热棒产生的高温气流,高温气流便于从底板上均布开设的均流风孔对挂衣杆上的针织衫自下至上均匀烘干处理。1. Its structure is simple and easy to assemble and install. The fan installed evenly on the bottom wall of the drying box blows up the high-temperature airflow generated by the heating coil and the heating rod. The knitted sweater on the rod is dried evenly from bottom to top.
2、烘干过程的余热部分余量便于由回风管引流至循环箱体内,并由循环箱体把余热部分余量流入至烘干箱体进行再次加热利用,起到节能烘干的作用。2. The residual heat of the drying process can be easily drained from the return air pipe to the circulating box, and the circulating box will flow the residual heat into the drying box for re-heating and utilization, which plays the role of energy-saving drying.
附图说明Description of drawings
图1是本实用新型一种针织衫生产用节能烘干装置的结构示意图。Figure 1 is a schematic structural diagram of an energy-saving drying device for producing knitted sweaters of the present invention.
其中:1-烘干箱体;2-挂衣杆;3-底板,30-均流风孔;4-加热棒;5-加热线圈;6-风扇;7-排风口;8-回风管;9-循环箱体;10-进风口;11-溢风口;12-滑块;13-直线滑轨;14-管道风机;15-绝缘套块。Among them: 1- drying box; 2- clothes rail; 3- bottom plate, 30- air distribution hole; 4- heating rod; 5- heating coil; 6- fan; 7- air outlet; 8- return air duct ; 9-circulation box; 10-air inlet; 11-air outlet; 12-slider; 13-linear slide rail; 14-duct fan; 15-insulation sleeve.
具体实施方式Detailed ways
下面将结合本实用新型实施例中的附图,对本实用新型实施例中的技术方案进行清楚、完整地描述,显然,所描述的实施例仅仅是本实用新型一部分实施例,而不是全部的实施例;基于本实用新型中的实施例,本领域普通技术人员在没有作出创造性劳动前提下所获得的所有其它实施例,都属于本实用新型保护的范围。The technical solutions in the embodiments of the present utility model will be clearly and completely described below with reference to the accompanying drawings in the embodiments of the present utility model. Obviously, the described embodiments are only a part of the embodiments of the present utility model, rather than all the implementations. For example; based on the embodiments of the present invention, all other embodiments obtained by those of ordinary skill in the art without creative work fall within the protection scope of the present invention.
如图1所示,本实用新型公开了一种针织衫生产用节能烘干装置,包括烘干箱体1,所述烘干箱体1的内腔顶部滑动装配安装设有挂衣杆2,所述烘干箱体1的内腔底部固定安装设有底板3,所述底板3上均布开设有若干个均流风孔30,所述底板3的下方设置有加热棒4,在所述的加热棒4上缠绕套设有加热线圈5,所述烘干箱体1的内底壁上均布安装设有多个风扇6,所述烘干箱体1的顶壁上开设有排风口7,所开设的排风口7的位置处固定插设连接回风管8的一端,所述回风管8的另一端连接至循环箱体9,所述烘干箱体1、循环箱体9的侧壁上分别相对应开设有进风口10、溢风口11,所述进风口10与溢风口11之间相密封连通设置。As shown in FIG. 1 , the utility model discloses an energy-saving drying device for knitted sweater production, which comprises a drying box 1, and a clothes hanger 2 is slidably mounted on the top of the inner cavity of the drying box 1. The bottom of the inner cavity of the drying box 1 is fixedly installed with a bottom plate 3, a plurality of
优选的,所述挂衣杆2的两侧杆端均固接设有滑块12,所述滑块12滑动匹配安装设置在直线滑轨13上,所述直线滑轨13固定安装设置在烘干箱体1的内侧壁上,使得挂衣杆2与烘干箱体1之间滑动装配安装方便。Preferably,
优选的,所述回风管8上固定安装设有管道风机14,设置的管道风机14用于加快排出的余热部分热量流入至循环箱体9内。Preferably, a duct fan 14 is fixedly installed on the return air duct 8 , and the installed duct fan 14 is used to accelerate the inflow of part of the heat of the discharged waste heat into the circulation box 9 .
优选的,所述加热棒4的两侧端固定套设安装有绝缘套块15,所述绝缘套块15固定安装设置在烘干箱体1的内侧壁上。Preferably,
实用新型是这样实施的:使用时,通过把待烘干的针织衫由衣夹悬挂在挂衣杆2上,从而便于滑动挂衣杆2推送入烘干箱体1的内腔中,由加热线圈5通电发热,其热量快速由加热棒4扩大其空气接触面积,使得加热线圈5以及加热棒4使其周围空气加热至高温气流,并通过开启风扇6向上吹送高温气流,使得高温气流从底板3上均布开设的均流风孔30向上均布排送,从而自下至上均匀对挂衣杆2上的针织衫进行烘干处理,向上烘干的余热便于从排风口7流入至回风管8内,并在管道风机14的作用下快速回流至循环箱体9,使得余热部分气流由循环箱体9的溢风口11以及进风口10送入至烘干箱体1内再利用,起到节能烘干的作用。采用本技术方案,其结构简单,装配安装方便,烘干箱体内底壁均布安装的风扇向上吹送由加热线圈及加热棒产生的高温气流,高温气流便于从底板上均布开设的均流风孔对挂衣杆上的针织衫自下至上均匀烘干处理;烘干过程的余热部分余量便于由回风管引流至循环箱体内,并由循环箱体把余热部分余量流入至烘干箱体进行再次加热利用,起到节能烘干的作用。The utility model is implemented as follows: when in use, the knitted sweater to be dried is hung on the clothes hanger 2 by a clothespin, so as to facilitate the sliding clothes hanger 2 to be pushed into the inner cavity of the drying box 1, and the
最后应说明的是:以上实施例仅用以说明本实用新型而并非限制本实用新型所描述的技术方案;因此,尽管本说明书参照上述的各个实施例对本实用新型已进行了详细的说明,但是,本领域的普通技术人员应当理解,仍然可以对本实用新型进行修改或等同替换;而一切不脱离本实用新型的精神和范围的技术方案及其改进,其均应涵盖在本实用新型的权利要求范围中。Finally, it should be noted that the above embodiments are only used to illustrate the present utility model rather than limit the technical solutions described in the present utility model; , those of ordinary skill in the art should understand that the present utility model can still be modified or equivalently replaced; and all technical solutions and improvements that do not depart from the spirit and scope of the present utility model shall be covered by the claims of the present utility model. in the range.
Claims (4)
Priority Applications (1)
| Application Number | Priority Date | Filing Date | Title |
|---|---|---|---|
| CN202020283276.6U CN212103387U (en) | 2020-03-10 | 2020-03-10 | An energy-saving drying device for the production of knitted sweaters |
Applications Claiming Priority (1)
| Application Number | Priority Date | Filing Date | Title |
|---|---|---|---|
| CN202020283276.6U CN212103387U (en) | 2020-03-10 | 2020-03-10 | An energy-saving drying device for the production of knitted sweaters |
Publications (1)
| Publication Number | Publication Date |
|---|---|
| CN212103387U true CN212103387U (en) | 2020-12-08 |
Family
ID=73634495
Family Applications (1)
| Application Number | Title | Priority Date | Filing Date |
|---|---|---|---|
| CN202020283276.6U Expired - Fee Related CN212103387U (en) | 2020-03-10 | 2020-03-10 | An energy-saving drying device for the production of knitted sweaters |
Country Status (1)
| Country | Link |
|---|---|
| CN (1) | CN212103387U (en) |
Cited By (1)
| Publication number | Priority date | Publication date | Assignee | Title |
|---|---|---|---|---|
| CN112747569A (en) * | 2020-12-20 | 2021-05-04 | 杭州慧智新材料科技有限公司 | Drying box for textile washing |
-
2020
- 2020-03-10 CN CN202020283276.6U patent/CN212103387U/en not_active Expired - Fee Related
Cited By (1)
| Publication number | Priority date | Publication date | Assignee | Title |
|---|---|---|---|---|
| CN112747569A (en) * | 2020-12-20 | 2021-05-04 | 杭州慧智新材料科技有限公司 | Drying box for textile washing |
Similar Documents
| Publication | Publication Date | Title |
|---|---|---|
| CN107356077A (en) | A kind of textile cloth Double-side dryer | |
| CN205088449U (en) | Clothes drying machine | |
| CN212103387U (en) | An energy-saving drying device for the production of knitted sweaters | |
| CN205037720U (en) | Energy -conserving baking house | |
| CN209960880U (en) | A chrysanthemum drying device | |
| CN206037604U (en) | Air can suspension type for dry system | |
| CN204388488U (en) | Polyphenylene heat insulation slab circulating energy-saving baking room | |
| CN201850466U (en) | Drying chamber | |
| CN215366441U (en) | Novel clothes is dried device | |
| CN201869750U (en) | Drying machine of lentinus edodes | |
| CN216282477U (en) | An internal height-adjustable sausage drying device | |
| CN104958059A (en) | Negative pressure drying device | |
| CN209459318U (en) | A wood drying device | |
| CN210481824U (en) | A high-efficiency and energy-saving cabinet dryer | |
| CN204306166U (en) | Shoemaking is produced and is used circulating-heating drying tunnel | |
| CN204797771U (en) | Energy -efficient tableware drying -machine | |
| CN205310628U (en) | Vulcanize desiccator | |
| CN206443175U (en) | Between a kind of tobacco roasting of automatic rapid moisture removal blowing | |
| CN207277028U (en) | A kind of smart home clothes-drying type fast drying device | |
| CN223468594U (en) | A wool sweater drying device | |
| CN221430270U (en) | Multipurpose curing barn | |
| CN104816540A (en) | Drying device used for rotary screen printing machine | |
| CN103603159A (en) | Internal circulation type carbon fiber drying oven | |
| CN219160855U (en) | Drying machine | |
| CN216924942U (en) | Drying device is used in processing of multilayer piece formula ceramic capacitor |
Legal Events
| Date | Code | Title | Description |
|---|---|---|---|
| GR01 | Patent grant | ||
| GR01 | Patent grant | ||
| PE01 | Entry into force of the registration of the contract for pledge of patent right | ||
| PE01 | Entry into force of the registration of the contract for pledge of patent right |
Denomination of utility model: An energy saving drying device for knitwear production Effective date of registration: 20220617 Granted publication date: 20201208 Pledgee: Lu'an yuan financing Company limited by guarantee Pledgor: LU'AN AIGESI GARMENTS CO.,LTD. Registration number: Y2022980008102 |
|
| PC01 | Cancellation of the registration of the contract for pledge of patent right | ||
| PC01 | Cancellation of the registration of the contract for pledge of patent right |
Date of cancellation: 20230615 Granted publication date: 20201208 Pledgee: Lu'an yuan financing Company limited by guarantee Pledgor: LU'AN AIGESI GARMENTS CO.,LTD. Registration number: Y2022980008102 |
|
| PE01 | Entry into force of the registration of the contract for pledge of patent right | ||
| PE01 | Entry into force of the registration of the contract for pledge of patent right |
Denomination of utility model: An energy-saving drying device for knitwear production Effective date of registration: 20230619 Granted publication date: 20201208 Pledgee: Lu'an yuan financing Company limited by guarantee Pledgor: LU'AN AIGESI GARMENTS CO.,LTD. Registration number: Y2023980044459 |
|
| PC01 | Cancellation of the registration of the contract for pledge of patent right | ||
| PC01 | Cancellation of the registration of the contract for pledge of patent right |
Granted publication date: 20201208 Pledgee: Lu'an yuan financing Company limited by guarantee Pledgor: LU'AN AIGESI GARMENTS CO.,LTD. Registration number: Y2023980044459 |
|
| CF01 | Termination of patent right due to non-payment of annual fee | ||
| CF01 | Termination of patent right due to non-payment of annual fee |
Granted publication date: 20201208 |
