CN212100380U - An electric cover plate garbage can - Google Patents
An electric cover plate garbage can Download PDFInfo
- Publication number
- CN212100380U CN212100380U CN202020215011.2U CN202020215011U CN212100380U CN 212100380 U CN212100380 U CN 212100380U CN 202020215011 U CN202020215011 U CN 202020215011U CN 212100380 U CN212100380 U CN 212100380U
- Authority
- CN
- China
- Prior art keywords
- cover
- box
- rotating shaft
- active
- transmission
- Prior art date
- Legal status (The legal status is an assumption and is not a legal conclusion. Google has not performed a legal analysis and makes no representation as to the accuracy of the status listed.)
- Active
Links
Images
Landscapes
- Refuse Receptacles (AREA)
Abstract
本实用新型公开了一种电动盖板垃圾箱,包括箱体、箱盖、主动盖、转轴、从动盖、滑条、传动箱、传动杆、转轴蜗轮、电机蜗轮、驱动电机、控制箱和红外感应开关,当驱动电机转动时,能够带动传动杆转动,从而带动转轴转动,主动盖在转轴的带动下向上转动,直至转动至主动盖与水平面之间夹角呈八十度时,箱盖的顶面投料口打开,驱动电机反转,转轴带动主动盖反转,从而使得主动盖、从动盖和滑条复位,将投料口盖上,该装置结构简单,能够在有人靠近时自动打开投料口,并且在倒完垃圾后自动关闭投料口,通过转轴蜗轮和传动杆两端的蜗杆齿的自锁作用,主动盖在转动和复位时匀速转动,不会发出噪音。
The utility model discloses an electric cover plate garbage box, which comprises a box body, a box cover, an active cover, a rotating shaft, a driven cover, a slide bar, a transmission box, a transmission rod, a rotating shaft worm wheel, a motor worm wheel, a driving motor, a control box and a The infrared sensor switch, when the driving motor rotates, can drive the transmission rod to rotate, thereby driving the rotating shaft to rotate, and the active cover rotates upward under the driving of the rotating shaft until the angle between the active cover and the horizontal plane is 80 degrees, the box cover The feeding port on the top surface is opened, the driving motor is reversed, and the rotating shaft drives the active cover to reverse, so that the active cover, the driven cover and the slider are reset, and the feeding port is covered. The device has a simple structure and can be automatically opened when someone approaches. The feeding port is automatically closed after the garbage is dumped. Through the self-locking effect of the worm gear on the rotating shaft and the worm teeth at both ends of the transmission rod, the active cover rotates at a constant speed during rotation and reset without making noise.
Description
技术领域technical field
本实用新型涉及一种垃圾箱技术领域,具体是一种电动盖板垃圾箱。The utility model relates to the technical field of a garbage can, in particular to an electric cover plate garbage can.
背景技术Background technique
户外垃圾箱是存放垃圾的容器,普遍用于小区,公园等公共场所。现有的垃圾箱多为翻盖式,住户扔垃圾时需用手将盖子打开,十分不便。虽然也有脚踏传动开关,但是由于杠杆作用,户外垃圾箱的脚踏开关需要用力踩踏,使用不便,并且盖板打开和落下时撞击力度较大,造成的噪音较大,容易惊吓小孩,并且对盖板的连接结构产生较大冲击,降低使用寿命。Outdoor garbage bins are containers for storing garbage and are commonly used in public places such as communities and parks. Most of the existing garbage bins are of the flip-top type, and households need to open the lid by hand when throwing garbage, which is very inconvenient. Although there is also a foot drive switch, due to the lever action, the foot switch of the outdoor trash can needs to be stepped on hard, which is inconvenient to use, and the impact force when the cover is opened and dropped is large, resulting in a large noise, which is easy to frighten children. The connection structure of the cover plate produces a large impact and reduces the service life.
实用新型内容Utility model content
本实用新型的目的在于提供一种电动盖板垃圾箱,以解决上述背景技术中提出的问题。The purpose of the present utility model is to provide an electric cover plate garbage box to solve the problems raised in the above background technology.
为实现上述目的,本实用新型提供如下技术方案:To achieve the above object, the utility model provides the following technical solutions:
一种电动盖板垃圾箱,包括箱体、箱盖、主动盖、转轴、从动盖、滑条、传动箱、传动杆、转轴蜗轮、电机蜗轮、驱动电机、控制箱和红外感应开关,所述箱体为顶面开口的方形箱体结构,箱体的顶面固定连接有箱盖,所述箱盖为方形框架结构,其内壁靠近底面处设有挡边,箱盖的内壁前后两侧设有方形滑槽,滑槽中滑动连接有滑条的两端;An electric cover plate garbage box, comprising a box body, a box cover, an active cover, a rotating shaft, a driven cover, a slider, a transmission box, a transmission rod, a rotating shaft worm gear, a motor worm gear, a drive motor, a control box and an infrared induction switch, all of which are The box body is a square box structure with an open top surface, the top surface of the box body is fixedly connected with a box cover, the box cover is a square frame structure, and the inner wall of the box body is close to the bottom surface. Equipped with a square chute, the two ends of the slider are slidably connected in the chute;
所述箱盖的左右两端设有前后对称的通孔,通孔中通过轴承固定连接有转轴的前后两端,所述转轴为圆形杆状结构,共有两个,分别固定连接在两侧主动盖的外端,所述主动盖为方形板状结构,其里端前后对称固定连接有圆形套筒,所述从动盖为大小与主动盖相同的方形板状结构,其两端侧面中心固定连接有圆形套筒,套筒的长度与主动盖里端的两个圆形套筒之间的长度相同,能够通过销杆将主动盖的里端和从动盖的外端销接在一起,使得从动盖能够绕着主动盖的里端转动,主动盖在转轴的带动下转动;The left and right ends of the box cover are provided with front and rear symmetrical through holes, and the front and rear ends of the rotating shaft are fixedly connected to the through holes through bearings. The outer end of the active cover, the active cover is a square plate-like structure, the inner end is symmetrically connected with a circular sleeve front and rear, the driven cover is a square plate-like structure with the same size as the active cover, and the side surfaces at both ends are The center is fixedly connected with a circular sleeve, the length of the sleeve is the same as the length between the two circular sleeves at the inner end of the active cover, and the inner end of the active cover and the outer end of the driven cover can be pinned to each other through a pin rod. At the same time, the driven cover can rotate around the inner end of the active cover, and the active cover is rotated under the driving of the rotating shaft;
所述从动盖的里端套筒铰接在滑条的外侧面凹槽中,所述滑条为方形条状结构,滑条的前后两端靠近底部处设有方形凸块,凸块滑动连接在箱盖的内侧面凹槽中,滑条的外侧设有方形缺口,缺口的前后侧壁设有圆形凹槽,凹槽中设有固定连接的销轴,销轴套接在从动盖的里端套筒内,使得从动盖的里端能够绕着销轴转动,当主动盖在转轴的带动下向上转动时,主动盖的外端向上转动,从动盖随着主动盖的转动与主动盖折叠收缩,直至转动至主动盖与水平面之间夹角呈八十度时,箱盖的顶面投料口打开;The inner sleeve of the driven cover is hinged in the groove on the outer side of the slider, the slider is a square strip structure, the front and rear ends of the slider are provided with square bumps near the bottom, and the bumps are slidably connected In the groove on the inner side of the box cover, the outer side of the slider is provided with a square notch, the front and rear side walls of the notch are provided with a circular groove, and the groove is provided with a fixed connection pin, and the pin is sleeved on the driven cover. Inside the inner sleeve of the driven cover, the inner end of the driven cover can rotate around the pin shaft. When the active cover rotates upwards driven by the rotating shaft, the outer end of the active cover rotates upwards, and the driven cover rotates with the rotation of the active cover. Folding and shrinking with the active cover until the angle between the active cover and the horizontal plane is 80 degrees, the feeding opening on the top surface of the box cover is opened;
所述箱盖的背面固定连接有传动箱,所述传动箱为空心长方体结构,其内壁左右固定连接有两个轴承座,轴承座内通过轴承固定连接有传动杆,传动杆的两端分别设有旋向相反的蜗杆齿,转轴的里端穿过箱盖的里侧面,穿过传动箱正面的圆形通孔,转轴的里端在传动箱内键连接有转轴蜗轮,左右两个转轴蜗轮分别与传动杆两端的蜗杆齿啮合,能够在传动杆转动时转动,并且左右两个转轴蜗轮的转向相反;The back of the box cover is fixedly connected with a transmission box. The transmission box is a hollow cuboid structure. Two bearing seats are fixedly connected to the left and right of its inner wall. A transmission rod is fixedly connected in the bearing seat through the bearings. There are worm teeth with opposite directions of rotation. The inner end of the rotating shaft passes through the inner side of the box cover and through the circular through hole on the front of the transmission box. The inner end of the rotating shaft is keyed in the transmission box. They mesh with the worm teeth at both ends of the transmission rod respectively, and can rotate when the transmission rod rotates, and the worm gears of the left and right rotating shafts have opposite directions;
所述传动杆的中部设有蜗轮齿,其与电机蜗轮啮合,所述电机蜗轮键连接固定在驱动电机的输出轴上,驱动电机固定连接在传动箱的背面靠近下方的位置,驱动电机的输出轴穿过传动箱的背面通孔插入传动箱的内腔中,当驱动电机转动时,能够带动传动杆转动,从而带动转轴转动,将主动盖和从动盖收起折叠和放下;The middle of the transmission rod is provided with worm gear teeth, which mesh with the motor worm gear. The motor worm gear is keyed and fixed on the output shaft of the drive motor. The shaft is inserted into the inner cavity of the transmission case through the back through hole of the transmission case. When the driving motor rotates, it can drive the transmission rod to rotate, thereby driving the rotating shaft to rotate, and the active cover and the driven cover are folded, folded and lowered;
所述箱盖的正面设有红外感应开关,红外感应开关与控制箱内的红外监测模块电连接,控制箱内设有红外监测模块和驱动电机的控制模块,红外感应开关检测到热源,对红外监测模块传出电信号,并且持续时间超过五秒时,传出的电信号给驱动电机的控制模块,控制驱动电机转动,使得主动盖和从动盖折叠收起,将投料口打开,当热源离开时,红外监测模块传出电信号,驱动电机的控制模块控制驱动电机反转,将主动盖和从动盖复位;The front of the box cover is provided with an infrared sensing switch, which is electrically connected to the infrared monitoring module in the control box, and the control box is provided with an infrared monitoring module and a control module for driving the motor. When the monitoring module sends out an electrical signal, and the duration exceeds five seconds, the sent electrical signal is sent to the control module of the drive motor to control the rotation of the drive motor, so that the active cover and the driven cover are folded and folded, and the feeding port is opened. When leaving, the infrared monitoring module transmits an electrical signal, and the control module of the drive motor controls the drive motor to reverse, and resets the active cover and the driven cover;
作为本实用新型进一步的方案:所述箱体正面设有脚踏开关,脚踏开关与控制箱内的驱动电机的控制模块电连接,有人主动踩踏脚踏开关时,驱动电机的控制模块控制驱动电机运转,打开垃圾箱,五分钟后控制驱动电机反转,关闭垃圾箱;As a further solution of the present utility model: the front of the box is provided with a foot switch, the foot switch is electrically connected with the control module of the driving motor in the control box, and when someone actively steps on the foot switch, the control module of the driving motor controls the driving When the motor runs, the garbage can is opened, and after five minutes, the drive motor is controlled to reverse and close the garbage can;
作为本实用新型再进一步的方案:所述驱动电机为40W单相交流蜗轮减速机;As a further scheme of the present utility model: the drive motor is a 40W single-phase AC worm gear reducer;
作为本实用新型再进一步的方案:所述传动箱的底面能够加装蓄电池,通过蓄电池在停电和电路故障时为驱动电机供电;As a further scheme of the present invention: the bottom surface of the transmission box can be equipped with a battery, and the battery can supply power to the driving motor in the event of power failure and circuit failure;
作为本实用新型再进一步的方案:所述滑条的里侧固定连接有防撞边,所述防撞边为橡胶材质,能够在从动盖复位合上时提供防撞效果,并且提高密封效果;As a further solution of the present invention, an anti-collision edge is fixedly connected to the inner side of the sliding bar, and the anti-collision edge is made of rubber, which can provide an anti-collision effect when the driven cover is reset and closed, and improve the sealing effect. ;
作为本实用新型再进一步的方案:所述主动盖和从动盖的底面前后两侧固定连接有橡胶密封条,能够在主动盖和从动盖的底面与箱盖的内壁挡边接触时,提供密封效果,防止垃圾箱的臭气散溢。As a further solution of the present invention, rubber sealing strips are fixedly connected on the front and rear sides of the bottom of the active cover and the driven cover, which can provide The sealing effect prevents the odor of the garbage can from escaping.
与现有技术相比,本实用新型的有益效果是:当驱动电机转动时,能够带动传动杆转动,从而带动转轴转动,并且两侧的转轴的转向相反,当主动盖在转轴的带动下向上转动时,主动盖的外端向上转动,从动盖的顶部随着主动盖顶部移动,从动盖的底部带动滑条在箱盖的内壁凹槽中向外侧滑动,直至转动至主动盖与水平面之间夹角呈八十度时,箱盖的顶面投料口打开,驱动电机反转,转轴带动主动盖反转,从而使得主动盖、从动盖和滑条复位,将投料口盖上,该装置结构简单,能够在有人靠近时自动打开投料口,并且在倒完垃圾后自动关闭投料口,通过转轴蜗轮和传动杆两端的蜗杆齿的自锁作用,主动盖在转动和复位时匀速转动,不会发出噪音,并且没有撞击冲击,使用寿命长。Compared with the prior art, the beneficial effect of the present invention is: when the driving motor rotates, it can drive the transmission rod to rotate, thereby driving the rotating shaft to rotate, and the rotation of the rotating shafts on both sides is opposite, when the active cover is driven upward by the rotating shaft. When rotating, the outer end of the active cover rotates upward, the top of the driven cover moves with the top of the active cover, and the bottom of the driven cover drives the slider to slide outward in the groove of the inner wall of the box cover until it rotates until the active cover and the horizontal plane. When the angle between them is 80 degrees, the feeding port on the top surface of the box cover is opened, the driving motor is reversed, and the rotating shaft drives the active cover to reverse, so that the active cover, the driven cover and the slider are reset, and the feeding port is covered. The device has a simple structure, and can automatically open the feeding port when someone approaches, and automatically close the feeding port after the garbage is poured out. Through the self-locking effect of the worm gear on the rotating shaft and the worm teeth at both ends of the transmission rod, the active cover rotates at a constant speed during rotation and reset. , no noise, no impact shock, long service life.
附图说明Description of drawings
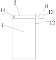
图1为电动盖板垃圾箱的结构示意图。FIG. 1 is a schematic diagram of the structure of an electric-covered dustbin.
图2为电动盖板垃圾箱中垃圾箱侧面的结构示意图。FIG. 2 is a schematic structural diagram of the side surface of the garbage box in the electric cover plate garbage box.
图3为电动盖板垃圾箱中箱盖顶面的结构示意图。FIG. 3 is a schematic structural diagram of the top surface of the box cover in the electric cover plate garbage box.
图中:箱体1、箱盖2、主动盖3、转轴4、从动盖5、滑条6、防撞边7、传动箱8、传动杆9、转轴蜗轮10、电机蜗轮11、驱动电机12、控制箱13、红外感应开关14。In the figure:
具体实施方式Detailed ways
下面将结合本实用新型实施例中的附图,对本实用新型实施例中的技术方案进行清楚、完整地描述,显然,所描述的实施例仅仅是本实用新型一部分实施例,而不是全部的实施例。基于本实用新型中的实施例,本领域普通技术人员在没有做出创造性劳动前提下所获得的所有其他实施例,都属于本实用新型保护的范围。The technical solutions in the embodiments of the present utility model will be clearly and completely described below with reference to the accompanying drawings in the embodiments of the present utility model. Obviously, the described embodiments are only a part of the embodiments of the present utility model, rather than all the implementations. example. Based on the embodiments of the present invention, all other embodiments obtained by those of ordinary skill in the art without creative work fall within the protection scope of the present invention.
请参阅图1~3,本实用新型实施例中,一种电动盖板垃圾箱,包括箱体1、箱盖2、主动盖3、转轴4、从动盖5、滑条6、传动箱8、传动杆9、转轴蜗轮10、电机蜗轮11、驱动电机12、控制箱13和红外感应开关14,所述箱体1为顶面开口的方形箱体结构,箱体1的顶面固定连接有箱盖2,所述箱盖2为方形框架结构,其内壁靠近底面处设有挡边,箱盖2的内壁前后两侧设有方形滑槽,滑槽中滑动连接有滑条6的两端;Please refer to FIGS. 1 to 3 , in an embodiment of the present utility model, an electric cover plate dustbin includes a
所述箱盖2的左右两端设有前后对称的通孔,通孔中通过轴承固定连接有转轴4的前后两端,所述转轴4为圆形杆状结构,共有两个,分别固定连接在两侧主动盖3的外端,所述主动盖3为方形板状结构,其里端前后对称固定连接有圆形套筒,所述从动盖5为大小与主动盖3相同的方形板状结构,其两端侧面中心固定连接有圆形套筒,套筒的长度与主动盖3里端的两个圆形套筒之间的长度相同,能够通过销杆将主动盖3的里端和从动盖5的外端销接在一起,使得从动盖5能够绕着主动盖3的里端转动,主动盖3在转轴4的带动下转动;The left and right ends of the
所述从动盖5的里端套筒铰接在滑条6的外侧面凹槽中,所述滑条6为方形条状结构,滑条6的前后两端靠近底部处设有方形凸块,凸块滑动连接在箱盖2的内侧面凹槽中,滑条6的外侧设有方形缺口,缺口的前后侧壁设有圆形凹槽,凹槽中设有固定连接的销轴,销轴套接在从动盖5的里端套筒内,使得从动盖5的里端能够绕着销轴转动,当主动盖3在转轴4的带动下向上转动时,主动盖3的外端向上转动,从动盖5随着主动盖3的转动与主动盖3折叠收缩,直至转动至主动盖3与水平面之间夹角呈八十度时,箱盖2的顶面投料口打开;The inner sleeve of the driven cover 5 is hinged in the groove on the outer side of the
所述箱盖2的背面固定连接有传动箱8,所述传动箱8为空心长方体结构,其内壁左右固定连接有两个轴承座,轴承座内通过轴承固定连接有传动杆9,传动杆9的两端分别设有旋向相反的蜗杆齿,转轴4的里端穿过箱盖2的里侧面,穿过传动箱8正面的圆形通孔,转轴4的里端在传动箱8内键连接有转轴蜗轮10,左右两个转轴蜗轮10分别与传动杆9两端的蜗杆齿啮合,能够在传动杆9转动时转动,并且左右两个转轴蜗轮10的转向相反;The back of the
所述传动杆9的中部设有蜗轮齿,其与电机蜗轮11啮合,所述电机蜗轮11键连接固定在驱动电机12的输出轴上,驱动电机12固定连接在传动箱8的背面靠近下方的位置,驱动电机12的输出轴穿过传动箱8的背面通孔插入传动箱8的内腔中,当驱动电机12转动时,能够带动传动杆9转动,从而带动转轴4转动,将主动盖3和从动盖5收起折叠和放下;The middle of the
所述箱盖2的正面设有红外感应开关14,红外感应开关14与控制箱13内的红外监测模块电连接,控制箱13内设有红外监测模块和驱动电机12的控制模块,红外感应开关14检测到热源,对红外监测模块传出电信号,并且持续时间超过五秒时,传出的电信号给驱动电机12的控制模块,控制驱动电机12转动,使得主动盖3和从动盖5折叠收起,将投料口打开,当热源离开时,红外监测模块传出电信号,驱动电机12的控制模块控制驱动电机12反转,将主动盖3和从动盖5复位;The front of the
所述箱体1正面设有脚踏开关,脚踏开关与控制箱13内的驱动电机12的控制模块电连接,有人主动踩踏脚踏开关时,驱动电机12的控制模块控制驱动电机12运转,打开垃圾箱,五分钟后控制驱动电机12反转,关闭垃圾箱;The front of the
所述驱动电机12为40W单相交流蜗轮减速机;The
所述传动箱8的底面能够加装蓄电池,通过蓄电池在停电和电路故障时为驱动电机12供电;The bottom surface of the
所述滑条6的里侧固定连接有防撞边7,所述防撞边7为橡胶材质,能够在从动盖5复位合上时提供防撞效果,并且提高密封效果;An
所述主动盖3和从动盖5的底面前后两侧固定连接有橡胶密封条,能够在主动盖3和从动盖5的底面与箱盖2的内壁挡边接触时,提供密封效果,防止垃圾箱的臭气散溢。The front and rear sides of the bottom of the
本实用新型的工作原理是:当驱动电机12转动时,能够带动传动杆9转动,从而带动转轴4转动,并且两侧的转轴4的转向相反,当主动盖3在转轴4的带动下向上转动时,主动盖3的外端向上转动,从动盖5的顶部随着主动盖3顶部移动,从动盖5的底部带动滑条6在箱盖2的内壁凹槽中向外侧滑动,直至转动至主动盖3与水平面之间夹角呈八十度时,箱盖2的顶面投料口打开,驱动电机12反转,转轴4带动主动盖3反转,从而使得主动盖3、从动盖5和滑条6复位,将投料口盖上,方便使用。The working principle of the present utility model is: when the driving
尽管参照前述实施例对本实用新型进行了详细的说明,对于本领域的技术人员来说,其依然可以对前述各实施例所记载的技术方案进行修改,或者对其中部分技术特征进行等同替换,凡在本实用新型的精神和原则之内,所作的任何修改、等同替换、改进等,均应包含在本实用新型的保护范围之内。Although the present invention has been described in detail with reference to the foregoing embodiments, for those skilled in the art, it is still possible to modify the technical solutions described in the foregoing embodiments, or perform equivalent replacements for some of the technical features. Within the spirit and principle of the present invention, any modifications, equivalent replacements, improvements, etc. made should be included within the protection scope of the present invention.
Claims (6)
Priority Applications (1)
| Application Number | Priority Date | Filing Date | Title |
|---|---|---|---|
| CN202020215011.2U CN212100380U (en) | 2020-02-27 | 2020-02-27 | An electric cover plate garbage can |
Applications Claiming Priority (1)
| Application Number | Priority Date | Filing Date | Title |
|---|---|---|---|
| CN202020215011.2U CN212100380U (en) | 2020-02-27 | 2020-02-27 | An electric cover plate garbage can |
Publications (1)
| Publication Number | Publication Date |
|---|---|
| CN212100380U true CN212100380U (en) | 2020-12-08 |
Family
ID=73632185
Family Applications (1)
| Application Number | Title | Priority Date | Filing Date |
|---|---|---|---|
| CN202020215011.2U Active CN212100380U (en) | 2020-02-27 | 2020-02-27 | An electric cover plate garbage can |
Country Status (1)
| Country | Link |
|---|---|
| CN (1) | CN212100380U (en) |
Cited By (1)
| Publication number | Priority date | Publication date | Assignee | Title |
|---|---|---|---|---|
| CN114933106A (en) * | 2022-05-11 | 2022-08-23 | 成都采筑电子商务有限公司 | Building rubbish clearing device in high-rise building construction floor |
-
2020
- 2020-02-27 CN CN202020215011.2U patent/CN212100380U/en active Active
Cited By (1)
| Publication number | Priority date | Publication date | Assignee | Title |
|---|---|---|---|---|
| CN114933106A (en) * | 2022-05-11 | 2022-08-23 | 成都采筑电子商务有限公司 | Building rubbish clearing device in high-rise building construction floor |
Similar Documents
| Publication | Publication Date | Title |
|---|---|---|
| CN105236050A (en) | Double-door induction garbage can | |
| CN207025458U (en) | A kind of gardens branches and leaves recycling device | |
| CN108263785A (en) | A kind of buried environment-friendly trash can | |
| CN207009998U (en) | A kind of AC low voltage power switch box that can change height | |
| CN212100380U (en) | An electric cover plate garbage can | |
| CN109081008A (en) | The compressible lower-discharging type intelligent garbage bin of rubbish | |
| CN213706674U (en) | Automatic intelligent garbage bin that seals of disposal bag | |
| CN108082800A (en) | A kind of intelligent-induction is spat dustbin | |
| CN105292846A (en) | Closed type intelligent garbage can | |
| CN212263918U (en) | Waste cleaning and recycling device for carton production | |
| WO2014056310A1 (en) | Infrared-sensitive container having automatic opening and closing cover | |
| CN201372079Y (en) | A fully automatic safety trash can | |
| CN205114185U (en) | Closed intelligent dustbin | |
| CN215099716U (en) | Intelligent separation garbage can | |
| CN216582174U (en) | Intelligent garbage can with bag sealing function | |
| CN107310888A (en) | A kind of intelligent environment protection dustbin | |
| CN211140408U (en) | An automatic deodorant smart trash can | |
| CN207467463U (en) | A kind of electromechanical integration dustbin | |
| CN113602710B (en) | Full-automatic garbage classification disinfection packaging equipment | |
| CN219428890U (en) | Automatic intelligent dustbin opens and shuts | |
| CN208790388U (en) | A fully automatic garbage can | |
| CN213200970U (en) | Vertical combined dustbin device | |
| CN220595887U (en) | Intelligent anti-theft recyclable dustbin | |
| CN108910345B (en) | An automatic vacuum packing garbage can | |
| CN205150833U (en) | Two response garbage bins that open door |
Legal Events
| Date | Code | Title | Description |
|---|---|---|---|
| GR01 | Patent grant | ||
| GR01 | Patent grant | ||
| TR01 | Transfer of patent right | ||
| TR01 | Transfer of patent right |
Effective date of registration: 20241126 Address after: 841000 Room 204, 2nd Floor, Small and Medium sized Enterprise Entrepreneurship Park, No. 345 Xingmin Road, Korla Economic and Technological Development Zone, Korla City, Bayingolin Mongol Autonomous Prefecture, Xinjiang Uygur Autonomous Region Patentee after: Xinjiang Lvcheng Environmental Protection Technology Co.,Ltd. Country or region after: China Address before: 400030 16-7, building 2, 101 shabin Road, Shapingba District, Chongqing Patentee before: Chongqing Tianxi Hejia Environmental Protection Technology Co.,Ltd. Country or region before: China |
