CN212093972U - 一种铝板飞边成型复合模具 - Google Patents

一种铝板飞边成型复合模具 Download PDF

Info

Publication number
CN212093972U
CN212093972U CN202020699065.0U CN202020699065U CN212093972U CN 212093972 U CN212093972 U CN 212093972U CN 202020699065 U CN202020699065 U CN 202020699065U CN 212093972 U CN212093972 U CN 212093972U
Authority
CN
China
Prior art keywords
die
plate
mold
forming
support plate
Prior art date
Legal status (The legal status is an assumption and is not a legal conclusion. Google has not performed a legal analysis and makes no representation as to the accuracy of the status listed.)
Expired - Fee Related
Application number
CN202020699065.0U
Other languages
English (en)
Inventor
李超
辛军强
王开忠
Current Assignee (The listed assignees may be inaccurate. Google has not performed a legal analysis and makes no representation or warranty as to the accuracy of the list.)
Guangzhou Dejun Automobile Radiator Co ltd
Original Assignee
Guangzhou Dejun Automobile Radiator Co ltd
Priority date (The priority date is an assumption and is not a legal conclusion. Google has not performed a legal analysis and makes no representation as to the accuracy of the date listed.)
Filing date
Publication date
Application filed by Guangzhou Dejun Automobile Radiator Co ltd filed Critical Guangzhou Dejun Automobile Radiator Co ltd
Priority to CN202020699065.0U priority Critical patent/CN212093972U/zh
Application granted granted Critical
Publication of CN212093972U publication Critical patent/CN212093972U/zh
Expired - Fee Related legal-status Critical Current
Anticipated expiration legal-status Critical

Links

Images

Landscapes

  • Shaping Metal By Deep-Drawing, Or The Like (AREA)

Abstract

本实用新型公开了一种铝板飞边成型复合模具,包括上模和下模,上模包括上模底板、导套、上模弹簧、上模顶料板、压料板、橡胶圈、活动螺丝和凸凹模,下模包括下模底板、下模弹簧、托板、下模顶料板、顶柱、支撑板、切边凹模、成型凸模和导柱。本实用新型通过凸模、凹模配合实现切边与成型,将飞边与成型两道工序合成到一个模具里,一个动作完成飞边与成型两道工序,节省成本,提高生产效率。

Description

一种铝板飞边成型复合模具
技术领域
本实用新型涉及一种模具,尤其是涉及一种铝板飞边成型复合模具。
背景技术
很多铝制件加工是通过压力机、模具对板材进行飞边或成型,如今复杂一些的铝制品一个工序已经不能满足需求,若铝制品需飞边与成型两道工序,需要经过飞边模冲压一个工序,然后再经过成型模成型一个工序,总共需要经过两道工序才能完成,工作效率低,成本大。
实用新型内容
本实用新型的目的在于提供一种铝板飞边成型复合模具,以解决上述背景技术中提出的问题。
一种铝板飞边成型复合模具,其特征在于:包括上模和下模,上模包括上模底板、导套、上模弹簧、上模顶料板、压料板、橡胶圈、活动螺丝和凸凹模,凸凹模外边为切边凸模,凸凹模内边为成型凹模,凸凹模安装在上模底板中间,上模顶料板通过活动螺丝安装在底板上,上模顶料板与底板之间装有若干个上模弹簧,压料板通过活动螺丝与橡胶圈安装在上模底板上,导套安装在上模底板四个边角;
下模包括下模底板、下模弹簧、托板、下模顶料板、顶柱、支撑板、切边凹模、成型凸模和导柱,成型凸模安装在下模底板中间,支撑板安装在下模底板上下两边,切边凹模安装在支撑板上,托板在切边凹模下方,托板与下模底板之间装有若干下模弹簧,下模顶料板安装在托板上,切边凹模上开有若干顶柱孔,顶柱嵌套在顶柱孔里,导柱安装在下模底板四个边角,上模与下模通过导柱与导套嵌套配合安装。
作为进一步方案:切边凸模和切边凹模刀口分别有规则的锯齿形状排列,切边凸模与切边凹模配合,成型凸模与成型凹模配合。
作为进一步方案:顶柱底部与托板上表面贴合且顶柱高度高于切边凹模。
有益效果
本实用新型提供的一种铝板飞边成型复合模具,将飞边与成型两道工序合成到一个模具里,一个动作完成飞边与成型两道工序,节省成本,提高生产效率。
附图说明
图1为一种铝板飞边成型复合模具的整体透视结构示意图。
图2为一种铝板飞边成型复合模具的上模透视结构示意图。
图3为一种铝板飞边成型复合模具的上模仰视透视结构示意图。
图4为一种铝板飞边成型复合模具的上模左视透视结构示意图。
图5为一种铝板飞边成型复合模具的下模正视透视结构示意图。
图6为一种铝板飞边成型复合模具的下模俯视透视结构示意图。
图7为一种铝板飞边成型复合模具的下模左视透视结构示意图。
图8为一种铝板飞边成型复合模具的凸凹模局部结构示意图。
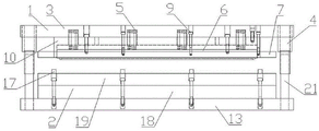
附图标记:上模1、下模2、上模底板3、导套4、上模弹簧5、上模顶料板6、压料板7、橡胶圈8、活动螺丝9、凸凹模10、切边凸模11、成型凹模12、下模底板13、下模弹簧14、托板15、下模顶料板16、顶柱17、支撑板18、切边凹模19、成型凸模20、导柱21、顶柱孔22。
具体实施方式
下面结合具体实施方式对本专利的技术方案作进一步详细地说明。
如图1至图8所示,一种铝板飞边成型复合模具,包括上模1和下模2,上模1包括上模底板3、导套4、上模弹簧5、上模顶料板6、压料板7、橡胶圈8、活动螺丝9、凸凹模10、切边凸模11和成型凹模12,凸凹模10的外边为切边凸模11,凸凹模10的内边为成型凹模12,凸凹模10安装在上模底板3中间,上模顶料板6通过活动螺丝9安装在底板3上,活动螺丝9可沿螺丝孔轴的方向活动,上模顶料板6与底板3之间装有若干个上模弹簧5,实现上模顶料板6可在压机压力作用下向下运动,同时上模弹簧5给予上模顶料板6反作用力,冲压结束后上模顶料板6在上模弹簧5的弹力作用下复位,将冲压件顶出,压料板7通过活动螺丝9与橡胶圈8安装在上模底板3上,实现压料板7在压机压力作用下可向下运动,同时压缩橡胶圈8,给予压料板7反作用力,实现压料板7可压住冲压件边缘,防止变形起皱,导套4安装在上模底板3四个边角;
下模2包括下模底板13、下模弹簧14、托板15、下模顶料板16、顶柱17、支撑板18、切边凹模19、成型凸模20和导柱21,成型凸模20安装在下模底板13中间,支撑板18安装在下模底板13上下两边,切边凹模20安装在支撑板18上,托板15在切边凹模20下方,托板15与下模底板13之间装有若干下模弹簧14,托板15与下模底板13设有沟槽固定下模弹簧14使其不会移位,托板15通过下模弹簧14的弹力顶在切边凹模20下方,下模顶料板16安装在托板15上,切边凹模20上开有若干个顶柱孔22,顶柱17嵌套在顶柱孔22里,顶柱17的底面与托板15贴合,可将动力传到托板15上推动其压缩下模弹簧14带动下模顶料板16向下运动,冲压结束后在弹簧14的弹力作用下推动托板15与下模顶料板16向上运动,将冲压件顶出,导柱21安装在下模底板13的四个边角。
上模1与下模2通过导柱21和导套4配合安装,成型凸模20与成型凹模12配合,切边凸模11与切边凹模19配合,本实施例中飞边即为切边。
本实施例进一步使用说明,压机压下,上模1往下运动,压料板7压住冲压件边缘,橡胶圈8被压缩,上模顶料板6与冲压件接触,上模弹簧5被压缩,压料板7与顶柱17接触传导动力,下模弹簧14被压缩,切边凸模11与切边凹模20配合将冲压件边缘裁剪,压机继续下压,成型凸模20与成型凹模12配合将经过裁剪的冲压件成型,压机上升,带动上模1往上运动,上模顶料板6在上模弹簧5的作用力下将冲压件顶出,下模顶料板16在下模弹簧14的作用力下将冲压件顶出,压机停止,取出冲压件,方可进行下一件的操作。
在本实用新型的描述中,需要说明的是,除非另有明确的规定和限定,术语“安装”、“相连”、“连接”应做广义理解,例如,可以是固定连接,也可以是可拆卸连接,或一体地连接;可以是机械连接,也可以是电连接;可以是直接相连,也可以通过中间媒介间接相连,可以是两个元件内部的连通;对于本领域的普通技术人员而言,可以通过具体情况理解上述术语在本实用新型中的具体含义。
此外,术语“中心”、“上”、“下”、“左”、“右”、“竖直”、“水平”、“内”、“外”等指示的方位或位置关系为基于附图所示的方位或位置关系,仅是为了便于描述本实用新型和简化描述,而不是指示或暗示所指的装置或元件必须具有特定的方位、以特定的方位构造和操作,因此不能理解为对本实用新型的限制。
以上仅就本实用新型较佳的实施例作了说明,但不能理解为是对权利要求的限制。本实用新型不仅局限于以上实施例,其具体结构允许有变化,总之,凡在本实用新型独立权利要求的保护范围内所做的各种变化均在本实用新型的保护范围内。

Claims (3)

1.一种铝板飞边成型复合模具,其特征在于:包括上模和下模,所述上模包括上模底板、导套、上模弹簧、上模顶料板、压料板、橡胶圈、活动螺丝和凸凹模,所述凸凹模外边为切边凸模,所述凸凹模内边为成型凹模,所述凸凹模安装在所述上模底板中间,所述上模顶料板通过所述活动螺丝安装在所述底板上,所述上模顶料板与所述底板之间装有若干个所述上模弹簧,所述橡胶圈套在所述活动螺丝上,所述压料板通过所述活动螺丝与所述橡胶圈安装在所述上模底板上,所述导套安装在所述上模底板四个边角;
所述下模包括下模底板、下模弹簧、托板、下模顶料板、顶柱、支撑板、切边凹模、成型凸模和导柱,所述成型凸模安装在所述下模底板中间,所述支撑板安装在所述下模底板上下两边,所述切边凹模安装在所述支撑板上,所述托板在所述切边凹模下方,所述托板与所述下模底板之间装有若干所述下模弹簧,所述下模顶料板安装在所述托板上,所述切边凹模上开有若干顶柱孔,所述顶柱嵌套在所述顶柱孔里,所述导柱安装在所述下模底板四个边角,所述上模与所述下模通过所述导柱与所述导套配合安装。
2.根据权利要求1所述的一种铝板飞边成型复合模具,其特征在于:所述切边凸模和所述切边凹模刀口分别有规则的锯齿形状排列,所述切边凸模与所述切边凹模配合,所述成型凸模与所述成型凹模配合。
3.根据权利要求1所述的一种铝板飞边成型复合模具,其特征在于:所述顶柱底部与所述托板上表面贴合且所述顶柱高度高于所述切边凹模。
CN202020699065.0U 2020-04-30 2020-04-30 一种铝板飞边成型复合模具 Expired - Fee Related CN212093972U (zh)

Priority Applications (1)

Application Number Priority Date Filing Date Title
CN202020699065.0U CN212093972U (zh) 2020-04-30 2020-04-30 一种铝板飞边成型复合模具

Applications Claiming Priority (1)

Application Number Priority Date Filing Date Title
CN202020699065.0U CN212093972U (zh) 2020-04-30 2020-04-30 一种铝板飞边成型复合模具

Publications (1)

Publication Number Publication Date
CN212093972U true CN212093972U (zh) 2020-12-08

Family

ID=73618984

Family Applications (1)

Application Number Title Priority Date Filing Date
CN202020699065.0U Expired - Fee Related CN212093972U (zh) 2020-04-30 2020-04-30 一种铝板飞边成型复合模具

Country Status (1)

Country Link
CN (1) CN212093972U (zh)

Cited By (2)

* Cited by examiner, † Cited by third party
Publication number Priority date Publication date Assignee Title
CN114378141A (zh) * 2021-12-31 2022-04-22 江苏凯华铝业有限公司 一种铝板加工用成型机
CN115283551A (zh) * 2022-08-09 2022-11-04 江苏恒美幕墙材料有限公司 多元异形幕墙铝板的智能制备装置及其加工工艺

Cited By (4)

* Cited by examiner, † Cited by third party
Publication number Priority date Publication date Assignee Title
CN114378141A (zh) * 2021-12-31 2022-04-22 江苏凯华铝业有限公司 一种铝板加工用成型机
CN114378141B (zh) * 2021-12-31 2023-07-18 江苏凯华铝业有限公司 一种铝板加工用成型机
CN115283551A (zh) * 2022-08-09 2022-11-04 江苏恒美幕墙材料有限公司 多元异形幕墙铝板的智能制备装置及其加工工艺
CN115283551B (zh) * 2022-08-09 2025-05-02 江苏恒美幕墙材料有限公司 多元异形幕墙铝板的智能制备装置及其加工工艺

Similar Documents

Publication Publication Date Title
CN202239251U (zh) 一种铝盖的拉伸成型模具
CN205926794U (zh) 一种冲压复合模具
CN212093972U (zh) 一种铝板飞边成型复合模具
CN215614427U (zh) 一种汽车骨架的冲孔翻边模具
CN208004621U (zh) 全周内扣叠边模具
CN112059023B (zh) 一种板材折边冲压模具
CN203526286U (zh) 一种翻边压模机构
CN217941555U (zh) 一种铝箔容器加工的冲压模具
CN210497948U (zh) 一种具有正反拉伸结构的模具
CN205110545U (zh) 裙边翻边厚度不同的产品加工用冲压模具
CN210817115U (zh) 机械式模内送料机构
CN213260056U (zh) 一种陶瓷生产用的冲压机
CN212860255U (zh) 一种塑胶模具顶出机构
CN214078740U (zh) 不锈钢厚材精密冲压模具
CN210614799U (zh) 一种支架切边模具
CN221434608U (zh) 一种可活动冲切的工件切边模具
CN222077695U (zh) 一种电机风罩冲压装置
CN105215193A (zh) 裙边翻边厚度不同的产品加工用冲压模具及加工方法
CN222001517U (zh) 冲压模具
CN221064116U (zh) 一种可定位的冲切整形模具
CN218460550U (zh) 一种对称翻边的整形机构
CN221312146U (zh) 一种复合拉伸模具
CN221809531U (zh) 一种塑料制品生产用塑料压塑机
CN2848509Y (zh) 一种毛毡冲切刀架
CN205668019U (zh) 一种带顶料装置的冲压模具

Legal Events

Date Code Title Description
GR01 Patent grant
GR01 Patent grant
CF01 Termination of patent right due to non-payment of annual fee
CF01 Termination of patent right due to non-payment of annual fee

Granted publication date: 20201208