CN212091842U - A kind of mixing machine for lithium iron phosphate processing with uniform mixing - Google Patents
A kind of mixing machine for lithium iron phosphate processing with uniform mixing Download PDFInfo
- Publication number
- CN212091842U CN212091842U CN202020270826.0U CN202020270826U CN212091842U CN 212091842 U CN212091842 U CN 212091842U CN 202020270826 U CN202020270826 U CN 202020270826U CN 212091842 U CN212091842 U CN 212091842U
- Authority
- CN
- China
- Prior art keywords
- shaft
- stirring
- iron phosphate
- lithium iron
- barrel
- Prior art date
- Legal status (The legal status is an assumption and is not a legal conclusion. Google has not performed a legal analysis and makes no representation as to the accuracy of the status listed.)
- Active
Links
Images
Landscapes
- Mixers Of The Rotary Stirring Type (AREA)
Abstract
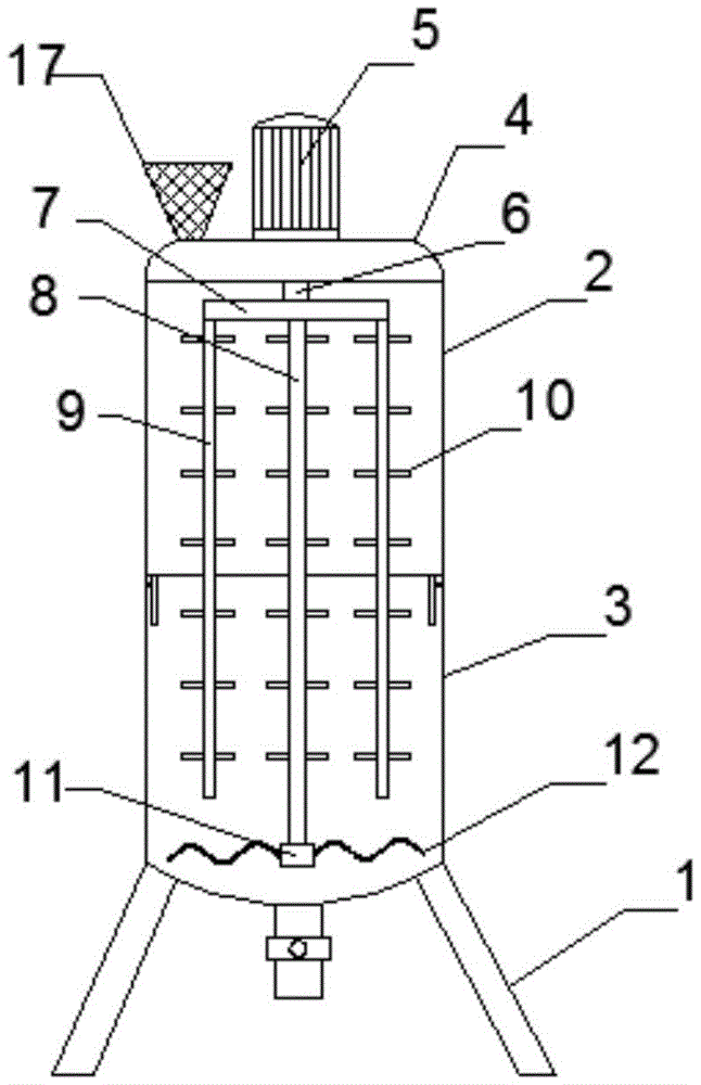
本实用新型涉及一种混料均匀的磷酸铁锂加工用混料机,包括支架和混料筒,所述混料筒底端与支架连接,所述混料筒包括上筒体和下筒体,下筒体底端与支架连接,下筒体顶端与上筒体可拆卸连接,上筒体顶端设置有盖板,盖板上设置有搅拌装置,所述搅拌装置包括搅拌电机、承接轴、横向杆和纵向搅拌轴,承接轴一端与搅拌电机的电机轴连接,另一端穿过盖板且与横向杆连接,所述纵向搅拌轴包括中心轴和辅助轴,辅助轴设置有两个且分别安装在横向杆的两端,中心轴与横向杆的中心点连接。上筒体和下筒体可拆卸式设计,方便了后期对于混料筒内部的清理,可以将其拆开清理,方便工作人员的使用,进一步提高了清理效果。
The utility model relates to a mixing machine for lithium iron phosphate processing with uniform mixing, which comprises a support and a mixing cylinder, the bottom end of the mixing cylinder is connected with the support, and the mixing cylinder comprises an upper cylinder body and a lower cylinder body , the bottom end of the lower cylinder is connected to the bracket, the top of the lower cylinder is detachably connected to the upper cylinder, the top of the upper cylinder is provided with a cover plate, and the cover plate is provided with a stirring device, the stirring device includes a stirring motor, a bearing shaft, The horizontal rod and the vertical stirring shaft, one end of the bearing shaft is connected with the motor shaft of the stirring motor, and the other end passes through the cover plate and is connected with the horizontal rod, the vertical stirring shaft includes a central shaft and an auxiliary shaft, and the auxiliary shaft is provided with two and respectively It is installed at both ends of the transverse rod, and the central axis is connected with the center point of the transverse rod. The detachable design of the upper cylinder and the lower cylinder facilitates the cleaning of the interior of the mixing cylinder in the later stage. It can be disassembled and cleaned, which is convenient for the use of the staff and further improves the cleaning effect.
Description
技术领域technical field
本实用新型涉及磷酸铁锂加工过程中的混料设备技术领域,具体为一种混料均匀的磷酸铁锂加工用混料机。The utility model relates to the technical field of material mixing equipment in the process of lithium iron phosphate processing, in particular to a material mixing machine for processing lithium iron phosphate uniformly.
背景技术Background technique
混料机是磷酸铁锂在生产过程中常用的设备,现有技术中的混料机大都是单轴搅拌,其搅拌效率较慢,进一步会影响物料后期的加工效率;另外,物料在混合后需要对混合筒内部进行清理,现有混料筒大都是一体成型,对其内部清理时会非常麻烦,经常会出现清理不干净的情况,且清理过程非常麻烦,清理效率低,本实用新型针对以上问题提出了一种新的解决方案。The mixer is a commonly used equipment in the production process of lithium iron phosphate. Most of the mixers in the prior art are single-shaft stirring, and the mixing efficiency is slow, which will further affect the processing efficiency of the material in the later stage; It is necessary to clean the interior of the mixing cylinder. Most of the existing mixing cylinders are integrally formed, so it is very troublesome to clean the interior of the mixing cylinder, and the cleaning is often not clean. The cleaning process is very troublesome and the cleaning efficiency is low. The utility model is aimed at The above problem presents a new solution.
实用新型内容Utility model content
针对现有技术的不足,本实用新型提供了一种混料均匀的磷酸铁锂加工用混料机。Aiming at the deficiencies of the prior art, the utility model provides a mixer for lithium iron phosphate processing with uniform mixing.
为实现上述目的,本实用新型提供如下技术方案:一种混料均匀的磷酸铁锂加工用混料机,包括支架和混料筒,所述混料筒底端与支架连接,所述混料筒包括上筒体和下筒体,下筒体底端与支架连接,下筒体顶端与上筒体可拆卸连接,上筒体顶端设置有盖板,盖板上设置有搅拌装置,所述搅拌装置包括搅拌电机、承接轴、横向杆和纵向搅拌轴,承接轴一端与搅拌电机的电机轴连接,另一端穿过盖板且与横向杆连接,所述纵向搅拌轴包括中心轴和辅助轴,辅助轴设置有两个且分别安装在横向杆的两端,中心轴与横向杆的中心点连接,所述辅助轴和中心轴上设置有搅拌叶片,所述中心轴的底端设置有套环,套环上设置有螺旋搅拌片,该螺旋搅拌片设置有两个,且分别相互对称的安装在套环的侧壁上。In order to achieve the above purpose, the utility model provides the following technical solutions: a mixer for lithium iron phosphate processing with uniform mixing, comprising a support and a mixing cylinder, the bottom end of the mixing cylinder is connected with the support, and the mixing The cylinder includes an upper cylinder body and a lower cylinder body, the bottom end of the lower cylinder body is connected with the bracket, the top end of the lower cylinder body is detachably connected with the upper cylinder body, the top of the upper cylinder body is provided with a cover plate, and the cover plate is provided with a stirring device. The stirring device includes a stirring motor, a bearing shaft, a transverse rod and a longitudinal stirring shaft. One end of the bearing shaft is connected with the motor shaft of the stirring motor, and the other end passes through the cover plate and is connected with the transverse rod. The longitudinal stirring shaft includes a central shaft and an auxiliary shaft. , the auxiliary shaft is provided with two and installed at both ends of the transverse rod respectively, the central shaft is connected with the center point of the transverse rod, the auxiliary shaft and the central shaft are provided with stirring blades, and the bottom end of the central shaft is provided with a sleeve The collar is provided with a spiral stirring blade, and the spiral stirring blade is provided with two, and they are respectively installed on the side wall of the collar symmetrically.
优选的,所述下筒体的上端面设置有向下延伸的紧固槽,上筒体的下端面设置有与紧固槽相对应的紧固杆。Preferably, the upper end surface of the lower cylinder body is provided with a downwardly extending fastening groove, and the lower end surface of the upper cylinder body is provided with a fastening rod corresponding to the fastening groove.
优选的,所述紧固杆和紧固槽分别相互对应的设置有多个。Preferably, a plurality of the fastening rods and the fastening grooves are respectively provided corresponding to each other.
优选的,所述下筒体的侧壁上设置有插接孔,该插接孔与紧固槽通透设置,紧固杆上设置有与插接孔相对应的螺纹孔,紧固杆通过螺栓与下筒体可拆卸连接。Preferably, an insertion hole is provided on the side wall of the lower cylinder, the insertion hole and the fastening groove are arranged in a transparent manner, the fastening rod is provided with a threaded hole corresponding to the insertion hole, and the fastening rod passes through The bolt is detachably connected with the lower cylinder.
优选的,所述盖板与上筒体为螺纹连接。Preferably, the cover plate and the upper cylinder are threadedly connected.
优选的,所述搅拌叶片设置有多个且分别通过螺栓与辅助轴以及中心轴连接。Preferably, a plurality of the stirring blades are provided and are respectively connected with the auxiliary shaft and the central shaft through bolts.
优选的,所述辅助轴和中心轴分别通过焊接的方式与横向杆连接。Preferably, the auxiliary shaft and the central shaft are respectively connected with the transverse rod by welding.
优选的,所述盖板上设置有进料口,进料口上连接有入料斗。Preferably, a feeding port is provided on the cover plate, and a feeding hopper is connected to the feeding port.
与现有技术相比,本实用新型提供了一种混料均匀的磷酸铁锂加工用混料机,具备以下有益效果:Compared with the prior art, the utility model provides a mixing machine for lithium iron phosphate processing with uniform mixing, which has the following beneficial effects:
1、上筒体和下筒体可拆卸式设计,方便了后期对于混料筒内部的清理,可以将其拆开清理,方便工作人员使用,进一步提高了清理效果。1. The detachable design of the upper cylinder and the lower cylinder is convenient for cleaning the interior of the mixing cylinder in the later stage. It can be disassembled and cleaned, which is convenient for the staff to use and further improves the cleaning effect.
2、承接轴、横向杆、中心轴和辅助轴的配合设计可以全方位的对混料筒中的物料进行搅拌,改变了原来单轴搅拌的状态,进一步提高了搅拌效率;另外,套环和螺旋搅拌片的配合设计可以将底部的物料可以向上输送,使底部物料也可以进行充分的搅拌以及混合。2. The matching design of the bearing shaft, the transverse rod, the central shaft and the auxiliary shaft can agitate the materials in the mixing barrel in all directions, which changes the state of the original single-shaft stirring and further improves the stirring efficiency; in addition, the collar and the screw The matching design of the stirring blade can transport the material at the bottom upward, so that the material at the bottom can also be fully stirred and mixed.
附图说明Description of drawings
图1为本实用新型整体结构剖面图;1 is a sectional view of the overall structure of the utility model;
图2为本实用新型图1中上筒体和下筒体的配合结构示意图。FIG. 2 is a schematic diagram of the matching structure of the upper cylinder body and the lower cylinder body in FIG. 1 of the present utility model.
图中:1、支架;2、上筒体;3、下筒体;4、盖板;5、搅拌电机;6、承接轴;7、横向杆;8、中心轴;9、辅助轴;10、搅拌叶片;11、套环;12、螺旋搅拌片;13、紧固槽;14、紧固杆;15、插接孔;16、螺纹孔;17、入料斗。In the figure: 1, bracket; 2, upper cylinder; 3, lower cylinder; 4, cover plate; 5, stirring motor; 6, bearing shaft; 7, transverse rod; 8, central shaft; 9, auxiliary shaft; 10 , stirring blade; 11, collar; 12, spiral stirring blade; 13, fastening groove; 14, fastening rod; 15, inserting hole; 16, threaded hole; 17, feeding hopper.
具体实施方式Detailed ways
下面将结合本实用新型实施例中的附图,对本实用新型实施例中的技术方案进行清楚、完整地描述,显然,所描述的实施例仅仅是本实用新型一部分实施例,而不是全部的实施例。基于本实用新型中的实施例,本领域普通技术人员在没有做出创造性劳动前提下所获得的所有其他实施例,都属于本实用新型保护的范围。The technical solutions in the embodiments of the present utility model will be clearly and completely described below with reference to the accompanying drawings in the embodiments of the present utility model. Obviously, the described embodiments are only a part of the embodiments of the present utility model, rather than all the implementations. example. Based on the embodiments of the present invention, all other embodiments obtained by those of ordinary skill in the art without creative work fall within the protection scope of the present invention.
实施例Example
请参阅图1-2,一种混料均匀的磷酸铁锂加工用混料机,包括支架1和混料筒,所述混料筒底端与支架1连接,所述混料筒包括上筒体2和下筒体3,下筒体3底端与支架1连接,下筒体3顶端与上筒体2可拆卸连接,上筒体2顶端设置有盖板4,盖板4上设置有搅拌装置,所述搅拌装置包括搅拌电机5、承接轴6、横向杆7和纵向搅拌轴,承接轴6一端与搅拌电机5的电机轴连接,另一端穿过盖板4且与横向杆7连接,所述纵向搅拌轴包括中心轴8和辅助轴9,辅助轴9设置有两个且分别安装在横向杆7的两端,中心轴8与横向杆7的中心点连接,所述辅助轴9和中心轴8上设置有搅拌叶片10,所述中心轴8的底端设置有套环11,套环11上设置有螺旋搅拌片12,该螺旋搅拌片12设置有两个,且分别相互对称的安装在套环11的侧壁上。Please refer to Fig. 1-2, a mixer for lithium iron phosphate processing with uniform mixing includes a
在进一步具体实施方式中,所述下筒体3的上端面设置有向下延伸的紧固槽13,上筒体2的下端面设置有与紧固槽13相对应的紧固杆14。In a further specific embodiment, the upper end surface of the lower
紧固槽13和紧固杆14的配合设计可以很好的对上筒体2和下筒体3进行拆卸以及安装,方便了对混料筒的使用,另外,紧固杆14和紧固槽13的连接处优选设置密封圈,使得上筒体2和下筒体3在使用时密封性更好。The matching design of the
在进一步具体实施方式中,所述紧固杆14和紧固槽13分别相互对应的设置有多个。In a further specific embodiment, a plurality of the
多个紧固杆14和紧固槽13的配合设计使得上筒体2和下筒体3连接更加牢固。The matching design of the plurality of
在进一步具体实施方式中,所述下筒体3的侧壁上设置有插接孔15,该插接孔15与紧固槽13通透设置,紧固杆14上设置有与插接孔15相对应的螺纹孔16,紧固杆14通过螺栓与下筒体3可拆卸连接。In a further specific embodiment, the side wall of the
单纯的将紧固杆14插接在紧固槽13中牢固度不够,通过螺栓再将紧固杆14和下筒体3连接,使得其连接更加牢固。Simply inserting the tightening
在进一步具体实施方式中,所述盖板4与上筒体2为螺纹连接。In a further specific embodiment, the cover plate 4 is connected with the
将盖板4与上筒体2螺纹连接,方便了对盖板4进行拆卸以及安装。The cover plate 4 is threadedly connected with the
在进一步具体实施方式中,所述搅拌叶片10设置有多个且分别通过螺栓与辅助轴9以及中心轴8连接。In a further specific embodiment, a plurality of the
多个搅拌叶片10的设计可以很好的对物料进行搅拌,进一步提高了其搅拌效率,另外,将搅拌叶片10通过螺栓与中心轴8以及辅助轴9连接,方便了对搅拌叶片10的拆卸以及安装,另外,搅拌叶片10也可以通过焊接的方式与中心轴8以及辅助轴9连接,工作人员可以根据实际情况进行制作。The design of a plurality of stirring
在进一步具体实施方式中,所述辅助轴9和中心轴8分别通过焊接的方式与横向杆7连接。使得其连接更加牢固。In a further specific embodiment, the
在进一步具体实施方式中,所述盖板4上设置有进料口,进料口上连接有入料斗17。通过入料斗17可以很好的将物料向混料筒中输送,另外,入料斗17优选设置为锥形,开口面积较小的一端与进料口连接。In a further specific embodiment, the cover plate 4 is provided with a feeding port, and a
综上所述,该混料均匀的磷酸铁锂加工用混料机,在使用时,通过入料斗17将物料向混料筒中输送,然后启动搅拌电机5,搅拌电机5带动承接轴6,承接轴6带动横向杆7,横向杆7带动辅助轴9和中心轴8,从而带动搅拌叶片10对物料搅拌混合,中心轴带动螺旋搅拌片13转动,从而将下筒体3底部的物料可以向上搅拌,使得混料筒内部的物料可以更加充分的搅拌和混合,下筒体3底端设置有出料口,出料口连接有出料管,出料管上设置有阀门,当搅拌完成后将物料通过出料管向外输送,最后将上筒体2与下筒体3拆卸,分别对上筒体2和下筒体3进行清洗。To sum up, the mixing machine for lithium iron phosphate processing with uniform mixing, when in use, conveys the material into the mixing cylinder through the
尽管已经示出和描述了本实用新型的实施例,对于本领域的普通技术人员而言,可以理解在不脱离本实用新型的原理和精神的情况下可以对这些实施例进行多种变化、修改、替换和变型,本实用新型的范围由所附权利要求及其等同物限定。Although the embodiments of the present invention have been shown and described, it will be understood by those skilled in the art that various changes and modifications can be made to these embodiments without departing from the principles and spirit of the present invention , alternatives and modifications, the scope of the present invention is defined by the appended claims and their equivalents.
Claims (8)
Priority Applications (1)
| Application Number | Priority Date | Filing Date | Title |
|---|---|---|---|
| CN202020270826.0U CN212091842U (en) | 2020-03-08 | 2020-03-08 | A kind of mixing machine for lithium iron phosphate processing with uniform mixing |
Applications Claiming Priority (1)
| Application Number | Priority Date | Filing Date | Title |
|---|---|---|---|
| CN202020270826.0U CN212091842U (en) | 2020-03-08 | 2020-03-08 | A kind of mixing machine for lithium iron phosphate processing with uniform mixing |
Publications (1)
| Publication Number | Publication Date |
|---|---|
| CN212091842U true CN212091842U (en) | 2020-12-08 |
Family
ID=73634435
Family Applications (1)
| Application Number | Title | Priority Date | Filing Date |
|---|---|---|---|
| CN202020270826.0U Active CN212091842U (en) | 2020-03-08 | 2020-03-08 | A kind of mixing machine for lithium iron phosphate processing with uniform mixing |
Country Status (1)
| Country | Link |
|---|---|
| CN (1) | CN212091842U (en) |
Cited By (2)
| Publication number | Priority date | Publication date | Assignee | Title |
|---|---|---|---|---|
| CN114420923A (en) * | 2021-12-15 | 2022-04-29 | 中科锂电新能源有限公司 | Lithium ion battery cathode material lithium manganese iron phosphate material and preparation processing equipment thereof |
| CN114701771A (en) * | 2022-06-02 | 2022-07-05 | 常州市恒迈干燥设备有限公司 | A two flap valve ejection of compact subassemblies for spray dryer |
-
2020
- 2020-03-08 CN CN202020270826.0U patent/CN212091842U/en active Active
Cited By (2)
| Publication number | Priority date | Publication date | Assignee | Title |
|---|---|---|---|---|
| CN114420923A (en) * | 2021-12-15 | 2022-04-29 | 中科锂电新能源有限公司 | Lithium ion battery cathode material lithium manganese iron phosphate material and preparation processing equipment thereof |
| CN114701771A (en) * | 2022-06-02 | 2022-07-05 | 常州市恒迈干燥设备有限公司 | A two flap valve ejection of compact subassemblies for spray dryer |
Similar Documents
| Publication | Publication Date | Title |
|---|---|---|
| CN104689748B (en) | Stirrer for feed production | |
| CN212091842U (en) | A kind of mixing machine for lithium iron phosphate processing with uniform mixing | |
| CN204208499U (en) | Take out slurry paste mixer | |
| CN209775129U (en) | A cement mixing device | |
| CN208005964U (en) | Mortar stock stirring device | |
| CN208839455U (en) | A kind of chemical industry blender being conveniently replaceable agitating paddle | |
| CN209155732U (en) | Vertical flocculation stirring device | |
| CN207913621U (en) | A kind of fertilizer agitating device for irrigation | |
| CN208197169U (en) | A kind of novel dismountable concrete mixer blade | |
| CN214076136U (en) | High-efficient vacuum stirring device | |
| CN211754315U (en) | Compounding device is carried to fertilizer | |
| CN211636240U (en) | A new type of stirring shaft mechanism for stainless steel stirring tank | |
| CN210097472U (en) | Novel high-efficient mixer | |
| CN221819068U (en) | Multistage mixing arrangement is used in waterproof mortar production | |
| CN221788916U (en) | A mixing barrel capable of preventing wall hanging | |
| CN209271295U (en) | It is a kind of for producing the structure improved blender of food additives | |
| CN209034278U (en) | A kind of stationary hopper mixing machine | |
| CN222885614U (en) | Optical glass mixing device | |
| CN223395489U (en) | A continuous mixing device for grouting materials | |
| CN206796190U (en) | A kind of dismountable truck mixer of agitating device | |
| CN204447873U (en) | A kind of dismountable V type mixer for powdery chemical material | |
| CN111469280A (en) | A concrete van mixer truck | |
| CN222567396U (en) | Concrete admixture premixing device | |
| CN221968458U (en) | Automatic mortar agitating unit of material loading | |
| CN211913388U (en) | An automatic mixing device for continuous production of pulp for papermaking |
Legal Events
| Date | Code | Title | Description |
|---|---|---|---|
| GR01 | Patent grant | ||
| GR01 | Patent grant | ||
| PE01 | Entry into force of the registration of the contract for pledge of patent right | ||
| PE01 | Entry into force of the registration of the contract for pledge of patent right |
Denomination of utility model: A mixing machine for lithium iron phosphate processing with uniform mixing Effective date of registration: 20220627 Granted publication date: 20201208 Pledgee: Kaiyang sub branch of Bank of Guiyang Co.,Ltd. Pledgor: GUIZHOU ANDA TECHNOLOGY ENERGY CO.,LTD. Registration number: Y2022980008988 |
|
| CP02 | Change in the address of a patent holder | ||
| CP02 | Change in the address of a patent holder |
Address after: 550300 Bai Anying Village, Xicheng Sub district Office, Kaiyang County, Guiyang City, Guizhou Province Patentee after: GUIZHOU ANDA TECHNOLOGY ENERGY CO.,LTD. Address before: 550300 Ping Shang, Chengxi village, Chengguan Town, Kaiyang County, Guiyang City, Guizhou Province Patentee before: GUIZHOU ANDA TECHNOLOGY ENERGY CO.,LTD. |
|
| PC01 | Cancellation of the registration of the contract for pledge of patent right | ||
| PC01 | Cancellation of the registration of the contract for pledge of patent right |
Granted publication date: 20201208 Pledgee: Kaiyang sub branch of Bank of Guiyang Co.,Ltd. Pledgor: GUIZHOU ANDA TECHNOLOGY ENERGY CO.,LTD. Registration number: Y2022980008988 |
|
| PE01 | Entry into force of the registration of the contract for pledge of patent right | ||
| PE01 | Entry into force of the registration of the contract for pledge of patent right |
Denomination of utility model: A mixing machine for lithium iron phosphate processing with uniform mixing Granted publication date: 20201208 Pledgee: Kaiyang sub branch of Bank of Guiyang Co.,Ltd. Pledgor: GUIZHOU ANDA TECHNOLOGY ENERGY CO.,LTD. Registration number: Y2025980029890 |
