CN212087653U - A new multifunctional fish tank - Google Patents
A new multifunctional fish tank Download PDFInfo
- Publication number
- CN212087653U CN212087653U CN202020179688.5U CN202020179688U CN212087653U CN 212087653 U CN212087653 U CN 212087653U CN 202020179688 U CN202020179688 U CN 202020179688U CN 212087653 U CN212087653 U CN 212087653U
- Authority
- CN
- China
- Prior art keywords
- base
- water
- cylinder body
- pipe
- water outlet
- Prior art date
- Legal status (The legal status is an assumption and is not a legal conclusion. Google has not performed a legal analysis and makes no representation as to the accuracy of the status listed.)
- Expired - Fee Related
Links
- 241000251468 Actinopterygii Species 0.000 title claims abstract description 35
- XLYOFNOQVPJJNP-UHFFFAOYSA-N water Substances O XLYOFNOQVPJJNP-UHFFFAOYSA-N 0.000 claims abstract description 153
- 238000004140 cleaning Methods 0.000 claims abstract description 24
- 239000012780 transparent material Substances 0.000 claims abstract description 8
- 238000007789 sealing Methods 0.000 claims description 3
- 230000002093 peripheral effect Effects 0.000 claims 3
- 239000008233 hard water Substances 0.000 claims 1
- QVGXLLKOCUKJST-UHFFFAOYSA-N atomic oxygen Chemical compound [O] QVGXLLKOCUKJST-UHFFFAOYSA-N 0.000 abstract description 14
- 229910052760 oxygen Inorganic materials 0.000 abstract description 14
- 239000001301 oxygen Substances 0.000 abstract description 14
- 230000009471 action Effects 0.000 description 2
- 238000010586 diagram Methods 0.000 description 2
- 239000012535 impurity Substances 0.000 description 2
- 238000000034 method Methods 0.000 description 2
- 241000894006 Bacteria Species 0.000 description 1
- 230000003796 beauty Effects 0.000 description 1
- 230000007547 defect Effects 0.000 description 1
- 238000005516 engineering process Methods 0.000 description 1
- 230000036541 health Effects 0.000 description 1
- 238000012986 modification Methods 0.000 description 1
- 230000004048 modification Effects 0.000 description 1
- 230000008569 process Effects 0.000 description 1
- 239000002699 waste material Substances 0.000 description 1
Images
Landscapes
- Physical Water Treatments (AREA)
Abstract
一种新型多功能鱼缸,包括内部空心的矩形的底座,底座的顶面固定安装上部开口的缸体,缸体的四周侧壁采用透明材料制成,缸体的四周侧壁均与底座的四周侧壁齐平,缸体内底面设有出水结构,底座的顶面四角处分别开设竖向的第一通孔,缸体的底面对应第一通孔开设竖向的第二通孔,第一通孔内均设有竖向的转动管。本实用新型适用于家庭或是公共场所,采用转动管、螺管与螺套的配合,使得内壁清洗装置竖向移动从而对缸体的内壁进行清洗;同时将储水箱、动力装置、水泵均安装于底座内部有效的减小整个装置的体积,且功能齐全,集换水、供氧、清洗缸体内壁为一体,无需其他的供氧设备,有效的提升整体美观度,实用性强。
A new type of multifunctional fish tank, comprising an inner hollow rectangular base, a cylinder body with an upper opening is fixedly installed on the top surface of the base, the surrounding side walls of the cylinder body are made of transparent materials, and the surrounding side walls of the cylinder body are all connected with the surrounding of the base. The side walls are flush, the bottom surface of the cylinder is provided with a water outlet structure, the four corners of the top surface of the base are respectively provided with vertical first through holes, and the bottom surface of the cylinder body corresponds to the first through holes with vertical second through holes. Vertical rotating tubes are arranged in the through holes. The utility model is suitable for families or public places, and adopts the cooperation of a rotating pipe, a screw pipe and a screw sleeve to make the inner wall cleaning device move vertically to clean the inner wall of the cylinder body; at the same time, the water storage tank, the power device and the water pump are all installed It effectively reduces the volume of the entire device inside the base, and has complete functions. It integrates water exchange, oxygen supply, and cleaning the inner wall of the cylinder, without other oxygen supply equipment, effectively improving the overall appearance and strong practicability.
Description
技术领域technical field
本实用新型属于鱼缸领域,具体地说是一种新型多功能鱼缸。The utility model belongs to the field of fish tanks, in particular to a novel multifunctional fish tank.
背景技术Background technique
随着社会的发展与进步,人们越来越注重生活水平与生活质量,很多人喜欢在家中养鱼,不仅能够提升家庭的美感,同时还能增加生活的乐趣,但是现有技术中的鱼缸大多需要采用单独的供氧设备维持鱼类所需的氧气,占用体积大,且有许多管道,不够美观,同时随着时间的增长,鱼缸内的水会滋生很多细菌,且鱼缸内壁会粘结许多污物,为了确保鱼类的健康,需要定期更换鱼缸内的水,且需要定期对鱼缸的内壁进行清洗,但是现在对于鱼缸内壁的清洗大多是采用手动清洗的方式,操作复杂且费时费力,对于体积较大的鱼缸来说,定期换水消耗的水量大,造成水资源的浪费,不够环保。With the development and progress of society, people pay more and more attention to living standards and quality of life. Many people like to keep fish at home, which can not only enhance the beauty of the family, but also increase the fun of life. However, most fish tanks in the existing technology It is necessary to use a separate oxygen supply device to maintain the oxygen required by the fish, which occupies a large volume and has many pipes, which is not beautiful. At the same time, with the growth of time, the water in the fish tank will breed a lot of bacteria, and the inner wall of the fish tank will stick to a lot of Dirt, in order to ensure the health of the fish, the water in the fish tank needs to be replaced regularly, and the inner wall of the fish tank needs to be cleaned regularly, but now the cleaning of the inner wall of the fish tank is mostly manual cleaning, which is complicated and time-consuming. For larger fish tanks, regular water changes consume a large amount of water, resulting in a waste of water resources, which is not environmentally friendly.
实用新型内容Utility model content
本实用新型提供一种新型多功能鱼缸,用以解决现有技术中的缺陷。The utility model provides a novel multifunctional fish tank for solving the defects in the prior art.
本实用新型通过以下技术方案予以实现:The utility model is realized through the following technical solutions:
一种新型多功能鱼缸,包括内部空心的矩形的底座,底座的顶面固定安装上部开口的缸体,缸体的四周侧壁采用透明材料制成,缸体的四周侧壁均与底座的四周侧壁齐平,缸体内底面设有出水结构,底座的顶面四角处分别开设竖向的第一通孔,缸体的底面对应第一通孔开设竖向的第二通孔,第一通孔内均设有竖向的转动管,转动管的上端均依次贯穿对应的第一通孔、第二通孔且与之通过密封轴承连接,转动管的上端均固定安装竖向的上端封闭的螺管,螺管的螺纹旋向相同,底座固定安装于缸体的内侧壁,转动管的下端均贯穿对应的第一通孔通过密封轴承连接硬质的进水管的一端,底座内底面固定安装上端开口储水箱,储水箱的上端固定连接底座的内顶面,出水结构与储水箱的上部连通,储水箱的中部固定安装水平的过滤网,储水箱的下部四周嵌装环形的紫外灯带,储水箱的下部左侧开设水平的第一出水口,底座内底面左侧固定安装水泵,水泵的进水端通过连管连接第一出水口,水泵的出水端通过水管接头同时连接所有的进水管的另一端,储水箱的下部右侧开设水平的第二出水口,第二出水口的外端固定连接出水管的内端,出水管的外端贯穿底座的对应侧内壁且位于底座外部,出水管靠近第二出水口的一侧安装电磁阀,底座内设有同时驱动四根转动管同向转动的动力装置,螺管的上部靠近缸体中部的一侧均开设数个均匀分布的第三出水口,螺管的上部套装与之螺纹配合的螺套,相邻的两螺套之间均固定安装水平的缸体内壁清洗装置,内壁清洗装置能够随对应的螺套的竖向移动对缸体的内壁进行清洗;紫外灯带、水泵、动力装置均与电源连接。A new type of multifunctional fish tank, comprising an inner hollow rectangular base, a cylinder body with an upper opening is fixedly installed on the top surface of the base, the surrounding side walls of the cylinder body are made of transparent materials, and the surrounding side walls of the cylinder body are all connected with the surrounding of the base. The side walls are flush, the bottom surface of the cylinder is provided with a water outlet structure, the four corners of the top surface of the base are respectively provided with vertical first through holes, and the bottom surface of the cylinder body corresponds to the first through holes with vertical second through holes. The through holes are all provided with vertical rotating pipes, the upper ends of the rotating pipes pass through the corresponding first through holes and the second through holes in sequence and are connected with them through sealed bearings, and the upper ends of the rotating pipes are fixedly installed with vertical upper ends closed. The screw thread of the screw is in the same direction, the base is fixedly installed on the inner side wall of the cylinder, the lower end of the rotating pipe is connected to one end of the rigid water inlet pipe through the corresponding first through hole through the sealing bearing, and the inner bottom surface of the base is fixed Install a water storage tank with an open upper end, the upper end of the water storage tank is fixedly connected to the inner top surface of the base, the water outlet structure is connected with the upper part of the water storage tank, a horizontal filter screen is fixed in the middle of the water storage tank, and a ring-shaped UV light strip is embedded around the lower part of the water storage tank , the lower left side of the water storage tank is provided with a horizontal first water outlet, a water pump is fixedly installed on the left side of the inner bottom surface of the base, the water inlet end of the water pump is connected to the first water outlet through a connecting pipe, and the water outlet end of the water pump is connected to all the water inlets at the same time through the water pipe joint. The other end of the water pipe, the lower right side of the water storage tank is provided with a horizontal second water outlet, the outer end of the second water outlet is fixedly connected to the inner end of the water outlet pipe, and the outer end of the water outlet pipe penetrates the corresponding side inner wall of the base and is located outside the base, A solenoid valve is installed on the side of the water outlet pipe close to the second water outlet. There is a power device in the base that drives the four rotating pipes to rotate in the same direction at the same time. The upper part of the solenoid pipe is provided with several evenly distributed first pipes on the side near the middle of the cylinder. With three water outlets, the upper part of the screw tube is fitted with a screw sleeve which is threaded with it, and a horizontal cylinder inner wall cleaning device is fixedly installed between the two adjacent screw sleeves. The inner wall of the cylinder is cleaned; the UV lamp belt, water pump and power unit are all connected to the power supply.
如上所述的一种新型多功能鱼缸,所述的动力装置包括第一带轮、皮带、电机、第二带轮,转动管的中部外周均固定套装第一带轮,底座的一侧内壁通过支架固定安装输出轴朝上的电机,电机的输出轴固定安装第二带轮,四个第一带轮、第二带轮之间通过皮带连接,电机与电源连接。A new type of multifunctional fish tank as described above, the power device includes a first pulley, a belt, a motor, and a second pulley. A motor with an output shaft facing upward is fixedly installed on the bracket, a second pulley is fixedly installed on the output shaft of the motor, the four first pulleys and the second pulley are connected by a belt, and the motor is connected with the power supply.
如上所述的一种新型多功能鱼缸,所述的内壁清洗装置包括刮板,相邻的两螺套之间固定安装水平的刮板,刮板远离缸体中部的一侧均为内大外小的梯形,刮板远离缸体中部的一侧均固定安装橡胶块。A new type of multifunctional fish tank as mentioned above, the inner wall cleaning device includes a scraper, a horizontal scraper is fixedly installed between two adjacent screw sleeves, and the side of the scraper away from the middle of the cylinder body is both inside and outside. Small trapezoid, rubber blocks are fixedly installed on the side of the scraper away from the middle of the cylinder.
如上所述的一种新型多功能鱼缸,所述的出水结构包括第四出水口、第三通孔、连接管,缸体的内底面和底座的顶面对应开设四个竖向的第四出水口,底座的顶面的第四出水口与缸体内底面对应的第四出水口相通,储水箱的四周上部均开设第三通孔,第三通孔的外端均固定连接L型的连接管的水平管口,连接管的竖向管口均固定连接底座对应的第四出水口的下端。A new type of multifunctional fish tank as described above, the water outlet structure includes a fourth water outlet, a third through hole, and a connecting pipe, and four vertical fourth vertical The water outlet, the fourth water outlet on the top surface of the base communicates with the corresponding fourth water outlet on the bottom surface of the cylinder body, the upper part of the circumference of the water storage tank is provided with third through holes, and the outer ends of the third through holes are fixedly connected to the L-shaped water outlet. The horizontal nozzle of the connecting pipe and the vertical nozzle of the connecting pipe are fixed to the lower end of the fourth water outlet corresponding to the connection base.
如上所述的一种新型多功能鱼缸,所述的螺管采用透明材料制成。In the above-mentioned novel multifunctional fish tank, the spiral tube is made of transparent material.
本实用新型的优点是:本实用新型适用于家庭或是公共场所;在使用时,电磁阀关闭,缸体内装有水,水面低于最上部的第三出水口,缸体内养有鱼类,紫外灯带处于打开状态,当需要为缸体内的鱼类进行供氧和换水时,使用者将水泵打开,缸体内的水在水泵的作用下经过出水结构进入储水箱内,储水箱内的水经过过滤网过滤掉水体中的杂质,再讲过紫外灯带灭菌之后,依次经过第一出水口、水泵、进水管进入转动管内,再从转动管上部的第三出水口向缸体的中部进行喷洒,流动的水体能够有效的提升缸体内的氧气浓度从而为缸体内的鱼类供氧,同时经过过滤网和紫外灯带对缸体内的水体进行过滤和杀菌,从而起到对缸体内的进行替换的效果;当需要对缸体的内壁进行清洗时,使用者将缸体内的鱼类捞出,再将电磁阀打开,缸体内的水依次经过储水结构、储水箱、第二出水口、出水管直接排出,再通过动力装置驱动转动管均转动且转动方向相同,转动管的转动带动对应的螺管随之转动,由于螺套与对应的螺管之间螺纹连接,螺管的转动使得螺套沿对应的螺管向下移动,同时由于相邻的两螺套之间固定安装内壁清洗装置,且内壁清洗装置能够随对应的螺套的移动对缸体的内壁进行清洗,螺套向下移动带动所有的内壁清洗装置随之向下移动,从而内壁清洗装置对缸体的四周内壁进行清洗;本实用新型设计合理,构思巧妙,采用转动管、螺管与螺套的配合,使得内壁清洗装置竖向移动从而对缸体的内壁进行清洗;同时本实用新型结构紧凑,将储水箱、动力装置、水泵均安装于底座内部有效的减小整个装置的体积,且本实用新型功能齐全,集换水、供氧、清洗缸体内壁为一体,无需其他的供氧设备,有效的提升整体美观度,实用性强。The advantages of the utility model are: the utility model is suitable for families or public places; when in use, the solenoid valve is closed, water is contained in the cylinder, the water surface is lower than the third water outlet at the uppermost part, and fish are kept in the cylinder , the ultraviolet light strip is in the open state. When it is necessary to supply oxygen and exchange water for the fish in the tank, the user turns on the water pump, and the water in the tank enters the water storage tank through the water outlet structure under the action of the water pump. The water in the water tank is filtered by the filter screen to filter out the impurities in the water body. After the ultraviolet lamp strip is sterilized, it enters the rotating pipe through the first water outlet, the water pump and the water inlet pipe in turn, and then goes from the third water outlet on the upper part of the rotating pipe to the rotating pipe. The middle of the tank is sprayed, and the flowing water can effectively increase the oxygen concentration in the tank to supply oxygen to the fish in the tank. Thereby, the effect of replacing the inside of the cylinder is achieved; when the inner wall of the cylinder needs to be cleaned, the user fishes out the fish in the cylinder, then opens the solenoid valve, and the water in the cylinder passes through the storage tank in turn. The water structure, the water storage tank, the second water outlet and the water outlet pipe are directly discharged, and then the rotating pipe is driven by the power device to rotate and rotate in the same direction. The rotation of the rotating pipe drives the corresponding solenoid to rotate accordingly. The tubes are threadedly connected, and the rotation of the screw makes the screw sleeve move downward along the corresponding screw tube. At the same time, the inner wall cleaning device is fixedly installed between the two adjacent screw sleeves, and the inner wall cleaning device can move with the corresponding screw sleeve. The inner wall of the cylinder body is cleaned, and the downward movement of the screw sleeve drives all the inner wall cleaning devices to move downward, so that the inner wall cleaning device cleans the surrounding inner walls of the cylinder body; the utility model has a reasonable design and an ingenious conception. , The cooperation of the screw pipe and the screw sleeve makes the inner wall cleaning device move vertically to clean the inner wall of the cylinder body; at the same time, the utility model has a compact structure, and the water storage tank, the power device and the water pump are all installed inside the base to effectively reduce the overall size of the cylinder. The volume of the device is small, and the utility model has complete functions, which integrates water exchange, oxygen supply and cleaning of the inner wall of the cylinder, without other oxygen supply equipment, effectively improving the overall appearance and strong practicability.
附图说明Description of drawings
为了更清楚地说明本实用新型实施例或现有技术中的技术方案,下面将对实施例或现有技术描述中所需要使用的附图作一简单地介绍,显而易见地,下面描述中的附图是本实用新型的一些实施例,对于本领域普通技术人员来讲,在不付出创造性劳动性的前提下,还可以根据这些附图获得其他的附图。In order to illustrate the embodiments of the present invention or the technical solutions in the prior art more clearly, the following briefly introduces the accompanying drawings used in the description of the embodiments or the prior art. Obviously, the accompanying drawings in the following description The drawings are some embodiments of the present invention. For those of ordinary skill in the art, other drawings can also be obtained from these drawings without creative labor.
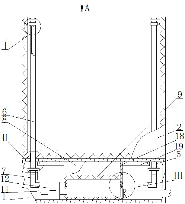
图1是本实用新型的结构示意图;图2是图1A向视图的放大图;图3是图1Ⅰ局部的放大图;图4是图1Ⅱ局部的放大图;图5是图1Ⅲ局部的放大图;图6是动力装置的示意图。1 is a schematic structural diagram of the present utility model; FIG. 2 is an enlarged view of FIG. 1A to the view; FIG. 3 is an enlarged view of a part of FIG. 1I; FIG. 4 is an enlarged view of a part of FIG. 1II; ; Figure 6 is a schematic diagram of the power plant.
具体实施方式Detailed ways
为使本实用新型实施例的目的、技术方案和优点更加清楚,下面将结合本实用新型实施例中的附图,对本实用新型实施例中的技术方案进行清楚、完整地描述,显然,所描述的实施例是本实用新型一部分实施例,而不是全部的实施例。基于本实用新型中的实施例,本领域普通技术人员在没有作出创造性劳动前提下所获得的所有其他实施例,都属于本实用新型保护的范围。In order to make the purposes, technical solutions and advantages of the embodiments of the present utility model clearer, the technical solutions in the embodiments of the present utility model will be clearly and completely described below with reference to the accompanying drawings in the embodiments of the present utility model. The embodiments described above are a part of the embodiments of the present invention, but not all of the embodiments. Based on the embodiments of the present invention, all other embodiments obtained by those of ordinary skill in the art without creative work fall within the protection scope of the present invention.
一种新型多功能鱼缸,如图所示,包括内部空心的矩形的底座1,底座1的顶面固定安装上部开口的缸体2,缸体2的四周侧壁采用透明材料制成,缸体2的四周侧壁均与底座1的四周侧壁齐平,缸体2内底面设有出水结构,底座1的顶面四角处分别开设竖向的第一通孔3,缸体2的底面对应第一通孔3开设竖向的第二通孔4,第一通孔3内均设有竖向的转动管5,转动管5的上端均依次贯穿对应的第一通孔3、第二通孔4且与之通过密封轴承连接,转动管5的上端均固定安装竖向的上端封闭的螺管6,螺管6的螺纹旋向相同,底座1固定安装于缸体2的内侧壁,转动管5的下端均贯穿对应的第一通孔3通过密封轴承连接硬质的进水管7的一端,底座1内底面固定安装上端开口储水箱8,储水箱8的上端固定连接底座1的内顶面,出水结构与储水箱8的上部连通,储水箱8的中部固定安装水平的过滤网9,储水箱8的下部四周嵌装环形的紫外灯带10,储水箱8的下部左侧开设水平的第一出水口11,底座1内底面左侧固定安装水泵12,水泵12的进水端通过连管连接第一出水口11,水泵12的出水端通过水管接头同时连接所有的进水管7的另一端,储水箱8的下部右侧开设水平的第二出水口13,第二出水口13的外端固定连接出水管14的内端,出水管14的外端贯穿底座1的对应侧内壁且位于底座1外部,出水管14靠近第二出水口13的一侧安装电磁阀,底座1内设有同时驱动四根转动管5同向转动的动力装置,螺管6的上部靠近缸体2中部的一侧均开设数个均匀分布的第三出水口15,螺管6的上部套装与之螺纹配合的螺套16,相邻的两螺套16之间均固定安装水平的缸体2内壁清洗装置,内壁清洗装置能够随对应的螺套16的竖向移动对缸体2的内壁进行清洗;紫外灯带10、水泵12、动力装置均与电源连接。本实用新型适用于家庭或是公共场所;在使用时,电磁阀关闭,缸体2内装有水,水面低于最上部的第三出水口15,缸体2内养有鱼类,紫外灯带10处于打开状态,当需要为缸体2内的鱼类进行供氧和换水时,使用者将水泵12打开,缸体2内的水在水泵12的作用下经过出水结构进入储水箱8内,储水箱8内的水经过过滤网9过滤掉水体中的杂质,再讲过紫外灯带10灭菌之后,依次经过第一出水口11、水泵12、进水管7进入转动管5内,再从转动管5上部的第三出水口15向缸体2的中部进行喷洒,流动的水体能够有效的提升缸体2内的氧气浓度从而为缸体2内的鱼类供氧,同时经过过滤网9和紫外灯带10对缸体2内的水体进行过滤和杀菌,从而起到对缸体2内的进行替换的效果;当需要对缸体2的内壁进行清洗时,使用者将缸体2内的鱼类捞出,再将电磁阀打开,缸体2内的水依次经过储水结构、储水箱8、第二出水口13、出水管14直接排出,再通过动力装置驱动转动管5均转动且转动方向相同,转动管5的转动带动对应的螺管6随之转动,由于螺套16与对应的螺管6之间螺纹连接,螺管6的转动使得螺套16沿对应的螺管6向下移动,同时由于相邻的两螺套6之间固定安装内壁清洗装置,且内壁清洗装置能够随对应的螺套16的移动对缸体2的内壁进行清洗,螺套16向下移动带动所有的内壁清洗装置随之向下移动,从而内壁清洗装置对缸体2的四周内壁进行清洗;本实用新型设计合理,构思巧妙,采用转动管5、螺管6与螺套16的配合,使得内壁清洗装置竖向移动从而对缸体2的内壁进行清洗;同时本实用新型结构紧凑,将储水箱8、动力装置、水泵12均安装于底座1内部有效的减小整个装置的体积,且本实用新型功能齐全,集换水、供氧、清洗缸体2内壁为一体,无需其他的供氧设备,有效的提升整体美观度,实用性强。A new type of multifunctional fish tank, as shown in the figure, includes a hollow
具体而言,如图4所示,本实施例所述的动力装置包括第一带轮20、皮带21、电机22、第二带轮23,转动管5的中部外周均固定套装第一带轮20,底座1的一侧内壁通过支架固定安装输出轴朝上的电机22,电机22的输出轴固定安装第二带轮23,四个第一带轮20、第二带轮23之间通过皮带21连接,电机22与电源连接。在使用过程中,电机22工作,由于四个第一带轮20、第二带轮23之间通过皮带21连接,电机22输出轴的转动使得第二带轮23均随之转动,且四个第二带轮23的转动方向相同,从而使得四根转动管5转动方向相同。Specifically, as shown in FIG. 4 , the power device described in this embodiment includes a
具体的,如图3所示,本实施例所述的内壁清洗装置包括刮板24,相邻的两螺套16之间固定安装水平的刮板24,刮板24远离缸体2中部的一侧均为内大外小的梯形,刮板24远离缸体2中部的一侧均固定安装橡胶块25。在使用的过程中,刮板24随对应的螺套16向下移动,由于刮板24远离缸体2中部的一侧均为内大外小的梯形,能够有效的将缸体2内壁的粘接物刮至缸体2底部,同时通过橡胶块25与缸体2内壁接触,能够有效的对缸体2内壁进行保护。Specifically, as shown in FIG. 3 , the inner wall cleaning device in this embodiment includes a
进一步的,如图2所示,本实施例所述的出水结构包括第四出水口17、第三通孔18、连接管19,缸体2的内底面和底座1的顶面对应开设四个竖向的第四出水口17,底座1的顶面的第四出水口17与缸体2内底面对应的第四出水口17相通,储水箱8的四周上部均开设第三通孔18,第三通孔18的外端均固定连接L型的连接管19的水平管口,连接管19的竖向管口均固定连接底座1对应的第四出水口17的下端。在使用的过程中,缸体2内的水依次经过第四出水口17、连接管19、第三通孔18进入储水箱8内。Further, as shown in FIG. 2 , the water outlet structure described in this embodiment includes a fourth water outlet 17 , a third through
更进一步的,如图1所示,本实施例所述的螺管6采用透明材料制成。透明材料制成的螺管6能够有效的提升缸体2的美观度。Further, as shown in FIG. 1 , the
最后应说明的是:以上实施例仅用以说明本实用新型的技术方案,而非对其限制;尽管参照前述实施例对本实用新型进行了详细的说明,本领域的普通技术人员应当理解:其依然可以对前述各实施例所记载的技术方案进行修改,或者对其中部分技术特征进行等同替换;而这些修改或者替换,并不使相应技术方案的本质脱离本实用新型各实施例技术方案的精神和范围。Finally, it should be noted that the above embodiments are only used to illustrate the technical solutions of the present utility model, but not to limit them; although the present utility model has been described in detail with reference to the foregoing embodiments, those of ordinary skill in the art should understand that: It is still possible to modify the technical solutions recorded in the foregoing embodiments, or perform equivalent replacements to some of the technical features; and these modifications or replacements do not make the essence of the corresponding technical solutions depart from the spirit of the technical solutions of the embodiments of the present invention and range.
Claims (5)
Priority Applications (1)
| Application Number | Priority Date | Filing Date | Title |
|---|---|---|---|
| CN202020179688.5U CN212087653U (en) | 2020-02-18 | 2020-02-18 | A new multifunctional fish tank |
Applications Claiming Priority (1)
| Application Number | Priority Date | Filing Date | Title |
|---|---|---|---|
| CN202020179688.5U CN212087653U (en) | 2020-02-18 | 2020-02-18 | A new multifunctional fish tank |
Publications (1)
| Publication Number | Publication Date |
|---|---|
| CN212087653U true CN212087653U (en) | 2020-12-08 |
Family
ID=73633264
Family Applications (1)
| Application Number | Title | Priority Date | Filing Date |
|---|---|---|---|
| CN202020179688.5U Expired - Fee Related CN212087653U (en) | 2020-02-18 | 2020-02-18 | A new multifunctional fish tank |
Country Status (1)
| Country | Link |
|---|---|
| CN (1) | CN212087653U (en) |
-
2020
- 2020-02-18 CN CN202020179688.5U patent/CN212087653U/en not_active Expired - Fee Related
Similar Documents
| Publication | Publication Date | Title |
|---|---|---|
| CN205884396U (en) | Automatic wash fish bowl | |
| CN208940591U (en) | A kind of irrigator of the gardens with sewage treatment | |
| CN105766781A (en) | Sealed type fish tank filtering barrel | |
| CN108623058A (en) | Sewage purification line and method thereof | |
| CN203922888U (en) | A kind of landscape water recycling equipment | |
| CN212087653U (en) | A new multifunctional fish tank | |
| CN101224911A (en) | Fish pond circulating water multifunctional solid dirt separator | |
| CN107265694A (en) | A kind of purifier being convenient to clean | |
| CN209714419U (en) | A filter device for environmental treatment sewage | |
| CN108496878B (en) | Filtration system in pond | |
| CN220012262U (en) | A kind of sewage reuse treatment equipment for rural sewage treatment | |
| CN107926828B (en) | System is strained on big-arch shelter cultivation shrimp pond top | |
| CN216855940U (en) | A chemical engineering waste liquid impurity layer separation device | |
| CN216653670U (en) | Filter equipment of blue alga is removed to high efficiency | |
| CN205884415U (en) | Closed fish pond circulation clean system | |
| CN216428431U (en) | Water supply tank for high-rise building | |
| CN214654292U (en) | Sewage circulation treatment system is bred to aquarium fish of family | |
| CN210796171U (en) | Fish dung and sewage concentration device for fish culture by circulating water and dung and sewage concentration and recycling system | |
| CN219722086U (en) | A landscape sewage treatment device | |
| CN209322548U (en) | A small fountain type biofilm tray water treatment device | |
| CN202644668U (en) | Automatic wastewater utilization device | |
| CN212035512U (en) | Sewage device for aquaculture pond | |
| CN211141681U (en) | A refined sewage treatment and separation device | |
| CN202844699U (en) | Bag-type filtering basin for sewage disposal by separated basin oxidation | |
| CN206034561U (en) | Self -cleaning water tank of environment -friendly |
Legal Events
| Date | Code | Title | Description |
|---|---|---|---|
| GR01 | Patent grant | ||
| GR01 | Patent grant | ||
| CF01 | Termination of patent right due to non-payment of annual fee |
Granted publication date: 20201208 Termination date: 20220218 |
|
| CF01 | Termination of patent right due to non-payment of annual fee |
