CN212086136U - 一种太阳能电池板安装结构 - Google Patents
一种太阳能电池板安装结构 Download PDFInfo
- Publication number
- CN212086136U CN212086136U CN202021012643.5U CN202021012643U CN212086136U CN 212086136 U CN212086136 U CN 212086136U CN 202021012643 U CN202021012643 U CN 202021012643U CN 212086136 U CN212086136 U CN 212086136U
- Authority
- CN
- China
- Prior art keywords
- fixing
- grooves
- groove
- seat
- wall
- Prior art date
- Legal status (The legal status is an assumption and is not a legal conclusion. Google has not performed a legal analysis and makes no representation as to the accuracy of the status listed.)
- Active
Links
- 238000009434 installation Methods 0.000 claims abstract description 27
- 238000006243 chemical reaction Methods 0.000 description 3
- 238000010586 diagram Methods 0.000 description 2
- 230000000694 effects Effects 0.000 description 2
- 238000010248 power generation Methods 0.000 description 2
- 239000008358 core component Substances 0.000 description 1
- 230000005611 electricity Effects 0.000 description 1
- 238000000034 method Methods 0.000 description 1
- 238000012986 modification Methods 0.000 description 1
- 230000004048 modification Effects 0.000 description 1
- 230000005855 radiation Effects 0.000 description 1
Images
Classifications
-
- Y—GENERAL TAGGING OF NEW TECHNOLOGICAL DEVELOPMENTS; GENERAL TAGGING OF CROSS-SECTIONAL TECHNOLOGIES SPANNING OVER SEVERAL SECTIONS OF THE IPC; TECHNICAL SUBJECTS COVERED BY FORMER USPC CROSS-REFERENCE ART COLLECTIONS [XRACs] AND DIGESTS
- Y02—TECHNOLOGIES OR APPLICATIONS FOR MITIGATION OR ADAPTATION AGAINST CLIMATE CHANGE
- Y02E—REDUCTION OF GREENHOUSE GAS [GHG] EMISSIONS, RELATED TO ENERGY GENERATION, TRANSMISSION OR DISTRIBUTION
- Y02E10/00—Energy generation through renewable energy sources
- Y02E10/40—Solar thermal energy, e.g. solar towers
- Y02E10/47—Mountings or tracking
-
- Y—GENERAL TAGGING OF NEW TECHNOLOGICAL DEVELOPMENTS; GENERAL TAGGING OF CROSS-SECTIONAL TECHNOLOGIES SPANNING OVER SEVERAL SECTIONS OF THE IPC; TECHNICAL SUBJECTS COVERED BY FORMER USPC CROSS-REFERENCE ART COLLECTIONS [XRACs] AND DIGESTS
- Y02—TECHNOLOGIES OR APPLICATIONS FOR MITIGATION OR ADAPTATION AGAINST CLIMATE CHANGE
- Y02E—REDUCTION OF GREENHOUSE GAS [GHG] EMISSIONS, RELATED TO ENERGY GENERATION, TRANSMISSION OR DISTRIBUTION
- Y02E10/00—Energy generation through renewable energy sources
- Y02E10/50—Photovoltaic [PV] energy
Landscapes
- Photovoltaic Devices (AREA)
Abstract
本实用新型属于安装结构领域,尤其是一种太阳能电池板安装结构,包括两个对称设置的固定架,所述固定架的一侧开设有转动孔,转动孔内转动安装有转动杆,两个转动杆相互靠近的一端固定安装有同一个安装框,转动杆的另一端延伸至固定架的外侧并固定安装有转盘,固定架的开设有多个固定槽,转盘上开设有螺纹孔,螺纹孔内螺纹安装有固定螺栓,且固定螺栓与对应的固定槽相适配,安装框的顶部内壁上和底部内壁上均开设有两个对称设置的第一孔,第一孔内滑动安装有第一限位座。本实用新型设计合理,通过第一限位座和梯形座的限位,能够对太阳能电池板进行安装,且能够对太阳能电池板进行角度调节。
Description
技术领域
本实用新型涉及安装结构技术领域,尤其涉及一种太阳能电池板安装结构。
背景技术
太阳能电池板是通过吸收太阳光,将太阳辐射能通过光电效应或者光化学效应直接或间接转换成电能的装置,相对于普通电池和可循环充电电池来说,太阳能电池属于更节能环保的绿色产品。其中,太阳能电池板是太阳能发电系统中的核心部件,太阳能电池板的作用是将太阳的光能转化为电能,而后输出直流电存入蓄电池中,太阳能电池板的能量转换率和使用寿命是决定太阳能发电系统是否具有使用价值的重要因素。现有的太阳能电池板在安装时,通常都是统一排布好支架,然后将太阳能电池板固定在支架上,太阳能电池板在支架上的位置始终保持固定,不便于安装且不能灵活的调节其倾角,由于地形和太阳照射角度的原因,太阳能电池板接收到的太阳光有限,从而转换得到电能较少,严重影响了能源利用率,因此我们提出了一种太阳能电池板安装结构用于解决上述问题。
实用新型内容
本实用新型的目的是为了解决现有技术中存在太阳能电池板在支架上的位置始终保持固定,不便于安装且不能灵活的调节其倾角,由于地形和太阳照射角度的原因,太阳能电池板接收到的太阳光有限,从而转换得到电能较少,严重影响了能源利用率的缺点,而提出的一种太阳能电池板安装结构。
为了实现上述目的,本实用新型采用了如下技术方案:
一种太阳能电池板安装结构,包括两个对称设置的固定架,所述固定架的一侧开设有转动孔,转动孔内转动安装有转动杆,两个转动杆相互靠近的一端固定安装有同一个安装框,转动杆的另一端延伸至固定架的外侧并固定安装有转盘,固定架的开设有多个固定槽,转盘上开设有螺纹孔,螺纹孔内螺纹安装有固定螺栓,且固定螺栓与对应的固定槽相适配,安装框的顶部内壁上和底部内壁上均开设有两个对称设置的第一孔,第一孔内滑动安装有第一限位座,第一孔的一侧内壁上开设有第一槽,第一槽内滑动安装有移动座,且移动座的一侧固定安装在对应的第一限位座上,第一槽的底部内壁上转动安装有丝杆的一端,丝杆的另一侧延伸至安装框的外侧并固定安装有旋钮,第一孔的另一侧内壁上开设有第二槽,安装框的两侧内壁上均开设有两个对称设置的第三槽,第三槽内滑动安装有梯形座,第一限位座的一侧固定安装有移动板,位于同一侧竖直轴线上的两个移动板相互靠近的一侧固定安装有同一个推杆,且推杆延伸至对应的第三槽内并与梯形座相适配。
优选的,位移同一竖直轴线上的两个第三槽相互靠近的一侧内壁上均开设有滑动槽,滑动槽内滑动安装有滑动板,滑动板固定安装在对应的梯形座上,由于设置有滑动板和滑动槽,能够使得梯形座进行稳定的移动。
优选的,所述滑动槽的一侧内壁上固定安装有复位弹簧的一端,复位弹簧的另一端固定安装在滑动板上,由于设置有复位弹簧,能够使得梯形座进行复位。
优选的,所述第一槽的两侧内壁上均开设有限位槽,移动座的两侧内壁上均固定安装有限位杆,且限位杆与对应的限位槽滑动连接,能够使得移动座进行稳定的移动。
优选的,所述第三槽的两侧内壁上均开设有连接槽,梯形座的两侧均固定安装有连接座,且连接座与对应的连接槽滑动连接,由于设置有连接座和连接槽,能够使得梯形座进行稳定的移动。
优选的,位于同一侧的固定槽的数量为六到十个,且六到十个固定槽呈环形等间距设置。
本实用新型中,所述一种太阳能电池板安装结构当对太阳能电池板进行安装时,首先把太阳能电池板放置在安装框内,此时转动旋钮,旋钮能够带动丝杆进行转动,丝杆能够带动移动座进行移动,移动座能够带动第一限位座进行移动,使得第一限位座移出第一孔,通过第一限位座能够对太阳能电池板进行初步限位固定,第一限位座的移动通过移动板能够的推杆进行移动,推杆对梯形座进行挤压,使得梯形座移出第三槽,梯形座通过滑动板能够对复位弹簧进行拉伸,通过梯形座能够加强对太阳能电池板的限位固定;
当太阳能电池板的安装区域不同,需要对太阳能电池板进行角度进行调整,从而充分的接受光照,通过转动固定螺栓,在螺纹孔的作用下,能够使得固定螺栓一边转动一边移动并脱离对应的固定槽,能够解除对安装框的固定,通过转动转盘,转盘通过转动杆能够带动安装框进行角度调节,安装框能够带动太阳能电池板进行角度调节,当调节完成后,反向转动固定螺栓,能够使得固定螺栓卡入对应的固定槽内,从而能够对太阳能电池板进行固定。
本实用新型设计合理,通过第一限位座和梯形座的限位,能够对太阳能电池板进行安装,且能够对太阳能电池板进行角度调节。
附图说明
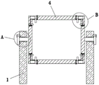
图1为本实用新型提出的一种太阳能电池板安装结构的结构示意图;
图2为本实用新型提出的一种太阳能电池板安装结构的A部分结构示意图;
图3为本实用新型提出的一种太阳能电池板安装结构的B部分结构示意图。
图中:1、固定架;2、转动孔;3、转动杆;4、安装框;5、转盘;6、固定槽;7、螺纹孔;8、固定螺栓;9、第一孔;10、第一限位座;11、第一槽;12、移动座;13、丝杆;14、旋钮;15、第二槽;16、第三槽;17、梯形座;18、移动板;19、推杆;20、滑动槽;21、滑动板;22、复位弹簧。
具体实施方式
下面将结合本实用新型实施例中的附图,对本实用新型实施例中的技术方案进行清楚、完整地描述,显然,所描述的实施例仅仅是本实用新型一部分实施例,而不是全部的实施例。
参照图1-3,一种太阳能电池板安装结构,包括两个对称设置的固定架1,固定架1的一侧开设有转动孔2,转动孔2内转动安装有转动杆3,两个转动杆3相互靠近的一端固定安装有同一个安装框4,转动杆3的另一端延伸至固定架1的外侧并固定安装有转盘5,固定架1的开设有多个固定槽6,转盘5上开设有螺纹孔7,螺纹孔7内螺纹安装有固定螺栓8,且固定螺栓8与对应的固定槽6相适配,安装框4的顶部内壁上和底部内壁上均开设有两个对称设置的第一孔9,第一孔9内滑动安装有第一限位座10,第一孔9的一侧内壁上开设有第一槽11,第一槽11内滑动安装有移动座12,且移动座12的一侧固定安装在对应的第一限位座10上,第一槽11的底部内壁上转动安装有丝杆13的一端,丝杆13的另一侧延伸至安装框4的外侧并固定安装有旋钮14,第一孔9的另一侧内壁上开设有第二槽15,安装框4的两侧内壁上均开设有两个对称设置的第三槽16,第三槽16内滑动安装有梯形座17,第一限位座10的一侧固定安装有移动板18,位于同一侧竖直轴线上的两个移动板18相互靠近的一侧固定安装有同一个推杆19,且推杆19延伸至对应的第三槽16内并与梯形座17相适配。
本实用新型中,位移同一竖直轴线上的两个第三槽16相互靠近的一侧内壁上均开设有滑动槽20,滑动槽20内滑动安装有滑动板21,滑动板21固定安装在对应的梯形座17上,由于设置有滑动板21和滑动槽20,能够使得梯形座17进行稳定的移动。
本实用新型中,滑动槽20的一侧内壁上固定安装有复位弹簧22的一端,复位弹簧22的另一端固定安装在滑动板21上,由于设置有复位弹簧22,能够使得梯形座17进行复位。
本实用新型中,第一槽11的两侧内壁上均开设有限位槽,移动座12的两侧内壁上均固定安装有限位杆,且限位杆与对应的限位槽滑动连接,能够使得移动座12进行稳定的移动。
本实用新型中,第三槽16的两侧内壁上均开设有连接槽,梯形座17的两侧均固定安装有连接座,且连接座与对应的连接槽滑动连接,由于设置有连接座和连接槽,能够使得梯形座17进行稳定的移动。
本实用新型中,位于同一侧的固定槽6的数量为六到十个,且六到十个固定槽6呈环形等间距设置。
本实用新型中,当对太阳能电池板进行安装时,首先把太阳能电池板放置在安装框4内,此时转动旋钮14,旋钮14能够带动丝杆13进行转动,丝杆13能够带动移动座12进行移动,移动座12能够带动第一限位座10进行移动,使得第一限位座10移出第一孔9,通过第一限位座10能够对太阳能电池板进行初步限位固定,第一限位座10的移动通过移动板18能够的推杆19进行移动,推杆19对梯形座17进行挤压,使得梯形座17移出第三槽16,梯形座17通过滑动板21能够对复位弹簧22进行拉伸,通过梯形座17能够加强对太阳能电池板的限位固定,当太阳能电池板的安装区域不同,需要对太阳能电池板进行角度进行调整,从而充分的接受光照,通过转动固定螺栓8,在螺纹孔7的作用下,能够使得固定螺栓8一边转动一边移动并脱离对应的固定槽6,能够解除对安装框4的固定,通过转动转盘5,转盘5通过转动杆3能够带动安装框4进行角度调节,安装框4能够带动太阳能电池板进行角度调节,当调节完成后,反向转动固定螺栓8,能够使得固定螺栓8卡入对应的固定槽6内,从而能够对太阳能电池板进行固定。
以上所述,仅为本实用新型较佳的具体实施方式,但本实用新型的保护范围并不局限于此,任何熟悉本技术领域的技术人员在本实用新型揭露的技术范围内,根据本实用新型的技术方案及其实用新型构思加以等同替换或改变,都应涵盖在本实用新型的保护范围之内。
Claims (6)
1.一种太阳能电池板安装结构,包括两个对称设置的固定架(1),其特征在于,所述固定架(1)的一侧开设有转动孔(2),转动孔(2)内转动安装有转动杆(3),两个转动杆(3)相互靠近的一端固定安装有同一个安装框(4),转动杆(3)的另一端延伸至固定架(1)的外侧并固定安装有转盘(5),固定架(1)的开设有多个固定槽(6),转盘(5)上开设有螺纹孔(7),螺纹孔(7)内螺纹安装有固定螺栓(8),且固定螺栓(8)与对应的固定槽(6)相适配,安装框(4)的顶部内壁上和底部内壁上均开设有两个对称设置的第一孔(9),第一孔(9)内滑动安装有第一限位座(10),第一孔(9)的一侧内壁上开设有第一槽(11),第一槽(11)内滑动安装有移动座(12),且移动座(12)的一侧固定安装在对应的第一限位座(10)上,第一槽(11)的底部内壁上转动安装有丝杆(13)的一端,丝杆(13)的另一侧延伸至安装框(4)的外侧并固定安装有旋钮(14),第一孔(9)的另一侧内壁上开设有第二槽(15),安装框(4)的两侧内壁上均开设有两个对称设置的第三槽(16),第三槽(16)内滑动安装有梯形座(17),第一限位座(10)的一侧固定安装有移动板(18),位于同一侧竖直轴线上的两个移动板(18)相互靠近的一侧固定安装有同一个推杆(19),且推杆(19)延伸至对应的第三槽(16)内并与梯形座(17)相适配。
2.根据权利要求1所述的一种太阳能电池板安装结构,其特征在于,位移同一竖直轴线上的两个第三槽(16)相互靠近的一侧内壁上均开设有滑动槽(20),滑动槽(20)内滑动安装有滑动板(21),滑动板(21)固定安装在对应的梯形座(17)上。
3.根据权利要求2所述的一种太阳能电池板安装结构,其特征在于,所述滑动槽(20)的一侧内壁上固定安装有复位弹簧(22)的一端,复位弹簧(22)的另一端固定安装在滑动板(21)上。
4.根据权利要求1所述的一种太阳能电池板安装结构,其特征在于,所述第一槽(11)的两侧内壁上均开设有限位槽,移动座(12)的两侧内壁上均固定安装有限位杆,且限位杆与对应的限位槽滑动连接。
5.根据权利要求1所述的一种太阳能电池板安装结构,其特征在于,所述第三槽(16)的两侧内壁上均开设有连接槽,梯形座(17)的两侧均固定安装有连接座,且连接座与对应的连接槽滑动连接。
6.根据权利要求1所述的一种太阳能电池板安装结构,其特征在于,位于同一侧的固定槽(6)的数量为六到十个,且六到十个固定槽(6)呈环形等间距设置。
Priority Applications (1)
| Application Number | Priority Date | Filing Date | Title |
|---|---|---|---|
| CN202021012643.5U CN212086136U (zh) | 2020-06-05 | 2020-06-05 | 一种太阳能电池板安装结构 |
Applications Claiming Priority (1)
| Application Number | Priority Date | Filing Date | Title |
|---|---|---|---|
| CN202021012643.5U CN212086136U (zh) | 2020-06-05 | 2020-06-05 | 一种太阳能电池板安装结构 |
Publications (1)
| Publication Number | Publication Date |
|---|---|
| CN212086136U true CN212086136U (zh) | 2020-12-04 |
Family
ID=73558544
Family Applications (1)
| Application Number | Title | Priority Date | Filing Date |
|---|---|---|---|
| CN202021012643.5U Active CN212086136U (zh) | 2020-06-05 | 2020-06-05 | 一种太阳能电池板安装结构 |
Country Status (1)
| Country | Link |
|---|---|
| CN (1) | CN212086136U (zh) |
Cited By (1)
| Publication number | Priority date | Publication date | Assignee | Title |
|---|---|---|---|---|
| CN112878429A (zh) * | 2021-01-20 | 2021-06-01 | 河北洪春专用车制造有限公司 | 一种吸附式低湿空气取水装置 |
-
2020
- 2020-06-05 CN CN202021012643.5U patent/CN212086136U/zh active Active
Cited By (1)
| Publication number | Priority date | Publication date | Assignee | Title |
|---|---|---|---|---|
| CN112878429A (zh) * | 2021-01-20 | 2021-06-01 | 河北洪春专用车制造有限公司 | 一种吸附式低湿空气取水装置 |
Similar Documents
| Publication | Publication Date | Title |
|---|---|---|
| CN212086136U (zh) | 一种太阳能电池板安装结构 | |
| CN209913744U (zh) | 一种可调的复合式独立光伏发电系统 | |
| CN222147500U (zh) | 一种新能源场站设备抗风保护装置 | |
| CN221597770U (zh) | 一种多功能光伏组件安装支架 | |
| CN216959751U (zh) | 一种便于调整角度的光伏支架 | |
| CN118842411A (zh) | 一种带有清洁机构的光伏安装架及其太阳能光伏组件 | |
| CN208015678U (zh) | 一种防冰雪太阳能电池板 | |
| CN209250545U (zh) | 太阳能光伏板支架 | |
| CN209627292U (zh) | 一种方便进行调节且能稳定夹持的太阳能电池板安装架 | |
| CN211503285U (zh) | 一种便于调整的便捷式太阳能板安装用支架 | |
| CN108233838A (zh) | 一种便于拆卸的光伏太阳能发电装置 | |
| CN212343696U (zh) | 一种适用于多种地形的太阳能光伏板 | |
| CN111578205B (zh) | 一种智能控制风光互补太阳能路灯 | |
| CN210050713U (zh) | 一种使用效果好的太阳能路灯 | |
| CN218103013U (zh) | 一种用于光伏板的调节装置 | |
| CN220139463U (zh) | 一种可调节的光伏发电组件 | |
| CN211860033U (zh) | 一种太阳能电池板用可调节支架 | |
| CN221305819U (zh) | 一种光伏发电用安装底座 | |
| CN221842495U (zh) | 一种新能源光伏板架设装置 | |
| CN218648770U (zh) | 一种太阳能发电追日跟踪装置 | |
| CN206743159U (zh) | 一种光电太阳能电池板安装架 | |
| CN221177633U (zh) | 一种太阳能光伏组件的连接结构 | |
| CN219960428U (zh) | 可调式风光互补发电装置 | |
| CN205407665U (zh) | 一种光伏智能微网分布式发电系统 | |
| CN220254442U (zh) | 一种光伏发电车 |
Legal Events
| Date | Code | Title | Description |
|---|---|---|---|
| GR01 | Patent grant | ||
| GR01 | Patent grant | ||
| EE01 | Entry into force of recordation of patent licensing contract |
Assignee: Jiangsu Jinyang New Energy Testing Technology Co.,Ltd. Assignor: Jiangsu yueyangguangfu Technology Co.,Ltd. Contract record no.: X2024980024739 Denomination of utility model: A solar panel installation structure Granted publication date: 20201204 License type: Common License Record date: 20241114 |
|
| EE01 | Entry into force of recordation of patent licensing contract |