CN212044238U - A new dust collector for grinding wheel - Google Patents
A new dust collector for grinding wheel Download PDFInfo
- Publication number
- CN212044238U CN212044238U CN202020806259.6U CN202020806259U CN212044238U CN 212044238 U CN212044238 U CN 212044238U CN 202020806259 U CN202020806259 U CN 202020806259U CN 212044238 U CN212044238 U CN 212044238U
- Authority
- CN
- China
- Prior art keywords
- fixedly connected
- grinding wheel
- dust
- dust collection
- base
- Prior art date
- Legal status (The legal status is an assumption and is not a legal conclusion. Google has not performed a legal analysis and makes no representation as to the accuracy of the status listed.)
- Expired - Fee Related
Links
Images
Landscapes
- Grinding-Machine Dressing And Accessory Apparatuses (AREA)
- Finish Polishing, Edge Sharpening, And Grinding By Specific Grinding Devices (AREA)
Abstract
本实用新型涉及吸尘装置技术领域,且公开了一种新型砂轮的吸尘装置,解决了目前生产中出现过多的粉尘,严重影响工作人员的身体健康,并且不能对砂轮机进行减震,大大降低了砂轮机使用寿命的问题,其包括底座,所述底座的顶部固定连接有砂轮机本体,砂轮机本体的两端均固定连接有砂轮盘,砂轮盘的表面套设有防护罩,防护罩的下端连接有软管,底座的底部固定连接有缓冲机构;本实用新型,能够对加工中的产品进行吸尘处理,不会将大部分的粉尘流散至空气中,减少工作人员在工作中吸入的粉尘,有效的保障的工作人员的身体健康,并且砂轮机本体在工作中能够得到缓冲的作用,从而大大提高了砂轮机的使用寿命。
The utility model relates to the technical field of dust-absorbing devices, and discloses a new dust-absorbing device for grinding wheels, which solves the problem that excessive dust occurs in current production, which seriously affects the health of workers, and cannot dampen the grinding wheel machine. The problem of the service life of the grinder is greatly reduced, and it includes a base, the top of the base is fixedly connected with a grinder body, both ends of the grinder body are fixedly connected with a grinding wheel, and the surface of the grinding wheel is covered with a protective cover to protect The lower end of the cover is connected with a hose, and the bottom of the base is fixedly connected with a buffer mechanism; the utility model can perform dust-absorbing treatment on the products being processed, and will not disperse most of the dust into the air, thereby reducing the number of workers in work. The inhaled dust can effectively protect the health of the staff, and the grinder body can be buffered during work, thereby greatly improving the service life of the grinder.
Description
技术领域technical field
本实用新型属于吸尘装置技术领域,具体为一种新型砂轮的吸尘装置。The utility model belongs to the technical field of dust collection devices, in particular to a novel dust collection device for grinding wheels.
背景技术Background technique
砂轮又称固结磨具,是由结合剂将普通磨料固结成一定形状(多数为圆形,中央有通孔),并具有一定强度的固结磨具,其一般由磨料、结合剂和气孔构成,这三部分常称为固结磨具的三要素,按照结合剂的不同分类,常见的有陶瓷(结合剂)砂轮、树脂(结合剂)砂轮、橡胶(结合剂)砂轮,砂轮是磨具中用量最大、使用面最广的一种,使用时高速旋转,可对金属或非金属工件的外圆、内圆、平面和各种型面等进行粗磨、半精磨和精磨以及开槽和切断等,砂轮的特性主要是由磨料、粒度、结合剂、硬度、组织、形状和尺寸等因素决定。Grinding wheel, also known as bonded abrasive, is a bonded abrasive with a certain strength, which is generally composed of abrasive, bonding agent and The composition of pores, these three parts are often referred to as the three elements of bonded abrasives. According to the different classifications of binders, the common ones are ceramic (bond) grinding wheels, resin (bond) grinding wheels, and rubber (bond) grinding wheels. The grinding wheel is One of the most used abrasive tools and the most widely used one. It rotates at high speed during use, and can perform rough grinding, semi-finishing and fine grinding on the outer circle, inner circle, plane and various profiles of metal or non-metal workpieces. As well as grooving and cutting, the characteristics of the grinding wheel are mainly determined by factors such as abrasive, particle size, binder, hardness, structure, shape and size.
现有的砂轮在使用过程中不能对生产的产品进行吸尘,导致生产中出现过多的粉尘,使得工作人员在工作中吸入过多的粉尘,从而严重影响工作人员的身体健康,并且不能对砂轮机进行减震,使得砂轮机在工作长时间出现抖动的现象,大大降低了砂轮机的使用寿命,从而提高了成本,使用效果不好。The existing grinding wheel cannot vacuum the produced products during use, resulting in excessive dust in production, which makes the staff inhale too much dust during work, which seriously affects the health of the staff, and cannot be used for cleaning. The vibration reduction of the grinder makes the grinder vibrate for a long time, which greatly reduces the service life of the grinder, thereby increasing the cost and the use effect is not good.
发明内容SUMMARY OF THE INVENTION
针对上述情况,为克服现有技术的缺陷,本实用新型提供一种新型砂轮的吸尘装置,有效的解决了目前生产中出现过多的粉尘,严重影响工作人员的身体健康,并且不能对砂轮机进行减震,大大降低了砂轮机使用寿命的问题。In view of the above situation, in order to overcome the defects of the prior art, the present utility model provides a new dust suction device for grinding wheels, which effectively solves the problem of excessive dust in the current production, which seriously affects the health of the staff, and cannot clean the grinding wheel. The machine is used for shock absorption, which greatly reduces the service life of the grinder.
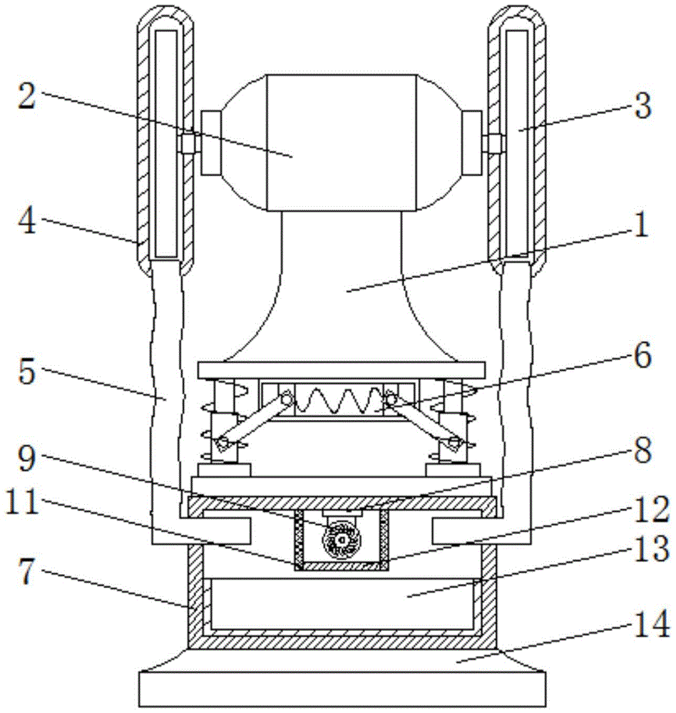
为实现上述目的,本实用新型提供如下技术方案:一种新型砂轮的吸尘装置,包括底座,所述底座的顶部固定连接有砂轮机本体,砂轮机本体的两端均固定连接有砂轮盘,砂轮盘的表面套设有防护罩,防护罩的下端连接有软管,底座的底部固定连接有缓冲机构,缓冲机构包括底板、弹簧伸缩杆、顶板、稳定框、滑动块、伸缩弹簧和转杆,底板顶部的两侧均固定连接有弹簧伸缩杆,弹簧伸缩杆的顶端固定连接有顶板,顶板的底部固定连接有稳定框,稳定框的内壁滑动连接有滑动块,滑动块的一侧固定连接有伸缩弹簧,滑动块的表面转动连接有转杆,底板的底部固定连接有吸尘箱,吸尘箱两端分别与软管连通,吸尘箱内壁的顶部固定连接有连接块,连接块的底部固定连接有抽风机,吸尘箱内壁的顶部固定连接有过滤板,过滤板的底部固定连接有挡板,吸尘箱内壁的底部固定连接收集箱,吸尘箱的底部固定连接有支撑座。In order to achieve the above purpose, the present utility model provides the following technical solutions: a novel dust suction device for grinding wheels, comprising a base, the top of the base is fixedly connected with a grinding wheel body, and both ends of the grinding wheel body are fixedly connected with grinding wheel discs, The surface of the grinding wheel is covered with a protective cover, the lower end of the protective cover is connected with a hose, and the bottom of the base is fixedly connected with a buffer mechanism, which includes a bottom plate, a spring telescopic rod, a top plate, a stable frame, a sliding block, a telescopic spring and a rotating rod , both sides of the top of the bottom plate are fixedly connected with spring telescopic rods, the top of the spring telescopic rods are fixedly connected with the top plate, the bottom of the top plate is fixedly connected with a stability frame, the inner wall of the stability frame is slidably connected with a sliding block, and one side of the sliding block is fixedly connected There is a telescopic spring, the surface of the sliding block is rotatably connected with a rotating rod, the bottom of the bottom plate is fixedly connected with a vacuum box, the two ends of the vacuum box are respectively connected with the hose, and the top of the inner wall of the vacuum box is fixedly connected with a connecting block. The bottom is fixedly connected with an exhaust fan, the top of the inner wall of the vacuum box is fixedly connected with a filter plate, the bottom of the filter plate is fixedly connected with a baffle, the bottom of the inner wall of the vacuum box is fixedly connected to the collection box, and the bottom of the vacuum box is fixedly connected with a support seat .
优选的,所述转杆的表面与弹簧伸缩杆的表面转动连接。Preferably, the surface of the rotating rod is rotatably connected with the surface of the spring telescopic rod.
优选的,所述弹簧伸缩杆的数量为两组,滑动块的数量为两组,转杆的数量为两组。Preferably, the number of the spring telescopic rods is two groups, the number of the sliding blocks is two groups, and the number of the rotating rods is two groups.
优选的,所述软管的数量为两组,过滤板的数量为两组。Preferably, the number of the hoses is two groups, and the number of the filter plates is two groups.
优选的,所述砂轮盘与防护罩相适配。Preferably, the grinding wheel disc is adapted to the protective cover.
优选的,所述吸尘箱的前侧嵌设有透明玻璃,所述吸尘箱的前侧且位于透明玻璃的下端连接有拉柄。Preferably, transparent glass is embedded in the front side of the vacuum cleaner box, and a handle is connected to the front side of the vacuum cleaner box and located at the lower end of the transparent glass.
与现有技术相比,本实用新型的有益效果是:Compared with the prior art, the beneficial effects of the present utility model are:
1、在工作中,通过设置的防护罩、软管和抽风机,启动抽风机,形成吸力,通过软管对防护罩内部的灰尘进行吸收,当砂轮机本体工作时,能够对加工中的产品进行吸尘处理,不会将大部分的粉尘流散至空气中,减少工作人员在工作中吸入的粉尘,有效的保障的工作人员的身体健康,适合推广使用;1. During work, through the set protective cover, hose and exhaust fan, start the exhaust fan to form suction, and absorb the dust inside the protective cover through the hose. Vacuuming will not disperse most of the dust into the air, reducing the dust inhaled by the staff during work, effectively protecting the health of the staff, and suitable for popular use;
2、在工作中,通过设置的弹簧伸缩杆、转杆、滑动块和伸缩弹簧,当顶板移动带动弹簧伸缩杆移动,弹簧伸缩杆移动带动转杆转动,转杆转动带动滑动块移动,滑动块移动带动伸缩弹簧移动,使得砂轮机本体在工作中能够得到缓冲的作用,从而大大提高了砂轮机的使用寿命,节约了成本,使用效果好。2. During work, through the set spring telescopic rod, rotating rod, sliding block and telescopic spring, when the top plate moves, the spring telescopic rod moves, the spring telescopic rod moves and the rotating rod rotates, and the rotation of the rotating rod drives the sliding block to move, and the sliding block moves. The movement drives the telescopic spring to move, so that the grinder body can obtain the buffering effect during operation, thereby greatly improving the service life of the grinder, saving the cost, and having a good use effect.
附图说明Description of drawings
附图用来提供对本实用新型的进一步理解,并且构成说明书的一部分,与本实用新型的实施例一起用于解释本实用新型,并不构成对本实用新型的限制。在附图中:The accompanying drawings are used to provide a further understanding of the present invention, and constitute a part of the specification, and are used to explain the present invention together with the embodiments of the present invention, and do not constitute a limitation to the present invention. In the attached image:
图1为本实用新型的结构示意图;Fig. 1 is the structural representation of the utility model;
图2为本实用新型的正视图;Fig. 2 is the front view of the utility model;
图3为本实用新型缓冲机构的结构示意图;Fig. 3 is the structural representation of the buffer mechanism of the utility model;
图中:1、底座;2、砂轮机本体;3、砂轮盘;4、防护罩;5、软管;6、缓冲机构;61、底板;62、弹簧伸缩杆;63、顶板;64、稳定框;65、滑动块;66、伸缩弹簧;67、转杆;7、吸尘箱;8、连接块;9、抽风机;10、拉柄;11、过滤板;12、挡板;13、收集箱;14、支撑座;15、透明玻璃。In the figure: 1. Base; 2. Grinder body; 3. Grinding disc; 4. Protective cover; 5. Hose; 6. Buffer mechanism; 61. Bottom plate; 62. Spring telescopic rod; 63. Top plate; frame; 65, sliding block; 66, telescopic spring; 67, rotating rod; 7, vacuum box; 8, connecting block; 9, exhaust fan; 10, handle; 11, filter plate; 12, baffle plate; 13, Collection box; 14. Support seat; 15. Transparent glass.
具体实施方式Detailed ways
下面将结合本实用新型实施例中的附图,对本实用新型实施例中的技术方案进行清楚、完整地描述,显然,所描述的实施例仅仅是本实用新型一部分实施例,而不是全部的实施例;基于本实用新型中的实施例,本领域普通技术人员在没有做出创造性劳动前提下所获得的所有其他实施例,都属于本实用新型保护的范围。The technical solutions in the embodiments of the present utility model will be clearly and completely described below with reference to the accompanying drawings in the embodiments of the present utility model. Obviously, the described embodiments are only a part of the embodiments of the present utility model, rather than all the implementations. For example; based on the embodiments of the present invention, all other embodiments obtained by persons of ordinary skill in the art without creative work shall fall within the protection scope of the present invention.
实施例一,由图1、图2和图3给出,本实用新型包括底座1,底座1的顶部固定连接有砂轮机本体2,砂轮机本体2的两端均固定连接有砂轮盘3,砂轮盘3的表面套设有防护罩4,便于对工作中的粉尘进行防护,防止粉尘四处飘洒,防护罩4与砂轮机本体2转动连接,防护罩4的下端连接有软管5,底座1的底部固定连接有缓冲机构6,缓冲机构6包括底板61、弹簧伸缩杆62、顶板63、稳定框64、滑动块65、伸缩弹簧66和转杆67,底板61顶部的两侧均固定连接有弹簧伸缩杆62,弹簧伸缩杆62的顶端固定连接有顶板63,顶板63的底部固定连接有稳定框64,稳定框64的内壁滑动连接有滑动块65,滑动块65的一侧固定连接有伸缩弹簧66,滑动块65的表面转动连接有转杆67,便于对工作中的砂轮机本体2进行减震,提高了砂轮机本体2的使用寿命,底板61的底部固定连接有吸尘箱7,吸尘箱7两端分别与软管5连通,吸尘箱7内壁的顶部固定连接有连接块8,连接块8的底部固定连接有抽风机9,吸尘箱7内壁的顶部固定连接有过滤板11,过滤板11的底部固定连接有挡板12,当抽风机9工作时,防止灰尘向上散发,吸尘箱7内壁的底部固定连接收集箱13,吸尘箱7的底部固定连接有支撑座14,便于该设备进行固定,提高了该设备的稳定性。
实施例二,在实施例一的基础上,转杆67的表面与弹簧伸缩杆62的表面转动连接,便于达到减震的效果。In the second embodiment, on the basis of the first embodiment, the surface of the rotating
实施例三,在实施例一的基础上,弹簧伸缩杆62的数量为两组,滑动块65的数量为两组,转杆67的数量为两组,便于该设备运行产生的震动进行缓冲。
实施例四,在实施例一的基础上,软管5的数量为两组,过滤板11的数量为两组,方便对两组砂轮盘3进行吸尘处理,并且便于对吸入的粉尘进行过滤。In the fourth embodiment, on the basis of the first embodiment, the number of the
实施例五,在实施例一的基础上,砂轮盘3与防护罩4相适配,防止加工中产生的粉尘四处飘散。In the fifth embodiment, on the basis of the first embodiment, the
实施例六,在实施例一的基础上,吸尘箱7的前侧嵌设有透明玻璃15,吸尘箱7的前侧且位于透明玻璃15的下端连接有拉柄10,便于对吸尘箱7内部的设备进行检查以及为维修,并且方便对收集的灰尘进行清理。
工作原理:工作时,首先启动砂轮机本体2,带动砂轮盘3转动,通过工作人员将加工的产品放置于砂轮盘3进行工作,再启动抽风机9,产生的吸力通过软管5对防护罩4内部的灰尘进行吸收,加工结束时,关闭抽风机9,灰尘掉落至收集箱13,通过拉柄10将收集箱13取出进行清理即可,当砂轮机本体2工作带动底座1抖动,底座1抖动带动顶板63移动,顶板63移动带动弹簧伸缩杆62移动,弹簧伸缩杆62移动带动转杆67转动,转杆67转动带动滑动块65移动,滑动块65移动带动伸缩弹簧66移动,从而达到了缓冲的作用,提高了砂轮机本体2的使用寿命。Working principle: When working, firstly start the
需要说明的是,在本文中,诸如第一和第二等之类的关系术语仅仅用来将一个实体或者操作与另一个实体或操作区分开来,而不一定要求或者暗示这些实体或操作之间存在任何这种实际的关系或者顺序。而且,术语“包括”、“包含”或者其任何其他变体意在涵盖非排他性的包含,从而使得包括一系列要素的过程、方法、物品或者设备不仅包括那些要素,而且还包括没有明确列出的其他要素,或者是还包括为这种过程、方法、物品或者设备所固有的要素。It should be noted that, in this document, relational terms such as first and second are only used to distinguish one entity or operation from another entity or operation, and do not necessarily require or imply any relationship between these entities or operations. any such actual relationship or sequence exists. Moreover, the terms "comprising", "comprising" or any other variation thereof are intended to encompass a non-exclusive inclusion such that a process, method, article or device that includes a list of elements includes not only those elements, but also includes not explicitly listed or other elements inherent to such a process, method, article or apparatus.
尽管已经示出和描述了本实用新型的实施例,对于本领域的普通技术人员而言,可以理解在不脱离本实用新型的原理和精神的情况下可以对这些实施例进行多种变化、修改、替换和变型,本实用新型的范围由所附权利要求及其等同物限定。Although the embodiments of the present invention have been shown and described, it will be understood by those skilled in the art that various changes and modifications can be made to these embodiments without departing from the principles and spirit of the present invention , alternatives and modifications, the scope of the present invention is defined by the appended claims and their equivalents.
Claims (6)
Priority Applications (1)
| Application Number | Priority Date | Filing Date | Title |
|---|---|---|---|
| CN202020806259.6U CN212044238U (en) | 2020-05-15 | 2020-05-15 | A new dust collector for grinding wheel |
Applications Claiming Priority (1)
| Application Number | Priority Date | Filing Date | Title |
|---|---|---|---|
| CN202020806259.6U CN212044238U (en) | 2020-05-15 | 2020-05-15 | A new dust collector for grinding wheel |
Publications (1)
| Publication Number | Publication Date |
|---|---|
| CN212044238U true CN212044238U (en) | 2020-12-01 |
Family
ID=73519602
Family Applications (1)
| Application Number | Title | Priority Date | Filing Date |
|---|---|---|---|
| CN202020806259.6U Expired - Fee Related CN212044238U (en) | 2020-05-15 | 2020-05-15 | A new dust collector for grinding wheel |
Country Status (1)
| Country | Link |
|---|---|
| CN (1) | CN212044238U (en) |
Cited By (2)
| Publication number | Priority date | Publication date | Assignee | Title |
|---|---|---|---|---|
| CN112503750A (en) * | 2020-12-03 | 2021-03-16 | 苏州市朗吉科技有限公司 | Auxiliary heat dissipation device for precise air conditioner of machine room |
| CN114346857A (en) * | 2021-12-12 | 2022-04-15 | 盐城市坚锋电动工具有限公司 | A floor-standing dust-proof double-head grinder |
-
2020
- 2020-05-15 CN CN202020806259.6U patent/CN212044238U/en not_active Expired - Fee Related
Cited By (2)
| Publication number | Priority date | Publication date | Assignee | Title |
|---|---|---|---|---|
| CN112503750A (en) * | 2020-12-03 | 2021-03-16 | 苏州市朗吉科技有限公司 | Auxiliary heat dissipation device for precise air conditioner of machine room |
| CN114346857A (en) * | 2021-12-12 | 2022-04-15 | 盐城市坚锋电动工具有限公司 | A floor-standing dust-proof double-head grinder |
Similar Documents
| Publication | Publication Date | Title |
|---|---|---|
| CN108326745A (en) | A kind of sander with dedusting function | |
| CN209548938U (en) | Air purification device for grinding machine | |
| CN212044238U (en) | A new dust collector for grinding wheel | |
| CN209598899U (en) | A kind of timber processing straight line belt edge sander | |
| CN209125507U (en) | A kind of display screen glass corner grinding device | |
| CN210878893U (en) | Grinding equipment for drill bit production | |
| CN219380085U (en) | Dust collection device for wall polishing | |
| CN207548465U (en) | A kind of polishing machine for bamboo and wood products | |
| CN210499620U (en) | Environment-friendly numerically control grinder | |
| CN215999807U (en) | Press down effectual wall for building engineering and grind flat device | |
| CN211305771U (en) | A wall grinding machine for building construction | |
| CN209954385U (en) | An abrasive tool that is easy to clean | |
| CN109590866A (en) | A kind of polishing machine of dust removal | |
| CN212553372U (en) | A grinding device for high-end equipment manufacturing production | |
| CN216325623U (en) | Profiling gear grinding machine | |
| CN220575523U (en) | A portable aluminum alloy surface grinder | |
| CN221735758U (en) | Plane polishing grinding device | |
| CN208697029U (en) | A kind of multi-functional wall surface grinding machine | |
| CN220007239U (en) | Dust keeper for burnishing machine | |
| CN214923239U (en) | A dust-proof grinder | |
| CN220533841U (en) | Grinding machine with dust recycling function | |
| CN215147770U (en) | Grinding device is used in production of right mirror pole convenient to angle regulation | |
| CN210209807U (en) | Electromechanical accessory polisher | |
| CN218312664U (en) | Surface grinding device for bamboo and wood furniture | |
| CN217890434U (en) | Hand-held type grinding device for architectural decoration with function is collected to dust |
Legal Events
| Date | Code | Title | Description |
|---|---|---|---|
| GR01 | Patent grant | ||
| GR01 | Patent grant | ||
| CF01 | Termination of patent right due to non-payment of annual fee |
Granted publication date: 20201201 Termination date: 20210515 |
|
| CF01 | Termination of patent right due to non-payment of annual fee |
