CN212040635U - 一种新型振动筛 - Google Patents

一种新型振动筛 Download PDF

Info

Publication number
CN212040635U
CN212040635U CN202020338838.2U CN202020338838U CN212040635U CN 212040635 U CN212040635 U CN 212040635U CN 202020338838 U CN202020338838 U CN 202020338838U CN 212040635 U CN212040635 U CN 212040635U
Authority
CN
China
Prior art keywords
screen
fixedly connected
hopper
screen box
box
Prior art date
Legal status (The legal status is an assumption and is not a legal conclusion. Google has not performed a legal analysis and makes no representation as to the accuracy of the status listed.)
Active
Application number
CN202020338838.2U
Other languages
English (en)
Inventor
应爽
闫震
Current Assignee (The listed assignees may be inaccurate. Google has not performed a legal analysis and makes no representation or warranty as to the accuracy of the list.)
Henan Huaxing Intelligent Heavy Industry Co ltd
Original Assignee
Henan Huaxing Intelligent Heavy Industry Co ltd
Priority date (The priority date is an assumption and is not a legal conclusion. Google has not performed a legal analysis and makes no representation as to the accuracy of the date listed.)
Filing date
Publication date
Application filed by Henan Huaxing Intelligent Heavy Industry Co ltd filed Critical Henan Huaxing Intelligent Heavy Industry Co ltd
Priority to CN202020338838.2U priority Critical patent/CN212040635U/zh
Application granted granted Critical
Publication of CN212040635U publication Critical patent/CN212040635U/zh
Active legal-status Critical Current
Anticipated expiration legal-status Critical

Links

Images

Landscapes

  • Disintegrating Or Milling (AREA)
  • Combined Means For Separation Of Solids (AREA)

Abstract

本实用新型公开了一种新型振动筛,包括筛箱和底座,底座位于筛箱的下方,底座顶部固定连接有支撑柱,支撑柱上套设有减震弹簧,筛箱的底部固定连接在支撑柱上,筛箱的顶端开设有进料斗,进料斗内安装有破碎装置;筛箱的内部从上到下可拆卸地安装有互相平行的上筛网和下筛网,筛箱的底端固定连接有出料斗;该振动筛还包括振动电机,振动电机固定安装在安装座上,振动电机传动连接有转轴,转轴的两端通过轴承座转动连接在筛箱的侧壁上,位于筛箱内部的转轴的两端均固定连接有对称设置的偏心轮。通过设置破碎装置对矿石进行进一步的破碎,保证了振动筛中矿石的粒径更加均一,减少了后续操作步骤。

Description

一种新型振动筛
技术领域
本实用新型涉及矿石生产技术领域,特别是涉及一种新型振动筛。
背景技术
矿石中含有有用矿物和无用矿物,有用矿物是指能够被利用的金属或非金属矿物,无用矿物是指那些暂不能利用的矿物。有用矿物与无用矿物相伴相生,在很多矿石中无用矿物的份量往往远超过有用矿物的份量,因此,在矿石冶炼前需要经过破碎、筛选以弃去大部分的无用矿物。现有的破碎机破碎效果不佳,往往夹杂有一些未被破碎的大颗粒石块,这些大颗粒的石块进入振动筛中会造成振动筛的拥堵,影响振动筛的正常工作。此外,振动筛会产生大量粉尘,污染环境、对工人的身体造成损害。
发明内容
本实用新型提供了一种新型振动筛,以解决目前振动筛拥堵、粉尘污染的问题。
为了解决上述技术问题,本发明所采用的技术方案是:一种新型振动筛,包括筛箱和底座,底座位于筛箱的下方,底座顶部固定连接有支撑柱,支撑柱上套设有减震弹簧,筛箱的底部固定连接在支撑柱上,筛箱的顶端开设有进料斗,进料斗内安装有破碎装置;筛箱的内部从上到下可拆卸地安装有互相平行的上筛网和下筛网,上筛网端部的筛箱侧壁上开设有上出料口,上出料口远离筛箱的一侧固定连接有上出料板,下筛网端部的筛箱侧壁上开设有下出料口,下出料口远离筛箱的一侧固定连接有下出料板,上出料板与下出料板均位于筛箱外部远离进料斗的一端,筛箱的底端固定连接有出料斗;该振动筛还包括振动电机和安装座,安装座固定在水平面上,振动电机固定连接在安装座上,振动电机传动连接有转轴,转轴的两端通过轴承座转动连接在筛箱的侧壁上,位于筛箱内部的转轴的两端均固定连接有对称设置的偏心轮。
优选地,破碎装置包括固定连接在筛箱顶部的破碎电机,破碎电机的输出轴传动连接有破碎辊,破碎辊上固定连接有均匀设置的破碎棒,破碎辊的两端转动连接在进料斗的侧壁上。
优选地,筛箱的顶端固定连接有缓冲装置,缓冲装置包括正反转电机,正反转电机的输出轴传动连接有齿轮,齿轮下方的筛箱上开设有孔,孔内滑动连接有齿条,齿条与齿轮相啮合,齿条的底部固定连接有水平设置的盖板,盖板延伸至进料斗下方。
优选地,筛箱的侧壁上固定连接有清洗装置,清洗装置包括高压水泵、自动储水的给水箱和喷管,高压水泵的进水端通过连接管与给水箱相连通,高压水泵的出水端通过供水管与喷管相连通,喷管固定连接在筛箱的内壁上,喷管上靠近进料斗的一侧间隔开设有喷头。
优选地,上筛网与下筛网均倾斜向下设置。
优选地,出料斗呈漏斗型,出料斗下方安装有上端敞口设置的接料斗,接料斗两侧固定连接有支架,支架安装在水平面上,接料斗的底部固定连接有滤水网,接料斗下方安装有用于盛装滤水网流出废水的储水盒。
优选地,盖板顶部开设有滑道,滑道内滑动连接有清理柱,清理柱的顶部固定连接在筛箱内的顶部上。
优选地,振动电机的输出轴键连接有主动轮,转轴延伸至筛箱外部且其端部键连接有从动轮,主动轮与从动轮上张紧有同步带。
优选地,位于喷管上端的喷头倾斜向上设置,位于喷管下端的喷头倾斜向下设置,位于喷管中部的喷头水平设置。
本实用新型所具有的有益效果为:本实用新型通过设置破碎装置对矿石进行进一步的破碎,保证了振动筛中矿石的粒径更加均一,减少了后续操作步骤;通过设置缓冲装置对进料斗进行间歇的开启和关闭,实现矿石的间歇进料,减缓了振动筛的堵塞。通过设置清洗装置对矿石表面的尘土进行清洗,减少了振动过程中尘土的飞扬,从而减少了振动筛对环境以及操作人员身体的损害。
附图说明
图1为本实用新型的结构示意图;
图2为本实用新型的振动电机与转轴的连接结构示意图。
具体实施方式
下面结合附图对本实用新型做进一步描述。
一种新型振动筛,如图1所示,包括筛箱1和底座2,底座2位于筛箱1的下方,底座2顶部固定连接有支撑柱3,支撑柱3上套设有减震弹簧4,筛箱1的底部固定连接在支撑柱3上,筛箱1的顶端开设有进料斗9,筛箱1的内部从上到下可拆卸地安装有互相平行的上筛网5和下筛网6,上筛网5与下筛网6均从右到左倾斜向下设置(参照图1)。上筛网5端部的筛箱1侧壁上开设有上出料口,上出料口远离筛箱1的一侧固定连接有上出料板7,下筛网6端部的筛箱1侧壁上开设有下出料口,下出料口远离筛箱1的一侧固定连接有下出料板8。上出料板7与下出料板8均位于筛箱1外部远离进料斗9的一侧。上筛网5的筛孔大于下筛网6的筛孔,矿石依次经过上筛网5、下筛网6后得到多次筛分,从而对矿石的粒径进行了筛分。
如图1所示,进料斗9内安装有破碎装置。破碎装置包括固定连接在筛箱1顶部的破碎电机10,破碎电机10位于进料斗9外,破碎电机10的输出轴传动连接有破碎辊11,破碎辊11上固定连接有均匀设置的破碎棒12,破碎棒12余破碎辊11垂直设置,破碎辊11的两端转动连接在进料斗9的侧壁上。由于破碎机破碎效果不理想,因此进入进料斗9中的矿石可能含有颗粒较大的矿石,这些矿石不但容易堵塞振动筛,还给后续工作带来了麻烦,通过设置破碎装置对大颗粒矿石进行了进一步破碎,使进入振动筛中的矿石粒径更加均匀一致。
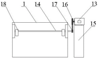
如图1和图2所示,该振动筛还包括振动电机13和转轴14,振动电机13固定连接在安装座15上,安装座15固定连接在水平面上,振动电机13的输出轴键连接有主动轮16,转轴14延伸至筛箱1外部且其端部键连接有从动轮17,从动轮17位于筛箱1与安装座15之间的转轴14上,主动轮16与从动轮17上张紧有同步带,转轴14的两端通过轴承座转动连接在筛箱1的侧壁上,位于筛箱1内部的转轴14的两端均固定连接有对称设置的偏心轮18。振动电机13与转轴14传动连接,驱动转轴14转动,从而使得偏心轮18转动,带动振动筛振动。
如图1所示,筛箱1的顶端固定连接有缓冲装置,缓冲装置包括正反转电机(图中未画出),正反转电机的输出轴传动连接有齿轮19,齿轮19下方的筛箱1上开设有孔,孔内滑动连接有齿条20,齿条20与齿轮19相啮合,齿条20的底部固定连接有水平设置的盖板21,盖板21延伸至进料斗9下方。正反转电机驱动齿轮19正反向转动,齿轮19带动齿条20正反向转动,从而带动盖板21做水平方向的往复运动,实现盖板21对进料斗9的开启和关闭,进而实现振动筛的间歇进料,缓解了振动筛的堵塞。盖板21顶部开设有滑道,滑道内滑动连接有清理柱22,清理柱22的顶部固定连接在筛箱1内的顶部上。盖板21位于进料斗9下方时,矿石会落在盖板21上,而当盖板21远离进料斗9时,盖板21与清理柱22相对运动,矿石受清理柱22的阻挡,当清理柱22位于盖板21的端部时,位于盖板21上的矿石均掉落至振动筛中,这样的设置避免了矿石堆积在盖板21上造成振动筛的拥堵。
如图1所示,筛箱1的侧壁上固定连接有清洗装置,清洗装置包括高压水泵23、自动储水的给水箱24和喷管25,高压水泵23的进水端通过连接管与给水箱24相连通,高压水泵23的出水端通过供水管与喷管25相连通,喷管25固定连接在筛箱1的内壁上,喷管25上靠近进料斗9的一侧间隔开设有喷头26,位于喷管25上端的喷头26倾斜向上设置,位于喷管25下端的喷头26倾斜向下设置,位于喷管25中部的喷头26水平设置。清洗装置对进入振动筛中的矿石进行清洗,将矿石上的泥土冲洗掉,减少了筛分过程中尘土的飞扬,减轻了其对操作人员身体和环境的损害。
如图1所示,筛箱1的底端开设有出料口,出料口处固定连接有出料斗27,出料斗27与筛箱1相连通,出料斗27呈漏斗型,出料斗27下方安装有上端敞口设置的接料斗28,接料斗28两侧固定连接有支架29,支架29安装在水平面上,接料斗28的底部固定连接有滤水网30,滤水网30的孔径较小仅废水能通过,接料斗28下方安装有用于盛装滤水网30流出废水的储水盒31。下筛网6下的矿石和废水经出料斗27进入接料斗28内,接料斗28内的废水经滤水网30流入储水盒31中。
工作原理:振动电机13驱动转轴14转动,从而带动偏心轮18转动,实现振动筛的震动;矿石经进料斗9到达破碎装置,破碎装置对矿石进行进一步地粉碎,正反转电机带动盖板21进行水平方向的运动,使得进料斗9的大小进行调节并开启、关闭进料斗9,从而实现矿石的间歇进料;清洗装置对矿石表面的尘土进行清洗,经清洗后的矿石依次经过上筛网5、下筛网6的筛选,上筛网5上的矿石经上出料口、上出料板7流出振动筛,下筛网6上的矿石经下出料口、下出料板8流出振动筛;下筛网6下的矿石和废水经出料斗27流入接料斗28中,而废水经滤水网30进入储水盒31中。
上述实施例并非对本实用新型的形状、材料、结构等作任何形式上的限制,凡是依据本实用新型的技术实质对以上实施例所作的任何简单修改、等同变化与修饰,均属于本实用新型技术方案的保护范围。

Claims (9)

1.一种新型振动筛,包括筛箱和底座,其特征在于:底座位于筛箱的下方,底座顶部固定连接有支撑柱,支撑柱上套设有减震弹簧,筛箱的底部固定连接在支撑柱上,筛箱的顶端开设有进料斗,进料斗内安装有破碎装置;筛箱的内部从上到下可拆卸地安装有互相平行的上筛网和下筛网,上筛网端部的筛箱侧壁上开设有上出料口,上出料口远离筛箱的一侧固定连接有上出料板,下筛网端部的筛箱侧壁上开设有下出料口,下出料口远离筛箱的一侧固定连接有下出料板,上出料板与下出料板均位于筛箱外部远离进料斗的一端,筛箱的底端固定连接有出料斗;该振动筛还包括振动电机和安装座,安装座固定在水平面上,振动电机固定连接在安装座上,振动电机传动连接有转轴,转轴的两端通过轴承座转动连接在筛箱的侧壁上,位于筛箱内部的转轴的两端均固定连接有对称设置的偏心轮。
2.根据权利要求1所述的新型振动筛,其特征在于:破碎装置包括固定连接在筛箱顶部的破碎电机,破碎电机的输出轴传动连接有破碎辊,破碎辊上固定连接有均匀设置的破碎棒,破碎辊的两端转动连接在进料斗的侧壁上。
3.根据权利要求1所述的新型振动筛,其特征在于:筛箱的顶端固定连接有缓冲装置,缓冲装置包括正反转电机,正反转电机的输出轴传动连接有齿轮,齿轮下方的筛箱上开设有孔,孔内滑动连接有齿条,齿条与齿轮相啮合,齿条的底部固定连接有水平设置的盖板,盖板延伸至进料斗下方。
4.根据权利要求1所述的新型振动筛,其特征在于:筛箱的侧壁上固定连接有清洗装置,清洗装置包括高压水泵、自动储水的给水箱和喷管,高压水泵的进水端通过连接管与给水箱相连通,高压水泵的出水端通过供水管与喷管相连通,喷管固定连接在筛箱的内壁上,喷管上靠近进料斗的一侧间隔开设有喷头。
5.根据权利要求1所述的新型振动筛,其特征在于:上筛网与下筛网均倾斜向下设置。
6.根据权利要求1所述的新型振动筛,其特征在于:出料斗呈漏斗型,出料斗下方安装有上端敞口设置的接料斗,接料斗两侧固定连接有支架,支架安装在水平面上,接料斗的底部固定连接有滤水网,接料斗下方安装有用于盛装滤水网流出废水的储水盒。
7.根据权利要求3所述的新型振动筛,其特征在于:盖板顶部开设有滑道,滑道内滑动连接有清理柱,清理柱的顶部固定连接在筛箱内的顶部上。
8.根据权利要求3所述的新型振动筛,其特征在于:振动电机的输出轴键连接有主动轮,转轴延伸至筛箱外部且其端部键连接有从动轮,主动轮与从动轮上张紧有同步带。
9.根据权利要求4所述的新型振动筛,其特征在于:位于喷管上端的喷头倾斜向上设置,位于喷管下端的喷头倾斜向下设置,位于喷管中部的喷头水平设置。
CN202020338838.2U 2020-03-18 2020-03-18 一种新型振动筛 Active CN212040635U (zh)

Priority Applications (1)

Application Number Priority Date Filing Date Title
CN202020338838.2U CN212040635U (zh) 2020-03-18 2020-03-18 一种新型振动筛

Applications Claiming Priority (1)

Application Number Priority Date Filing Date Title
CN202020338838.2U CN212040635U (zh) 2020-03-18 2020-03-18 一种新型振动筛

Publications (1)

Publication Number Publication Date
CN212040635U true CN212040635U (zh) 2020-12-01

Family

ID=73529307

Family Applications (1)

Application Number Title Priority Date Filing Date
CN202020338838.2U Active CN212040635U (zh) 2020-03-18 2020-03-18 一种新型振动筛

Country Status (1)

Country Link
CN (1) CN212040635U (zh)

Cited By (3)

* Cited by examiner, † Cited by third party
Publication number Priority date Publication date Assignee Title
CN113477513A (zh) * 2021-07-26 2021-10-08 浙江省海洋水产养殖研究所 一种泥蚶震动筛分清洗机
CN114273210A (zh) * 2021-12-20 2022-04-05 徐州安高新型建材产业技术研究院有限公司 一种高尘砂石料的预处理装置及预处理方法
CN114438490A (zh) * 2022-01-25 2022-05-06 河北恒韧增材制造有限公司 一种激光熔覆制备功能辊道的工艺

Cited By (4)

* Cited by examiner, † Cited by third party
Publication number Priority date Publication date Assignee Title
CN113477513A (zh) * 2021-07-26 2021-10-08 浙江省海洋水产养殖研究所 一种泥蚶震动筛分清洗机
CN114273210A (zh) * 2021-12-20 2022-04-05 徐州安高新型建材产业技术研究院有限公司 一种高尘砂石料的预处理装置及预处理方法
CN114438490A (zh) * 2022-01-25 2022-05-06 河北恒韧增材制造有限公司 一种激光熔覆制备功能辊道的工艺
CN114438490B (zh) * 2022-01-25 2023-10-31 河北恒韧增材制造有限公司 一种激光熔覆制备功能辊道的工艺

Similar Documents

Publication Publication Date Title
CN212040635U (zh) 一种新型振动筛
CN114918125B (zh) 一种道路工程用筛分装置
CN212384036U (zh) 一种建筑垃圾筛分装置
CN213255050U (zh) 一种细微粒选矿摇床
CN111229377B (zh) 一种建筑施工用砂石筛分装置
CN211537891U (zh) 一种金矿开采用矿石破碎筛选一体装置
CN112246407A (zh) 一种能够生产不同粒度磨料的装置
CN112892652A (zh) 一种路桥施工用破碎筛分装置
CN218902617U (zh) 金矿开采用筛选装置
CN218490995U (zh) 一种环保型无尘投料站
CN217748006U (zh) 一种矿山采石破碎筛分除尘器
CN216500577U (zh) 一种工作效率高的砂石分筛机
CN216174021U (zh) 一种小麦种子比重分选设备
CN212468730U (zh) 一种土石方工程用减噪环保型筛沙机
CN213050793U (zh) 一种碳酸钙矿石筛分装置
CN212702959U (zh) 一种用于机制白砂生产的分级筛振进料装置
CN212093145U (zh) 一种再生混凝土原料筛选装置
CN221558974U (zh) 一种卧式筛选机
CN210023196U (zh) 一种筛土机防尘装置
CN218222631U (zh) 一种骨料渣筛分装置
CN214516027U (zh) 一种猪饲料高效筛选设备
CN220559762U (zh) 一种锂长石加工的震筛除渣机
CN113941392A (zh) 一种矿产开采用矿石粉碎筛分设备及筛分方法
CN212943316U (zh) 一种再生混凝土废料回收装置
CN222678195U (zh) 一种黏土锂矿高效破碎筛分装置

Legal Events

Date Code Title Description
GR01 Patent grant
GR01 Patent grant