CN212021191U - An easy-to-clean cement mixer - Google Patents
An easy-to-clean cement mixer Download PDFInfo
- Publication number
- CN212021191U CN212021191U CN202020167094.2U CN202020167094U CN212021191U CN 212021191 U CN212021191 U CN 212021191U CN 202020167094 U CN202020167094 U CN 202020167094U CN 212021191 U CN212021191 U CN 212021191U
- Authority
- CN
- China
- Prior art keywords
- fixedly connected
- cement mixer
- shaft
- water delivery
- plate
- Prior art date
- Legal status (The legal status is an assumption and is not a legal conclusion. Google has not performed a legal analysis and makes no representation as to the accuracy of the status listed.)
- Expired - Fee Related
Links
- 239000004568 cement Substances 0.000 title claims abstract description 35
- 230000003670 easy-to-clean Effects 0.000 title abstract description 6
- XLYOFNOQVPJJNP-UHFFFAOYSA-N water Substances O XLYOFNOQVPJJNP-UHFFFAOYSA-N 0.000 claims abstract description 60
- 238000004140 cleaning Methods 0.000 claims abstract description 36
- 238000003860 storage Methods 0.000 claims abstract description 19
- 238000007789 sealing Methods 0.000 claims abstract description 13
- 238000003756 stirring Methods 0.000 claims description 35
- 230000007704 transition Effects 0.000 claims description 3
- 230000005540 biological transmission Effects 0.000 claims 1
- 239000007921 spray Substances 0.000 claims 1
- 238000000034 method Methods 0.000 description 4
- 230000008878 coupling Effects 0.000 description 2
- 238000010168 coupling process Methods 0.000 description 2
- 238000005859 coupling reaction Methods 0.000 description 2
- 238000012986 modification Methods 0.000 description 2
- 230000004048 modification Effects 0.000 description 2
- 230000008569 process Effects 0.000 description 2
- 230000001737 promoting effect Effects 0.000 description 2
- 239000002994 raw material Substances 0.000 description 2
- 230000009471 action Effects 0.000 description 1
- 230000009286 beneficial effect Effects 0.000 description 1
- 230000008901 benefit Effects 0.000 description 1
- 238000009435 building construction Methods 0.000 description 1
- 238000007796 conventional method Methods 0.000 description 1
- 238000004519 manufacturing process Methods 0.000 description 1
- 239000000463 material Substances 0.000 description 1
- 238000007790 scraping Methods 0.000 description 1
- 239000002002 slurry Substances 0.000 description 1
- 238000003466 welding Methods 0.000 description 1
Images
Landscapes
- Preparation Of Clay, And Manufacture Of Mixtures Containing Clay Or Cement (AREA)
Abstract
本实用新型公开了一种便于清洁的水泥搅拌机,包括搅拌桶,所述搅拌桶的底部固定连接有支撑腿,所述搅拌桶内腔底部的左侧开设有出料口,所述搅拌桶底部表面的左侧且位于出料口的右侧固定连接有固定轴,所述固定轴的表面套设有密封挡板,所述搅拌桶右侧表面的顶部固定连通有加料仓。本实用新型通过设置清理斜面、清理板、输水管、输水圈环、高压喷水口、储纳腔、复位弹簧、弹簧板和伸缩板的配合使用,可对水泥搅拌机内部进行及时清理,这样水泥搅拌机的清理更加方便,解决了水泥搅拌机在使用时,因不能对内部的杂物和粘附物进行及时清理,使其内部杂物和粘附物较多,从而导致水泥搅拌机出现后续清理不便的问题。
The utility model discloses a cement mixer that is easy to clean, comprising a mixing bucket, a bottom of the mixing bucket is fixedly connected with a support leg, a discharge port is provided on the left side of the bottom of the inner cavity of the mixing bucket, and the bottom of the mixing bucket is provided with a discharge port. A fixed shaft is fixedly connected on the left side of the surface and on the right side of the discharge port, a sealing baffle is sleeved on the surface of the fixed shaft, and a feeding bin is fixedly connected to the top of the right side surface of the mixing barrel. The utility model can clean the interior of the cement mixer in time by setting the cleaning slope, the cleaning plate, the water delivery pipe, the water delivery ring, the high-pressure water spout, the storage cavity, the return spring, the spring plate and the telescopic plate. The cleaning of the cement mixer is more convenient, which solves the problem of inconvenience in subsequent cleaning of the cement mixer due to the inability to clean up the internal debris and adhesions in time when the cement mixer is in use. The problem.
Description
技术领域technical field
本实用新型涉及水泥技术领域,具体为一种便于清洁的水泥搅拌机。The utility model relates to the technical field of cement, in particular to a cement mixer which is convenient for cleaning.
背景技术Background technique
随着现代社会城市化的发展,各类型建筑得到了广泛建设,在建筑建设过程中需使用到水泥搅拌机,现有的水泥搅拌机在使用时,不能对内部的杂物和粘附物进行及时清理,使其内部杂物和粘附物较多,从而导致水泥搅拌机出现后续清理不便的问题,大大降低了水泥搅拌机的实用性。With the development of urbanization in modern society, various types of buildings have been widely constructed. Cement mixers need to be used in the process of building construction. When the existing cement mixers are in use, they cannot clean up the internal debris and adhesions in time. , so that there are many internal debris and adhesions, which leads to the inconvenience of subsequent cleaning of the cement mixer, which greatly reduces the practicability of the cement mixer.
实用新型内容Utility model content
本实用新型的目的在于提供一种便于清洁的水泥搅拌机,具备对水泥搅拌机内部进行及时清理的优点,解决了水泥搅拌机在使用时,因不能对内部的杂物和粘附物进行及时清理,使其内部杂物和粘附物较多,从而导致水泥搅拌机出现后续清理不便的问题。The purpose of the utility model is to provide a cement mixer that is easy to clean, which has the advantage of cleaning the interior of the cement mixer in time, and solves the problem that when the cement mixer is in use, the internal debris and adhering objects cannot be cleaned in time. There are many internal debris and adhesions, which leads to the inconvenience of subsequent cleaning of the cement mixer.
为实现上述目的,本实用新型提供如下技术方案:一种便于清洁的水泥搅拌机,包括搅拌桶,所述搅拌桶的底部固定连接有支撑腿,所述搅拌桶内腔底部的左侧开设有出料口,所述搅拌桶底部表面的左侧且位于出料口的右侧固定连接有固定轴,所述固定轴的表面套设有密封挡板,所述搅拌桶右侧表面的顶部固定连通有加料仓,所述搅拌桶底部表面的中心处固定连接有定位套,所述定位套的顶部设置有搅拌轴,所述搅拌轴的顶部贯穿至搅拌桶的顶部,所述搅拌轴表面的顶部套设有从动皮带轮,所述搅拌桶左侧表面的顶部固定连接有电机,所述电机转轴的顶部通过联轴器固定连接有主动轴,所述主动轴的表面套设有主动皮带轮,所述主动皮带轮与从动皮带轮通过皮带传动连接;In order to achieve the above purpose, the present invention provides the following technical solutions: a cement mixer that is easy to clean, comprising a mixing bucket, the bottom of the mixing bucket is fixedly connected with a support leg, and the left side of the bottom of the inner cavity of the mixing bucket is provided with an outlet. A material port, a fixed shaft is fixedly connected to the left side of the bottom surface of the mixing barrel and located on the right side of the discharge port, the surface of the fixed shaft is sleeved with a sealing baffle, and the top of the right side surface of the mixing barrel is fixedly connected There is a feeding bin, a positioning sleeve is fixedly connected to the center of the bottom surface of the mixing barrel, and a stirring shaft is arranged on the top of the positioning sleeve. A driven pulley is sleeved, a motor is fixedly connected to the top of the left side surface of the mixing bucket, a driving shaft is fixedly connected to the top of the motor shaft through a coupling, and a driving pulley is sleeved on the surface of the driving shaft, so The driving pulley and the driven pulley are connected by belt drive;
所述搅拌轴表面的顶部且位于从动皮带轮的底部套设有输水圈环,所述输水圈环表面的两侧均固定连接有输水管,所述输水管的两侧均与搅拌桶内腔的两侧固定连接,所述输水管底部的表面和输水圈环底部的表面均开设有高压喷水口,右侧输水管顶部表面的右侧固定连通有进水管,所述搅拌轴表面的两侧均固定连接有搅拌板,所述搅拌板外侧的表面开设有储纳腔,所述储纳腔内腔内侧的顶部和底部均固定连接有复位弹簧,所述复位弹簧的外侧固定连接有伸缩板,所述伸缩板的外侧贯穿储纳腔并固定连接有清理板,所述清理板的外侧开设有清理斜面,所述伸缩板内侧表面的中心处固定连接有弹簧板,所述弹簧板的内侧与储纳腔内腔的内侧固定连接。The top of the surface of the stirring shaft and the bottom of the driven pulley are sleeved with a water delivery ring, both sides of the surface of the water delivery ring are fixedly connected with water delivery pipes, and both sides of the water delivery pipe are connected to the mixing bucket. The two sides of the inner cavity are fixedly connected, the surface of the bottom of the water delivery pipe and the surface of the bottom of the water delivery ring ring are both provided with high-pressure water jets, the right side of the top surface of the right water delivery pipe is fixedly connected with a water inlet pipe, and the stirring shaft Both sides of the surface are fixedly connected with a stirring plate, a storage cavity is opened on the surface of the outer side of the stirring plate, the top and bottom of the inner cavity of the storage cavity are fixedly connected with a return spring, and the outer side of the return spring is fixed A telescopic plate is connected, the outer side of the telescopic plate penetrates the storage cavity and is fixedly connected with a cleaning plate, the outer side of the cleaning plate is provided with a cleaning slope, and the center of the inner surface of the telescopic plate is fixedly connected with a spring plate. The inner side of the spring plate is fixedly connected with the inner side of the inner cavity of the storage cavity.
优选的,所述主动皮带轮的内圈与主动轴的表面为过盈配合,所述从动皮带轮的内圈与搅拌轴的表面为过盈配合。Preferably, the inner ring of the driving pulley and the surface of the driving shaft are in interference fit, and the inner ring of the driven pulley and the surface of the stirring shaft are in interference fit.
优选的,所述搅拌轴的底部延伸至定位套的内腔并与定位套的内腔通过密封轴承活动连接,所述密封挡板顶部的表面与搅拌桶底部的表面为滑动接触。Preferably, the bottom of the stirring shaft extends to the inner cavity of the positioning sleeve and is movably connected with the inner cavity of the positioning sleeve through a sealing bearing, and the surface of the top of the sealing baffle is in sliding contact with the surface of the bottom of the mixing barrel.
优选的,所述清理板外侧的表面与搅拌桶的内腔为滑动接触,所述伸缩板的表面与储纳腔的内腔为过渡配合。Preferably, the outer surface of the cleaning plate is in sliding contact with the inner cavity of the mixing bucket, and the surface of the telescopic plate is in transition fit with the inner cavity of the storage cavity.
优选的,所述输水圈环的内圈与搅拌轴的表面通过轴承活动连接,所述进水管的顶部固定连接有快速接头。Preferably, the inner ring of the water delivery ring is movably connected with the surface of the stirring shaft through a bearing, and a quick joint is fixedly connected to the top of the water inlet pipe.
与现有技术相比,本实用新型的有益效果如下:Compared with the prior art, the beneficial effects of the present utility model are as follows:
1、本实用新型通过设置清理斜面、清理板、输水管、输水圈环、高压喷水口、储纳腔、复位弹簧、弹簧板和伸缩板的配合使用,可对水泥搅拌机内部进行及时清理,这样水泥搅拌机的清理更加方便,解决了水泥搅拌机在使用时,因不能对内部的杂物和粘附物进行及时清理,使其内部杂物和粘附物较多,从而导致水泥搅拌机出现后续清理不便的问题,值得推广。1. The utility model can clean the interior of the cement mixer in time by setting the cleaning slope, the cleaning plate, the water delivery pipe, the water delivery ring, the high-pressure water spout, the storage cavity, the return spring, the spring plate and the telescopic plate. , In this way, the cleaning of the cement mixer is more convenient, which solves the problem that when the cement mixer is in use, the internal debris and adhesions cannot be cleaned in time, so that there are many internal debris and adhesions, resulting in the follow-up of the cement mixer. Clearing up inconvenient issues is worth promoting.
2、本实用新型通过设置主动皮带轮、从动皮带轮和皮带的配合,方便了搅拌轴的旋转,通过定位套,可对搅拌轴进行支撑,通过密封挡板,可对出料口进行遮挡,通过清理板,可对搅拌桶内壁进行清理,通过输水圈环,可对搅拌轴进行支撑。2. The utility model facilitates the rotation of the stirring shaft by arranging the cooperation of the driving pulley, the driven pulley and the belt. The positioning sleeve can support the stirring shaft, and the sealing baffle can block the discharge port. The cleaning plate can clean the inner wall of the mixing tank, and can support the mixing shaft through the water conveying ring.
附图说明Description of drawings
图1为本实用新型结构示意图;Fig. 1 is the structural representation of the utility model;
图2为本实用新型输水圈环结构仰视图;Fig. 2 is the bottom view of the water conveying ring structure of the present utility model;
图3为本实用新型搅拌板结构剖视图。3 is a cross-sectional view of the structure of the stirring plate of the present invention.
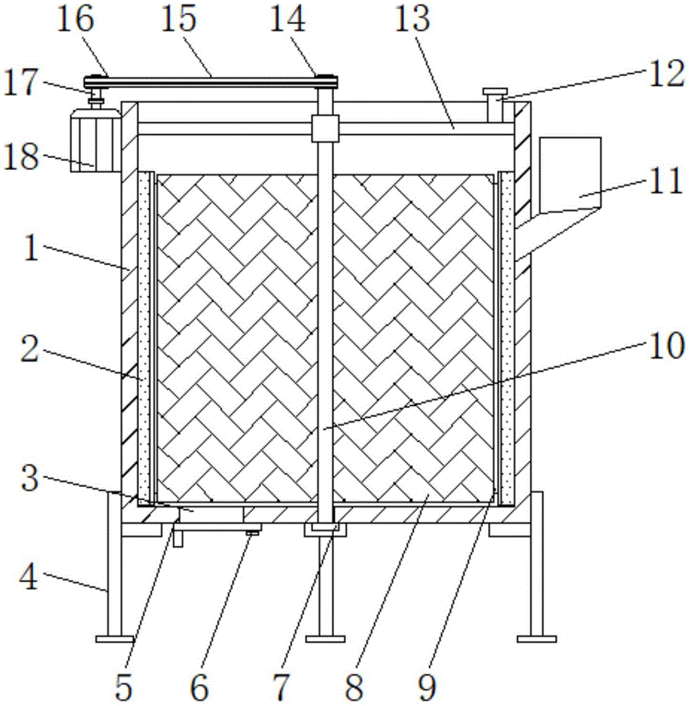
图中:1搅拌桶、2清理斜面、3出料口、4支撑腿、5密封挡板、6固定轴、7定位套、8搅拌板、9清理板、10搅拌轴、11加料仓、12进水管、13输水管、14从动皮带轮、15皮带、16主动皮带轮、17主动轴、18电机、19输水圈环、20高压喷水口、21储纳腔、22复位弹簧、23弹簧板、24伸缩板。In the picture: 1 mixing barrel, 2 cleaning slope, 3 discharge port, 4 supporting legs, 5 sealing baffle, 6 fixed shaft, 7 positioning sleeve, 8 mixing plate, 9 cleaning plate, 10 mixing shaft, 11 feeding bin, 12 Water inlet pipe, 13 water delivery pipe, 14 driven pulley, 15 belt, 16 driving pulley, 17 driving shaft, 18 motor, 19 water delivery ring, 20 high pressure water spout, 21 storage cavity, 22 return spring, 23 spring plate , 24 telescopic plates.
具体实施方式Detailed ways
下面将结合本实用新型实施例中的附图,对本实用新型实施例中的技术方案进行清楚、完整地描述,显然,所描述的实施例仅仅是本实用新型一部分实施例,而不是全部的实施例。基于本实用新型中的实施例,本领域普通技术人员在没有做出创造性劳动前提下所获得的所有其他实施例,都属于本实用新型保护的范围。The technical solutions in the embodiments of the present utility model will be clearly and completely described below with reference to the accompanying drawings in the embodiments of the present utility model. Obviously, the described embodiments are only a part of the embodiments of the present utility model, rather than all the implementations. example. Based on the embodiments of the present invention, all other embodiments obtained by those of ordinary skill in the art without creative work fall within the protection scope of the present invention.
请参阅图1-3,一种便于清洁的水泥搅拌机,包括搅拌桶1,搅拌桶1的底部固定连接有支撑腿4,搅拌桶1内腔底部的左侧开设有出料口3,搅拌桶1底部表面的左侧且位于出料口3的右侧固定连接有固定轴6,固定轴6的表面套设有密封挡板5,搅拌桶1右侧表面的顶部固定连通有加料仓11,搅拌桶1底部表面的中心处固定连接有定位套7,定位套7的顶部设置有搅拌轴10,搅拌轴10的底部延伸至定位套7的内腔并与定位套7的内腔通过密封轴承活动连接,密封挡板5顶部的表面与搅拌桶1底部的表面为滑动接触,通过定位套7,可对搅拌轴10进行支撑,通过密封挡板5,可对出料口3进行遮挡,搅拌轴10的顶部贯穿至搅拌桶1的顶部,搅拌轴10表面的顶部套设有从动皮带轮14,搅拌桶1左侧表面的顶部固定连接有电机18,电机18转轴的顶部通过联轴器固定连接有主动轴17,主动轴17的表面套设有主动皮带轮16,主动皮带轮16与从动皮带轮14通过皮带15传动连接,主动皮带轮16的内圈与主动轴17的表面为过盈配合,从动皮带轮14的内圈与搅拌轴10的表面为过盈配合,通过设置主动皮带轮16、从动皮带轮14和皮带15的配合,方便了搅拌轴10的旋转;Please refer to Fig. 1-3, an easy-to-clean cement mixer includes a
搅拌轴10表面的顶部且位于从动皮带轮14的底部套设有输水圈环19,输水圈环19表面的两侧均固定连接有输水管13,输水管13的两侧均与搅拌桶1内腔的两侧固定连接,输水管13底部的表面和输水圈环19底部的表面均开设有高压喷水口20,右侧输水管13顶部表面的右侧固定连通有进水管12,输水圈环19的内圈与搅拌轴10的表面通过轴承活动连接,进水管12的顶部固定连接有快速接头,通过输水圈环19,可对搅拌轴10进行支撑,搅拌轴10表面的两侧均固定连接有搅拌板8,搅拌板8外侧的表面开设有储纳腔21,储纳腔21内腔内侧的顶部和底部均固定连接有复位弹簧22,复位弹簧22的外侧固定连接有伸缩板24,伸缩板24的外侧贯穿储纳腔21并固定连接有清理板9,清理板9的外侧开设有清理斜面2,清理板9外侧的表面与搅拌桶1的内腔为滑动接触,伸缩板24的表面与储纳腔21的内腔为过渡配合,通过清理板9,可对搅拌桶1内壁进行清理,伸缩板24内侧表面的中心处固定连接有弹簧板23,弹簧板23的内侧与储纳腔21内腔的内侧固定连接,通过设置清理斜面2、清理板9、输水管13、输水圈环19、高压喷水口20、储纳腔21、复位弹簧22、弹簧板23和伸缩板24的配合使用,可对水泥搅拌机内部进行及时清理,这样水泥搅拌机的清理更加方便,解决了水泥搅拌机在使用时,因不能对内部的杂物和粘附物进行及时清理,使其内部杂物和粘附物较多,从而导致水泥搅拌机出现后续清理不便的问题,值得推广,搅拌桶1背表面的底部安装有控制开关,控制开关的输出端与电机18电性连接,进水管12远离输水管13的一侧连通有加注水管。The top of the surface of the
使用时,利用控制开关开启电机18,使得从动皮带轮14旋转,在皮带15和主动皮带轮16的配合下搅拌轴10旋转,带动搅拌板8旋转,使得清理板9旋转,对搅拌桶1的内壁进行清理,向加料仓11内部加注水泥浆生产原料,然后落入搅拌桶1内,外界加注水管与进水管12进行对接,然后水通过输水管13和高压喷水口20进入搅拌桶1内与原料混合,也能对搅拌桶1内部进行清理;混合结束后推动密封挡板5,使得成品被排出;清理板9在刮动过程中与搅拌桶1内壁接触过程中,在复位弹簧22和弹簧板23的作用下清理板9与搅拌桶1内部发生弹性接触,避免刚性接触的损坏。When in use, use the control switch to turn on the
本申请文件中使用到各类部件均为标准件,可以从市场上购买,各个零件的具体连接方式均采用现有技术中成熟的螺栓、铆钉和焊接等常规手段,机械、零件和电器设备均采用现有技术中的常规型号,电路连接采用现有技术中常规的连接方式,在此不再作出具体叙述。All kinds of components used in this application document are standard parts, which can be purchased from the market. The specific connection methods of each part adopt conventional methods such as mature bolts, rivets and welding in the prior art. The conventional models in the prior art are adopted, and the circuit connection adopts the conventional connection manner in the prior art, which will not be described in detail here.
综上所述:该便于清洁的水泥搅拌机,通过设置清理斜面2、清理板9、输水管13、输水圈环19、高压喷水口20、储纳腔21、复位弹簧22、弹簧板23和伸缩板24的配合使用,解决了水泥搅拌机在使用时,因不能对内部的杂物和粘附物进行及时清理,使其内部杂物和粘附物较多,从而导致水泥搅拌机出现后续清理不便的问题。To sum up, the cement mixer that is easy to clean is provided with a
尽管已经示出和描述了本实用新型的实施例,对于本领域的普通技术人员而言,可以理解在不脱离本实用新型的原理和精神的情况下可以对这些实施例进行多种变化、修改、替换和变型,本实用新型的范围由所附权利要求及其等同物限定。Although the embodiments of the present invention have been shown and described, it will be understood by those skilled in the art that various changes and modifications can be made to these embodiments without departing from the principles and spirit of the present invention , alternatives and modifications, the scope of the present invention is defined by the appended claims and their equivalents.
Claims (5)
Priority Applications (1)
| Application Number | Priority Date | Filing Date | Title |
|---|---|---|---|
| CN202020167094.2U CN212021191U (en) | 2020-02-13 | 2020-02-13 | An easy-to-clean cement mixer |
Applications Claiming Priority (1)
| Application Number | Priority Date | Filing Date | Title |
|---|---|---|---|
| CN202020167094.2U CN212021191U (en) | 2020-02-13 | 2020-02-13 | An easy-to-clean cement mixer |
Publications (1)
| Publication Number | Publication Date |
|---|---|
| CN212021191U true CN212021191U (en) | 2020-11-27 |
Family
ID=73492814
Family Applications (1)
| Application Number | Title | Priority Date | Filing Date |
|---|---|---|---|
| CN202020167094.2U Expired - Fee Related CN212021191U (en) | 2020-02-13 | 2020-02-13 | An easy-to-clean cement mixer |
Country Status (1)
| Country | Link |
|---|---|
| CN (1) | CN212021191U (en) |
Cited By (1)
| Publication number | Priority date | Publication date | Assignee | Title |
|---|---|---|---|---|
| CN112873551A (en) * | 2021-01-13 | 2021-06-01 | 江以航 | A equipment for concrete processing |
-
2020
- 2020-02-13 CN CN202020167094.2U patent/CN212021191U/en not_active Expired - Fee Related
Cited By (1)
| Publication number | Priority date | Publication date | Assignee | Title |
|---|---|---|---|---|
| CN112873551A (en) * | 2021-01-13 | 2021-06-01 | 江以航 | A equipment for concrete processing |
Similar Documents
| Publication | Publication Date | Title |
|---|---|---|
| CN212021191U (en) | An easy-to-clean cement mixer | |
| CN208428468U (en) | A kind of blender for building | |
| CN111408592A (en) | Self-cleaning box type variable-frequency water supply equipment | |
| CN110980014A (en) | Mix earth feeder hopper convenient to clearance | |
| CN210414988U (en) | Self-cleaning concrete mixer | |
| CN206123931U (en) | Automatically cleaning formula concrete mixing machine | |
| CN207206742U (en) | A kind of mixer for building for being easy to cleaning | |
| CN211389650U (en) | A compound cauldron for producing polyurethane | |
| CN219583199U (en) | Mixing device | |
| CN209158872U (en) | Extrusion device is used in a kind of production of powdery paints | |
| CN211274288U (en) | Powder mixing stirring device | |
| CN209425849U (en) | A kind of concrete works mixing device | |
| CN217795646U (en) | A production device for high-performance environment-friendly rubber oil | |
| CN209406931U (en) | A kind of new energy production material multiphase flow raw material cleaning machine | |
| CN207769594U (en) | A kind of feed mixing device | |
| CN221868039U (en) | Mixing device for coal pulping | |
| CN221637836U (en) | Glue stirring equipment convenient to clean | |
| CN220737349U (en) | Automatic cleaning structure of stirring tank | |
| CN217752062U (en) | A kind of auxiliary device for unloading sand storage tank for mortar production | |
| CN219705655U (en) | A kind of cement pouring equipment | |
| CN206935250U (en) | Be advantageous to the rubber chemicals batch mixer of cleaning inside | |
| CN222494705U (en) | Bleaching mechanism convenient to wash | |
| CN217862046U (en) | Concrete processing device | |
| CN221656347U (en) | Workshop small powder premixing device | |
| CN216879671U (en) | Meat grinder with cleaning function |
Legal Events
| Date | Code | Title | Description |
|---|---|---|---|
| GR01 | Patent grant | ||
| GR01 | Patent grant | ||
| TR01 | Transfer of patent right | ||
| TR01 | Transfer of patent right |
Effective date of registration: 20220526 Address after: 450000 Cuimiao Zhen Lao Zhuang Cun Mei Yao Gou 156, Xingyang City, Zhengzhou City, Henan Province Patentee after: Xu Shuding Address before: No. 3004, 30 / F, unit 1, building 18, No. 266, Jitai 2nd Road, hi tech Zone, Chengdu, Sichuan 610000 Patentee before: Sichuan fuyilian Information Technology Co.,Ltd. |
|
| TR01 | Transfer of patent right | ||
| TR01 | Transfer of patent right |
Effective date of registration: 20220801 Address after: 450000 1001, 10th floor, beixinshang space building, East and West Station Road, rantun East Road, original district, Zhengzhou City, Henan Province Patentee after: Zhengzhou keerwen Industrial Co.,Ltd. Address before: 450000 Cuimiao Zhen Lao Zhuang Cun Mei Yao Gou 156, Xingyang City, Zhengzhou City, Henan Province Patentee before: Xu Shuding |
|
| CF01 | Termination of patent right due to non-payment of annual fee | ||
| CF01 | Termination of patent right due to non-payment of annual fee |
Granted publication date: 20201127 |
