CN212020069U - A positioning device for processing aero-engine parts that is easy to adjust - Google Patents
A positioning device for processing aero-engine parts that is easy to adjust Download PDFInfo
- Publication number
- CN212020069U CN212020069U CN202020699378.6U CN202020699378U CN212020069U CN 212020069 U CN212020069 U CN 212020069U CN 202020699378 U CN202020699378 U CN 202020699378U CN 212020069 U CN212020069 U CN 212020069U
- Authority
- CN
- China
- Prior art keywords
- plate
- rod
- engine parts
- positioning device
- hole
- Prior art date
- Legal status (The legal status is an assumption and is not a legal conclusion. Google has not performed a legal analysis and makes no representation as to the accuracy of the status listed.)
- Expired - Fee Related
Links
- 230000005540 biological transmission Effects 0.000 claims description 8
- 238000000034 method Methods 0.000 description 2
- 238000012986 modification Methods 0.000 description 2
- 230000004048 modification Effects 0.000 description 2
- 230000009286 beneficial effect Effects 0.000 description 1
- 238000010586 diagram Methods 0.000 description 1
Images
Landscapes
- Jigs For Machine Tools (AREA)
Abstract
本实用新型公开了一种便于调节的航空发动机配件加工用定位装置,属于航空发动机配件加工技术领域,包括定位台,所述定位台的底部固定安装有支撑柱,所述定位台的顶部滑动安装有竖直设置的活动箱,所述活动箱上转动安装有水平设置的横轴,所述横轴的一端安装有夹持板,所述夹持板的两侧滑动安装有水平设置的横杆,所述横杆的一端固定安装有夹持块,所述定位台的顶部开设有凹槽,凹槽内设有支撑板;本实用新型实现对配件的位置固定,电动化操作,操作方便,提高加工效率,同时可以进行配件的横向转动调节和纵向转动调节,便于对配件的其它位置进行加工,更换效率高,极大的节省人工。
The utility model discloses a positioning device for processing aero-engine parts which is easy to adjust, belonging to the technical field of aero-engine parts processing. There is a vertically arranged movable box, a horizontally arranged horizontal shaft is rotatably installed on the movable box, one end of the horizontal shaft is installed with a clamping plate, and two sides of the clamping plate are slidably installed with horizontally arranged transverse bars One end of the horizontal bar is fixedly installed with a clamping block, the top of the positioning table is provided with a groove, and a support plate is arranged in the groove; the utility model realizes the position fixation of the accessories, the electric operation is convenient, and the operation is convenient. Improve the processing efficiency, at the same time, it can adjust the lateral rotation and vertical rotation of the accessories, which is convenient for processing other parts of the accessories, and the replacement efficiency is high, which greatly saves labor.
Description
技术领域technical field
本实用新型属于航空发动机配件加工技术领域,具体涉及一种便于调节的航空发动机配件加工用定位装置。The utility model belongs to the technical field of aero-engine fittings processing, in particular to a positioning device for processing aero-engine fittings which is easy to adjust.
背景技术Background technique
航空发动机,是一种高度复杂和精密的热力机械,是为航空器提供飞行所需动力的发动机。作为飞机的心脏,被誉为“工业之花”,它直接影响飞机的性能。航空发动机配件加工定位时,在配件的夹持面进行加工时,需要人工手动更换夹持位置,这样操作不便,不便全方位调节,因此,需要一种便于调节的航空发动机配件加工用定位装置来解决以上问题。Aero-engine is a highly complex and sophisticated thermal machinery, which is the engine that provides the power required for the flight of the aircraft. As the heart of the aircraft, known as the "flower of industry", it directly affects the performance of the aircraft. When processing and positioning aero-engine parts, when the clamping surface of the parts is processed, it is necessary to manually change the clamping position, which is inconvenient to operate and adjust in all directions. Therefore, a convenient positioning device for processing aero-engine parts is required to Solve the above problems.
实用新型内容Utility model content
本实用新型的目的在于提供一种便于调节的航空发动机配件加工用定位装置,以解决上述背景技术中提出的问题。The purpose of the present invention is to provide a positioning device for processing aero-engine parts that is easy to adjust, so as to solve the problems raised in the above background technology.
为实现上述目的,本实用新型提供如下技术方案:一种便于调节的航空发动机配件加工用定位装置,包括定位台,所述定位台的底部固定安装有支撑柱,所述定位台的顶部滑动安装有竖直设置的活动箱,所述活动箱上转动安装有水平设置的横轴,所述横轴的一端安装有夹持板,所述夹持板的两侧滑动安装有水平设置的横杆,所述横杆的一端固定安装有夹持块,所述定位台的顶部开设有凹槽,凹槽内设有支撑板,所述定位台的底部设有竖直设置的推杆电机,所述推杆电机的推杆固定连接有水平设置的升降板,升降板的顶部转动安装有升降杆,升降杆的顶部与支撑板的底部固定连接,所述活动箱内滑动安装有齿条,横轴上固定套设有齿轮,齿轮与齿条啮合,所述夹持板上设有设有驱动腔,所述驱动腔内滑动安装有两个竖直设置的滑板,所述横杆远离夹持块的一端延伸至驱动腔内并与滑板固定连接。In order to achieve the above purpose, the utility model provides the following technical solutions: a positioning device for processing aero-engine parts that is easy to adjust, including a positioning table, the bottom of the positioning table is fixedly installed with a support column, and the top of the positioning table is slidably installed. There is a vertically arranged movable box, a horizontally arranged horizontal shaft is rotatably installed on the movable box, one end of the horizontal shaft is installed with a clamping plate, and two sides of the clamping plate are slidably installed with horizontally arranged transverse bars , a clamping block is fixedly installed at one end of the horizontal bar, a groove is formed on the top of the positioning table, a support plate is arranged in the groove, and a push rod motor arranged vertically is arranged at the bottom of the positioning table, so The push rod of the push rod motor is fixedly connected with a horizontally arranged lifting plate, the top of the lifting plate is rotatably installed with a lifting rod, the top of the lifting rod is fixedly connected with the bottom of the support plate, a rack is slidably installed in the movable box, and the horizontal A gear is fixedly sleeved on the shaft, and the gear is meshed with the rack. A driving cavity is provided on the clamping plate. Two vertically arranged sliding plates are slidably installed in the driving cavity, and the cross bar is away from the clamping plate. One end of the block extends into the drive cavity and is fixedly connected with the slide plate.
作为一种优选的实施方式,所述驱动腔的两侧内壁转动安装有水平设置的螺纹杆,两个螺纹杆分别与两个滑板螺纹连接,两个螺纹杆相对于夹持板的竖直中心面呈对称设置,驱动腔内设有双轴减速电机,双轴减速电机的输出轴分别与两个螺纹杆传动连接。As a preferred embodiment, horizontally arranged threaded rods are rotatably installed on the inner walls on both sides of the driving cavity, the two threaded rods are respectively threadedly connected with the two sliding plates, and the two threaded rods are relative to the vertical center of the clamping plate The surfaces are symmetrically arranged, a double-shaft deceleration motor is arranged in the drive cavity, and the output shafts of the double-shaft deceleration motor are respectively connected with two threaded rods for transmission.
作为一种优选的实施方式,所述活动箱内固定安装有竖直设置的电动伸缩杆,所述电动伸缩杆的活塞杆与齿条的顶部传动连接,所述齿条的底部安装有滑块,滑块与活动箱的内壁滑动连接。As a preferred embodiment, a vertically arranged electric telescopic rod is fixedly installed in the movable box, the piston rod of the electric telescopic rod is connected with the top of the rack, and the bottom of the rack is installed with a slider , the slider is slidably connected with the inner wall of the movable box.
作为一种优选的实施方式,所述定位台上开设有开个矩形通孔,矩形通孔内固定安装有水平设置的导杆,导杆上滑动套设有活动块,活动块的顶部与活动箱固定连接,矩形通孔内安装有水平气缸,水平气缸的活塞杆与活动块传动连接。As a preferred embodiment, a rectangular through hole is opened on the positioning table, a horizontally arranged guide rod is fixedly installed in the rectangular through hole, and a movable block is slidably sleeved on the guide rod, and the top of the movable block is connected to the movable block. The box is fixedly connected, a horizontal cylinder is installed in the rectangular through hole, and the piston rod of the horizontal cylinder is connected with the movable block in a transmission manner.
作为一种优选的实施方式,所述升降板的底部安装有箱体,箱体内安装有减速电机,减速电机的输出轴与传动连接。As a preferred embodiment, a box body is installed at the bottom of the lifting plate, a deceleration motor is installed in the box body, and the output shaft of the deceleration motor is connected with the transmission.
作为一种优选的实施方式,所述定位台上开设有竖直设置的圆形通孔,所述升降杆的顶部贯穿圆形通孔并与支撑板固定连接,升降杆与圆形通孔的内壁之间设有间隔。As a preferred embodiment, the positioning table is provided with a vertically arranged circular through hole, the top of the lifting rod passes through the circular through hole and is fixedly connected to the support plate, and the lifting rod is connected to the circular through hole. There are spaces between the inner walls.
与现有技术相比,本实用新型的有益效果是:Compared with the prior art, the beneficial effects of the present utility model are:
通过水平气缸带动活动块水平移动使得活动箱进行水平移动,活动箱带动横轴和夹持板进行水平移动,通过两个夹持板相互靠拢夹持住配件的两侧,通过双轴减速电机带动螺纹杆转动使得滑板水平移动,滑板带动横杆和夹持块进行水平移动使得夹持块相互靠拢夹持住配件的另外两侧,实现对配件的位置固定,电动化操作,操作方便,提高加工效率。The horizontal cylinder drives the movable block to move horizontally to make the movable box move horizontally, and the movable box drives the horizontal shaft and the clamping plate to move horizontally. The two clamping plates move closer to each other to clamp the two sides of the accessories, and are driven by the double-shaft geared motor. The rotation of the threaded rod makes the sliding plate move horizontally, and the sliding plate drives the horizontal rod and the clamping block to move horizontally, so that the clamping blocks move closer to each other and clamp the other two sides of the accessories, so as to realize the fixed position of the accessories, electric operation, convenient operation and improved processing. efficiency.
通过在需要更换夹持面时,通过推杆电机带动升降板上升使得支撑板上升带动配件上升,然后通过减速电机带动升降杆转动使得支撑板进行转动调节支撑板上配件横向转动,实现更换不同的夹持面,便于加工的进行,通过在夹持住配件后,推杆电机带动升降板下降使得支撑板脱离配件的底部,然后电动伸缩杆带动齿条升降运动使得齿轮和横轴进行转动使得夹持板进行转动,带动配件进行纵向转动,实现更换不同的夹持面,便于对配件的其它位置进行加工,更换效率高,极大的节省人工。When the clamping surface needs to be replaced, the push rod motor drives the lifting plate to rise, so that the support plate rises to drive the accessories to rise, and then the deceleration motor drives the lifting rod to rotate, so that the support plate rotates and adjusts the horizontal rotation of the accessories on the support plate, realizing the replacement of different parts. The clamping surface is convenient for processing. After clamping the accessories, the push rod motor drives the lifting plate down so that the support plate is separated from the bottom of the accessories, and then the electric telescopic rod drives the rack to move up and down to make the gear and the horizontal shaft rotate so that the clamp The holding plate rotates and drives the accessories to rotate longitudinally, realizing the replacement of different clamping surfaces, which is convenient for processing other positions of the accessories, and the replacement efficiency is high, which greatly saves labor.
本实用新型实现对配件的位置固定,电动化操作,操作方便,提高加工效率,同时可以进行配件的横向转动调节和纵向转动调节,便于对配件的其它位置进行加工,更换效率高,极大的节省人工。The utility model realizes the fixed position of the accessories, the electric operation, the convenient operation, the improvement of the processing efficiency, the adjustment of the lateral rotation and the longitudinal rotation of the accessories at the same time, the processing of other positions of the accessories is convenient, the replacement efficiency is high, and the Save labor.
附图说明Description of drawings
图1为本实用新型的结构示意图;Fig. 1 is the structural representation of the utility model;
图2为本实用新型的夹持板主视结构剖视示意图;Figure 2 is a schematic cross-sectional view of the front structure of the clamping plate of the present invention;
图3为本实用新型的活动箱剖视结构示意图;Fig. 3 is the sectional structure schematic diagram of the movable box of the utility model;
图4为本实用新型的定位台部分结构剖视示意图。4 is a schematic cross-sectional view of a part of the structure of the positioning table of the present invention.
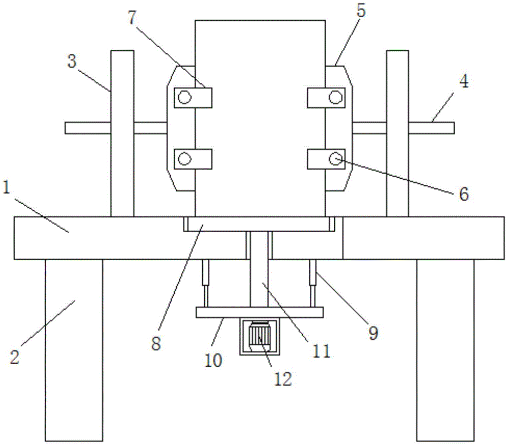
图中:1、定位台;2、支撑柱;3、活动箱;4、横轴;5、夹持板;6、横杆;7、夹持块;8、支撑板;9、推杆电机;10、升降板;11、升降杆;12、减速电机;13、驱动腔;14、滑板;15、螺纹杆;16、双轴减速电机;17、齿轮;18、齿条;19、电动伸缩杆;20、水平气缸;21、活动块。In the figure: 1, positioning table; 2, support column; 3, movable box; 4, horizontal axis; 5, clamping plate; 6, transverse rod; 7, clamping block; 8, supporting plate; 9, push rod motor ;10, lift plate; 11, lift rod; 12, gear motor; 13, drive cavity; 14, slide plate; 15, threaded rod; 16, double shaft gear motor; 17, gear; 18, rack; rod; 20, horizontal cylinder; 21, movable block.
具体实施方式Detailed ways
下面结合实施例对本实用新型做进一步的描述。The present utility model will be further described below in conjunction with the embodiments.
以下实施例用于说明本实用新型,但不能用来限制本实用新型的保护范围。实施例中的条件可以根据具体条件做进一步的调整,在本实用新型的构思前提下对本实用新型的方法简单改进都属于本实用新型要求保护的范围。The following examples are used to illustrate the present utility model, but cannot be used to limit the protection scope of the present utility model. Conditions in the examples can be further adjusted according to specific conditions, and simple improvements to the method of the present invention under the concept of the present invention all belong to the scope of protection of the present invention.
请参阅图1-4,本实用新型提供一种便于调节的航空发动机配件加工用定位装置,包括定位台1,定位台1的底部固定安装有支撑柱2,定位台1的顶部滑动安装有竖直设置的活动箱3,活动箱3上转动安装有水平设置的横轴4,横轴4的一端安装有夹持板5,夹持板5的两侧滑动安装有水平设置的横杆6,横杆6的一端固定安装有夹持块7,定位台1的顶部开设有凹槽,凹槽内设有支撑板8,定位台1的底部设有竖直设置的推杆电机9,推杆电机9的推杆固定连接有水平设置的升降板10,升降板10的顶部转动安装有升降杆11,升降杆11的顶部与支撑板8的底部固定连接,活动箱3内滑动安装有齿条18,横轴4上固定套设有齿轮17,齿轮17与齿条18啮合,夹持板5上设有设有驱动腔13,驱动腔13内滑动安装有两个竖直设置的滑板14,横杆6远离夹持块7的一端延伸至驱动腔13内并与滑板14固定连接。Please refer to FIGS. 1-4 , the present utility model provides a positioning device for processing aero-engine parts that is easy to adjust, comprising a positioning table 1 , a
驱动腔13的两侧内壁转动安装有水平设置的螺纹杆15,两个螺纹杆15分别与两个滑板14螺纹连接,两个螺纹杆15相对于夹持板5的竖直中心面呈对称设置,驱动腔13内设有双轴减速电机16,双轴减速电机16的输出轴分别与两个螺纹杆15传动连接(见图1和图2);通过双轴减速电机16带动螺纹杆15转动使得滑板14水平移动,滑板14带动横杆6和夹持块7进行水平移动使得夹持块7相互靠拢夹持住配件的另外两侧,实现对配件的位置固定。Horizontally arranged threaded
活动箱3内固定安装有竖直设置的电动伸缩杆19,电动伸缩杆19的活塞杆与齿条18的顶部传动连接,齿条18的底部安装有滑块,滑块与活动箱3的内壁滑动连接(见图1和图3);电动伸缩杆19带动齿条18升降运动使得齿轮17和横轴4进行转动使得夹持板5进行转动调节。A vertically arranged electric
定位台1上开设有开个矩形通孔,矩形通孔内固定安装有水平设置的导杆,导杆上滑动套设有活动块21,活动块21的顶部与活动箱3固定连接,矩形通孔内安装有水平气缸20,水平气缸20的活塞杆与活动块21传动连接(见图1和图4);通过水平气缸20带动活动块21水平移动使得活动箱3进行水平移动,活动箱3带动横轴4和夹持板5进行水平移动,通过两个夹持板5相互靠拢夹持住配件的两侧。A rectangular through hole is opened on the positioning table 1, and a horizontally arranged guide rod is fixedly installed in the rectangular through hole. A
升降板10的底部安装有箱体,箱体内安装有减速电机12,减速电机12的输出轴与11传动连接。定位台1上开设有竖直设置的圆形通孔,升降杆11的顶部贯穿圆形通孔并与支撑板8固定连接,升降杆11与圆形通孔的内壁之间设有间隔(见图1);通过减速电机12带动升降杆11转动使得支撑板8进行转动调节支撑板8上配件横向转动,实现更换不同的夹持面。A box body is installed at the bottom of the
在使用时,通过水平气缸20带动活动块21水平移动使得活动箱3进行水平移动,活动箱3带动横轴4和夹持板5进行水平移动,通过两个夹持板5相互靠拢夹持住配件的两侧,通过双轴减速电机16带动螺纹杆15转动使得滑板14水平移动,滑板14带动横杆6和夹持块7进行水平移动使得夹持块7相互靠拢夹持住配件的另外两侧,实现对配件的位置固定,电动化操作,操作方便,提高加工效率。通过在需要更换夹持面时,通过推杆电机9带动升降板10上升使得支撑板8上升带动配件上升,然后通过减速电机12带动升降杆11转动使得支撑板8进行转动调节支撑板8上配件横向转动,实现更换不同的夹持面,便于加工的进行,通过在夹持住配件后,推杆电机9带动升降板10下降使得支撑板8脱离配件的底部,然后电动伸缩杆19带动齿条18升降运动使得齿轮17和横轴4进行转动使得夹持板5进行转动,带动配件进行纵向转动,实现更换不同的夹持面,便于对配件的其它位置进行加工,更换效率高,极大的节省人工。When in use, the
尽管已经示出和描述了本实用新型的实施例,对于本领域的普通技术人员而言,可以理解在不脱离本实用新型的原理和精神的情况下可以对这些实施例进行多种变化、修改、替换和变型,本实用新型的范围由所附权利要求及其等同物限定。Although the embodiments of the present invention have been shown and described, it will be understood by those skilled in the art that various changes and modifications can be made to these embodiments without departing from the principles and spirit of the present invention , alternatives and modifications, the scope of the present invention is defined by the appended claims and their equivalents.
Claims (6)
Priority Applications (1)
| Application Number | Priority Date | Filing Date | Title |
|---|---|---|---|
| CN202020699378.6U CN212020069U (en) | 2020-04-29 | 2020-04-29 | A positioning device for processing aero-engine parts that is easy to adjust |
Applications Claiming Priority (1)
| Application Number | Priority Date | Filing Date | Title |
|---|---|---|---|
| CN202020699378.6U CN212020069U (en) | 2020-04-29 | 2020-04-29 | A positioning device for processing aero-engine parts that is easy to adjust |
Publications (1)
| Publication Number | Publication Date |
|---|---|
| CN212020069U true CN212020069U (en) | 2020-11-27 |
Family
ID=73497237
Family Applications (1)
| Application Number | Title | Priority Date | Filing Date |
|---|---|---|---|
| CN202020699378.6U Expired - Fee Related CN212020069U (en) | 2020-04-29 | 2020-04-29 | A positioning device for processing aero-engine parts that is easy to adjust |
Country Status (1)
| Country | Link |
|---|---|
| CN (1) | CN212020069U (en) |
Cited By (3)
| Publication number | Priority date | Publication date | Assignee | Title |
|---|---|---|---|---|
| CN112476365A (en) * | 2020-11-28 | 2021-03-12 | 西峡县内燃机进排气管有限责任公司 | Workstation of worm wheel supercharger casing processing |
| CN112792009A (en) * | 2020-12-17 | 2021-05-14 | 萍乡市恩硕科技有限公司 | Ash removal device is used in processing of computer accessory |
| CN116810632A (en) * | 2023-07-24 | 2023-09-29 | 索菲丝智能科技(上海)有限公司 | A metal plate positioning and installation system |
-
2020
- 2020-04-29 CN CN202020699378.6U patent/CN212020069U/en not_active Expired - Fee Related
Cited By (3)
| Publication number | Priority date | Publication date | Assignee | Title |
|---|---|---|---|---|
| CN112476365A (en) * | 2020-11-28 | 2021-03-12 | 西峡县内燃机进排气管有限责任公司 | Workstation of worm wheel supercharger casing processing |
| CN112792009A (en) * | 2020-12-17 | 2021-05-14 | 萍乡市恩硕科技有限公司 | Ash removal device is used in processing of computer accessory |
| CN116810632A (en) * | 2023-07-24 | 2023-09-29 | 索菲丝智能科技(上海)有限公司 | A metal plate positioning and installation system |
Similar Documents
| Publication | Publication Date | Title |
|---|---|---|
| CN212020069U (en) | A positioning device for processing aero-engine parts that is easy to adjust | |
| CN218556864U (en) | Frock clamp is used in spare and accessory part processing | |
| CN110757536B (en) | Plate cutting device | |
| CN222199267U (en) | A laser cutting machine with efficient heat dissipation function | |
| CN207629466U (en) | A kind of fixture with automatic feeding | |
| CN218254737U (en) | Positioning device for metal workpiece machining | |
| CN218983337U (en) | Axostylus axostyle cutting device is used in coal breaker accessory production | |
| CN216828173U (en) | A kind of workpiece reclaiming equipment for punching machine | |
| CN216371212U (en) | Five-axis gantry machining device with double beam structure | |
| CN211439011U (en) | End face flange machining device of vacuum furnace chamber | |
| CN209176164U (en) | Working table synchronous adjustment device for blister box forming equipment | |
| CN217255625U (en) | Positioning tooling for machining plastic parts | |
| CN221735395U (en) | A high performance pre-stretched aluminum plate cutting device | |
| CN216029046U (en) | Horizontal welding equipment | |
| CN219054155U (en) | Positioning tool for workpiece detection | |
| CN218983429U (en) | A metal cutting device | |
| CN221876456U (en) | Lifting device for mechanical equipment maintenance | |
| CN220806741U (en) | Metal mold surface grinding device | |
| CN221890918U (en) | Bearing ring drilling device | |
| CN221774495U (en) | A transfer robot for bearing seat processing | |
| CN221971049U (en) | Hoisting device for forge piece | |
| CN221695447U (en) | High-precision horizontal broaching machine | |
| CN217577304U (en) | Production unloader of haulage equipment accessory | |
| CN220762564U (en) | A processing positioning device | |
| CN221135676U (en) | A clamping fixture for production and processing of hydraulic cylinders |
Legal Events
| Date | Code | Title | Description |
|---|---|---|---|
| GR01 | Patent grant | ||
| GR01 | Patent grant | ||
| CF01 | Termination of patent right due to non-payment of annual fee |
Granted publication date: 20201127 |
|
| CF01 | Termination of patent right due to non-payment of annual fee |
