CN211998276U - Outgoing line management device for electric power construction - Google Patents
Outgoing line management device for electric power construction Download PDFInfo
- Publication number
- CN211998276U CN211998276U CN201922339486.2U CN201922339486U CN211998276U CN 211998276 U CN211998276 U CN 211998276U CN 201922339486 U CN201922339486 U CN 201922339486U CN 211998276 U CN211998276 U CN 211998276U
- Authority
- CN
- China
- Prior art keywords
- box body
- box
- shaft
- management device
- power construction
- Prior art date
- Legal status (The legal status is an assumption and is not a legal conclusion. Google has not performed a legal analysis and makes no representation as to the accuracy of the status listed.)
- Active
Links
Images
Landscapes
- Storing, Repeated Paying-Out, And Re-Storing Of Elongated Articles (AREA)
Abstract
本实用新型公开了一种电力施工用出线管理装置,包括箱体;所述箱体的顶侧呈开口状,所述箱体内部的中端设置有轴杆且轴杆两端分别贯穿于箱体的左右两侧,所述轴杆的外圈设置有收线筒,所述收线筒的外圈收绕有线缆本体,所述轴杆的右端固定安装有扭块,所述轴杆外圈的左侧设置有外螺纹,所述轴杆通过外螺纹与轴套螺旋连接,所述箱体前侧的中下侧开设有出口,所述线缆本体远离收线筒的一侧贯穿于出口。本实用新型由于轴杆的右端固定安装有扭块,且轴杆通过左端的外螺纹与轴套螺旋连接,便于更换收线筒时,可以先将轴套拆下,然后将轴杆从箱体内抽出,最后再将收线筒取出,并按上述过程反向操作更换即可,较为实用,适合广泛推广和使用。
The utility model discloses an outgoing wire management device for electric construction, which comprises a box body; the top side of the box body is in the shape of an opening; On the left and right sides of the body, the outer ring of the shaft rod is provided with a wire take-up cylinder, the outer ring of the wire take-up cylinder is wound with a cable body, the right end of the shaft rod is fixedly installed with a torsion block, and the shaft rod The left side of the outer ring is provided with an external thread, the shaft is screwed with the shaft sleeve through the external thread, the middle and lower side of the front side of the box is provided with an outlet, and the side of the cable body away from the take-up reel penetrates for export. In the utility model, since the right end of the shaft is fixedly installed with a torsion block, and the shaft is screwed with the shaft sleeve through the external thread at the left end, it is convenient to replace the spool, the shaft sleeve can be removed first, and then the shaft can be removed from the box. Pull out, and finally take out the take-up spool, and replace it according to the reverse operation of the above process, which is more practical and suitable for widespread promotion and use.
Description
技术领域technical field
本实用新型涉及技术领域,具体为一种电力施工用出线管理装置。The utility model relates to the technical field, in particular to an outgoing line management device for electric power construction.
背景技术Background technique
在电力施工过程中,常常需要在施工现场准备各种规格整匝的线缆,以便施工过程中使用。In the process of electric power construction, it is often necessary to prepare cables of various specifications and full turns at the construction site for use in the construction process.
现有专利(公开号:CN208249555U)一种电力施工用出线管理装置,包括箱体、转轴、连接轴和轴承座,所述箱体的顶部设有开口,所述箱体的侧壁上设有出线孔,所述箱体的底部设有滚轮,所述转轴的两端分别与连接轴可拆卸连接,所述连接轴上设有挡板,所述轴承座设置在箱体内,所述连接轴上设有与轴承座相匹配的滚动轴承,所述滚动轴承设置在轴承座上,所述箱体的侧壁上还设有用于装载备用线缆的装载板。这种电力施工用出线管理装置其能够自身携带备用线缆,在箱体内的线缆用完后,可以直接将备用的线缆更换上,避免线缆取回的不及时,影响施工效率。The existing patent (publication number: CN208249555U) is an outlet management device for electric power construction, including a box body, a rotating shaft, a connecting shaft and a bearing seat. The top of the box body is provided with an opening, and the side wall of the box body is provided with an opening. Outlet holes, the bottom of the box is provided with rollers, the two ends of the rotating shaft are respectively detachably connected to the connecting shaft, the connecting shaft is provided with a baffle plate, the bearing seat is arranged in the box, the connecting shaft There is a rolling bearing matched with the bearing seat, the rolling bearing is arranged on the bearing seat, and the side wall of the box body is also provided with a loading plate for loading spare cables. This kind of outlet management device for electric construction can carry spare cables by itself. After the cables in the box are used up, the spare cables can be replaced directly, so as to avoid untimely retrieval of cables and affect construction efficiency.
在实现本发明过程中,发明人发现现有技术中至少存在如下问题没有得到解决:上述实用新型在更换线缆的过程太过繁琐,影响工作效率。In the process of implementing the present invention, the inventor found that at least the following problems have not been solved in the prior art: the process of replacing cables in the above-mentioned utility model is too cumbersome, which affects the work efficiency.
实用新型内容Utility model content
本实用新型的目的在于提供一种电力施工用出线管理装置,解决了背景技术中所提出的问题。The purpose of the utility model is to provide an outgoing line management device for electric power construction, which solves the problems raised in the background art.
为实现上述目的,本实用新型提供如下技术方案:一种电力施工用出线管理装置,包括箱体;In order to achieve the above purpose, the utility model provides the following technical solutions: an outlet management device for electric power construction, comprising a box body;
所述箱体的顶侧呈开口状,所述箱体内部的中端设置有轴杆且轴杆两端分别贯穿于箱体的左右两侧,所述轴杆的外圈设置有收线筒,所述收线筒的外圈收绕有线缆本体,所述轴杆的右端固定安装有扭块,所述轴杆外圈的左侧设置有外螺纹,所述轴杆通过外螺纹与轴套螺旋连接,所述箱体前侧的中下侧开设有出口,所述线缆本体远离收线筒的一侧贯穿于出口;The top side of the box body is in the shape of an opening, the middle end of the box body is provided with a shaft rod, and the two ends of the shaft rod respectively penetrate through the left and right sides of the box body, and the outer ring of the shaft rod is provided with a wire take-up reel , the outer ring of the take-up barrel is wound with a cable body, the right end of the shaft rod is fixedly installed with a torsion block, the left side of the outer ring of the shaft rod is provided with an external thread, and the shaft rod is connected with the external thread through the external thread. The shaft sleeves are screwed together, the middle and lower sides of the front side of the box body are provided with an outlet, and the side of the cable body away from the take-up reel runs through the outlet;
所述箱体内端内壁的左右两侧均垂直安装有支杆,两个所述支杆的顶端均固定安装有弹片且两个弹片的后端均与收线筒前侧左右两端的下侧贴合;Support rods are installed vertically on the left and right sides of the inner wall of the inner end of the box, elastic sheets are fixedly installed at the top ends of the two support rods, and the rear ends of the two elastic sheets are attached to the lower sides of the left and right ends of the front side of the take-up reel. combine;
所述箱体的顶侧设置有箱盖,所述箱体的底端四角均固定安装有万向轮,所述箱体的左侧上端固定安装有推杆。The top side of the box body is provided with a box cover, the four corners of the bottom end of the box body are fixedly mounted with universal wheels, and the upper left end of the box body is fixedly mounted with a push rod.
作为本实用新型的一种优选实施方式,所述箱体的左侧中端开设有滑槽,所述轴套的右侧与滑槽滑动连接。As a preferred embodiment of the present invention, the middle end of the left side of the box body is provided with a chute, and the right side of the shaft sleeve is slidably connected to the chute.
作为本实用新型的一种优选实施方式,所述收线筒左侧内壁的上侧固定安装有把手。As a preferred embodiment of the present invention, a handle is fixedly installed on the upper side of the left inner wall of the wire take-up reel.
作为本实用新型的一种优选实施方式,所述箱体左右两侧内壁的上侧均固定安装有限位块。As a preferred embodiment of the present invention, the upper sides of the inner walls of the left and right sides of the box body are fixedly installed with limit blocks.
作为本实用新型的一种优选实施方式,所述箱体的后侧下端固定安装有收纳盒且收纳盒的顶侧呈开口状。As a preferred embodiment of the present invention, a storage box is fixedly mounted on the lower end of the rear side of the box body, and the top side of the storage box is open.
与现有技术相比,本实用新型的有益效果如下:Compared with the prior art, the beneficial effects of the present utility model are as follows:
1.本实用新型一种电力施工用出线管理装置,由于轴杆的右端固定安装有扭块,且轴杆通过左端的外螺纹与轴套螺旋连接,便于更换收线筒时,可以先将轴套拆下,然后将轴杆从箱体内抽出,最后再将收线筒取出,并按上述过程反向操作更换即可,而拉动线缆本体时,两个弹片也有利于增大收线筒转动时的阻力,避免线缆本体拉出过多,较为方便,有效提高了工作效率。1. The utility model is an outlet management device for electric power construction. Since the right end of the shaft rod is fixedly installed with a torsion block, and the shaft rod is screwed with the shaft sleeve through the external thread on the left end, it is convenient to replace the wire take-up reel. Remove the sleeve, then pull out the shaft from the box, and finally take out the take-up spool and replace it in the reverse operation of the above process. When pulling the cable body, the two shrapnel are also conducive to increasing the take-up spool. The resistance during rotation prevents the cable body from being pulled out too much, which is more convenient and effectively improves the work efficiency.
2.本实用新型一种电力施工用出线管理装置,由于收线筒左侧内壁的上侧固定安装有把手,便于拆下收线筒时,可以通过把手将收线筒托住,再将轴杆抽出,较为方便。2. The utility model is an outgoing wire management device for electric construction. Since the upper side of the left inner wall of the wire take-up reel is fixedly installed with a handle, when the wire take-up reel is easily removed, the wire take-up reel can be supported by the handle, and then the shaft The rod is pulled out, which is more convenient.
3.本实用新型一种电力施工用出线管理装置,由于箱体左右两侧内壁的上侧均固定安装有限位块,便于限制收线筒的位置,避免收线筒在轴杆上移动。3. The utility model is an outgoing wire management device for electric power construction. Since the upper sides of the left and right inner walls of the box are fixedly installed with limit blocks, it is convenient to limit the position of the wire take-up reel and prevent the wire take-up reel from moving on the shaft.
附图说明Description of drawings
通过阅读参照以下附图对非限制性实施例所作的详细描述,本实用新型的其它特征、目的和优点将会变得更明显:Other features, objects and advantages of the present invention will become more apparent by reading the detailed description of non-limiting embodiments with reference to the following drawings:
图1为本实用新型一种电力施工用出线管理装置的主视图;Fig. 1 is the front view of a kind of electric power construction outlet management device of the present invention;
图2为本实用新型一种电力施工用出线管理装置的扭块侧视图;Figure 2 is a side view of a twisted block of a power construction outlet management device of the present invention;
图3为本实用新型一种电力施工用出线管理装置的箱体左视图。FIG. 3 is a left side view of the box body of an outgoing line management device for electric power construction according to the present invention.
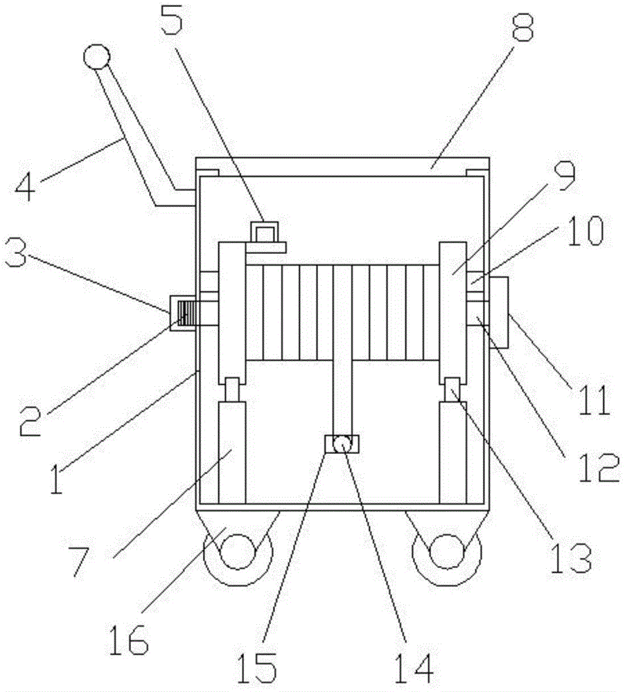
图中:箱体1,外螺纹2,轴套3,推杆4,把手5,滑槽6,支杆7,箱盖8,收线筒9,限位块10,扭块11,轴杆12,弹片13,线缆本体14,开口15,万向轮16,收纳盒17。In the figure:
具体实施方式Detailed ways
为使本实用新型实现的技术手段、创作特征、达成目的与功效易于明白了解,下面结合具体实施方式,进一步阐述本实用新型。In order to make the technical means, creation features, achievement goals and effects of the present invention easy to understand and understand, the present invention will be further described below with reference to the specific embodiments.
请参阅图1-2,本实用新型提供一种技术方案:一种电力施工用出线管理装置,包括箱体1;Please refer to Fig. 1-2, the present utility model provides a technical solution: an outlet management device for electric power construction, comprising a
所述箱体1的顶侧呈开口状,所述箱体1内部的中端设置有轴杆12且轴杆12两端分别贯穿于箱体1的左右两侧,所述轴杆12的外圈设置有收线筒9,所述收线筒9的外圈收绕有线缆本体14,所述轴杆12的右端固定安装有扭块11,所述轴杆12外圈的左侧设置有外螺纹2,所述轴杆12通过外螺纹2与轴套3螺旋连接,所述箱体1前侧的中下侧开设有出口15,所述线缆本体14远离收线筒9的一侧贯穿于出口15;The top side of the
所述箱体1内端内壁的左右两侧均垂直安装有支杆7,两个所述支杆7的顶端均固定安装有弹片13且两个弹片13的后端均与收线筒9前侧左右两端的下侧贴合;The left and right sides of the inner wall of the inner end of the
所述箱体1的顶侧设置有箱盖8,所述箱体1的底端四角均固定安装有万向轮16,所述箱体1的左侧上端固定安装有推杆4。The top side of the
本实施例中(如图1和图2所示),由于轴杆12的右端固定安装有扭块11,且轴杆12通过左端的外螺纹2与轴套3螺旋连接,便于更换收线筒9时,可以先将轴套3拆下,然后将轴杆12从箱体1内抽出,最后再将收线筒9取出,并按上述过程反向操作更换即可,而拉动线缆本体14时,两个弹片13也有利于增大收线筒9转动时的阻力,避免线缆本体14拉出过多,较为方便,有效提高了工作效率。In this embodiment (as shown in FIGS. 1 and 2 ), since the right end of the
本实施例中(请参阅图3),所述箱体1的左侧中端开设有滑槽6,所述轴套3的右侧与滑槽6滑动连接,便于限制轴套3的位置。In this embodiment (refer to FIG. 3 ), the middle end of the left side of the
本实施例中(请参阅图1),所述收线筒9左侧内壁的上侧固定安装有把手5,便于拆下收线筒9时,可以通过把手5将收线筒9托住,再将轴杆12抽出,较为方便。In this embodiment (refer to FIG. 1 ), a
本实施例中(请参阅图1),所述箱体1左右两侧内壁的上侧均固定安装有限位块10,便于限制收线筒9的位置,避免收线筒9在轴杆12上移动。In this embodiment (please refer to FIG. 1 ), the upper sides of the inner walls of the left and right sides of the
本实施例中(请参阅图3),所述箱体1的后侧下端固定安装有收纳盒17且收纳盒17的顶侧呈开口状,便于存放其他收线筒9。In this embodiment (refer to FIG. 3 ), a
需要说明的是,本实用新型为一种电力施工用出线管理装置,包括箱体1、外螺纹2、轴套3、推杆4、把手5、滑槽6、支杆7、箱盖8、收线筒9、限位块10、扭块11、轴杆12、弹片13、线缆本体14、开口15、万向轮16、收纳盒17,部件均为通用标准件或本领域技术人员知晓的部件,其结构和原理都为本技术人员均可通过技术手册得知或通过常规实验方法获知,工作时,更换收线筒9时,可以先将轴套3拆下,然后通过把手5托住收线筒9,然后将轴杆12从箱体1内抽出,最后再将收线筒9取出,并按上述过程反向操作更换即可,而拉动线缆本体14时,两个弹片13也有利于增大收线筒9转动时的阻力,避免线缆本体14拉出过多。It should be noted that the utility model is an outlet management device for electric construction, comprising a
以上显示和描述了本实用新型的基本原理和主要特征和本实用新型的优点,对于本领域技术人员而言,显然本实用新型不限于上述示范性实施例的细节,而且在不背离本实用新型的精神或基本特征的情况下,能够以其他的具体形式实现本实用新型。因此,无论从哪一点来看,均应将实施例看作是示范性的,而且是非限制性的,本实用新型的范围由所附权利要求而不是上述说明限定,因此旨在将落在权利要求的等同要件的含义和范围内的所有变化囊括在本实用新型内。不应将权利要求中的任何附图标记视为限制所涉及的权利要求。The basic principles and main features of the present invention and the advantages of the present invention have been shown and described above. For those skilled in the art, it is obvious that the present invention is not limited to the details of the above-mentioned exemplary embodiments, and does not deviate from the present invention. The present invention can be implemented in other specific forms under the condition of the spirit or basic features. Therefore, the embodiments are to be considered in all respects as exemplary and not restrictive, and the scope of the present invention is defined by the appended claims rather than the foregoing description, and it is therefore intended that the All changes within the meaning and range of the required equivalents are embraced within the present invention. Any reference signs in the claims shall not be construed as limiting the involved claim.
此外,应当理解,虽然本说明书按照实施方式加以描述,但并非每个实施方式仅包含一个独立的技术方案,说明书的这种叙述方式仅仅是为清楚起见,本领域技术人员应当将说明书作为一个整体,各实施例中的技术方案也可以经适当组合,形成本领域技术人员可以理解的其他实施方式。In addition, it should be understood that although this specification is described in terms of embodiments, not each embodiment only includes an independent technical solution, and this description in the specification is only for the sake of clarity, and those skilled in the art should take the specification as a whole , the technical solutions in each embodiment can also be appropriately combined to form other implementations that can be understood by those skilled in the art.
Claims (5)
Priority Applications (1)
| Application Number | Priority Date | Filing Date | Title |
|---|---|---|---|
| CN201922339486.2U CN211998276U (en) | 2019-12-24 | 2019-12-24 | Outgoing line management device for electric power construction |
Applications Claiming Priority (1)
| Application Number | Priority Date | Filing Date | Title |
|---|---|---|---|
| CN201922339486.2U CN211998276U (en) | 2019-12-24 | 2019-12-24 | Outgoing line management device for electric power construction |
Publications (1)
| Publication Number | Publication Date |
|---|---|
| CN211998276U true CN211998276U (en) | 2020-11-24 |
Family
ID=73408956
Family Applications (1)
| Application Number | Title | Priority Date | Filing Date |
|---|---|---|---|
| CN201922339486.2U Active CN211998276U (en) | 2019-12-24 | 2019-12-24 | Outgoing line management device for electric power construction |
Country Status (1)
| Country | Link |
|---|---|
| CN (1) | CN211998276U (en) |
Cited By (1)
| Publication number | Priority date | Publication date | Assignee | Title |
|---|---|---|---|---|
| CN119460917A (en) * | 2025-01-14 | 2025-02-18 | 五湖消防安全科技泰州有限公司 | Fire hose transport device |
-
2019
- 2019-12-24 CN CN201922339486.2U patent/CN211998276U/en active Active
Cited By (1)
| Publication number | Priority date | Publication date | Assignee | Title |
|---|---|---|---|---|
| CN119460917A (en) * | 2025-01-14 | 2025-02-18 | 五湖消防安全科技泰州有限公司 | Fire hose transport device |
Similar Documents
| Publication | Publication Date | Title |
|---|---|---|
| CN211998276U (en) | Outgoing line management device for electric power construction | |
| CN207536939U (en) | A kind of cable rolls up draw off gear | |
| CN110893783B (en) | Fill electric pile convenient to receive line | |
| CN206538056U (en) | A kind of arrangement type cable hank | |
| CN106915666B (en) | A kind of earth cable is around putting device | |
| CN204297833U (en) | A kind of vehicle-mounted primary cable draw off gear | |
| CN211930123U (en) | Threading construction device for building electrical engineering | |
| CN205595518U (en) | A winding reel for automatic recovery of electric power | |
| CN204727335U (en) | Be provided with the Horizontal pay-off reel of interlock guiding mechanism | |
| CN211629737U (en) | An electrical engineering threading construction device | |
| CN211545568U (en) | Portable automatic cable winding and unwinding device | |
| CN213707185U (en) | Rubber finished product coiling mechanism with adjustment mechanism | |
| CN103332541B (en) | A kind of line case of convenient retracted line | |
| CN220182380U (en) | Blanket clamping device for tape coiling machine | |
| CN209200725U (en) | Charging device for electrical automation equipment | |
| CN208037750U (en) | Patch quickly retracting device | |
| CN111071866A (en) | Electric power construction is with managing device that is qualified for next round of competitions | |
| CN219859828U (en) | A storage rack for power cable storage | |
| CN208249521U (en) | Wrap-up is used in a kind of processing of cable | |
| CN222506377U (en) | Sodium ion battery charge-discharge testing device | |
| CN209685020U (en) | A simple winding device for power cables | |
| CN204258135U (en) | A kind of Horizontal pay-off reel | |
| CN216597130U (en) | Die for high-voltage cable armoring | |
| CN220165514U (en) | Automatic cable winding device of charging pile | |
| CN210824820U (en) | Automatic take-up device for electric power engineering |
Legal Events
| Date | Code | Title | Description |
|---|---|---|---|
| GR01 | Patent grant | ||
| GR01 | Patent grant | ||
| TR01 | Transfer of patent right |
Effective date of registration: 20230518 Address after: 710086 Unit 1, Building 2, North of Fengdong Second Road and West of Fengdong Avenue, Fengdong New City, Xixian New District, Xi'an City, Shaanxi Province 13203E Patentee after: Xixian New Area Forest Liangli Lingdong Technology Co.,Ltd. Address before: 710016 East Cross of Fengcheng seventh road and Mingguang Road, Xi'an Economic and Technological Development Zone, Xi'an City, Shaanxi Province Patentee before: Shaanxi electric steward Amperex Technology Ltd. |
|
| TR01 | Transfer of patent right | ||
| TR01 | Transfer of patent right |
Effective date of registration: 20250522 Address after: 710119 Shaanxi Province Xi'an City High-tech Zone Tiangu 8th Road No. 156 Xi'an Software New Town R&D Base Phase II Building A5 201 Patentee after: Xi'an Tiantou Intelligent Robot Technology Co.,Ltd. Country or region after: China Address before: 710086 Unit 1, Building 2, North of Fengdong Second Road and West of Fengdong Avenue, Fengdong New City, Xixian New District, Xi'an City, Shaanxi Province 13203E Patentee before: Xixian New Area Forest Liangli Lingdong Technology Co.,Ltd. Country or region before: China |
|
| TR01 | Transfer of patent right |
