CN211993565U - 一种景观园林用混泥土搅拌器 - Google Patents
一种景观园林用混泥土搅拌器 Download PDFInfo
- Publication number
- CN211993565U CN211993565U CN202020511165.6U CN202020511165U CN211993565U CN 211993565 U CN211993565 U CN 211993565U CN 202020511165 U CN202020511165 U CN 202020511165U CN 211993565 U CN211993565 U CN 211993565U
- Authority
- CN
- China
- Prior art keywords
- motor
- agitator tank
- fixedly connected
- mounting bracket
- puddler
- Prior art date
- Legal status (The legal status is an assumption and is not a legal conclusion. Google has not performed a legal analysis and makes no representation as to the accuracy of the status listed.)
- Expired - Fee Related
Links
- 238000003756 stirring Methods 0.000 claims abstract description 43
- 230000005540 biological transmission Effects 0.000 claims abstract description 8
- 239000000463 material Substances 0.000 claims description 10
- 238000009423 ventilation Methods 0.000 claims description 4
- 238000004140 cleaning Methods 0.000 description 8
- 238000000034 method Methods 0.000 description 2
- 239000000203 mixture Substances 0.000 description 2
- 230000008439 repair process Effects 0.000 description 2
- 230000009286 beneficial effect Effects 0.000 description 1
- 238000010276 construction Methods 0.000 description 1
- 239000000428 dust Substances 0.000 description 1
- 238000012423 maintenance Methods 0.000 description 1
- 230000002035 prolonged effect Effects 0.000 description 1
- 238000005406 washing Methods 0.000 description 1
- XLYOFNOQVPJJNP-UHFFFAOYSA-N water Substances O XLYOFNOQVPJJNP-UHFFFAOYSA-N 0.000 description 1
Images
Landscapes
- Mixers Of The Rotary Stirring Type (AREA)
Abstract
本实用新型涉及园林建造设备技术领域,公开了一种景观园林用混泥土搅拌器,包括底板,所述底板的上端固定连接有安装架,所述安装架的内侧设置有搅拌箱,所述搅拌箱与安装架之间铰接有转轴,所述安装架的一侧固定安装有第一电机,所述第一电机的输出端与转轴的一端传动连接,所述搅拌箱的内部开设有隐藏腔,所述隐藏腔的内部固定安装有第二电机,所述第二电机的输出端传动连接有搅拌杆,所述搅拌杆的外侧固定连接有搅拌叶,且搅拌杆的外侧固定连接有清扫架。本搅拌器不仅增加了对混泥土的搅拌效率,而且降低了施工人员的劳动强度,设置的清扫架跟随搅拌杆进行轴向转动,以此来对搅拌箱的内壁进行清理,从而可以防止混泥土粘连在搅拌箱的内壁上。
Description
技术领域
本实用新型涉及园林建造设备技术领域,具体是一种景观园林用混泥土搅拌器。
背景技术
在景观园林的维护过程中,经常需要使用混泥土来对围墙或路面进行修缮,传统对混泥进行搅拌的方式通常是由人工来完成,不仅对混泥的搅拌效率低,而且增加了人工的劳动强度,而大型搅拌设备的成本较高,并且在园林修缮的过程中无需大量的混泥,因而大型搅拌设备不适用园林的修缮。因此,我们提出一种适用于景观园林的混泥土搅拌设备。
实用新型内容
本实用新型的目的在于提供一种景观园林用混泥土搅拌器,以解决上述背景技术中提出的问题。
为实现上述目的,本实用新型提供如下技术方案:
一种景观园林用混泥土搅拌器,包括底板,所述底板的上端固定连接有安装架,所述安装架的内侧设置有搅拌箱,所述搅拌箱与安装架之间铰接有转轴,所述安装架的一侧固定安装有第一电机,所述第一电机的输出端与转轴的一端传动连接,所述搅拌箱的内部开设有隐藏腔,所述隐藏腔的内部固定安装有第二电机,所述第二电机的输出端传动连接有搅拌杆,所述搅拌杆的外侧固定连接有搅拌叶,且搅拌杆的外侧固定连接有清扫架,所述清扫架的一侧与搅拌箱的内壁滑动连接,所述搅拌箱的前侧镶嵌有输料座,所述输料座的出料口处铰接有限位板,且输料座的两侧均铰接有电动推杆,两个所述电动推杆的顶端分别与限位板的两侧铰接,所述底板上端的一侧位置固定连接有侧板,所述侧板的一侧固定安装有控制面板。
作为本实用新型进一步的方案:所述搅拌叶的结构为螺旋状。
作为本实用新型再进一步的方案:所述底板的上端固定安装有电源箱,所述控制面板的输入端与电源箱的输出端电性连接,所述第一电机、第二电机和电动推杆的输入端均与控制面板的输出端电性连接。
作为本实用新型再进一步的方案:所述搅拌箱的上端铰接有箱盖,所述箱盖的上端固定安装有观察窗。
作为本实用新型再进一步的方案:所述底板的底部且位于四个边角的位置均固定连接有万向轮,所述侧板远离安装架的一侧固定连接有一组推把。
作为本实用新型再进一步的方案:所述搅拌箱的外侧固定安装有透气网,且搅拌箱的透气网与隐藏腔的内部相连通。
与现有技术相比,本实用新型的有益效果是:
1、本搅拌器不仅增加了对混泥土的搅拌效率,而且降低了施工人员的劳动强度,设置的清扫架跟随搅拌杆进行轴向转动,以此来对搅拌箱的内壁进行清理,从而可以防止混泥土粘连在搅拌箱的内壁上,并且可以辅助进行混泥土的搅拌,也可用于事后对搅拌箱进行辅助清洗。
2、通过控制面板来控制第一电机进行工作,从而可以调节搅拌箱的倾斜角度,以便将混泥土从搅拌箱经输料座倒出,通过控制面板来控制电动推杆进行伸缩,以此来带动限位板进行轴向转动,从而可以调节输料座的出料口的大小,进而可以对混泥土的流速进行控制。
附图说明
图1为一种景观园林用混泥土搅拌器的结构示意图;
图2为一种景观园林用混泥土搅拌器的剖视图;
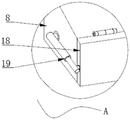
图3为一种景观园林用混泥土搅拌器中A的放大图。
图中:1、底板;2、万向轮;3、安装架;4、搅拌箱;5、第一电机;6、转轴;7、箱盖;8、输料座;9、观察窗;10、侧板;11、电源箱;12、控制面板;13、推把;14、隐藏腔;15、第二电机;16、搅拌杆;17、搅拌叶;18、限位板;19、电动推杆;20、清扫架。
具体实施方式
请参阅图1~3,本实用新型实施例中,一种景观园林用混泥土搅拌器,包括底板1,底板1的上端固定连接有安装架3,安装架3的内侧设置有搅拌箱4,搅拌箱4与安装架3之间铰接有转轴6,安装架3的一侧固定安装有第一电机5,第一电机5的输出端与转轴6的一端传动连接,搅拌箱4的内部开设有隐藏腔14,隐藏腔14的内部固定安装有第二电机15,第二电机15的输出端传动连接有搅拌杆16,搅拌杆16的外侧固定连接有搅拌叶17,搅拌杆16的外侧固定连接有清扫架20,清扫架20的一侧与搅拌箱4的内壁滑动连接,搅拌箱4的前侧镶嵌有输料座8,输料座8的出料口处铰接有限位板18,输料座8的两侧均铰接有电动推杆19,两个电动推杆19的顶端分别与限位板18的两侧铰接,底板1上端的一侧位置固定连接有侧板10,侧板10的一侧固定安装有控制面板12。
在图2中:搅拌叶17的结构为螺旋状。
通过采用上述方案,从而增大了对混泥土的搅拌幅度,进而使得混泥土的混合更加均匀。
在图1中:底板1的上端固定安装有电源箱11,控制面板12的输入端与电源箱11的输出端电性连接,第一电机5、第二电机15和电动推杆19的输入端均与控制面板12的输出端电性连接。
通过采用上述方案,从而可以通过电源箱11来对相关设备进行供电,进而增强了整体装置移动时的灵活性,并且通过控制面板12可以对相关设备的工作进行控制,以便混泥土搅拌的进行。
在图1中:搅拌箱4的上端铰接有箱盖7,箱盖7的上端固定安装有观察窗9。
通过采用上述方案,从而可以对搅拌箱4进行遮挡,防止在混泥搅拌的过程中进入异物,同时可以方便透过观察窗9来观察混泥土的搅拌情况。
在图1中:底板1的底部且位于四个边角的位置均固定连接有万向轮2,侧板10远离安装架3的一侧固定连接有一组推把13。
通过采用上述方案,从而可以方便对整体装置进行移动,而且万向轮2带有自锁功能,可以方便对整体装置的位置进行固定。
在图1和2中:搅拌箱4的外侧固定安装有透气网,且搅拌箱4的透气网与隐藏腔14的内部相连通。
通过采用上述方案,从而可以使得隐藏腔14内部的空气流通,以便对第二电机15进行散热,同时防止灰尘进入隐藏腔14,从而增强第二电机15的使用寿命。
本实用新型的工作原理是:当需要使用搅拌器时,通过对搅拌箱4的内部倒入一定比例的泥料和水,并通过控制面板12来控制第二电机15进行工作,以此来带动搅拌杆16和搅拌叶17进行旋转,从而对搅拌箱4内部的混泥土进行搅拌,使之均匀混合,此时,清扫架20跟随搅拌杆16进行轴向转动,以此来对搅拌箱4的内壁进行清理,防止混泥土粘连在搅拌箱4的内壁上,并且可以辅助进行混泥土的搅拌,当搅拌完成后,通过控制面板12来控制第一电机5进行工作,以此来调节搅拌箱4的倾斜角度,从而将混泥土从搅拌箱4经输料座8倒出,此时,可通过控制面板12来控制电动推杆19进行伸缩,以此来带动限位板18进行轴向转动,从而调节输料座8的出料口的大小,进而控制混泥土的流速,当需要对搅拌箱4的内壁进行清洗时,也可通过清扫架20来对搅拌箱4的内壁进行清理,从而增强了对搅拌箱4的清洗效果。
以上所述的,仅为本实用新型较佳的具体实施方式,但本实用新型的保护范围并不局限于此,任何熟悉本技术领域的技术人员在本实用新型揭露的技术范围内,根据本实用新型的技术方案及其实用新型构思加以等同替换或改变,都应涵盖在本实用新型的保护范围之内。
Claims (6)
1.一种景观园林用混泥土搅拌器,包括底板(1),其特征在于,所述底板(1)的上端固定连接有安装架(3),所述安装架(3)的内侧设置有搅拌箱(4),所述搅拌箱(4)与安装架(3)之间铰接有转轴(6),所述安装架(3)的一侧固定安装有第一电机(5),所述第一电机(5)的输出端与转轴(6)的一端传动连接,所述搅拌箱(4)的内部开设有隐藏腔(14),所述隐藏腔(14)的内部固定安装有第二电机(15),所述第二电机(15)的输出端传动连接有搅拌杆(16),所述搅拌杆(16)的外侧固定连接有搅拌叶(17),且搅拌杆(16)的外侧固定连接有清扫架(20),所述清扫架(20)的一侧与搅拌箱(4)的内壁滑动连接,所述搅拌箱(4)的前侧镶嵌有输料座(8),所述输料座(8)的出料口处铰接有限位板(18),且输料座(8)的两侧均铰接有电动推杆(19),两个所述电动推杆(19)的顶端分别与限位板(18)的两侧铰接,所述底板(1)上端的一侧位置固定连接有侧板(10),所述侧板(10)的一侧固定安装有控制面板(12)。
2.根据权利要求1所述的一种景观园林用混泥土搅拌器,其特征在于,所述搅拌叶(17)的结构为螺旋状。
3.根据权利要求1所述的一种景观园林用混泥土搅拌器,其特征在于,所述底板(1)的上端固定安装有电源箱(11),所述控制面板(12)的输入端与电源箱(11)的输出端电性连接,所述第一电机(5)、第二电机(15)和电动推杆(19)的输入端均与控制面板(12)的输出端电性连接。
4.根据权利要求1所述的一种景观园林用混泥土搅拌器,其特征在于,所述搅拌箱(4)的上端铰接有箱盖(7),所述箱盖(7)的上端固定安装有观察窗(9)。
5.根据权利要求1所述的一种景观园林用混泥土搅拌器,其特征在于,所述底板(1)的底部且位于四个边角的位置均固定连接有万向轮(2),所述侧板(10)远离安装架(3)的一侧固定连接有一组推把(13)。
6.根据权利要求1所述的一种景观园林用混泥土搅拌器,其特征在于,所述搅拌箱(4)的外侧固定安装有透气网,且搅拌箱(4)的透气网与隐藏腔(14)的内部相连通。
Priority Applications (1)
| Application Number | Priority Date | Filing Date | Title |
|---|---|---|---|
| CN202020511165.6U CN211993565U (zh) | 2020-04-09 | 2020-04-09 | 一种景观园林用混泥土搅拌器 |
Applications Claiming Priority (1)
| Application Number | Priority Date | Filing Date | Title |
|---|---|---|---|
| CN202020511165.6U CN211993565U (zh) | 2020-04-09 | 2020-04-09 | 一种景观园林用混泥土搅拌器 |
Publications (1)
| Publication Number | Publication Date |
|---|---|
| CN211993565U true CN211993565U (zh) | 2020-11-24 |
Family
ID=73404081
Family Applications (1)
| Application Number | Title | Priority Date | Filing Date |
|---|---|---|---|
| CN202020511165.6U Expired - Fee Related CN211993565U (zh) | 2020-04-09 | 2020-04-09 | 一种景观园林用混泥土搅拌器 |
Country Status (1)
| Country | Link |
|---|---|
| CN (1) | CN211993565U (zh) |
Cited By (2)
| Publication number | Priority date | Publication date | Assignee | Title |
|---|---|---|---|---|
| CN112895135A (zh) * | 2021-01-18 | 2021-06-04 | 深圳市世展建设有限公司 | 一种干混砂浆搅拌装置 |
| CN114654586A (zh) * | 2022-04-14 | 2022-06-24 | 厦门工学院 | 一种风景园林假山混凝土施工用定量搅拌装置 |
-
2020
- 2020-04-09 CN CN202020511165.6U patent/CN211993565U/zh not_active Expired - Fee Related
Cited By (4)
| Publication number | Priority date | Publication date | Assignee | Title |
|---|---|---|---|---|
| CN112895135A (zh) * | 2021-01-18 | 2021-06-04 | 深圳市世展建设有限公司 | 一种干混砂浆搅拌装置 |
| CN112895135B (zh) * | 2021-01-18 | 2021-12-10 | 深圳市世展建设有限公司 | 一种干混砂浆搅拌装置 |
| CN114654586A (zh) * | 2022-04-14 | 2022-06-24 | 厦门工学院 | 一种风景园林假山混凝土施工用定量搅拌装置 |
| CN114654586B (zh) * | 2022-04-14 | 2023-08-11 | 厦门工学院 | 一种风景园林假山混凝土施工用定量搅拌装置 |
Similar Documents
| Publication | Publication Date | Title |
|---|---|---|
| CN211993565U (zh) | 一种景观园林用混泥土搅拌器 | |
| CN108465438A (zh) | 一种便于清洁的湿法制粒机 | |
| CN108556167B (zh) | 一种塑料粉体物料干燥搅拌两用设备 | |
| CN215549707U (zh) | 一种建筑施工用搅拌机 | |
| CN208494067U (zh) | 一种建筑弃土污泥混合装置 | |
| CN219399950U (zh) | 一种轴通气式高效搅拌机 | |
| CN218286154U (zh) | 水泥成品辅料配料系统 | |
| CN218688706U (zh) | 一种玻璃制造用混料装置 | |
| CN215282637U (zh) | 一种混凝土搅拌装置 | |
| CN112720845B (zh) | 一种建筑领域用水泥搅拌装置 | |
| CN213377340U (zh) | 一种制造轻质建筑材料的混合喷涂设备 | |
| CN210910594U (zh) | 一种具有防尘功能的建筑水泥砂浆搅拌装置 | |
| CN220389828U (zh) | 一种具有防尘结构的搅拌机 | |
| CN208841613U (zh) | 一种生产塑胶粒子用搅拌机 | |
| CN208161405U (zh) | 一种练泥机的混合进料装置 | |
| CN215561779U (zh) | 一种市政工程用道路灌缝装置 | |
| CN218047626U (zh) | 一种防尘式搅拌机 | |
| CN220052311U (zh) | 一种混凝土高效加工装置 | |
| CN221412923U (zh) | 一种建筑涂料混合搅拌装置 | |
| CN218688333U (zh) | 一种合成树脂乳液砂壁状建筑涂料卧式搅拌釜 | |
| CN222131715U (zh) | 一种具有防尘功能的防水涂料搅拌机 | |
| CN216987296U (zh) | 一种防水涂料生产用混料装置 | |
| CN220261576U (zh) | 一种变色胶片生产用色粉混料机 | |
| CN208809621U (zh) | 一种用于龟鳖养殖的水处理装置 | |
| CN215363897U (zh) | 一种混凝土加工用下料装置 |
Legal Events
| Date | Code | Title | Description |
|---|---|---|---|
| GR01 | Patent grant | ||
| GR01 | Patent grant | ||
| CF01 | Termination of patent right due to non-payment of annual fee |
Granted publication date: 20201124 |
|
| CF01 | Termination of patent right due to non-payment of annual fee |