CN211989292U - Wood floor painting device - Google Patents
Wood floor painting device Download PDFInfo
- Publication number
- CN211989292U CN211989292U CN201922465885.3U CN201922465885U CN211989292U CN 211989292 U CN211989292 U CN 211989292U CN 201922465885 U CN201922465885 U CN 201922465885U CN 211989292 U CN211989292 U CN 211989292U
- Authority
- CN
- China
- Prior art keywords
- clamping
- connecting rod
- wood floor
- rod
- wood
- Prior art date
- Legal status (The legal status is an assumption and is not a legal conclusion. Google has not performed a legal analysis and makes no representation as to the accuracy of the status listed.)
- Expired - Fee Related
Links
Images
Landscapes
- Coating Apparatus (AREA)
Abstract
本实用新型具体涉及一种木地板上漆装置,属于木地板制造技术领域,所要解决的技术问题是提供一种可以自动完成木板双面喷漆工作的木地板上漆装置,采用的方案为:基架上滑动设置有木地板夹持部件,木地板夹持部件上连接有翻转电机,基架的中部上方固定有横架,横架与木地板夹持部件的横移方向垂直,上漆喷头设置于基架上方,上漆喷头的喷口朝下设置,上漆喷头上连接有连杆,连杆的另一端连接有连杆横移驱动部件,连杆横移驱动部件与横架连接,连杆横移驱动部件用于驱动连杆和上漆喷头沿横架往复移动;本实用新型通过将木地板和上漆喷头交叉水平移动,完成木地板的自动上漆工作。
The utility model specifically relates to a wood floor painting device, which belongs to the technical field of wood floor manufacturing. The technical problem to be solved is to provide a wood floor painting device that can automatically complete the double-sided painting of wood panels. The adopted scheme is as follows: A wooden floor holding part is slidably arranged on the frame, a turning motor is connected to the wooden floor holding part, a horizontal frame is fixed above the middle part of the base frame, and the horizontal frame is perpendicular to the lateral movement direction of the wooden floor holding part, and the painting nozzle is arranged Above the base frame, the nozzle of the paint spray head is arranged downward, the paint spray head is connected with a connecting rod, the other end of the connecting rod is connected with a connecting rod traverse driving part, the connecting rod traverse driving part is connected with the horizontal frame, and the connecting rod is connected to the horizontal frame. The traverse driving component is used to drive the connecting rod and the paint spray head to reciprocate along the horizontal frame; the utility model completes the automatic paint work of the wooden floor by moving the wooden floor and the paint spray head horizontally.
Description
技术领域technical field
本实用新型属于木地板制造技术领域,具体涉及一种木地板上漆装置。The utility model belongs to the technical field of wood floor manufacturing, in particular to a wood floor painting device.
背景技术Background technique
随着经济的发展,现代人们生活水平越来越好,对生活品质的追求也越来越高,在室内地面铺装材料中木质地板被广泛的应用。现有木地板加工企业,给木地板上漆时,一般都是工作人员手持油漆喷枪给木板进行喷漆,喷漆一面之后,需要人工翻转木地板,再完成木地板另一面喷漆,这样不仅需要花费大量的人力和物力,费时费力,而且会出现重复喷漆和漏喷现象,加工效果不好。With the development of the economy, modern people's living standards are getting better and better, and the pursuit of quality of life is also getting higher and higher. Wooden floors are widely used in indoor floor covering materials. In existing wood floor processing enterprises, when painting the wood floor, the staff generally sprays the wood with a paint spray gun. After painting one side, the wood floor needs to be turned over manually, and then the other side of the wood floor is painted, which not only costs a lot of money The manpower and material resources are time-consuming and labor-intensive, and there will be repeated spraying and missing spraying, and the processing effect is not good.
实用新型内容Utility model content
本实用新型克服了现有技术存在的不足,提供了一种木地板上漆装置,可以自动完成木板双面的喷漆工作,而且喷漆均匀,不会出现重复喷漆和漏喷现象,喷漆效果良好。The utility model overcomes the deficiencies of the prior art and provides a wood floor painting device, which can automatically complete the painting work on both sides of the wood board, and the painting is uniform, without repeated painting and leakage, and the painting effect is good.
为了解决上述技术问题,本实用新型采用的技术方案为:一种木地板上漆装置,包括:基架、木地板夹持部件、翻转电机、上漆喷头、连杆、连杆横移驱动部件和横架,方形的所述基架上滑动设置有所述木地板夹持部件,所述木地板夹持部件可以沿所述基架水平往复移动,所述木地板夹持部件上连接有所述翻转电机,所述翻转电机用于驱动所述木地板夹持部件和所述木地板翻转,所述基架的中部上方固定有所述横架,所述横架与所述木地板夹持部件的横移方向垂直,所述上漆喷头设置于所述基架上方,所述上漆喷头的喷口朝下设置,所述上漆喷头上连接有所述连杆,所述连杆的另一端连接有所述连杆横移驱动部件,所述连杆横移驱动部件与所述横架连接,所述连杆横移驱动部件用于驱动所述连杆和所述上漆喷头沿所述横架往复移动。In order to solve the above-mentioned technical problems, the technical scheme adopted by the present utility model is: a wood floor painting device, comprising: a base frame, a wood floor clamping part, a turning motor, a painting nozzle, a connecting rod, and a connecting rod traverse driving part and a horizontal frame, the square base frame is slidably provided with the wooden floor clamping part, the wooden floor clamping part can move back and forth horizontally along the base frame, and the wooden floor clamping part is connected with a The turning motor is used to drive the wooden floor clamping part and the wooden floor to turn over, the horizontal frame is fixed above the middle part of the base frame, and the horizontal frame is clamped with the wooden floor The transverse movement direction of the component is vertical, the paint spray head is arranged above the base frame, the spray nozzle of the paint spray head is arranged downward, the paint spray head is connected with the connecting rod, and the other side of the connecting rod is connected. One end is connected with the connecting rod traverse driving part, the connecting rod traverse driving part is connected with the cross frame, and the connecting rod traverse driving part is used to drive the connecting rod and the paint spraying head along the The horizontal frame moves back and forth.
所述木地板上漆装置还包括:驱动杆、驱动杆横移驱动部件、滑槽和滑块,所述基架的一侧设置有水平的所述滑槽,所述滑槽内卡接有所述滑块,所述滑块可以沿所述滑槽往复移动,所述滑块与所述驱动杆的一端连接,所述驱动杆的另一端连接有所述驱动杆横移驱动部件,所述驱动杆上方固定有所述木地板夹持部件。The wooden floor painting device also includes: a driving rod, a driving rod traversing driving part, a chute and a slider, one side of the base frame is provided with the horizontal chute, and the chute is clamped with a The sliding block can move back and forth along the chute, the sliding block is connected with one end of the driving rod, and the other end of the driving rod is connected with the driving rod traverse driving component, so The wooden floor clamping part is fixed above the driving rod.
所述木地板夹持部件包括:连接柱、横杆、双向伸缩气缸和夹杆,轴向水平的所述连接柱内套设有所述横杆,所述横杆与所述连接柱同轴设置,所述横杆可相对于所述连接柱转动, 所述横杆的一端与所述双向伸缩气缸的筒体固定,所述双向伸缩气缸的活塞杆与所述滑槽平行设置,所述双向伸缩气缸的活塞杆端部固定有垂直所述活塞杆的所述夹杆,所述夹杆用于夹紧所述木地板的两端。The wooden floor clamping component includes: a connecting column, a cross bar, a two-way telescopic cylinder and a clamping bar. The horizontal connecting column is sleeved with the horizontal bar, and the horizontal bar is coaxial with the connecting column. The cross bar is rotatable relative to the connecting column, one end of the cross bar is fixed to the cylinder of the two-way telescopic cylinder, the piston rod of the two-way telescopic cylinder is arranged in parallel with the chute, the The end of the piston rod of the two-way telescopic cylinder is fixed with the clamping rod perpendicular to the piston rod, and the clamping rod is used for clamping both ends of the wooden floor.
所述连杆横移驱动部件包括:二号电机、二号丝杆和二号螺母,所述横架内部设置有孔槽,且所述孔槽上设置有水平的条形槽口,所述二号丝杆设置于所述孔槽内,所述二号丝杆可相对于所述横架自转,所述二号丝杆与所述二号电机的输出轴同轴固定,所述二号电机与所述横架固定,所述二号螺母套设于所述二号丝杆上,所述连杆贯穿所述条形槽口与所述二号螺母固定。The connecting rod traverse driving component includes: No. 2 motor, No. 2 screw rod and No. 2 nut, a hole groove is arranged inside the horizontal frame, and a horizontal strip slot is arranged on the hole groove, and the The No. 2 screw rod is arranged in the hole and slot, the No. 2 screw rod can rotate relative to the horizontal frame, the No. 2 screw rod is coaxially fixed with the output shaft of the No. 2 motor, and the No. 2 screw rod is fixed coaxially with the output shaft of the No. 2 motor. The motor is fixed to the horizontal frame, the No. 2 nut is sleeved on the No. 2 screw rod, and the connecting rod penetrates the strip slot and is fixed to the No. 2 nut.
所述驱动杆横移驱动部件包括:一号丝杆、一号电机和一号螺母,所述一号丝杆平行所述滑槽设置于所述基架内部,所述一号丝杆的一端与所述一号电机的输出轴同轴固定,所述一号电机与所述基架固定,所述一号丝杆的另一端与所述基架轴承连接,所述一号丝杆上套设有所述一号螺母,所述一号螺母与所述驱动杆固定。The drive rod traverse driving component includes: a No. 1 screw rod, a No. 1 motor and a No. 1 nut, the No. 1 screw rod is arranged inside the base frame parallel to the chute, and one end of the No. 1 screw rod is It is coaxially fixed with the output shaft of the No. 1 motor, the No. 1 motor is fixed to the base frame, the other end of the No. 1 screw rod is connected to the bearing of the base frame, and the No. 1 screw rod is sleeved The No. 1 nut is provided, and the No. 1 nut is fixed with the driving rod.
所述夹杆上连接有V型夹槽,所述V型夹槽为长条状,两个所述夹杆上的所述V型夹槽槽口相对,所述V型夹槽用于夹持所述木地板。The clamping rod is connected with a V-shaped clamping groove, the V-shaped clamping groove is a long strip, the V-shaped clamping grooves on the two clamping rods are opposite to each other, and the V-shaped clamping groove is used for clamping Hold the wooden floor.
所述V型夹槽的V型槽内表面固定有防滑层。An anti-skid layer is fixed on the inner surface of the V-shaped groove of the V-shaped clip groove.
所述横杆与所述连接柱轴承连接。The cross bar is connected with the connecting column bearing.
所述二号丝杆与所述横架平行设置,所述二号丝杆与所述横架轴承连接。The No. 2 screw rod is arranged in parallel with the horizontal frame, and the No. 2 screw rod is connected with the bearing of the horizontal frame.
使用方法:木地板的两端夹持在所述木地板夹持部件中,将木地板设置至水平状态,开启一号电机,木地板向基架另一端缓慢移动,当木地板移动至上漆喷头下方时,上漆喷头向木地板喷漆,且上漆喷头在木地板上方横向移动,上漆喷头的横移方向与木地板的横移方向垂直,在此过程中,将木地板的一面完成喷漆工作,木地板移动至基架另一端时,翻转电机开启,将木地板旋转180度,然后,一号电机反转,木地板往回移动,上漆喷头向木地板的另一面喷漆,木地板回移至基架初始端时,完成木地板的喷漆工作。How to use: The two ends of the wooden floor are clamped in the wooden floor holding parts, the wooden floor is set to a horizontal state, the No. 1 motor is turned on, and the wooden floor moves slowly to the other end of the base frame. When the wooden floor moves to the painting nozzle When it is down, the painting nozzle sprays paint to the wooden floor, and the painting nozzle moves laterally above the wooden floor. The lateral movement direction of the painting nozzle is perpendicular to the lateral movement direction of the wooden floor. During this process, the side of the wooden floor is painted. Work, when the wooden floor moves to the other end of the base frame, the flip motor is turned on, and the wooden floor is rotated 180 degrees. Then, the No. 1 motor is reversed, the wooden floor moves back, and the paint sprayer sprays the other side of the wooden floor, and the wooden floor Finish painting the wood floors when moving back to the original end of the base frame.
本实用新型与现有技术相比具有以下有益效果。Compared with the prior art, the utility model has the following beneficial effects.
一、本实用新型通过将木地板和上漆喷头交叉水平移动,完成木地板的自动上漆工作,不会出现重复喷漆和漏喷现象,且喷漆均匀。1. The utility model completes the automatic painting work of the wood floor by moving the wood floor and the painting nozzles horizontally, without repeated painting and leakage, and the painting is uniform.
二、本实用新型的木地板夹持部件上还设置有翻转电机,当完成木地板一侧的喷漆动作后,木地板在翻转电机的驱动下翻转180度,自动完成木地板另一侧的喷漆动作,节省了人力,降低了工作人员的劳动量。2. The wooden floor clamping part of the present utility model is also provided with a flipping motor. When the painting action on one side of the wooden floor is completed, the wooden floor is turned 180 degrees under the drive of the flipping motor, and the painting on the other side of the wooden floor is automatically completed. The action saves manpower and reduces the workload of the staff.
附图说明Description of drawings
下面结合附图对本实用新型做进一步的说明。The utility model will be further described below in conjunction with the accompanying drawings.
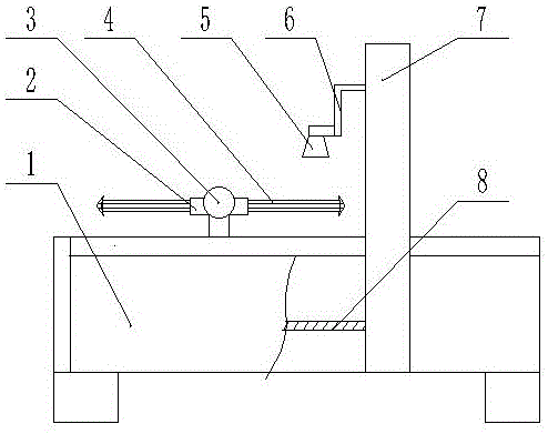
图1为本实用新型木地板上漆装置的正视图。Figure 1 is a front view of the utility model wood floor painting device.
图2为本实用新型木地板上漆装置的俯视局部剖视图。FIG. 2 is a partial cross-sectional view of the top plan view of the wood floor painting device of the present invention.
图3为本实用新型木地板上漆装置的左视图。Figure 3 is a left side view of the wood floor painting device of the present invention.
图4为本实用新型木地板上漆装置的左视局部剖视图。FIG. 4 is a left partial cross-sectional view of the wooden floor painting device of the present invention.
图5为本实用新型木地板夹持部件的左视图。FIG. 5 is a left side view of the wooden floor clamping part of the present invention.
图6为本实用新型A-A面剖视图。Figure 6 is a cross-sectional view of the utility model A-A.
图中:1为基架,2为木地板夹持部件,3为翻转电机,4为木地板,5为上漆喷头,6为连杆,7为横架,8为一号丝杆,9为一号电机,10为二号电机,11为二号丝杆,12为驱动杆,13为滑块,14为滑槽,15为连接柱,16为双向伸缩气缸,17为夹杆,18为V型夹槽。In the picture: 1 is the base frame, 2 is the wooden floor clamping part, 3 is the turning motor, 4 is the wooden floor, 5 is the painting nozzle, 6 is the connecting rod, 7 is the horizontal frame, 8 is the No. 1 screw, 9 No. 1 motor, 10, No. 2 motor, 11, No. 2 lead screw, 12, drive rod, 13, slider, 14, chute, 15, connecting column, 16, two-way telescopic cylinder, 17, clamp rod, 18 For the V-clamp groove.
具体实施方式Detailed ways
下面结合具体实施例做进一步的说明。Further description will be given below in conjunction with specific embodiments.
一种木地板上漆装置,包括:基架1、木地板夹持部件2、翻转电机3、上漆喷头5、连杆6、连杆横移驱动部件和横架7,方形的所述基架1上滑动设置有所述木地板夹持部件2,所述木地板夹持部件2可以沿所述基架1水平往复移动,所述木地板夹持部件2上连接有所述翻转电机3,所述翻转电机3用于驱动所述木地板夹持部件2和所述木地板4翻转,所述基架1的中部上方固定有所述横架7,所述横架7与所述木地板夹持部件2的横移方向垂直,所述上漆喷头5设置于所述基架1上方,所述上漆喷头5的喷口朝下设置,所述上漆喷头5上连接有所述连杆6,所述连杆6的另一端连接有所述连杆横移驱动部件,所述连杆横移驱动部件与所述横架7连接,所述连杆横移驱动部件用于驱动所述连杆6和所述上漆喷头5沿所述横架7往复移动。A wood floor painting device, comprising: a
所述木地板上漆装置还包括:驱动杆12、驱动杆横移驱动部件、滑槽14和滑块13,所述基架1的一侧设置有水平的所述滑槽14,所述滑槽14内卡接有所述滑块13,所述滑块13可以沿所述滑槽14往复移动,所述滑块13与所述驱动杆12的一端连接,所述驱动杆12的另一端连接有所述驱动杆横移驱动部件,所述驱动杆12上方固定有所述木地板夹持部件2。The wooden floor painting device further comprises: a
所述木地板夹持部件2包括:连接柱15、横杆、双向伸缩气缸16和夹杆17,轴向水平的所述连接柱15内套设有所述横杆,所述横杆与所述连接柱15同轴设置,所述横杆可相对于所述连接柱15转动, 所述横杆的一端与所述双向伸缩气缸16的筒体固定,所述双向伸缩气缸16的活塞杆与所述滑槽14平行设置,所述双向伸缩气缸16的活塞杆端部固定有垂直所述活塞杆的所述夹杆17,所述夹杆17用于夹紧所述木地板4的两端。The wooden
所述连杆横移驱动部件包括:二号电机10、二号丝杆11和二号螺母,所述横架7内部设置有孔槽,且所述孔槽上设置有水平的条形槽口,所述二号丝杆11设置于所述孔槽内,所述二号丝杆11可相对于所述横架7自转,所述二号丝杆11与所述二号电机10的输出轴同轴固定,所述二号电机10与所述横架7固定,所述二号螺母套设于所述二号丝杆11上,所述连杆6贯穿所述条形槽口与所述二号螺母固定。The connecting rod traverse driving component includes: the No. 2
所述驱动杆横移驱动部件包括:一号丝杆8、一号电机9和一号螺母,所述一号丝杆8平行所述滑槽14设置于所述基架1内部,所述一号丝杆8的一端与所述一号电机9的输出轴同轴固定,所述一号电机9与所述基架1固定,所述一号丝杆8的另一端与所述基架1轴承连接,所述一号丝杆8上套设有所述一号螺母,所述一号螺母与所述驱动杆12固定。The drive rod traverse driving component includes: a No. 1
所述夹杆17上连接有V型夹槽18,所述V型夹槽18为长条状,两个所述夹杆17上的所述V型夹槽18槽口相对,所述V型夹槽18用于夹持所述木地板4。The
所述V型夹槽18的V型槽内表面固定有防滑层。An anti-skid layer is fixed on the inner surface of the V-shaped groove of the V-
所述横杆与所述连接柱15轴承连接。The cross bar is bearing-connected with the connecting
所述二号丝杆11与所述横架7平行设置,所述二号丝杆11与所述横架7轴承连接。The No. 2
上述实施方式仅示例性说明本实用新型的原理及其效果,而非用于限制本实用新型。对于熟悉此技术的人皆可在不违背本实用新型的精神及范畴下,对上述实施例进行修饰或改进。因此,凡举所述技术领域中具有通常知识者在未脱离本实用新型所揭示的精神与技术思想下所完成的一切等效修饰或改变,仍应由本实用新型的权利要求所涵盖。The above-mentioned embodiments merely illustrate the principles and effects of the present invention, and are not intended to limit the present invention. Those skilled in the art can modify or improve the above embodiments without departing from the spirit and scope of the present invention. Therefore, all equivalent modifications or changes made by those with ordinary knowledge in the technical field without departing from the spirit and technical idea disclosed by the present invention shall still be covered by the claims of the present invention.
Claims (9)
Priority Applications (1)
| Application Number | Priority Date | Filing Date | Title |
|---|---|---|---|
| CN201922465885.3U CN211989292U (en) | 2019-12-31 | 2019-12-31 | Wood floor painting device |
Applications Claiming Priority (1)
| Application Number | Priority Date | Filing Date | Title |
|---|---|---|---|
| CN201922465885.3U CN211989292U (en) | 2019-12-31 | 2019-12-31 | Wood floor painting device |
Publications (1)
| Publication Number | Publication Date |
|---|---|
| CN211989292U true CN211989292U (en) | 2020-11-24 |
Family
ID=73429123
Family Applications (1)
| Application Number | Title | Priority Date | Filing Date |
|---|---|---|---|
| CN201922465885.3U Expired - Fee Related CN211989292U (en) | 2019-12-31 | 2019-12-31 | Wood floor painting device |
Country Status (1)
| Country | Link |
|---|---|
| CN (1) | CN211989292U (en) |
Cited By (1)
| Publication number | Priority date | Publication date | Assignee | Title |
|---|---|---|---|---|
| CN112619937A (en) * | 2020-12-01 | 2021-04-09 | 温州乔断机械科技有限公司 | Surface coloring device with dislocation-preventing repair structure for stainless steel plate |
-
2019
- 2019-12-31 CN CN201922465885.3U patent/CN211989292U/en not_active Expired - Fee Related
Cited By (2)
| Publication number | Priority date | Publication date | Assignee | Title |
|---|---|---|---|---|
| CN112619937A (en) * | 2020-12-01 | 2021-04-09 | 温州乔断机械科技有限公司 | Surface coloring device with dislocation-preventing repair structure for stainless steel plate |
| CN112619937B (en) * | 2020-12-01 | 2022-04-08 | 宁波佑戈不锈钢科技有限公司 | Surface coloring device with dislocation-preventing repair structure for stainless steel plate |
Similar Documents
| Publication | Publication Date | Title |
|---|---|---|
| CN206240695U (en) | A kind of spray structure of metope spray-painting plant | |
| CN103230856B (en) | The vertical roll coater of a kind of flat mouth door leaf side | |
| CN211989292U (en) | Wood floor painting device | |
| CN205736421U (en) | Printing cylinder cleaning device | |
| CN107649319A (en) | A kind of easy to operate uniform paint-spray robot | |
| CN105773566A (en) | Manual line marking wheel | |
| CN205599394U (en) | Cylindrical ceramic is clamping device for product with heating device | |
| CN208583521U (en) | A kind of timber rotates paint spraying apparatus automatically | |
| CN211989319U (en) | A pipe antirust paint spraying device | |
| CN218223036U (en) | High-pressure spraying equipment capable of spraying at multiple angles | |
| CN108212601A (en) | A kind of timber floor paint spraying apparatus | |
| CN220590432U (en) | Door surface spraying equipment for wooden door processing | |
| CN211937553U (en) | Quick painting device for wood floor | |
| CN111745760A (en) | A double-sided binding device for plates | |
| CN203265023U (en) | Vertical roll coater machine for sides of flat-opening door leaf | |
| CN108129165A (en) | A kind of high-efficiency ceramic glaze spraying equipment | |
| CN221694031U (en) | An environmentally friendly door spraying device capable of evenly spraying | |
| CN209997839U (en) | fan paint spraying device | |
| CN209832071U (en) | A preform inner glazing machine | |
| CN211726332U (en) | Wood door paint spraying machine | |
| CN208512853U (en) | A kind of timber floor paint spraying apparatus | |
| CN221714622U (en) | Even painting device for furniture manufacturing | |
| CN219702341U (en) | Paint spraying equipment convenient to even spraying | |
| CN220780950U (en) | Wooden toy painting equipment | |
| CN209423898U (en) | A kind of woodwork coating spray equipment |
Legal Events
| Date | Code | Title | Description |
|---|---|---|---|
| GR01 | Patent grant | ||
| GR01 | Patent grant | ||
| CF01 | Termination of patent right due to non-payment of annual fee |
Granted publication date: 20201124 |
|
| CF01 | Termination of patent right due to non-payment of annual fee |
