CN211983899U - Protective mask for preventing glasses from fogging - Google Patents
Protective mask for preventing glasses from fogging Download PDFInfo
- Publication number
- CN211983899U CN211983899U CN202020239366.5U CN202020239366U CN211983899U CN 211983899 U CN211983899 U CN 211983899U CN 202020239366 U CN202020239366 U CN 202020239366U CN 211983899 U CN211983899 U CN 211983899U
- Authority
- CN
- China
- Prior art keywords
- mask
- protective
- strip
- waterproof
- fixedly connected
- Prior art date
- Legal status (The legal status is an assumption and is not a legal conclusion. Google has not performed a legal analysis and makes no representation as to the accuracy of the status listed.)
- Expired - Fee Related
Links
Images
Landscapes
- Respiratory Apparatuses And Protective Means (AREA)
Abstract
本实用新型公开了一种防眼镜起雾的防护口罩,包括防护罩主体,所述防护罩主体正面固定连接有挂带固定条,所述挂带固定条背面固定连接有挂带,所述防护罩主体正面固定连接有防水口鼻罩,所述防水口鼻罩底部设置有防护过滤网,所述防护罩主体正面固定连接有冷凝吸水条,所述防护罩主体背面固定连接有密封海绵体,所述防水口鼻罩内部固定连接有金属定型条。该防眼镜起雾的防护口罩,通过在医用口罩外额外佩戴,并设置防水口鼻罩在口鼻的位置,使口鼻呼吸出的气流在防水口鼻罩底部排出,其防护过滤网的面积较大,且防护过滤网下的冷凝吸水条能使呼吸出的热气迅速冷凝成水并被吸干,达到了呼吸顺畅且有效防止防护眼镜起雾的效果。
The utility model discloses a protective mask for preventing glasses from fogging. A waterproof mouth and nose mask is fixedly connected to the front of the cover body, a protective filter is arranged at the bottom of the waterproof mouth and nose cover, a condensation water absorption strip is fixedly connected to the front of the shield body, and a sealing sponge is fixedly connected to the back of the shield body. A metal shaping strip is fixedly connected inside the waterproof mouth-nose cover. The protective mask for preventing fogging of glasses is additionally worn outside the medical mask, and the waterproof mouth and nose mask is placed at the position of the mouth and nose, so that the airflow breathed out of the mouth and nose is discharged at the bottom of the waterproof mouth and nose mask, and the area of the protective filter mesh is It is large, and the condensation water absorption strip under the protective filter can quickly condense the breathed hot air into water and be sucked dry, achieving the effect of smooth breathing and effectively preventing the fogging of the protective glasses.
Description
技术领域technical field
本实用新型涉及医疗设备技术领域,尤其涉及一种防眼镜起雾的防护口罩。The utility model relates to the technical field of medical equipment, in particular to a protective mask for preventing glasses from fogging.
背景技术Background technique
在对呼吸道传染性疾病患者的诊疗护理工作中,医务人员需要穿着防护服,戴着口罩、面屏和护目镜,以实现自身防护。但是眼镜或者护目镜会被呼吸产生的雾气弄模糊,非常影响医务人员正常工作。In the diagnosis and care of patients with respiratory infectious diseases, medical staff need to wear protective clothing, masks, face shields and goggles to achieve self-protection. However, glasses or goggles will be blurred by the fog generated by breathing, which greatly affects the normal work of medical staff.
在申请公布号CN206659185U的中国实用新型专利中公开了一种防眼镜起雾式口罩,罩体两侧设有挂环,罩体中部设有开口,罩体正面设有盖住开口的滤盖,罩体背面在开口上方左右对称设有一对遮气帘,遮气帘上端与罩体固定,下端为自由端,且自由端与罩体背面留有进气间隙,来防止起雾。但是,遮气帘只是在开口上方左右对称设置,其横向面积不能完全覆盖人呼气时向上的气流,容易使小部分气流窜出使得眼镜雾化。因此,亟待提供一种新型防眼镜起雾装置,来解决这一问题。The Chinese utility model patent with application publication number CN206659185U discloses an anti-spectacle fogging mask, with hanging rings on both sides of the cover, an opening in the middle of the cover, and a filter cover covering the opening on the front of the cover. The back of the cover body is provided with a pair of air-shielding curtains symmetrically above the opening. The upper end of the air-shielding curtain is fixed with the cover body, and the lower end is a free end, and an air intake gap is left between the free end and the back of the cover body to prevent fogging. However, the air-shielding curtain is only symmetrically arranged above the opening, and its lateral area cannot completely cover the upward airflow when a person exhales, and it is easy for a small part of the airflow to escape and atomize the glasses. Therefore, it is urgent to provide a novel anti-fogging device for glasses to solve this problem.
实用新型内容Utility model content
(一)解决的技术问题(1) Technical problems solved
本实用新型的目的在于提供一种防眼镜起雾的防护口罩,以解决现有的防眼镜起雾式口罩不能全面防止眼镜被雾化的问题。The purpose of the utility model is to provide a protective mask for preventing glasses from fogging, so as to solve the problem that the existing glasses-proof fogging masks cannot completely prevent glasses from being fogged.
(二)技术方案(2) Technical solutions
为实现上述防眼镜起雾的防护口罩解决现有的防眼镜起雾式口罩不能全面防止眼镜被雾化的问题,本实用新型提供如下技术方案:In order to realize the above-mentioned anti-fogging protective mask for glasses to solve the problem that the existing anti-fogging masks for glasses cannot completely prevent glasses from being atomized, the present utility model provides the following technical solutions:
一种防眼镜起雾的防护口罩,包括防护罩主体,所述防护罩主体正面固定连接有挂带固定条,所述挂带固定条背面固定连接有挂带,所述防护罩主体正面固定连接有防水口鼻罩,所述防水口鼻罩底部设置有防护过滤网,所述防护罩主体正面固定连接有冷凝吸水条,所述防护罩主体背面固定连接有密封海绵体,所述防水口鼻罩内部固定连接有金属定型条;所述冷凝吸水条包括多层冷凝金属网、吸水层,所述多层冷凝金属网嵌入在吸水层中。A protective mask for preventing glasses from fogging, comprising a protective cover main body, a lanyard fixing strip is fixedly connected to the front of the protective cover main body, a lanyard is fixedly connected to the back of the lanyard fixing strip, and the front of the protective cover main body is fixedly connected There is a waterproof mouth and nose mask, the bottom of the waterproof mouth and nose mask is provided with a protective filter, the front of the main body of the protective cover is fixedly connected with a condensation water absorption strip, the back of the main body of the protective cover is fixedly connected with a sealing sponge, the waterproof mouth and nose is A metal shaping strip is fixedly connected inside the cover; the condensation water absorption strip includes a multi-layer condensation metal mesh and a water absorption layer, and the multi-layer condensation metal mesh is embedded in the water absorption layer.
优选的,所述挂带固定条分别位于防护罩主体的左右两侧,且高度与防护罩主体的高度相同。Preferably, the strap fixing strips are respectively located on the left and right sides of the protective cover main body, and the height is the same as that of the protective cover main body.
优选的,所述挂带的两端均固定连接在挂带固定条和防护罩主体的连接处,所述挂带的长度与口罩的挂带长度相适配,且略宽于口罩的挂带。Preferably, both ends of the lanyard are fixedly connected to the connection between the lanyard fixing strip and the main body of the protective cover, and the length of the lanyard matches the length of the lanyard of the mask, and is slightly wider than the lanyard of the mask .
优选的,所述防水口鼻罩的形状与N口罩形状类似,且防护罩主体与防水口鼻罩背面连接处开设有贯穿孔,与防水口鼻罩相适配。Preferably, the shape of the waterproof oral and nasal mask is similar to the shape of the N mask, and the connection between the main body of the protective cover and the back of the waterproof oral and nasal mask is provided with a through hole, which is adapted to the waterproof oral and nasal mask.
优选的,所述冷凝吸水条位于防护过滤网底部,且冷凝吸水条为裸露的可弯曲的金属条。Preferably, the condensation water absorption strip is located at the bottom of the protective filter screen, and the condensation water absorption strip is a bare bendable metal strip.
优选的,所述密封海绵体的与防水口鼻罩的背面相适配,所述金属定型条分为左右两部分,且顶部连接处为活动连接,并位于防水口鼻罩的内部。Preferably, the sealing sponge body is adapted to the back of the waterproof oral-nasal mask, the metal shaping strip is divided into left and right parts, and the top connection is movably connected and located inside the waterproof oral-nasal mask.
(三)有益效果(3) Beneficial effects
与现有技术相比,本实用新型提供了一种防眼镜起雾的防护口罩,具备以下有益效果:通过设置防水口鼻罩使口鼻呼吸出的气流在防水口鼻罩底部排出,其防护过滤网的面积较大,且防护过滤网下设置冷凝吸水条,冷凝吸水条包括多层冷凝金属网、吸水层,冷凝金属网能使呼吸出的热气迅速冷凝,然后由吸水层吸干,有效防止眼镜起雾。且通过在防水口鼻罩背面设置密封海绵体、金属定型条,达到了密封性好且佩戴舒适的效果。Compared with the prior art, the utility model provides a protective mask for preventing fogging of glasses, which has the following beneficial effects: by setting a waterproof mouth-nose mask, the airflow breathed out of the mouth and nose is discharged at the bottom of the waterproof mouth-nose mask, and the protective mask is protected. The area of the filter screen is large, and the condensation water absorption strip is arranged under the protective filter mesh. The condensation water absorption strip includes a multi-layer condensation metal mesh and a water absorption layer. Prevent glasses from fogging up. And by arranging a sealing sponge body and a metal shaping strip on the back of the waterproof mouth-nose cover, the effect of good sealing and comfortable wearing is achieved.
附图说明Description of drawings
图1为本实用新型结构示意图;Fig. 1 is the structural representation of the utility model;
图2为本实用新型防护过滤网结构示意图;2 is a schematic structural diagram of a protective filter screen of the present invention;
图3为本实用新型结构后视图;Fig. 3 is the rear view of the structure of the utility model;
图4为本实用新型金属定型条结构示意图;Fig. 4 is the structural schematic diagram of the metal shaping strip of the present invention;
图5为本实用新型冷凝吸水条侧面图;Fig. 5 is the side view of the condensation water absorption strip of the utility model;
图6为本实用新型冷凝吸水条内的金属网结构示意图。6 is a schematic diagram of the structure of the metal mesh in the condensation water absorption strip of the present invention.
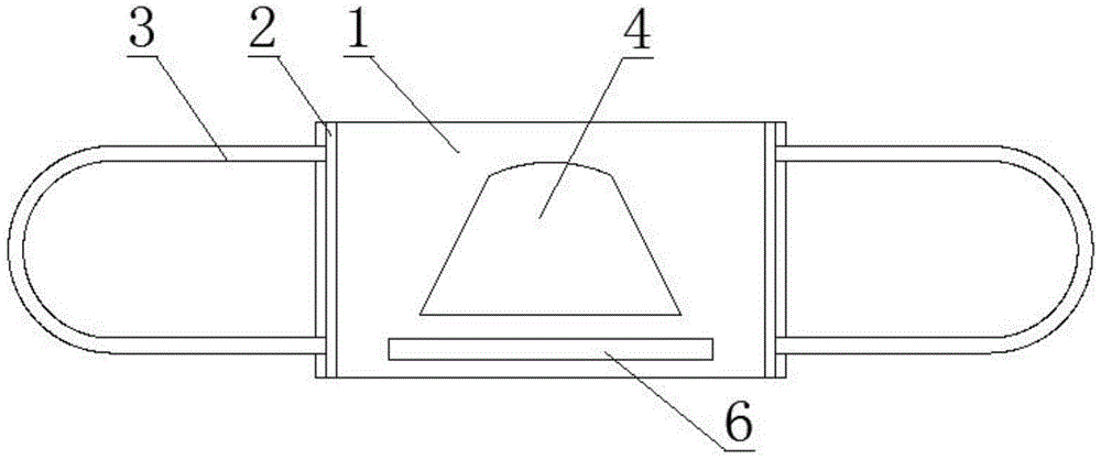
其中:1、防护罩主体;2、挂带固定条;3、挂带;4、防水口鼻罩;5、防护过滤网;6、冷凝吸水条;7、密封海绵体;8、金属定型条;61、冷凝金属网;62、吸水层。Among them: 1. Main body of the protective cover; 2. Strap fixing strip; 3. Strap; 4. Waterproof mouth and nose mask; 5. Protective filter; ; 61. Condensing metal mesh; 62. Water-absorbing layer.
具体实施方式Detailed ways
下面将结合本实用新型实施例中的附图,对本实用新型实施例中的技术方案进行清楚、完整地描述,显然,所描述的实施例仅仅是本实用新型一部分实施例,而不是全部的实施例。基于本实用新型中的实施例,本领域普通技术人员在没有作出创造性劳动前提下所获得的所有其他实施例,都属于本实用新型保护的范围。The technical solutions in the embodiments of the present utility model will be clearly and completely described below with reference to the accompanying drawings in the embodiments of the present utility model. Obviously, the described embodiments are only a part of the embodiments of the present utility model, rather than all the implementations. example. Based on the embodiments of the present invention, all other embodiments obtained by those of ordinary skill in the art without creative work fall within the protection scope of the present invention.
如图1-6所示,一种防眼镜起雾的防护口罩,包括防护罩主体1,防护罩主体1正面固定连接有挂带固定条2,挂带固定条2分别位于防护罩主体1的左右两侧,且高度与防护罩主体1的高度相同,挂带固定条2背面固定连接有挂带3,挂带3的两端均固定连接在挂带固定条2和防护罩主体1的连接处,挂带3的长度与口罩的挂带长度相适配,且略宽于口罩的挂带,防护罩主体1正面固定连接有防水口鼻罩4,防水口鼻罩4用于使呼吸排出的水汽不扩散,只能充防水口鼻罩4的底部排出,防水口鼻罩4的形状与N95口罩形状类似,且防护罩主体1与防水口鼻罩4背面连接处开设有贯穿孔,贯穿孔是为了所佩戴的口罩能够位于防水口鼻罩4内部,与防水口鼻罩4相适配,防水口鼻罩4底部设置有防护过滤网5,防护过滤网5能让内部的医用口罩的防护效果更好,且提高空气的流畅性,让医护人员不会有气闷感,防护罩主体1正面固定连接有冷凝吸水条6,冷凝吸水条6能让呼吸出来的水汽迅速冷凝为水滴,防止水汽上升而使防护眼镜镜片起雾,冷凝吸水条6位于防护过滤网5底部,且冷凝吸水条6包括多层冷凝金属网61、吸水层62,多层冷凝金属网61嵌入在吸水层62中,人呼出的水蒸气进入冷凝吸水条6中时,先被冷凝金属网61冷凝成水,然后冷凝的水被吸水层62吸干,吸水层62材料为类似尿不湿的材料或者市面上其他吸水材料。As shown in Figures 1-6, a protective mask for preventing glasses from fogging includes a protective cover main body 1, the front of the protective cover main body 1 is fixedly connected with
防护罩主体1背面固定连接有密封海绵体7,密封海绵体7能提高装置与口罩的结合处的密封程度,同时能提高佩戴的舒适性,密封海绵体7的与防水口鼻罩4的背面相适配,防水口鼻罩4内部固定连接有金属定型条8,金属定型条8能防止防水口鼻罩4变形而导致底部的防护过滤网5不能舒展开,使装置的进出气更加顺畅,金属定型条8分为左右两部分,且顶部连接处为活动连接,并位于防水口鼻罩4的内部。The back of the protective cover main body 1 is fixedly connected with a sealing
在使用时,将防水口鼻罩4的背面覆盖在医用口罩表面,并使口鼻位于防水口鼻罩4的内部,然后用手抚平防水口鼻罩4的周围,使装置与医用口罩相贴合,然后将挂带3挂在耳廓出即可。When in use, cover the back of the waterproof mouth and
需要说明的是,在本文中,诸如第一和第二等之类的关系术语仅仅用来将一个实体或者操作与另一个实体或操作区分开来,而不一定要求或者暗示这些实体或操作之间存在任何这种实际的关系或者顺序。而且,术语“包括”、“包含”或者其任何其他变体意在涵盖非排他性的包含,从而使得包括一系列要素的过程、方法、物品或者设备不仅包括那些要素,而且还包括没有明确列出的其他要素,或者是还包括为这种过程、方法、物品或者设备所固有的要素。在没有更多限制的情况下,由语句“包括一个……”限定的要素,并不排除在包括所述要素的过程、方法、物品或者设备中还存在另外的相同要素。It should be noted that, in this document, relational terms such as first and second are only used to distinguish one entity or operation from another entity or operation, and do not necessarily require or imply any relationship between these entities or operations. any such actual relationship or sequence exists. Moreover, the terms "comprising", "comprising" or any other variation thereof are intended to encompass a non-exclusive inclusion such that a process, method, article or device that includes a list of elements includes not only those elements, but also includes not explicitly listed or other elements inherent to such a process, method, article or apparatus. Without further limitation, an element qualified by the phrase "comprising a..." does not preclude the presence of additional identical elements in a process, method, article or apparatus that includes the element.
尽管已经示出和描述了本实用新型的实施例,对于本领域的普通技术人员而言,可以理解在不脱离本实用新型的原理和精神的情况下可以对这些实施例进行多种变化、修改、替换和变型,本实用新型的范围由所附权利要求及其等同物限定。Although the embodiments of the present invention have been shown and described, it will be understood by those skilled in the art that various changes and modifications can be made to these embodiments without departing from the principles and spirit of the present invention , alternatives and modifications, the scope of the present invention is defined by the appended claims and their equivalents.
Claims (6)
Priority Applications (1)
| Application Number | Priority Date | Filing Date | Title |
|---|---|---|---|
| CN202020239366.5U CN211983899U (en) | 2020-03-02 | 2020-03-02 | Protective mask for preventing glasses from fogging |
Applications Claiming Priority (1)
| Application Number | Priority Date | Filing Date | Title |
|---|---|---|---|
| CN202020239366.5U CN211983899U (en) | 2020-03-02 | 2020-03-02 | Protective mask for preventing glasses from fogging |
Publications (1)
| Publication Number | Publication Date |
|---|---|
| CN211983899U true CN211983899U (en) | 2020-11-24 |
Family
ID=73423386
Family Applications (1)
| Application Number | Title | Priority Date | Filing Date |
|---|---|---|---|
| CN202020239366.5U Expired - Fee Related CN211983899U (en) | 2020-03-02 | 2020-03-02 | Protective mask for preventing glasses from fogging |
Country Status (1)
| Country | Link |
|---|---|
| CN (1) | CN211983899U (en) |
Cited By (1)
| Publication number | Priority date | Publication date | Assignee | Title |
|---|---|---|---|---|
| CN114601218A (en) * | 2022-04-07 | 2022-06-10 | 郑州大学第一附属医院 | An N95 sterilizing mask with waterproof vapor function |
-
2020
- 2020-03-02 CN CN202020239366.5U patent/CN211983899U/en not_active Expired - Fee Related
Cited By (1)
| Publication number | Priority date | Publication date | Assignee | Title |
|---|---|---|---|---|
| CN114601218A (en) * | 2022-04-07 | 2022-06-10 | 郑州大学第一附属医院 | An N95 sterilizing mask with waterproof vapor function |
Similar Documents
| Publication | Publication Date | Title |
|---|---|---|
| CN204393421U (en) | A kind of Novel medical gauze mask | |
| US2281181A (en) | Respiratory mask | |
| CN111358084A (en) | Mask | |
| TWM592770U (en) | Gauze mask structure | |
| CN107510152A (en) | A kind of mouth mask | |
| CN211983899U (en) | Protective mask for preventing glasses from fogging | |
| KR20200056362A (en) | Anti-fog mask | |
| CN207803525U (en) | A kind of anti-smog mask | |
| CN212212735U (en) | Full-coverage diversion type protective clothing | |
| CN212141186U (en) | protective hood | |
| CN208807664U (en) | A kind of Professional sanitary protectire breezing mask | |
| CN208064553U (en) | A kind of antifog Gauze mask with ear protection for being suitble to wear glasses | |
| CN110339499A (en) | Mask with respiratory cavity and powder charge chamber for nasal nursing and feeding medicine | |
| CN215270751U (en) | Mask with cartilage nose bridge structure | |
| CN207285285U (en) | A kind of multi-functional Antifogging mask | |
| CN109691709A (en) | A kind of mask and its application method with breather valve | |
| CN212345381U (en) | Mask capable of preventing lens from fogging | |
| CN212185277U (en) | An anti-fogging mask for goggles with good air tightness | |
| CN108713810A (en) | A kind of electronic haze mask | |
| CN209898343U (en) | An anti-smog sponge mask | |
| CN210841655U (en) | Medical mask | |
| CN106215345A (en) | A kind of portable haze device | |
| WO2022083500A1 (en) | Nose-fitting partitioned mask | |
| CN111374366A (en) | A mask that prevents lens fogging | |
| CN218483816U (en) | Prevent glasses gauze mask that hazes |
Legal Events
| Date | Code | Title | Description |
|---|---|---|---|
| GR01 | Patent grant | ||
| GR01 | Patent grant | ||
| CF01 | Termination of patent right due to non-payment of annual fee | ||
| CF01 | Termination of patent right due to non-payment of annual fee |
Granted publication date: 20201124 |
