CN211976313U - Can carry out raise dust noise monitoring facilities who adjusts according to scene - Google Patents
Can carry out raise dust noise monitoring facilities who adjusts according to scene Download PDFInfo
- Publication number
- CN211976313U CN211976313U CN202020031903.7U CN202020031903U CN211976313U CN 211976313 U CN211976313 U CN 211976313U CN 202020031903 U CN202020031903 U CN 202020031903U CN 211976313 U CN211976313 U CN 211976313U
- Authority
- CN
- China
- Prior art keywords
- noise monitoring
- monitoring device
- dust
- rotating shaft
- dust noise
- Prior art date
- Legal status (The legal status is an assumption and is not a legal conclusion. Google has not performed a legal analysis and makes no representation as to the accuracy of the status listed.)
- Expired - Fee Related
Links
Images
Landscapes
- Measurement Of Mechanical Vibrations Or Ultrasonic Waves (AREA)
Abstract
本实用新型公开了一种可根据现场进行调整的扬尘噪音监测设备,包括支撑底柱、扬尘噪音监测装置和钢丝,所述支撑底柱的顶端与扬尘噪音监测装置的底端相互连接,且扬尘噪音监测装置的底端外表面开设有第一收纳槽,并且第一收纳槽的内部安装有限位轴,所述限位轴穿过第一收纳槽与限位孔相互连接,且限位孔开设在支撑底柱的内壁上,所述限位轴的后表面分别固定安装有连接弹簧和钢丝。该可根据现场进行调整的扬尘噪音监测设备,在对扬尘噪音监测装置进行安装固定的工作时,可通过扬尘噪音监测装置在支撑底柱的滑动进行整体高度位置的调节工作,从而方便根据现场的情况进行合适的调整,同时方便后续对扬尘噪音监测装置下降维修的工作。
The utility model discloses a dust noise monitoring device which can be adjusted according to the site, comprising a supporting bottom column, a dust noise monitoring device and a steel wire. A first receiving groove is formed on the outer surface of the bottom end of the noise monitoring device, and a limit shaft is installed inside the first receiving groove, the limit shaft passes through the first receiving groove and is connected to the limit hole, and the limit hole is opened On the inner wall of the supporting bottom column, a connecting spring and a steel wire are respectively fixedly installed on the rear surface of the limiting shaft. The dust and noise monitoring equipment can be adjusted according to the site. When the dust and noise monitoring device is installed and fixed, the overall height position can be adjusted through the sliding of the dust and noise monitoring device on the supporting bottom column. Appropriate adjustments should be made to the situation, and at the same time, it is convenient for the follow-up maintenance of the dust and noise monitoring device.
Description
技术领域technical field
本实用新型涉及扬尘噪音监测技术领域,具体为一种可根据现场进行调 整的扬尘噪音监测设备。The utility model relates to the technical field of dust noise monitoring, in particular to a dust noise monitoring device which can be adjusted according to the scene.
背景技术Background technique
扬尘噪音监测主要是用于远程对工地的噪声和扬尘进行监控,从而便于 对大规模的建设工程实现实时的监控,从而有利于施工现场的管理,提高了 整体的管理效率。Dust noise monitoring is mainly used to remotely monitor the noise and dust of the construction site, so as to facilitate the real-time monitoring of large-scale construction projects, which is beneficial to the management of the construction site and improves the overall management efficiency.
目前市场上常见的扬尘噪音监测设备,在进行固定安装的工作后,后续 无法对该扬尘噪音监测设备的高度位置进行合适的调整工作,同时在需要对 该扬尘噪音监测设备进行维修时,因该装置的高度过高,从而影响到工作人 员对其维护的工作效率,增加了维护难度,针对上述问题,在原有的扬尘噪 音监测设备的基础上进行创新设计。At present, the common dust and noise monitoring equipment on the market cannot be properly adjusted for the height of the dust and noise monitoring equipment after the fixed installation work. At the same time, when the dust and noise monitoring equipment needs to be repaired, the The height of the device is too high, which affects the work efficiency of the staff in its maintenance and increases the difficulty of maintenance. In response to the above problems, an innovative design is carried out on the basis of the original dust and noise monitoring equipment.
实用新型内容Utility model content
本实用新型的目的在于提供一种可根据现场进行调整的扬尘噪音监测设 备,以解决上述背景技术中提出的目前市场上常见的扬尘噪音监测设备,在 进行固定安装的工作后,后续无法对该扬尘噪音监测设备的高度位置进行合 适的调整工作,同时在需要对该扬尘噪音监测设备进行维修时,因该装置的 高度过高,从而影响到工作人员对其维护的工作效率,增加了维护难度的问 题。The purpose of the present utility model is to provide a dust noise monitoring device that can be adjusted according to the site, so as to solve the problem of the current common dust noise monitoring device on the market proposed in the above-mentioned background technology. The height position of the dust and noise monitoring equipment should be adjusted appropriately. At the same time, when the dust and noise monitoring equipment needs to be repaired, the height of the device is too high, which will affect the efficiency of the staff to maintain it and increase the difficulty of maintenance. The problem.
为实现上述目的,本实用新型提供如下技术方案:一种可根据现场进行 调整的扬尘噪音监测设备,包括支撑底柱、扬尘噪音监测装置和钢丝,所述 支撑底柱的顶端与扬尘噪音监测装置的底端相互连接,且扬尘噪音监测装置 的底端外表面开设有第一收纳槽,并且第一收纳槽的内部安装有限位轴,所 述限位轴穿过第一收纳槽与限位孔相互连接,且限位孔开设在支撑底柱的内 壁上,所述限位轴的后表面分别固定安装有连接弹簧和钢丝,且连接弹簧位 于第一收纳槽的内部,并且钢丝穿过连接弹簧和定位轴与连接柱固定连接,所述定位轴位于第二收纳槽的内部,且第二收纳槽设置在扬尘噪音监测装置 的底端内部,并且定位轴与扬尘噪音监测装置的内壁焊接连接,所述连接柱 安装在转轴的内部,且转轴穿过连接槽与连接孔相互连接,并且连接槽开设 在支撑底柱的外表面,所述连接孔开设在扬尘噪音监测装置的底端外表面, 所述连接柱的外表面焊接固定有连接块,且连接块穿过定位槽与套筒的内部 焊接连接,并且定位槽开设在转轴的外表面,所述套筒位于转轴的外侧,且 套筒与固定圆板相互连接,且固定圆板焊接固定在转轴的外表面。In order to achieve the above purpose, the utility model provides the following technical solutions: a dust noise monitoring device that can be adjusted according to the site, including a supporting bottom column, a dust noise monitoring device and a steel wire, the top of the supporting bottom column and the dust noise monitoring device. The bottom ends are connected to each other, and the outer surface of the bottom end of the dust noise monitoring device is provided with a first receiving groove, and a limit shaft is installed inside the first receiving groove, and the limit shaft passes through the first receiving groove and the limit hole. connected to each other, and the limit hole is opened on the inner wall of the support bottom column, the rear surface of the limit shaft is respectively fixed with a connecting spring and a steel wire, and the connecting spring is located inside the first receiving groove, and the steel wire passes through the connecting spring The positioning shaft is fixedly connected with the connecting column, the positioning shaft is located inside the second receiving groove, and the second receiving groove is arranged inside the bottom end of the dust noise monitoring device, and the positioning shaft is welded to the inner wall of the dust noise monitoring device, The connecting column is installed inside the rotating shaft, and the rotating shaft is connected to each other through the connecting groove and the connecting hole, and the connecting groove is opened on the outer surface of the supporting bottom column, and the connecting hole is opened on the outer surface of the bottom end of the dust noise monitoring device, A connecting block is welded and fixed on the outer surface of the connecting column, and the connecting block is welded and connected with the inside of the sleeve through the positioning groove, and the positioning groove is opened on the outer surface of the rotating shaft, the sleeve is located on the outside of the rotating shaft, and the sleeve is It is connected with the fixed circular plate, and the fixed circular plate is welded and fixed on the outer surface of the rotating shaft.
优选的,所述扬尘噪音监测装置的底端对称分布有限位轴,且扬尘噪音 监测装置与支撑底柱之间构成滑动结构。Preferably, the limit axis is symmetrically distributed at the bottom end of the dust and noise monitoring device, and a sliding structure is formed between the dust and noise monitoring device and the supporting bottom column.
优选的,所述限位轴通过第一收纳槽和连接弹簧与扬尘噪音监测装置构 成伸缩结构,且限位轴与限位孔的连接方式为卡合连接,并且限位孔在支撑 底柱的内壁上等间距分布。Preferably, the limit shaft forms a telescopic structure with the dust noise monitoring device through the first receiving slot and the connecting spring, and the connection between the limit shaft and the limit hole is a snap connection, and the limit hole is in the support bottom column. Equally spaced distribution on the inner wall.
优选的,所述钢丝分别与扬尘噪音监测装置和转轴构成滑动结构,且钢 丝与定位轴的连接方式为贴合连接。Preferably, the steel wire forms a sliding structure with the dust noise monitoring device and the rotating shaft respectively, and the connection mode of the steel wire and the positioning shaft is a fitting connection.
优选的,所述转轴与连接孔的连接方式为螺纹连接,且转轴通过连接槽 与支撑底柱构成滑动结构。Preferably, the connection between the rotating shaft and the connecting hole is screw connection, and the rotating shaft forms a sliding structure with the supporting bottom column through the connecting groove.
优选的,所述套筒通过连接块和定位槽与转轴构成滑动结构,且连接块 上的连接柱与转轴构成滑动结构。Preferably, the sleeve forms a sliding structure with the rotating shaft through the connecting block and the positioning groove, and the connecting column on the connecting block and the rotating shaft form a sliding structure.
与现有技术相比,本实用新型的有益效果是:该可根据现场进行调整的 扬尘噪音监测设备:Compared with the prior art, the beneficial effects of the present utility model are: the dust noise monitoring equipment that can be adjusted according to the scene:
1、在对扬尘噪音监测装置进行安装固定的工作时,可通过扬尘噪音监测 装置在支撑底柱的滑动进行整体高度位置的调节工作,从而方便根据现场的 情况进行合适的调整,同时方便后续对扬尘噪音监测装置下降维修的工作;1. When the dust and noise monitoring device is installed and fixed, the overall height position can be adjusted by sliding the dust and noise monitoring device on the supporting bottom column, so as to facilitate appropriate adjustment according to the situation on site and facilitate subsequent adjustment of the equipment. The work of descending maintenance of dust and noise monitoring device;
2、扬尘噪音监测装置在调节到合适的位置后,通过限位轴与限位孔的卡 合进行整体的定位工作,同时限位轴通过连接弹簧的弹力推动增加连接时的 稳定性,并且限位轴在扬尘噪音监测装置的底端对称分布,增加了整体的稳 定;2. After the dust noise monitoring device is adjusted to an appropriate position, the overall positioning work is carried out through the engagement of the limit shaft and the limit hole. At the same time, the limit shaft is pushed by the elastic force of the connecting spring to increase the stability of the connection. The position axis is symmetrically distributed at the bottom end of the dust noise monitoring device, which increases the overall stability;
3、后续工作人员可通过对套筒的拉动,进行定位工作的解除工作,方便 进行操作使用,同时可通过对转轴的旋转,使转轴带动固定圆板对套筒进行 挤压定位工作,避免套筒发生晃动,同时通过对套筒的挤压,使套筒对支撑 底柱进行挤压,进一步的加强对扬尘噪音监测装置安装后的稳定性。3. Subsequent workers can remove the positioning work by pulling the sleeve, which is convenient for operation and use. At the same time, by rotating the rotating shaft, the rotating shaft can drive the fixed circular plate to squeeze and position the sleeve to avoid the sleeve. The cylinder shakes, and at the same time, by squeezing the sleeve, the sleeve squeezes the supporting bottom column, which further strengthens the stability of the dust noise monitoring device after installation.
附图说明Description of drawings
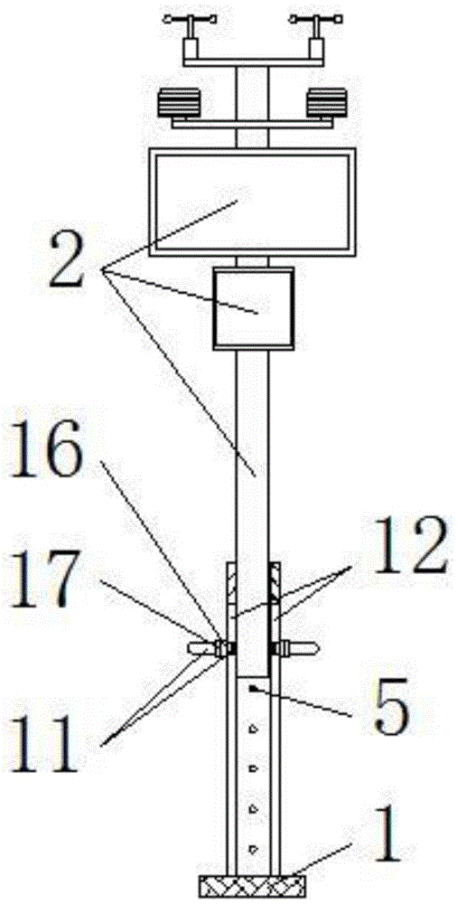
图1为本实用新型整体正视剖面结构示意图;Fig. 1 is the overall frontal sectional structure schematic diagram of the utility model;
图2为本实用新型转轴与扬尘噪音监测装置俯视剖面连接结构示意图;FIG. 2 is a schematic view of the connection structure of the rotating shaft and the dust noise monitoring device in the top view of the utility model;
图3为本实用新型转轴与连接孔正视连接结构示意图;FIG. 3 is a schematic view of the front connection structure of the rotating shaft and the connecting hole of the present invention;
图4为本实用新型套筒与转轴侧视连接结构示意图。FIG. 4 is a schematic diagram of the side view of the connection structure between the sleeve and the rotating shaft of the present invention.
图中:1、支撑底柱;2、扬尘噪音监测装置;3、第一收纳槽;4、限位 轴;5、限位孔;6、连接弹簧;7、钢丝;8、定位轴;9、连接柱;10、第二 收纳槽;11、转轴;12、连接槽;13、连接孔;14、连接块;15、定位槽; 16、套筒;17、固定圆板。In the figure: 1. Support bottom column; 2. Dust noise monitoring device; 3. First storage slot; 4. Limit shaft; 5. Limit hole; 6. Connecting spring; 7. Steel wire; 8. Positioning shaft; 9 10, the second storage slot; 11, the shaft; 12, the connection slot; 13, the connection hole; 14, the connection block; 15, the positioning slot; 16, the sleeve;
具体实施方式Detailed ways
下面将结合本实用新型实施例中的附图,对本实用新型实施例中的技术 方案进行清楚、完整地描述,显然,所描述的实施例仅仅是本实用新型一部 分实施例,而不是全部的实施例。基于本实用新型中的实施例,本领域普通 技术人员在没有做出创造性劳动前提下所获得的所有其他实施例,都属于本 实用新型保护的范围。The technical solutions in the embodiments of the present utility model will be clearly and completely described below with reference to the accompanying drawings in the embodiments of the present utility model. Obviously, the described embodiments are only a part of the embodiments of the present utility model, rather than all the implementations. example. Based on the embodiments in the present invention, all other embodiments obtained by those of ordinary skill in the art without creative work, all belong to the protection scope of the present invention.
请参阅图1-4,本实用新型提供一种技术方案:一种可根据现场进行调整 的扬尘噪音监测设备,包括支撑底柱1、扬尘噪音监测装置2和钢丝7,支撑 底柱1的顶端与扬尘噪音监测装置2的底端相互连接,且扬尘噪音监测装置2 的底端外表面开设有第一收纳槽3,并且第一收纳槽3的内部安装有限位轴4, 限位轴4穿过第一收纳槽3与限位孔5相互连接,且限位孔5开设在支撑底 柱1的内壁上,限位轴4的后表面分别固定安装有连接弹簧6和钢丝7,且连 接弹簧6位于第一收纳槽3的内部,并且钢丝7穿过连接弹簧6和定位轴8 与连接柱9固定连接,定位轴8位于第二收纳槽10的内部,且第二收纳槽10 设置在扬尘噪音监测装置2的底端内部,并且定位轴8与扬尘噪音监测装置2 的内壁焊接连接,连接柱9安装在转轴11的内部,且转轴11穿过连接槽12 与连接孔13相互连接,并且连接槽12开设在支撑底柱1的外表面,连接孔 13开设在扬尘噪音监测装置2的底端外表面,连接柱9的外表面焊接固定有 连接块14,且连接块14穿过定位槽15与套筒16的内部焊接连接,并且定位 槽15开设在转轴11的外表面,套筒16位于转轴11的外侧,且套筒16与固 定圆板17相互连接,且固定圆板17焊接固定在转轴11的外表面。1-4, the present utility model provides a technical solution: a dust and noise monitoring device that can be adjusted according to the site, including a supporting
扬尘噪音监测装置2的底端对称分布有限位轴4,且扬尘噪音监测装置2 与支撑底柱1之间构成滑动结构,工作人员后续在对扬尘噪音监测装置2进 行安装的工作时,可将扬尘噪音监测装置2在支撑底柱1进行滑动,便于对 扬尘噪音监测装置2的高度位置进行合适的调整工作。The bottom end of the dust and
限位轴4通过第一收纳槽3和连接弹簧6与扬尘噪音监测装置2构成伸 缩结构,且限位轴4与限位孔5的连接方式为卡合连接,并且限位孔5在支 撑底柱1的内壁上等间距分布,限位轴4通过连接弹簧6的弹力推动滑进限 位孔5内进行卡合定位,从而方便将扬尘噪音监测装置2在支撑底柱1上的 位置进行固定工作。The
钢丝7分别与扬尘噪音监测装置2和转轴11构成滑动结构,且钢丝7与 定位轴8的连接方式为贴合连接,钢丝7在受到外力的拉动时,钢丝7可通 过定位轴8进行平稳的滑动运转,方便钢丝7进行90°的转角工作,便于后 续钢丝7拉动限位轴4进行收缩运转。The
转轴11与连接孔13的连接方式为螺纹连接,且转轴11通过连接槽12 与支撑底柱1构成滑动结构,工作人员可通过对转轴11的旋转,使转轴11 在连接孔13内进行旋转移动,同时可通过转轴11带动扬尘噪音监测装置2 进行升降工作。The connection method of the rotating
套筒16通过连接块14和定位槽15与转轴11构成滑动结构,且连接块 14上的连接柱9与转轴11构成滑动结构,后续工作人员可通过对套筒16的 拉动,使套筒16通过连接块14带动连接柱9进行滑动运转,便于连接柱9 对钢丝7进行拉动工作。The
工作原理:根据图1,首先工作人员可将支撑底柱1固定安装到合适的位 置进行支撑工作,从而方便后续扬尘噪音监测装置2进行整体的监测工作, 扬尘噪音监测装置2为市场上已知的和现有的技术,在此不做详细的描述;Working principle: According to Figure 1, firstly, the staff can fix the supporting
根据图1-4,当需要对扬尘噪音监测装置2进行维护的工作时,可手动对 转轴11进行旋转工作,使转轴11与连接孔13进行旋转分离的工作,同时, 套筒16可通过连接块14和定位槽15在转轴11的外侧进行滑动,使套筒16 与固定圆板17相互分离,解除对套筒16的定位工作,接着手动对套筒16进 行拉动,按照上述原理,使套筒16通过连接块14带动连接柱9进行滑动运 转,从而使连接柱9对钢丝7进行拉动工作,便于钢丝7通过定位轴8在扬 尘噪音监测装置2的内部平稳进行滑动,然后钢丝7对限位轴4进行拉动, 使限位轴4与限位孔5进行滑动分离,从而使限位轴4完全收纳进第一收纳 槽3的内部,同时限位轴4推动连接弹簧6进行收缩运转,解除对扬尘噪音 监测装置2的定位工作;According to Fig. 1-4, when the maintenance of the dust
根据图1-2,接着工作人员手动通过转轴11的拨动,使转轴11带动扬尘 噪音监测装置2在支撑底柱1的内部向下滑动,同时转轴11通过连接槽12 在支撑底柱1上滑动,便于对扬尘噪音监测装置2的高度进行调节,从而方 便后续工作人员对扬尘噪音监测装置2进行维护的工作,避免扬尘噪音监测 装置2高度过高造成维护困难的现象,以上便是整个装置的工作过程,且本 说明书中未作详细描述的内容均属于本领域专业技术人员公知的现有技术。According to Figure 1-2, then the staff manually toggles the rotating
尽管已经示出和描述了本实用新型的实施例,对于本领域的普通技术人 员而言,可以理解在不脱离本实用新型的原理和精神的情况下可以对这些实 施例进行多种变化、修改、替换和变型,本实用新型的范围由所附权利要求 及其等同物限定。Although the embodiments of the present invention have been shown and described, it will be understood by those skilled in the art that various changes and modifications can be made to these embodiments without departing from the principles and spirit of the present invention , alternatives and modifications, the scope of the present invention is defined by the appended claims and their equivalents.
Claims (6)
Priority Applications (1)
| Application Number | Priority Date | Filing Date | Title |
|---|---|---|---|
| CN202020031903.7U CN211976313U (en) | 2020-01-08 | 2020-01-08 | Can carry out raise dust noise monitoring facilities who adjusts according to scene |
Applications Claiming Priority (1)
| Application Number | Priority Date | Filing Date | Title |
|---|---|---|---|
| CN202020031903.7U CN211976313U (en) | 2020-01-08 | 2020-01-08 | Can carry out raise dust noise monitoring facilities who adjusts according to scene |
Publications (1)
| Publication Number | Publication Date |
|---|---|
| CN211976313U true CN211976313U (en) | 2020-11-20 |
Family
ID=73386108
Family Applications (1)
| Application Number | Title | Priority Date | Filing Date |
|---|---|---|---|
| CN202020031903.7U Expired - Fee Related CN211976313U (en) | 2020-01-08 | 2020-01-08 | Can carry out raise dust noise monitoring facilities who adjusts according to scene |
Country Status (1)
| Country | Link |
|---|---|
| CN (1) | CN211976313U (en) |
Cited By (1)
| Publication number | Priority date | Publication date | Assignee | Title |
|---|---|---|---|---|
| CN112456325A (en) * | 2020-11-25 | 2021-03-09 | 济南一建集团有限公司 | Energy-concerving and environment-protective construction waste normal position advanced treatment equipment |
-
2020
- 2020-01-08 CN CN202020031903.7U patent/CN211976313U/en not_active Expired - Fee Related
Cited By (1)
| Publication number | Priority date | Publication date | Assignee | Title |
|---|---|---|---|---|
| CN112456325A (en) * | 2020-11-25 | 2021-03-09 | 济南一建集团有限公司 | Energy-concerving and environment-protective construction waste normal position advanced treatment equipment |
Similar Documents
| Publication | Publication Date | Title |
|---|---|---|
| CN211976313U (en) | Can carry out raise dust noise monitoring facilities who adjusts according to scene | |
| CN106451209B (en) | A kind of replacing insulator string auxiliary device | |
| CN206088558U (en) | Portable low pressure pay off rack | |
| CN214753156U (en) | Adjustable winding device for processing double-layer flame-retardant cable | |
| CN206697897U (en) | A kind of cable bearer for being easy to laying-out | |
| CN212063282U (en) | A high-efficiency building installation threading device | |
| CN219779626U (en) | Wire installation traction mechanism | |
| CN221169833U (en) | Support frame for wind power generation | |
| CN108952297B (en) | A utility pole for easy installation of monitoring devices for municipal power engineering | |
| CN216355703U (en) | Electric threading device for building construction | |
| CN117720040A (en) | Handling device for outdoor power cabinet installation | |
| CN110080224A (en) | The quick extracting apparatus of construction site reinforcing bar | |
| CN208071028U (en) | A kind of device vehicle for ground wire storage | |
| CN213959562U (en) | A portable maintenance platform | |
| CN211229483U (en) | A maintenance device for high-efficiency power equipment | |
| CN223102632U (en) | A kind of air duct insulation nail construction tool | |
| CN220228594U (en) | A monitoring bracket for pharmaceutical storage | |
| CN218064122U (en) | Mounting assembly for video transmission wireless camera | |
| CN207759806U (en) | A kind of modular cable actinobacillus device | |
| CN221621093U (en) | Bearing device for direct current welding machine | |
| CN217778687U (en) | Waterproofing membrane clamping device | |
| CN211698327U (en) | A support device for optical cable installation | |
| CN219697201U (en) | Hydraulic lifting type cable accessory installation training support | |
| CN218566708U (en) | Mounting structure of temperature monitor | |
| CN206135308U (en) | Cable turning pay -off |
Legal Events
| Date | Code | Title | Description |
|---|---|---|---|
| GR01 | Patent grant | ||
| GR01 | Patent grant | ||
| TR01 | Transfer of patent right | ||
| TR01 | Transfer of patent right |
Effective date of registration: 20210527 Address after: 030000 Room 401, unit 2, building 3, No. 200, nanzhonghuan street, Xiaodian District, Taiyuan City, Shanxi Province Patentee after: SHANXI WEINA TAIKE TECHNOLOGY Co.,Ltd. Address before: Xinshikeng Town, Shaoxing, Zhejiang Province Patentee before: Xinchang yinbang Power Technology Co.,Ltd. |
|
| CF01 | Termination of patent right due to non-payment of annual fee | ||
| CF01 | Termination of patent right due to non-payment of annual fee |
Granted publication date: 20201120 |
