CN211937126U - Cement reducing mechanism is used in highway construction - Google Patents
Cement reducing mechanism is used in highway construction Download PDFInfo
- Publication number
- CN211937126U CN211937126U CN202020270744.6U CN202020270744U CN211937126U CN 211937126 U CN211937126 U CN 211937126U CN 202020270744 U CN202020270744 U CN 202020270744U CN 211937126 U CN211937126 U CN 211937126U
- Authority
- CN
- China
- Prior art keywords
- fixedly connected
- wall
- box body
- plate
- cement
- Prior art date
- Legal status (The legal status is an assumption and is not a legal conclusion. Google has not performed a legal analysis and makes no representation as to the accuracy of the status listed.)
- Expired - Fee Related
Links
- 239000004568 cement Substances 0.000 title claims abstract description 34
- 238000010276 construction Methods 0.000 title claims abstract description 19
- 238000000227 grinding Methods 0.000 claims abstract description 30
- XLYOFNOQVPJJNP-UHFFFAOYSA-N water Substances O XLYOFNOQVPJJNP-UHFFFAOYSA-N 0.000 claims description 37
- 239000000463 material Substances 0.000 claims description 24
- 238000012216 screening Methods 0.000 claims description 23
- 230000000903 blocking effect Effects 0.000 claims description 19
- 230000003014 reinforcing effect Effects 0.000 claims description 7
- 239000007921 spray Substances 0.000 claims description 6
- 238000007599 discharging Methods 0.000 claims 3
- 238000007873 sieving Methods 0.000 claims 1
- 239000002994 raw material Substances 0.000 abstract description 10
- 238000010298 pulverizing process Methods 0.000 description 6
- 238000010586 diagram Methods 0.000 description 3
- 238000000034 method Methods 0.000 description 3
- 235000008733 Citrus aurantifolia Nutrition 0.000 description 2
- 235000011941 Tilia x europaea Nutrition 0.000 description 2
- 238000004140 cleaning Methods 0.000 description 2
- 239000004571 lime Substances 0.000 description 2
- 239000010865 sewage Substances 0.000 description 2
- 239000004575 stone Substances 0.000 description 2
- 230000009286 beneficial effect Effects 0.000 description 1
- 230000007123 defense Effects 0.000 description 1
- 230000003628 erosive effect Effects 0.000 description 1
- 239000013505 freshwater Substances 0.000 description 1
- 239000000203 mixture Substances 0.000 description 1
- 150000003839 salts Chemical class 0.000 description 1
- 239000004576 sand Substances 0.000 description 1
- 239000002002 slurry Substances 0.000 description 1
- 238000005507 spraying Methods 0.000 description 1
- 238000003756 stirring Methods 0.000 description 1
Images
Landscapes
- Crushing And Grinding (AREA)
Abstract
本实用新型公开了一种公路建设用水泥粉碎装置,包括箱体,所述箱体底部外壁固定连接有支脚,所述支脚底部固定连接有刹车轮,所述箱体顶部设置有进料口,所述进料口底部设置有两个转动辊,所述箱体一侧外壁固定连接有第一电机,所述第一电机和转动辊固定连接。本实用新型通过设置第一电机控制转动辊转动,转动辊外壁通过设置锯齿凸起,转动辊之间互相碾压,对进入箱体的水泥原料进行第一步破碎,通过设置第二电机带动转动轴转动,从而带动研磨台转动,研磨台和研磨壁之间对进入的原料进行最终的挤压研磨,通过以上的设置可以对水泥原料进行多级粉碎的目的,使装置具有很高的粉碎能力。
The utility model discloses a cement crushing device for highway construction, which comprises a box body, wherein the outer wall of the bottom of the box body is fixedly connected with a support foot, the bottom of the support foot is fixedly connected with a brake wheel, and the top of the box body is provided with a feeding port, Two rotating rollers are arranged at the bottom of the feeding port, a first motor is fixedly connected to the outer wall of one side of the box body, and the first motor is fixedly connected to the rotating rollers. The utility model controls the rotation of the rotating roller by arranging a first motor, the outer wall of the rotating roller is provided with sawtooth protrusions, and the rotating rollers are rolled against each other, and the cement raw materials entering the box are crushed in the first step, and the second motor is arranged to drive the rotation. The shaft rotates, thereby driving the grinding table to rotate, and the incoming raw materials are squeezed and ground between the grinding table and the grinding wall. .
Description
技术领域technical field
本实用新型涉及粉碎装置技术领域,尤其涉及一种公路建设用水泥粉碎装置。The utility model relates to the technical field of crushing devices, in particular to a cement crushing device for highway construction.
背景技术Background technique
水泥:粉状水硬性无机胶凝材料。加水搅拌后成浆体,能在空气中硬化或者在水中更好的硬化,并能把砂、石等材料牢固地胶结在一起。早期石灰与火山灰的混合物与现代的石灰火山灰水泥很相似,用它胶结碎石制成的混凝土,硬化后不但强度较高,而且还能抵抗淡水或含盐水的侵蚀。长期以来,它作为一种重要的胶凝材料,广泛应用于土木建筑、水利、国防工程等。Cement: powdered hydraulic inorganic cementitious material. After adding water and stirring, it becomes a slurry, which can be hardened in air or better hardened in water, and can firmly bond materials such as sand and stone together. The mixture of early lime and pozzolan is very similar to the modern lime pozzolan cement. The concrete made of it cemented with crushed stone not only has high strength after hardening, but also can resist the erosion of fresh water or salt water. For a long time, as an important cementitious material, it has been widely used in civil construction, water conservancy, national defense engineering, etc.
公路建设过程中需要对水泥粉碎,而现有的粉碎装置存在结构复杂、操作不便、费时费力的缺点,因此研究一种具有简单结构且易操作的多级水泥粉碎装置显得很重要。Cement needs to be pulverized in the process of highway construction, and the existing pulverizing device has the disadvantages of complex structure, inconvenient operation, time-consuming and labor-intensive, so it is very important to study a multi-stage cement pulverizing device with simple structure and easy operation.
实用新型内容Utility model content
本实用新型的目的是为了解决现有技术中存在的缺点,而提出的一种公路建设用水泥粉碎装置。The purpose of the utility model is to propose a cement crushing device for highway construction in order to solve the shortcomings existing in the prior art.
为了实现上述目的,本实用新型采用了如下技术方案:In order to achieve the above-mentioned purpose, the utility model adopts the following technical solutions:
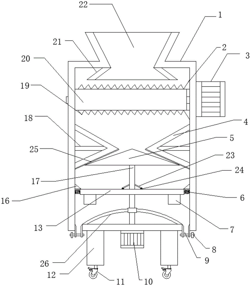
一种公路建设用水泥粉碎装置,包括箱体,所述箱体底部外壁固定连接有支脚,所述支脚底部固定连接有刹车轮,所述箱体顶部设置有进料口,所述进料口底部设置有两个转动辊,所述箱体一侧外壁固定连接有第一电机,所述第一电机和转动辊固定连接,所述转动辊外壁固定连接有锯齿凸起,所述转动辊底部设置有导料架,所述导料架底部固定连接有研磨壁,所述研磨壁底部设置有研磨台,所述研磨台底部固定连接有转动轴,所述转动轴底部连接有第二电机,所述第二电机和箱体底部外壁固定连接。A cement crushing device for highway construction, comprising a box body, a support foot is fixedly connected to the outer wall of the bottom of the box body, a brake wheel is fixedly connected to the bottom of the support foot, a feeding port is arranged on the top of the box body, and the feeding port is Two rotating rollers are arranged at the bottom, a first motor is fixedly connected to the outer wall of one side of the box body, the first motor is fixedly connected to the rotating roller, the outer wall of the rotating roller is fixedly connected with serrated protrusions, and the bottom of the rotating roller is fixedly connected. A material guide frame is provided, the bottom of the material guide frame is fixedly connected with a grinding wall, the bottom of the grinding wall is provided with a grinding table, the bottom of the grinding table is fixedly connected with a rotating shaft, and the bottom of the rotating shaft is connected with a second motor, The second motor is fixedly connected to the outer wall of the bottom of the box.
优选的,所述进料口底部固定连接有导料板,所述转动辊靠近第一电机一端设置有第一挡料块,第一挡料块和箱体内壁固定连接。Preferably, a material guide plate is fixedly connected to the bottom of the feeding port, a first material blocking block is provided at one end of the rotating roller close to the first motor, and the first material blocking block is fixedly connected to the inner wall of the box.
优选的,所述导料架内壁固定连接有加强板,加强板另一端和箱体内壁固定连接。Preferably, a reinforcing plate is fixedly connected to the inner wall of the material guide frame, and the other end of the reinforcing plate is fixedly connected to the inner wall of the box.
优选的,所述研磨台底部设置有筛分板,筛分板和内壁固定连接有多个第二弹簧,第二弹簧另一端和转动轴转动连接,筛分板外壁固定连接有第一弹簧,第一弹簧另一端和箱体内壁固定连接,筛分板底部固定连接有多个振动电机。Preferably, the bottom of the grinding table is provided with a screening plate, the screening plate and the inner wall are fixedly connected with a plurality of second springs, the other end of the second spring is rotatably connected with the rotating shaft, and the outer wall of the screening plate is fixedly connected with a first spring, The other end of the first spring is fixedly connected to the inner wall of the box, and a plurality of vibration motors are fixedly connected to the bottom of the screening plate.
优选的,所述第一弹簧顶部设置有第二挡料块,第二挡料块一侧和箱体内壁固定连接,第二弹簧顶部设置有挡料板,挡料板和转动轴外壁固定连接,挡料板底部固定连接有毛刷。Preferably, the top of the first spring is provided with a second blocking block, one side of the second blocking block is fixedly connected to the inner wall of the box, the top of the second spring is provided with a blocking plate, and the blocking plate is fixedly connected to the outer wall of the rotating shaft , a brush is fixedly connected to the bottom of the baffle plate.
优选的,所述箱体底部一侧开设有多个出料口,出料口外壁转动连接有出料阀门,筛分板底部设置有弧形底板,弧形底板和转动轴转动连接。Preferably, one side of the bottom of the box is provided with a plurality of discharge ports, the outer wall of the discharge ports is rotatably connected with a discharge valve, the bottom of the screening plate is provided with an arc-shaped bottom plate, and the arc-shaped bottom plate is rotatably connected with the rotating shaft.
优选的,所述箱体一侧外壁固定连接有水泵,水泵一侧外壁固定连接有进水口,水泵顶部固定连接有水管,导料板内壁固定连接有喷头,喷头和水管外壁固定连接。Preferably, a water pump is fixedly connected to the outer wall of one side of the box body, a water inlet is fixedly connected to the outer wall of one side of the water pump, a water pipe is fixedly connected to the top of the water pump, a spray head is fixedly connected to the inner wall of the material guide plate, and the spray head is fixedly connected to the outer wall of the water pipe.
本实用新型的有益效果为:The beneficial effects of the present utility model are:
1、通过设置第一电机控制转动辊转动,转动辊外壁通过设置锯齿凸起,转动辊之间互相碾压,对进入箱体的水泥原料进行第一步破碎,通过设置第二电机带动转动轴转动,从而带动研磨台转动,研磨台和研磨壁之间对进入的原料进行最终的挤压研磨,通过以上的设置可以对水泥原料进行多级粉碎的目的,使装置具有很高的粉碎能力。1. The rotation of the rotating roller is controlled by setting the first motor, the outer wall of the rotating roller is set with sawtooth protrusions, and the rotating rollers are rolled against each other, and the cement raw materials entering the box are crushed in the first step, and the rotating shaft is driven by setting the second motor. The grinding table is rotated to drive the grinding table to rotate, and the incoming raw materials are squeezed and ground between the grinding table and the grinding wall.
2、通过设置振动电机振动带动筛分板振动,从而对水泥进行筛分,保证了水泥的品质,通过设置第一弹簧和第二弹簧,可以使筛分板振动的时候具有更高的运动幅度,提升了筛分能力,并且提升了装置整体的稳定性,通过以上设置使装置具有很高的实用性。2. By setting the vibration motor to drive the screening plate to vibrate, the cement is screened and the quality of the cement is ensured. By setting the first spring and the second spring, the screening plate can have a higher range of motion when vibrating. , the screening capacity is improved, and the overall stability of the device is improved, and the device has high practicability through the above settings.
3、当装置使用后通过设置水泵通过进水口抽水进入水管,从而从水管另一端的喷头喷出,对箱体内进行喷水清理,污水从出料口排出,避免了人工清理,通过以上设置可以提升装置的使用寿命。3. When the device is in use, set the water pump to pump water into the water pipe through the water inlet, so that it is sprayed from the nozzle at the other end of the water pipe to clean the box with water, and the sewage is discharged from the outlet to avoid manual cleaning. The service life of the lifting device.
附图说明Description of drawings
图1为本实用新型实施例1提出的一种公路建设用水泥粉碎装置剖面结构示意图;1 is a schematic cross-sectional structure diagram of a cement crushing device for highway construction proposed in
图2为本实用新型提出的一种公路建设用水泥粉碎装置的筛分机构结构示意图;2 is a schematic structural diagram of a screening mechanism of a cement crushing device for highway construction proposed by the utility model;
图3为本实用新型实施例2提出的一种公路建设用水泥粉碎装置的剖面结构示意图。3 is a schematic cross-sectional structure diagram of a cement crushing device for highway construction proposed in Embodiment 2 of the present utility model.
图中:1箱体、2第一挡料块、3第一电机、4导料架、5研磨台、6第一弹簧、7振动电机、8出料阀门、9出料口、10第二电机、11刹车轮、12支脚、13筛分板、14水管、15喷头、16第二挡料块、17转动轴、18加强板、19锯齿凸起、20转动辊、21导料板、22进料口、23挡料板、24毛刷、25研磨壁、26弧形底板、27第二弹簧、28水泵、29进水口。In the picture: 1 box, 2 first stopper, 3 first motor, 4 material guide frame, 5 grinding table, 6 first spring, 7 vibration motor, 8 discharge valve, 9 discharge port, 10 second Motor, 11 Brake Wheel, 12 Feet, 13 Screening Plate, 14 Water Pipe, 15 Nozzle, 16 Second Block, 17 Rotating Shaft, 18 Reinforcing Plate, 19 Sawtooth Protrusion, 20 Rotating Roller, 21 Material Guide Plate, 22 Feed inlet, 23 baffle plate, 24 brush, 25 grinding wall, 26 arc bottom plate, 27 second spring, 28 water pump, 29 water inlet.
具体实施方式Detailed ways
下面将结合本实用新型实施例中的附图,对本实用新型实施例中的技术方案进行清楚、完整地描述,显然,所描述的实施例仅仅是本实用新型一部分实施例,而不是全部的实施例。The technical solutions in the embodiments of the present utility model will be clearly and completely described below with reference to the accompanying drawings in the embodiments of the present utility model. Obviously, the described embodiments are only a part of the embodiments of the present utility model, rather than all the implementations. example.
实施例1Example 1
参照图1-2,一种公路建设用水泥粉碎装置,包括箱体1,箱体1底部外壁固定连接有支脚12,支脚12底部固定连接有刹车轮11,箱体1顶部设置有进料口22,进料口22底部设置有两个转动辊20,箱体1一侧外壁固定连接有第一电机3,第一电机3和转动辊20固定连接,转动辊20外壁固定连接有锯齿凸起19,转动辊20底部设置有导料架4,导料架4底部固定连接有研磨壁25,研磨壁25底部设置有研磨台5,研磨台5底部固定连接有转动轴17,转动轴17底部连接有第二电机10,第二电机10和箱体1底部外壁固定连接,通过设置第一电机3控制转动辊20转动,转动辊20外壁通过设置锯齿凸起19,转动辊20之间互相碾压,对进入箱体1的水泥原料进行第一步破碎,通过设置第二电机10带动转动轴17转动,从而带动研磨台5转动,研磨台5和研磨壁25之间对进入的原料进行最终的挤压研磨,通过以上的设置可以对水泥原料进行多级粉碎的目的,使装置具有很高的粉碎能力。Referring to Figures 1-2, a cement crushing device for road construction includes a
本实用新型中,进料口22底部固定连接有导料板21,转动辊20靠近第一电机3一端设置有第一挡料块2,第一挡料块2和箱体1内壁固定连接,对进入箱体1内的原料进行导向,提升了进料效率;In the present invention, a
导料架4内壁固定连接有加强板18,加强板18另一端和箱体1内壁固定连接,提升导料架4的稳定性;A
研磨台5底部设置有筛分板13,筛分板13和内壁固定连接有多个第二弹簧27,第二弹簧27另一端和转动轴17转动连接,筛分板13外壁固定连接有第一弹簧6,第一弹簧6另一端和箱体1内壁固定连接,筛分板13底部固定连接有多个振动电机7,通过设置振动电机7振动带动筛分板13振动,从而对水泥进行筛分,保证了水泥的品质,通过设置第一弹簧6和第二弹簧27,可以使筛分板13振动的时候具有更高的运动幅度,提升了筛分能力,并且提升了装置整体的稳定性,通过以上设置使装置具有很高的实用性;The bottom of the grinding table 5 is provided with a
第一弹簧6顶部设置有第二挡料块16,第二挡料块16一侧和箱体1内壁固定连接,第二弹簧27顶部设置有挡料板23,挡料板23和转动轴17外壁固定连接,挡料板底部固定连接有毛刷24,防止水泥从第一弹簧6和第二弹簧27处漏出影响水泥最终的品质;The top of the
箱体1底部一侧开设有多个出料口9,出料口9外壁转动连接有出料阀门8,筛分板13底部设置有弧形底板26,弧形底板26和转动轴17转动连接,通过以上设置方便粉碎好的水泥进行排放。The bottom side of the
工作原理:在本装置空闲处,将上述中所有驱动件,其指代动力元件、电器件以及适配的电源通过导线进行连接,具体连接手段应参考下述工作原理中,各电器件之间先后工作顺序完成电性连接,其详细连接手段为本领域公知技术,下述主要介绍工作原理以及过程,不再对电气控制做说明,通过设置第一电机3控制转动辊20转动,转动辊20外壁通过设置锯齿凸起19,转动辊20之间互相碾压,对进入箱体1的水泥原料进行第一步破碎,通过设置第二电机10带动转动轴17转动,从而带动研磨台5转动,研磨台5和研磨壁25之间对进入的原料进行最终的挤压研磨,通过以上的设置可以对水泥原料进行多级粉碎的目的,使装置具有很高的粉碎能力。Working principle: When the device is idle, connect all the above-mentioned driving components, which refer to the power components, electrical components and the suitable power supply through wires. The specific connection means should refer to the following working principle, between the electrical components. The electrical connection is completed in sequence, and the detailed connection means are known in the art. The following mainly introduces the working principle and process, and will not describe the electrical control. By setting the
实施例2Example 2
参照图2-3,一种公路建设用水泥粉碎装置,箱体1一侧外壁固定连接有水泵28,水泵28一侧外壁固定连接有进水口29,水泵顶部固定连接有水管14,导料板21内壁固定连接有喷头15,喷头15和水管14外壁固定连接。2-3, a cement crushing device for road construction, a
工作原理:当装置使用后通过设置水泵28通过进水口29抽水进入水管14,从而从水管14另一端的喷头15喷出,对箱体1内进行喷水清理,污水从出料口22排出,避免了人工清理,通过以上设置可以提升装置的使用寿命。Working principle: When the device is used, the water is pumped into the
以上,仅为本实用新型较佳的具体实施方式,但本实用新型的保护范围并不局限于此,任何熟悉本技术领域的技术人员在本实用新型揭露的技术范围内,根据本实用新型的技术方案及其实用新型构思加以等同替换或改变,都应涵盖在本实用新型的保护范围之内。The above are only the preferred specific embodiments of the present invention, but the protection scope of the present invention is not limited thereto. The technical solution and its utility model concept are equivalently replaced or changed, and should be covered within the protection scope of the present utility model.
Claims (7)
Priority Applications (1)
| Application Number | Priority Date | Filing Date | Title |
|---|---|---|---|
| CN202020270744.6U CN211937126U (en) | 2020-03-08 | 2020-03-08 | Cement reducing mechanism is used in highway construction |
Applications Claiming Priority (1)
| Application Number | Priority Date | Filing Date | Title |
|---|---|---|---|
| CN202020270744.6U CN211937126U (en) | 2020-03-08 | 2020-03-08 | Cement reducing mechanism is used in highway construction |
Publications (1)
| Publication Number | Publication Date |
|---|---|
| CN211937126U true CN211937126U (en) | 2020-11-17 |
Family
ID=73193418
Family Applications (1)
| Application Number | Title | Priority Date | Filing Date |
|---|---|---|---|
| CN202020270744.6U Expired - Fee Related CN211937126U (en) | 2020-03-08 | 2020-03-08 | Cement reducing mechanism is used in highway construction |
Country Status (1)
| Country | Link |
|---|---|
| CN (1) | CN211937126U (en) |
Cited By (1)
| Publication number | Priority date | Publication date | Assignee | Title |
|---|---|---|---|---|
| CN113368952A (en) * | 2021-06-22 | 2021-09-10 | 李冰 | Ecological environmental protection is with useless processing apparatus admittedly |
-
2020
- 2020-03-08 CN CN202020270744.6U patent/CN211937126U/en not_active Expired - Fee Related
Cited By (1)
| Publication number | Priority date | Publication date | Assignee | Title |
|---|---|---|---|---|
| CN113368952A (en) * | 2021-06-22 | 2021-09-10 | 李冰 | Ecological environmental protection is with useless processing apparatus admittedly |
Similar Documents
| Publication | Publication Date | Title |
|---|---|---|
| CN110202666A (en) | It is a kind of green mixed mud fired brick production pour with injection apparatus and its application method | |
| CN211937126U (en) | Cement reducing mechanism is used in highway construction | |
| CN209737987U (en) | Can screen mortar machine for building | |
| CN212193687U (en) | Cement rapid mixing device for construction | |
| CN210646606U (en) | Concrete rubbing crusher for building engineering | |
| CN210939900U (en) | Cement mixing plant for construction | |
| CN217670158U (en) | A mixing device for concrete processing | |
| CN215589598U (en) | A cement mixing device suitable for road construction | |
| CN212120121U (en) | A waste recycling device for ready-mixed concrete production | |
| CN214773006U (en) | Recycled concrete mixer | |
| CN214682027U (en) | A cement production batching device | |
| CN213918905U (en) | Cement concrete agitating unit for municipal administration machinery | |
| CN215917600U (en) | High-efficient grinder is used in accelerator powder production | |
| CN213078321U (en) | Cement material crushing, drying and stirring device | |
| CN211389460U (en) | A filter type concrete mixer | |
| CN110743649B (en) | Device for smashing and recycling masonry waste | |
| CN109318370B (en) | Small cement mixer | |
| CN207667708U (en) | A kind of coarse fodder disintegrating apparatus for cement production | |
| CN220377284U (en) | A kind of sand and gravel aggregate pouring equipment for wave prevention wall | |
| CN218014478U (en) | An all-in-one sand and gravel sorting and cleaning machine | |
| CN218690267U (en) | Cement is dried and is ground selection powder integral type ball-milling system | |
| CN218753726U (en) | Dry-mixed mortar excess material recovery device | |
| CN112372837A (en) | Building field concrete mixing device | |
| CN218614745U (en) | Evaporate and press agitating unit for aerated concrete block combination wallboard production | |
| CN217964060U (en) | A high-efficiency homogenization treatment device for solid waste-based gelling materials |
Legal Events
| Date | Code | Title | Description |
|---|---|---|---|
| GR01 | Patent grant | ||
| GR01 | Patent grant | ||
| CF01 | Termination of patent right due to non-payment of annual fee |
Granted publication date: 20201117 |
|
| CF01 | Termination of patent right due to non-payment of annual fee |
