CN211935852U - Back flush filter - Google Patents
Back flush filter Download PDFInfo
- Publication number
- CN211935852U CN211935852U CN202020123954.2U CN202020123954U CN211935852U CN 211935852 U CN211935852 U CN 211935852U CN 202020123954 U CN202020123954 U CN 202020123954U CN 211935852 U CN211935852 U CN 211935852U
- Authority
- CN
- China
- Prior art keywords
- filter element
- filter
- water
- waterway
- backwashing
- Prior art date
- Legal status (The legal status is an assumption and is not a legal conclusion. Google has not performed a legal analysis and makes no representation as to the accuracy of the status listed.)
- Active
Links
Images
Landscapes
- Separation Using Semi-Permeable Membranes (AREA)
Abstract
本实用新型公开了一种反冲洗过滤器,包括滤芯;设置于所述滤芯内、用以实现过滤水路和反冲洗水路转换的水路转换组件;所述水路转换组件与所述滤芯之间套设有增压件;所述增压件的周侧具有多个用以在所述反冲洗水路中集中水流喷射所述滤芯内壁的狭孔;设置于所述滤芯下方的排水阀;所述排水阀连接有用以实现虹吸的虹吸孔。该反冲洗过滤器采用先冲洗、后虹吸的结构实现滤芯的反冲洗,避免因操作不当导致反冲洗水路堵塞;冲洗过程中,滤芯内的水通过增压件的狭孔汇集后向滤芯的内壁喷射,提高了对附着和堆积于滤芯的杂质的冲击效果,进而提高了反冲洗的清洁程度。
The utility model discloses a backwashing filter, which comprises a filter element; a water path conversion component arranged in the filter element and used to realize the conversion of a filtering water path and a backwashing water path; a sleeve is sleeved between the water path conversion component and the filter element There is a pressurizing part; the peripheral side of the pressurizing part has a plurality of narrow holes for concentrating water flow in the backwashing waterway to spray the inner wall of the filter element; a drain valve arranged under the filter element; the drain valve There are siphon holes connected to achieve siphoning. The backwash filter adopts the structure of flushing first and then siphoning to realize the backwashing of the filter element, so as to avoid the blockage of the backwashing water circuit due to improper operation; during the flushing process, the water in the filter element is collected through the narrow hole of the booster and then flows to the inner wall of the filter element. The spraying improves the impact effect on the impurities adhering to and accumulating on the filter element, thereby improving the cleanliness of backwashing.
Description
技术领域technical field
本实用新型涉及过滤器领域,尤其涉及一种反冲洗过滤器。The utility model relates to the field of filters, in particular to a backwash filter.
背景技术Background technique
前置过滤器是对全屋用水的第一道粗过滤设备,可以过滤自来水中的泥沙,铁锈,大颗粒物质。前置过滤器通常安装在进水管道水表后,以确保管网中产生的大量沉淀杂质不会对人体造成伤害,并且对暗敷管道、水龙头、电器等起到积极的保护作用。The pre-filter is the first coarse filtration equipment for the whole house water, which can filter the sediment, rust and large particulate matter in the tap water. The pre-filter is usually installed behind the water meter of the inlet pipe to ensure that a large amount of precipitated impurities generated in the pipe network will not cause harm to the human body, and to play a positive role in protecting the hidden pipes, faucets, electrical appliances, etc.
冲洗前置-虹吸后置过滤器难以清洁粘附较强的在滤网上的脏物,导致滤芯的清洗效果差。Flushing the pre-siphon post filter is difficult to clean the dirt that adheres strongly to the filter screen, resulting in poor cleaning effect of the filter element.
虹吸前置-冲洗后置过滤器虽然对于过滤网上的强附着脏物有着良好的排污效果,但吸污口必须距离过滤网很近,否则,虹吸口的负压吸力较弱,虹吸效果也会大大折扣;但虹吸口距离较近时,大颗粒脏物很难进入排污通道,容易沉积在过滤器瓶体内排不出去。此外,虹吸前置过滤器容易因为操作不当造成反冲洗骨架外圈吸附脏物,造成反冲洗骨架无法完全回弹,影响过滤以及反冲洗时的过水量,甚至造成堵塞,无法过水。Although the siphon pre-flush post filter has a good sewage effect on the strongly attached dirt on the filter screen, the sewage suction port must be very close to the filter screen, otherwise, the negative pressure suction of the siphon port will be weak, and the siphon effect will also be reduced. Great discount; but when the siphon mouth is close, it is difficult for large particles of dirt to enter the sewage channel, and it is easy to deposit in the filter bottle and cannot be discharged. In addition, the siphon pre-filter is easy to cause the outer ring of the backwash frame to absorb dirt due to improper operation, resulting in the backwash frame being unable to fully rebound, affecting the amount of water flow during filtration and backwashing, and even causing blockage and inability to pass water.
实用新型内容Utility model content
本实用新型的目的是提供一种反冲洗过滤器,可以避免杂质附着堆积于过滤器内部尤其是滤芯,进而提高反冲洗的清洁效果。The purpose of the utility model is to provide a backwashing filter, which can prevent impurities from adhering and accumulating inside the filter, especially the filter element, thereby improving the cleaning effect of the backwashing.
为实现上述目的,本实用新型提供一种反冲洗过滤器,包括:In order to achieve the above purpose, the utility model provides a backwash filter, comprising:
滤芯;filter element;
设置于所述滤芯内、用以实现过滤水路和反冲洗水路转换的水路转换组件;所述水路转换组件与所述滤芯之间套设有增压件;所述增压件的周侧具有多个用以在所述反冲洗水路中集中水流喷射所述滤芯内壁的狭孔;A waterway conversion assembly arranged in the filter element to realize the conversion of the filtering waterway and the backwashing waterway; a pressurized part is sleeved between the waterway conversion assembly and the filter element; the peripheral side of the pressurized part has multiple a narrow hole used to concentrate water flow in the backwashing waterway to spray the inner wall of the filter element;
设置于所述滤芯下方的排水阀;所述排水阀连接有用以实现虹吸的虹吸孔。A drain valve is arranged under the filter element; the drain valve is connected with a siphon hole for siphoning.
优选地,所述增压件转动连接于所述滤芯;任一所述狭孔的轴线相交于所述滤芯的直径。Preferably, the pressurizing member is rotatably connected to the filter element; the axis of any one of the narrow holes intersects with the diameter of the filter element.
优选地,所述滤芯的上端连接有反冲洗骨架;所述水路转换组件包括套设于所述滤芯内的水路转换器和连接于所述水路转换器下端的弹性体;Preferably, the upper end of the filter element is connected with a backwash frame; the water path conversion assembly includes a water path converter sleeved in the filter element and an elastic body connected to the lower end of the water path converter;
所述排水阀打开时,所述水路转换器在水压作用下向下运动并压缩所述弹性体、以敞露所述反冲洗骨架与所述滤芯的内腔之间的连通腔;所述排水阀关闭时,所述弹性体回弹并带动所述水路转换器向上移动、以封堵所述连通腔。When the drain valve is opened, the water circuit converter moves downward under the action of water pressure and compresses the elastic body to expose the communication cavity between the backwash frame and the inner cavity of the filter element; the When the drain valve is closed, the elastic body rebounds and drives the water circuit converter to move upward to block the communication cavity.
优选地,所述水路转换器包括用以插入所述增压件内的涡旋杆;所述涡旋杆的周侧设有过水孔和用以在所述反冲洗水路中实现水流涡旋的螺旋筋。Preferably, the water circuit converter includes a scroll rod inserted into the pressurizing member; the peripheral side of the scroll rod is provided with a water passage hole and a water flow vortex in the backwashing water circuit. spiral rib.
优选地,所述滤芯的内周与所述增压件外周之间套设有内骨架;Preferably, an inner skeleton is sleeved between the inner circumference of the filter element and the outer circumference of the pressurizing member;
所述内骨架上端的第一定位平面在所述反冲洗水路中用以贴合并支撑所述水路转换器、以实现所述水路转换器的轴向止位。The first positioning plane on the upper end of the inner frame is used in the backwashing water channel to fit and support the water channel converter, so as to realize the axial stop of the water channel converter.
优选地,所述水路转换组件还包括连接于所述弹性体与所述水路转换器之间的活塞;所述活塞的上端与所述水路转换器固定连接,所述活塞的周侧与所述内骨架的底端密封连接,所述活塞具有两个所述虹吸孔。Preferably, the water path conversion assembly further comprises a piston connected between the elastic body and the water path converter; the upper end of the piston is fixedly connected with the water path converter, and the peripheral side of the piston is connected to the water path converter. The bottom end of the inner frame is sealed and connected, and the piston has two of the siphon holes.
优选地,所述内骨架的底部具有弹性卡扣,所述增压件的底部连接有封盖;Preferably, the bottom of the inner frame is provided with elastic snaps, and the bottom of the pressurizing member is connected with a cover;
所述封盖的外周与所述弹性卡扣卡合;所述封盖上端面的封盖凸筋贴合于所述内骨架的底面。The outer circumference of the cover is engaged with the elastic buckle; the cover ribs on the upper end surface of the cover are attached to the bottom surface of the inner frame.
优选地,所述滤芯插装于过滤器瓶身;所述过滤器瓶身与所述滤芯之间还设有刮条;所述刮条的内外两侧具有用以分别刮洗所述滤芯和所述过滤器瓶身的刮筋。Preferably, the filter element is inserted into the filter bottle body; a scraping strip is also arranged between the filter bottle body and the filter element; The scraping rib of the filter bottle body.
优选地,所述滤芯插装于过滤器瓶身;所述滤芯与所述过滤器瓶身之间还设有分水器;所述分水器转动连接于所述滤芯的上端,所述分水器的壁面具有用以使所述过滤水路形成涡流的斜向导流槽。Preferably, the filter element is inserted into the filter bottle body; a water separator is also provided between the filter element and the filter bottle body; the water separator is rotatably connected to the upper end of the filter element, and the water separator is The wall surface of the water container has an oblique guide groove for forming a vortex in the filtered water channel.
优选地,所述增压件的顶端周侧具有多个过滤水孔;所述过滤水孔在所述过滤水路中与所述滤芯的内腔敞通、在所述反冲洗水路中与所述水路转换组件的外壁贴合并封堵。Preferably, the top peripheral side of the pressurizing member has a plurality of water filtering holes; the filtering water holes are open to the inner cavity of the filter element in the filtering water channel, and are connected to the backwashing water channel in the backwashing water channel. The outer wall of the waterway conversion component is fitted and blocked.
相对于上述背景技术,本实用新型所提供的反冲洗过滤器包括滤芯、水路转换组件、增压件和设置于滤芯下方的排水阀。Compared with the above-mentioned background technology, the backwash filter provided by the present invention includes a filter element, a water channel conversion component, a pressurizing member and a drain valve arranged below the filter element.
其中,排水阀连接有用以实现虹吸的虹吸孔,反冲洗过程中,进入滤芯内部的水依次经过水路转换组件、增压件和滤芯后流向虹吸孔和排水阀,即先冲洗后虹吸。这一设置可以避免因操作不当而导致杂质堆积在瓶身内中,影响清洗效果。Among them, the drain valve is connected with a siphon hole for siphoning. During the backwashing process, the water entering the filter element flows to the siphon hole and the drain valve after passing through the water circuit conversion component, the pressurizing element and the filter element in sequence, that is, first flushing and then siphoning. This setting can prevent impurities from accumulating in the bottle body due to improper operation, which will affect the cleaning effect.
水路转换组件设置于滤芯内,用于实现过滤水路和反冲洗水路转换;其中,过滤水路接通时,原水从滤芯外周向滤芯内部流动;反冲洗水路接通时,水从滤芯内部向滤芯外周流动。The water circuit conversion component is arranged in the filter element to realize the conversion of the filter water circuit and the backwash water circuit; wherein, when the filter water circuit is connected, the raw water flows from the outer periphery of the filter element to the inside of the filter element; when the backwash water circuit is connected, the water flows from the inside of the filter element to the outer periphery of the filter element flow.
增压件套设于水路转换组件与滤芯之间,增压件的周侧具有多个狭孔,反冲洗水路接通时,水经由狭孔聚集,从而向滤芯内壁喷射,对附着于滤芯内壁的杂质形成有效冲击,从而提高了反冲洗的清洁程度。The pressurizing piece is sleeved between the water circuit conversion component and the filter element, and the peripheral side of the pressurizing piece has a plurality of narrow holes. When the backwashing water circuit is connected, the water collects through the narrow holes, so as to be sprayed to the inner wall of the filter element, and the water adheres to the inner wall of the filter element. The impurities form an effective impact, thereby improving the cleanliness of the backwash.
综上,本实用新型所提供的反冲洗过滤器采用先冲洗、后虹吸的方式实现反冲洗,为了保证反冲洗水路在虹吸前的清洗效果,同时利用增压件的狭孔汇集水流、集中向滤芯内壁喷射,避免体积较大的颗粒杂质堆积、附着于滤芯内壁甚至瓶身内壁。To sum up, the backwash filter provided by the utility model adopts the method of flushing first and then siphoning to realize backwashing. The inner wall of the filter element is sprayed to avoid the accumulation of large particles and impurities, which adhere to the inner wall of the filter element and even the inner wall of the bottle body.
附图说明Description of drawings
为了更清楚地说明本实用新型实施例或现有技术中的技术方案,下面将对实施例或现有技术描述中所需要使用的附图作简单地介绍,显而易见地,下面描述中的附图仅仅是本实用新型的实施例,对于本领域普通技术人员来讲,在不付出创造性劳动的前提下,还可以根据提供的附图获得其他的附图。In order to more clearly illustrate the embodiments of the present utility model or the technical solutions in the prior art, the following briefly introduces the accompanying drawings that need to be used in the description of the embodiments or the prior art. Obviously, the accompanying drawings in the following description It is only an embodiment of the present invention, and for those of ordinary skill in the art, other drawings can also be obtained according to the provided drawings without creative efforts.
图1为本实用新型实施例所提供的反冲洗过滤器的结构示意图;1 is a schematic structural diagram of a backwash filter provided by an embodiment of the present invention;
图2为本实用新型实施例所提供的反冲洗过滤器在过滤状态下的结构示意图;2 is a schematic structural diagram of a backwash filter provided by an embodiment of the present utility model in a filtering state;
图3为本实用新型实施例所提供的反冲洗过滤器在反冲洗状态下的结构示意图;3 is a schematic structural diagram of a backwash filter provided by an embodiment of the present invention in a backwash state;
图4为本实用新型实施例所提供的水路转换器的结构示意图;4 is a schematic structural diagram of a water circuit converter provided by an embodiment of the present invention;
图5为本实用新型实施例所提供的水路转换器的剖视图;5 is a cross-sectional view of a water circuit converter provided by an embodiment of the present utility model;
图6为本实用新型实施例所提供的增压件在第一方向的结构示意图;FIG. 6 is a schematic structural diagram of a pressurizing member in a first direction provided by an embodiment of the present invention;
图7为本实用新型实施例所提供的增压件在第二方向的结构示意图;FIG. 7 is a schematic structural diagram of a pressurizing member provided in an embodiment of the present invention in a second direction;
图8为本实用新型实施例所提供的增压件在狭孔处沿径向的剖视图;8 is a cross-sectional view of the pressurizing member provided by the embodiment of the present utility model along the radial direction at the narrow hole;
图9为本实用新型实施例所提供的水路转换器和增压件的局部装配示意图;Fig. 9 is the partial assembly schematic diagram of the water circuit converter and the supercharger provided by the embodiment of the present utility model;
图10为本实用新型实施例所提供的内骨架的结构示意图;10 is a schematic structural diagram of an inner skeleton provided by an embodiment of the present invention;
图11为图10的正视图;Fig. 11 is the front view of Fig. 10;
图12为本实用新型实施例所提供的内骨架在弹性卡扣处的局部示意图;12 is a partial schematic diagram of the inner skeleton at the elastic buckle provided by the embodiment of the present invention;
图13为本实用新型实施例所提供的外骨架在第一方向的结构示意图;13 is a schematic structural diagram of the outer skeleton in the first direction provided by the embodiment of the present invention;
图14为本实用新型实施例所提供的外骨架在第二方向的结构示意图;14 is a schematic structural diagram of the outer skeleton in the second direction provided by the embodiment of the present invention;
图15为本实用新型实施例所提供的刮条在外刮筋一侧的结构示意图;Figure 15 is a schematic structural diagram of the scraper provided by the embodiment of the present invention on one side of the outer scraper;
图16为本实用新型实施例所提供的刮条在内刮筋一侧的结构示意图;Fig. 16 is the structural schematic diagram of the inner scraping rib side of the scraping strip provided by the embodiment of the present utility model;
图17为本实用新型实施例所提供的反冲洗过滤器的局部示意图;17 is a partial schematic diagram of a backwash filter provided by an embodiment of the present invention;
图18为本实用新型实施例所提供的封盖在第一方向的结构示意图;18 is a schematic structural diagram of a cover provided in an embodiment of the present invention in a first direction;
图19为本实用新型实施例所提供的封盖在第二方向的结构示意图;19 is a schematic structural diagram of the cover provided in the embodiment of the present invention in the second direction;
图20为本实用新型实施例所提供的活塞在第一方向的结构示意图;20 is a schematic structural diagram of a piston in a first direction provided by an embodiment of the present invention;
图21为本实用新型实施例所提供的活塞在第二方向的结构示意图;21 is a schematic structural diagram of a piston in a second direction provided by an embodiment of the present invention;
图22为本实用新型实施例所提供的分水器的结构示意图;22 is a schematic structural diagram of a water separator provided by an embodiment of the present invention;
图23为本实用新型实施例所提供的压网盖的结构示意图;FIG. 23 is a schematic structural diagram of a mesh cover provided by an embodiment of the present invention;
图24为本实用新型实施例所提供的反冲洗骨架的结构示意图。FIG. 24 is a schematic structural diagram of a backwashing framework provided by an embodiment of the present invention.
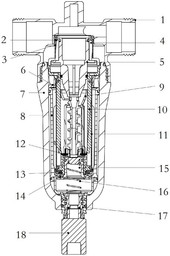
其中,1-阀头、2-压网盖、201-卡扣脚、202-压网盖槽、3-反冲洗网、4-反冲洗骨架、401-反冲洗骨架槽、402-支撑脚、5-水路转换器、501-第一凹槽、502-第二定位平面、503-第二凹槽、504-第二外螺纹、505-转换器凸筋、506-螺旋筋、507-过水孔、6-分水器、7-过滤器瓶身、8-外骨架、801-外骨架沟槽、802-第一外骨架槽、803-第二外骨架槽、81-外刮筋、82-内刮筋、9-增压件、901-狭孔、902-卡扣缺口、903-过滤水孔、10-内骨架、1001-第一定位平面、1002-第一外螺纹、1003-第一沟槽、1004-第二沟槽、1005-凸台、1006-弹性卡扣、1007-内骨架缺口、11-滤芯、12-封盖、1201-封盖卡扣、1202-封盖内环面、1203-封盖凸筋、13-过滤网盖、14-垫片、15-活塞、1501-活塞内螺纹、1502-第一活塞凹槽、1503-虹吸孔、1504-第二活塞凹槽、1505-活塞平面、1506-十字筋、16-弹性体、17-密封件、18-排水阀。Among them, 1- valve head, 2- pressure net cover, 201- snap foot, 202- pressure net cover groove, 3- backwash net, 4-backwash frame, 401-backwash frame tank, 402-support foot, 5-Water converter, 501-First groove, 502-Second positioning plane, 503-Second groove, 504-Second external thread, 505-Converter ribs, 506-Spiral ribs, 507-Water passing Hole, 6-water separator, 7-filter bottle, 8-external framework, 801-external framework groove, 802-first exoskeleton groove, 803-second exoskeleton groove, 81-external scraping ribs, 82 -Inner scraper, 9-pressurizing piece, 901-slot hole, 902-buckle notch, 903-filter hole, 10-inner frame, 1001-first positioning plane, 1002-first external thread, 1003-first One groove, 1004-Second groove, 1005-Boss, 1006-Elastic buckle, 1007-Inner frame gap, 11-Filter element, 12-Cover, 1201-Cover snap, 1202-Cover inner ring Face, 1203-covering rib, 13-filter cover, 14-gasket, 15-piston, 1501-piston inner thread, 1502-first piston groove, 1503-siphon hole, 1504-second piston groove , 1505-piston plane, 1506-cross rib, 16-elastomer, 17-seal, 18-drain valve.
具体实施方式Detailed ways
下面将结合本实用新型实施例中的附图,对本实用新型实施例中的技术方案进行清楚、完整地描述,显然,所描述的实施例仅仅是本实用新型一部分实施例,而不是全部的实施例。基于本实用新型中的实施例,本领域普通技术人员在没有做出创造性劳动前提下所获得的所有其他实施例,都属于本实用新型保护的范围。The technical solutions in the embodiments of the present utility model will be clearly and completely described below with reference to the accompanying drawings in the embodiments of the present utility model. Obviously, the described embodiments are only a part of the embodiments of the present utility model, rather than all the implementations. example. Based on the embodiments of the present invention, all other embodiments obtained by those of ordinary skill in the art without creative work fall within the protection scope of the present invention.
为了使本技术领域的技术人员更好地理解本实用新型方案,下面结合附图和具体实施方式对本实用新型作进一步的详细说明。In order to make those skilled in the art better understand the solution of the present invention, the present invention will be further described in detail below with reference to the accompanying drawings and specific embodiments.
请参考图1至图24,图1为本实用新型实施例所提供的反冲洗过滤器的结构示意图;图2为本实用新型实施例所提供的反冲洗过滤器在过滤状态下的结构示意图;图3为本实用新型实施例所提供的反冲洗过滤器在反冲洗状态下的结构示意图;图4为本实用新型实施例所提供的水路转换器的结构示意图;图5为本实用新型实施例所提供的水路转换器的剖视图;图6为本实用新型实施例所提供的增压件在第一方向的结构示意图;图7为本实用新型实施例所提供的增压件在第二方向的结构示意图;图8为本实用新型实施例所提供的增压件在狭孔处沿径向的剖视图;图9为本实用新型实施例所提供的水路转换器和增压件的局部装配示意图;图10为本实用新型实施例所提供的内骨架的结构示意图;图11为图10的正视图;图12为本实用新型实施例所提供的内骨架在弹性卡扣处的局部示意图;图13为本实用新型实施例所提供的外骨架在第一方向的结构示意图;图14为本实用新型实施例所提供的外骨架在第二方向的结构示意图;图15为本实用新型实施例所提供的刮条在外刮筋一侧的结构示意图;图16为本实用新型实施例所提供的刮条在内刮筋一侧的结构示意图;图17为本实用新型实施例所提供的反冲洗过滤器的局部示意图;图18为本实用新型实施例所提供的封盖在第一方向的结构示意图;图19为本实用新型实施例所提供的封盖在第二方向的结构示意图;图20为本实用新型实施例所提供的活塞在第一方向的结构示意图;图21为本实用新型实施例所提供的活塞在第二方向的结构示意图;图22为本实用新型实施例所提供的分水器的结构示意图;图23为本实用新型实施例所提供的压网盖的结构示意图;图24为本实用新型实施例所提供的反冲洗骨架的结构示意图。Please refer to FIGS. 1 to 24. FIG. 1 is a schematic structural diagram of a backwash filter provided by an embodiment of the present invention; FIG. 2 is a structural schematic view of the backwash filter provided by an embodiment of the present invention in a filtering state; FIG. 3 is a schematic structural diagram of a backwash filter provided by an embodiment of the present utility model in a backwashing state; FIG. 4 is a structural schematic diagram of a water circuit converter provided by an embodiment of the present utility model; FIG. 5 is an embodiment of the present utility model. A cross-sectional view of the provided water circuit converter; FIG. 6 is a schematic structural diagram of the pressurized part provided by the embodiment of the present invention in the first direction; FIG. 7 is a schematic view of the pressurized part provided by the embodiment of the present invention in the second direction. Schematic diagram of the structure; FIG. 8 is a cross-sectional view of the pressurized part provided by the embodiment of the present utility model along the radial direction at the narrow hole; FIG. 9 is a partial assembly schematic diagram of the water circuit converter and the pressurized part provided by the embodiment of the present invention; 10 is a schematic structural diagram of the inner frame provided by the embodiment of the present invention; FIG. 11 is a front view of FIG. 10 ; FIG. 12 is a partial schematic diagram of the inner frame provided by the embodiment of the present invention at the elastic buckle; FIG. 13 A schematic diagram of the structure of the outer frame provided by the embodiment of the present invention in the first direction; FIG. 14 is a schematic diagram of the structure of the outer frame provided by the embodiment of the present invention in the second direction; FIG. 15 is provided by the embodiment of the present invention. Figure 16 is a schematic diagram of the structure of the scraper on the side of the outer scraper; Figure 16 is a schematic diagram of the structure of the scraper on the inner side of the scraper provided by the embodiment of the utility model; Figure 17 is the backwash filter provided by the embodiment of the utility model. 18 is a schematic structural diagram of the cover provided by the embodiment of the present invention in the first direction; FIG. 19 is a schematic structural diagram of the cover provided by the embodiment of the present invention in the second direction; The structural schematic diagram of the piston provided by the embodiment of the utility model in the first direction; FIG. 21 is the structural schematic diagram of the piston provided by the embodiment of the utility model in the second direction; FIG. 22 is the water separator provided by the embodiment of the utility model. Figure 23 is a schematic structural diagram of a press mesh cover provided by an embodiment of the present invention; Figure 24 is a schematic structural schematic diagram of a backwash skeleton provided by an embodiment of the present invention.
本实用新型提供一种反冲洗过滤器,包括滤芯11、设置于滤芯11内的水路转换组件以及设置于滤芯11下方的排水阀18;水路转换组件用于实现过滤水路和反冲洗水路的转换,也即改变水进出滤芯11的方向;其中,排水阀18连接有用以实现虹吸的虹吸孔1503,实现先冲洗、后虹吸。The utility model provides a backwash filter, which comprises a
为了确保虹吸前的冲洗效果,水路转换组件与滤芯11之间套设有增压件9,增压件9的周侧具有多个用以在反冲洗水路中集中水流喷射滤芯11的内壁的狭孔901。In order to ensure the flushing effect before siphoning, a pressurizing
在反冲洗过程中,水首先进入滤芯11的内部,由于水路转换组件和增压件9设置于滤芯11内,因此水依次流经水路转换组件和增压件9,由增压件9的狭孔901向滤芯11流动,受到狭孔901尺寸的限制,水在狭孔901附近汇集,集中向滤芯11的内壁喷射,从而有效冲击掉附着堆积于滤芯11的杂质。此外,还能够在喷射至瓶身时,对附着和堆积于瓶身的杂质进行冲击,进一步提高清洗效果。During the backwashing process, the water first enters the interior of the
上述实施例中的水路转换组件的结构设置和实现方式不唯一,现有技术中也可给出了多种具体实现方式,本实用新型所提供的反冲洗过滤腔的改进点在于将虹吸后置时如何避免过滤器附着、堆积杂质,因此水路转换组件的结构可以参照现有技术的相关结构设置。The structural arrangement and implementation of the waterway conversion assembly in the above-mentioned embodiments are not unique, and a variety of specific implementations can also be provided in the prior art. Therefore, the structure of the water channel conversion assembly can be set with reference to the related structure of the prior art.
为了方便过滤过程中,进入滤芯11内的水能够方便、快速进入增压件9内,增压件9的顶端周侧具有多个过滤水孔903。In order to facilitate the filtration process, the water entering the
过滤水孔903在该反冲洗过滤器处于过滤状态时与滤芯11的内腔敞通,方便进入滤芯11的水能够方便、快速地通过过滤水孔903进入水路转换组件;而过滤水孔903在该反冲洗过滤器处于反冲洗状态下时与水路转换组件的外壁贴合并封堵,确保水路转换组件内的水只能从狭孔901内流出,不能通过过滤水孔903流出。The
过滤水孔903敞开和封堵的具体实现方式,依赖于水路转换组件的具体结构以及操作原理,包括且不限于通过水路转换组件的上下移动或者旋转运动实现过滤水孔903的敞开和封堵。The specific implementation of opening and blocking the
本实用新型所提供的反冲洗过滤器除了采用虹吸后置结构和狭孔901结构以外,还可结合刮洗结构,例如,在滤芯11的外周设置刮条,刮条与滤芯11底部的排水阀18连接,在排水阀18转动打开和转动关闭时,刮条随之转动,而贴合于滤芯11外周的刮条转动时挂掉附着堆积于滤芯11外周的杂质,实现刮洗滤芯11。The backwash filter provided by the utility model not only adopts the siphon rear structure and the
其中,刮条具体可设置为硅胶刮条。Wherein, the scraper can be specifically set as a silicone scraper.
刮条与排水阀18可通过外骨架8连接,示例性的,过滤器瓶身7下端装有密封件17,密封件17的下端装有排水阀18;密封件17上端与外骨架8卡合,下端与排水阀18螺纹拧合,转动密封件17时外骨架8会随之转动。The wiper strip and the
外骨架8周侧还设有第一外骨架槽802和第二外骨架槽803,第一外骨架槽802和第二外骨架槽803用于分别装设两根刮条,外骨架8转动时刮条实现刮洗。外骨架8周侧还设置安装有O型密封圈的外骨架沟槽801,用于密封外骨架8与瓶体。其中,第一外骨架槽802的长度方向和第二外骨架槽803的长度方向和外骨架8的轴向平行,外骨架沟槽801环设于外骨架8的周侧。The
第一外骨架槽802和第二外骨架槽803可以与滤芯11等长,也可小于滤芯11的长度,针对后者而言,第一外骨架槽802和第二外骨架槽803应在滤芯11长度方向上交错设置,保证外骨架8转动一圈时,两个刮条的运动范围可以覆及滤芯11外周的周侧,不留死角。The
刮条不仅不可对滤芯11进行刮洗,考虑到现有过滤器的滤芯11外周均套设于有过滤器瓶身7,因此,可令刮条的内侧贴合于滤芯11设置、外侧贴合于过滤器瓶身7设置,转动排水阀18时,刮条同时对滤芯11外周和瓶身内壁进行刮洗。Not only can the scraper bar not be able to scrape the
可参考图15和图16,刮条的内侧设有内刮筋82,刮条的外侧设有外刮筋81,内刮筋82和外刮筋81的高度取决于刮条相对于滤芯11外壁和过滤器瓶身7内壁之间的间隙,二者的高度以及与对应结构的过盈量可以相等,也可以不等,上述参数可参考该反冲器过滤器在过滤时杂质的附着堆积的具体情况调整,例如,若滤芯11相较于过滤器瓶身7而言,更易堆积杂质,则内刮筋82与滤芯11外壁的过盈量可大于外刮筋81与瓶身内壁的过盈量。15 and 16, the inner side of the scraper is provided with an
为了提高反冲洗过滤器的清洁效果,除了在清洗阶段做出改进以外,本实用新型还在过滤阶段做出改进,主要指在滤芯11与过滤器瓶身7之间设置分水器6。In order to improve the cleaning effect of the backwash filter, in addition to making improvements in the cleaning stage, the present invention also makes improvements in the filtration stage, mainly referring to the arrangement of a
分水器6的壁面具有用以使过滤水路形成涡流的斜向导流槽。在过滤过程中,原水流经分水器6时被斜向导流槽分散导流,形成旋涡并产生离心力,从而易于分离杂质,使得杂质不会粘在滤网或者瓶体上,增强反冲洗效果。此外,分水器6还转动连接于滤芯11的上端,原水冲击到斜向导流的侧边时,原水会带动分水器6进行360°转动,提高离心力以分离杂质。The wall surface of the
在前述实施例的基础上,为了更好的冲洗滤芯11乃至过滤器瓶身7,该实施例所提供的增压件9转动连接于滤芯11,且任一狭孔901的轴线相交于滤芯11的直径,包括且不限于狭孔901的轴线垂直于滤芯11的直径也即平行于滤芯11的切线方向。On the basis of the foregoing embodiment, in order to better flush the
狭孔901的数目可根据滤芯11的尺寸和应用场合具体设置,例如,可在增压件9的周侧设置六个狭孔901,每三个狭孔901设置为一组,沿增压件9的轴向间隔分布;两组狭孔901分别设置于增压件9的左右两对侧。The number of the
采用上述结构设置的增压件9,水流喷出时,反作用力会使增压件9自身转动起来,令由狭孔901喷射而出的水向滤芯11以及过滤器瓶身7的360°冲洗,覆盖滤芯11和过滤器瓶身7的周侧,避免存在狭孔901对射的死角,从而提高清洗效果。With the pressurizing
进一步的,滤芯11的上端连接有反冲洗骨架4,水路转换组件包括套设于滤芯11内的水路转换器5和连接于水路转换器5下端的弹性体16。Further, the upper end of the
滤芯11处于过滤状态时,反冲洗骨架4的上端与水路转换器5之间密封,水无法在未通过不锈钢过滤网过滤的情况下直接进入净水区也即滤芯11内部。When the
令滤芯11从过滤状态调整至反冲洗状态时,打开排水阀18,水路转换器5在水压作用下向下运动并压缩弹性体16、反冲洗骨架4与滤芯11的内腔之间的连通腔敞露,水从反冲洗骨架4进到水路转换器5的内部,继而依次通过增压件9和滤芯11,实现反冲洗;流出滤芯11的水通过虹吸孔1503进入排水阀18,这一过程中产生虹吸效果,最终携带杂质的水从排水阀18中流出,完成清洗。When the
由反冲洗状态再次调整为过滤状态时,关闭排水阀18,弹性体16回弹并带动水路转换器5向上移动、反冲洗骨架4与滤芯11的内腔之间的连通腔封堵,进而实现反冲洗骨架4的上端与水路转换器5之间密封。When the backwash state is adjusted to the filter state again, the
弹性体16可采用弹簧。为了避免弹簧因反复操作或水压过大而失效,本实用新型所提供的反冲洗过滤器在滤芯11的内周与增压件9外周之间套设有内骨架10,内骨架10的上端具有第一定位平面1001,处于增压件9内部的水路转换器5与第一定位平面1001在反冲洗水路接通时具有配合关系,以实现水路转换器5的轴向止位,避免弹簧下压过度而造成失效。A spring may be used for the
内骨架10周侧设有第一沟槽1003和第二沟槽1004,第一沟槽1003和第二沟槽1004分别用于安装O型密封圈,从而实现内骨架10和滤芯11的密封。The
内骨架10与安装在内骨架10下端面的过滤网盖13螺纹装配,具体的,内骨架10周侧设有第一外螺纹1002,过滤网盖13设有网盖内螺纹,两者拧合后,套设于内骨架10外周的滤芯11与过滤网盖13相对固定,防止滤芯11移动。The
内骨架10的第一定位平面1001内设有多个内骨架缺口1007,水路转换器5的外周侧设有第二定位平面502。在反冲洗时,第一定位平面1001与水路转换器5上的第二定位平面502相贴合,起到封堵全部内骨架缺口1007和限制水路转换器5最低下压位置的作用。而过滤时,水路转换器5向上移动,第二定位平面502脱离第一定位平面1001,内骨架缺口1007敞露,原水可从内骨架缺口1007向下流动至内骨架10和滤芯11的外周。A plurality of
内骨架10在第一定位平面1001外周还可设置多个凸台1005,凸台1005用于与过滤器瓶身7的安装凹槽配合,实现内骨架10与过滤器瓶身7的定位,避免内骨架10在过滤水路和反冲洗水路切换时上下浮动。The
内骨架10的底部周侧还可设置弹性卡扣1006,用于与内骨架10下端面安装的封盖12卡扣配合,示例性的,增压件9的底部连接有封盖12,封盖12的外周与弹性卡扣1006卡合,仅用于限制沿增压件9轴向的移动自由度,简单来说,就是限制封盖12的上下运动而不限制封盖12的转动。The bottom peripheral side of the
至于封盖12,其形状与增压件9底部的形状相适应,并与增压件9的底部固定连接,例如通过封盖12下端面的封盖卡扣1201和增压件9底端的卡扣缺口902连接。As for the
在反冲洗过程中,封盖12的封盖内环面1202与水路转换器5的外壁贴合,阻止水从封盖12的下部流出,从而令水从狭孔901向外流出,起到集中水流的作用。During the backwashing process, the
封盖12上端面的封盖凸筋1203与内骨架10的下端面贴合,使得内骨架10架置于封盖凸筋1203上,实现点线接触,从而减小增压件9转动时的阻力,也能够在增压件9的狭孔901发生堵塞时,协助增压件9出水,避免该反冲洗过滤器损坏。The
为了更好的技术效果,本实用新型所提供水路转换器5包括用以插入增压件9内的涡旋杆。For better technical effect, the
涡旋杆为空心直杆结构,其周侧设有过水孔507,进出增压件9的水经由过水孔507进出水路转换器5,确保过滤水路的畅通和反冲洗水路的畅通。The vortex rod is a hollow straight rod structure, and its peripheral side is provided with a
涡旋杆的周侧还设有用以在反冲洗水路中实现水流涡旋的螺旋筋506,螺旋筋506在反冲洗过程中使进入增压件9的水产生涡旋,令增压件9更易转动。显然,螺旋筋506的旋向与狭孔901的倾斜方向一致,确保涡旋的水流对增压件9造成的转动效果和狭孔901造成的增压件9自转效果为正向叠加。The peripheral side of the vortex rod is also provided with a
上述水路转换器5可设置为漏斗状,其斗面外侧设有转换器凸筋505,用于在反冲洗时与增压件9的内壁贴合,封堵过滤水孔903;还设有第一凹槽501和第二凹槽503,用于安装O型密封圈,起到密封水路转换器5与反冲洗骨架4之间缝隙的作用。The above-mentioned
进一步的,水路转换组件还包括连接于弹性体16与水路转换器5之间的活塞15。活塞15的上端与水路转换器5固定连接,活塞15的周侧与内骨架10的底端密封连接,活塞15具有两个虹吸孔1503。Further, the water channel conversion assembly further includes a
活塞15设有活塞内螺纹1501,用于与水路转换器5的第二外螺纹504连接,由反冲洗状态转换成过滤状态时,活塞15的活塞平面1505与弹性体16相抵,在弹性体16的作用力下,活塞15向上运动,从而带动水路转换器5向上运动,实现过滤水路和反冲洗水路转换。The
活塞15的周侧设有第一活塞凹槽1502,用于分别安装O型密封圈,从而密封内骨架10和活塞15之间的缝隙,防止水从两者之间缝隙流过。具体来说,在过滤时,防止未过滤的水进入净水区,影响过滤效果;在冲洗时,防止水从内骨架10和活塞15之间的缝隙流过,降低反冲洗水压,进而影响反冲洗效果。The peripheral side of the
活塞15的周侧还设有第二活塞凹槽1504,用来安装垫片14,起到密封活塞15和外骨架8之间缝隙的作用,避免反冲洗过程中水从两者之间的缝隙流出,令水仅从两对称设置的虹吸孔1503排出,实现虹吸作用,从而便于杂质排除至该反冲洗过滤器外。The peripheral side of the
活塞15的一侧端面设有十字筋1506,十字筋1506用于实现弹性体16的定位安装,令弹性体16不管受到哪一方向的作用力,始终沿竖直于瓶体方向的方向运动,从而避免因弹性体16的变形而出现无法回弹的情况。One end face of the
正常过滤时,瓶体7内部各处水压基本一致,这时候弹性体16的弹力作用于活塞15的活塞平面1505上,从而顶住活塞15,因活塞15与水路转换器5螺纹连接,因此水路转换器5一并被反冲洗弹簧顶住,此时,该反冲洗过滤器处于过滤状态下,如图2所示。During normal filtration, the water pressure inside the
旋转球阀18手柄,水压作用力在活塞15上,带动活塞15向下运动,与活塞15连接的水路转换器5在水压作用下向下移动,直至内骨架10上的第一定位平面1001与水路转换器5上的第二定位平面502接触,同时螺旋筋506的顶端与增压件9的顶面接触,水路转换器5和活塞15停止往下移动。此时,反冲洗骨架4与水路转换器5顶部原本封闭的部分水路打开,水从反冲洗骨架4以及设置于反冲洗骨架4外的反冲洗网3进到水路转换器5的内部,再由内而外流,实现反冲洗。最后经由两个虹吸孔1503、密封件17和排水阀18排出,如图3所示。Rotate the handle of the
本实用新型所提供的反冲洗过滤器还包括阀头1和压网盖2等结构,反冲洗骨架4的反冲洗骨架槽401与压网盖2的卡扣脚201对应连接,起到固定反冲洗网3的作用。The backwash filter provided by the present invention also includes a
反冲洗骨架4的底部周侧均设有4个支撑脚402,在反冲洗骨架4安装后,4个支撑脚402令反冲洗骨架4与内骨架10之间产生空隙,方便过滤时原水的流通。There are four supporting
压网盖2设有压网盖槽202,压网盖槽202用于安装O型密封圈,起到密封压网盖2与阀头1之间的空隙的作用,一方面避免在过滤时未过滤的水进入净水区,影响过滤效果;另一方面防止水从压网盖2与阀头1之间缝隙流过,降低反冲洗的水压,影响反冲洗效果。The
以上对本实用新型所提供的反冲洗过滤器进行了详细介绍。本文中应用了具体个例对本实用新型的原理及实施方式进行了阐述,以上实施例的说明只是用于帮助理解本实用新型的方法及其核心思想。应当指出,对于本技术领域的普通技术人员来说,在不脱离本实用新型原理的前提下,还可以对本实用新型进行若干改进和修饰,这些改进和修饰也落入本实用新型权利要求的保护范围内。The backwash filter provided by the present utility model has been described in detail above. The principles and implementations of the present invention are described herein by using specific examples, and the descriptions of the above embodiments are only used to help understand the method and the core idea of the present invention. It should be pointed out that for those of ordinary skill in the art, without departing from the principles of the present utility model, some improvements and modifications can also be made to the present utility model, and these improvements and modifications also fall into the protection of the claims of the present utility model. within the range.
Claims (10)
Priority Applications (1)
| Application Number | Priority Date | Filing Date | Title |
|---|---|---|---|
| CN202020123954.2U CN211935852U (en) | 2020-01-19 | 2020-01-19 | Back flush filter |
Applications Claiming Priority (1)
| Application Number | Priority Date | Filing Date | Title |
|---|---|---|---|
| CN202020123954.2U CN211935852U (en) | 2020-01-19 | 2020-01-19 | Back flush filter |
Publications (1)
| Publication Number | Publication Date |
|---|---|
| CN211935852U true CN211935852U (en) | 2020-11-17 |
Family
ID=73174392
Family Applications (1)
| Application Number | Title | Priority Date | Filing Date |
|---|---|---|---|
| CN202020123954.2U Active CN211935852U (en) | 2020-01-19 | 2020-01-19 | Back flush filter |
Country Status (1)
| Country | Link |
|---|---|
| CN (1) | CN211935852U (en) |
Cited By (6)
| Publication number | Priority date | Publication date | Assignee | Title |
|---|---|---|---|---|
| CN112337166A (en) * | 2020-11-26 | 2021-02-09 | 杭州水享环境科技有限公司 | a pre-filter |
| CN113509785A (en) * | 2021-07-27 | 2021-10-19 | 陶孟银 | A backwashing pre-filter |
| CN114259786A (en) * | 2021-12-06 | 2022-04-01 | 北京航天石化技术装备工程有限公司 | Skid-mounted filtering system and filtering and separating method |
| CN114470924A (en) * | 2022-04-08 | 2022-05-13 | 杭州火眼猴信息科技有限公司 | Anti-blocking prefilter |
| CN115999241A (en) * | 2021-10-21 | 2023-04-25 | 海宁市水享净水设备有限公司 | Left-turning scraping and washing and right-turning water purifying back flushing structure without ball valve |
| CN116531825A (en) * | 2022-01-25 | 2023-08-04 | 杭州水享环境科技有限公司 | Holographic flow passage prefilter with double-turbine water purification and reverse spray washing functions |
-
2020
- 2020-01-19 CN CN202020123954.2U patent/CN211935852U/en active Active
Cited By (10)
| Publication number | Priority date | Publication date | Assignee | Title |
|---|---|---|---|---|
| CN112337166A (en) * | 2020-11-26 | 2021-02-09 | 杭州水享环境科技有限公司 | a pre-filter |
| CN112337166B (en) * | 2020-11-26 | 2025-01-24 | 杭州水享环境科技有限公司 | A pre-filter |
| CN113509785A (en) * | 2021-07-27 | 2021-10-19 | 陶孟银 | A backwashing pre-filter |
| CN115999241A (en) * | 2021-10-21 | 2023-04-25 | 海宁市水享净水设备有限公司 | Left-turning scraping and washing and right-turning water purifying back flushing structure without ball valve |
| CN115999241B (en) * | 2021-10-21 | 2023-10-20 | 海宁市水享净水设备有限公司 | Left-turning scraping and washing and right-turning water purifying back flushing structure without ball valve |
| CN114259786A (en) * | 2021-12-06 | 2022-04-01 | 北京航天石化技术装备工程有限公司 | Skid-mounted filtering system and filtering and separating method |
| CN114259786B (en) * | 2021-12-06 | 2023-06-06 | 北京航天石化技术装备工程有限公司 | A skid-mounted filter system and filter separation method |
| CN116531825A (en) * | 2022-01-25 | 2023-08-04 | 杭州水享环境科技有限公司 | Holographic flow passage prefilter with double-turbine water purification and reverse spray washing functions |
| CN114470924A (en) * | 2022-04-08 | 2022-05-13 | 杭州火眼猴信息科技有限公司 | Anti-blocking prefilter |
| CN114470924B (en) * | 2022-04-08 | 2022-09-16 | 杭州火眼猴环保科技有限公司 | Anti-blocking prefilter |
Similar Documents
| Publication | Publication Date | Title |
|---|---|---|
| CN211935852U (en) | Back flush filter | |
| CN112337166B (en) | A pre-filter | |
| CN210495452U (en) | Industrial self-cleaning filter | |
| CN209952346U (en) | Back flush filter | |
| CN110613972A (en) | Back-washing pre-filter | |
| CN211752909U (en) | Back-flushing prefilter and water purifier with same | |
| CN216320305U (en) | Back flush filter | |
| CN113144707A (en) | Multi-layer filtering system and front-back flushing clean prefilter | |
| CN103372340A (en) | Back-flush-type water filter | |
| CN216440137U (en) | Pollution discharge structure of pre-filter and pre-filter | |
| CN107754420B (en) | Novel pre-filter | |
| CN113975873A (en) | Back flush filter | |
| CN113648713A (en) | A sewage treatment device for domestic sewage discharge | |
| CN116510398B (en) | A twin-turbine water purification backwash leakage protection pre-filter with anti-water hammer valve | |
| CN220159370U (en) | Hydrodynamic back flushing and internal turbine prefilter and water purifier | |
| CN116531825B (en) | A holographic flow channel pre-filter with double turbine water purification backwashing | |
| CN219596069U (en) | Hydraulic rotary scraping water purification back flushing prefilter | |
| CN214106038U (en) | a pre-filter | |
| CN214461012U (en) | Floor drain with impurity filtering function | |
| CN116966666A (en) | A kind of hydraulic rotary scraping water backwash pre-filter | |
| CN110538501B (en) | Backwash pre-filter and water purifier with same | |
| CN210874321U (en) | Front filter | |
| CN109772021B (en) | Waterway scale inhibition device and scale inhibition method thereof | |
| CN210331929U (en) | Water route hinders dirty device | |
| CN221014777U (en) | Back flush prefilter |
Legal Events
| Date | Code | Title | Description |
|---|---|---|---|
| GR01 | Patent grant | ||
| GR01 | Patent grant | ||
| IP01 | Partial invalidation of patent right |
Commission number: 5W136564 Conclusion of examination: On the basis of claims 1-9 submitted by the patentee on June 24, 2024, the utility model patent right with application number 202020123954.2 is maintained as valid. Decision date of declaring invalidation: 20241127 Decision number of declaring invalidation: 582518 Denomination of utility model: Filter screen cylinder assembly of back-washing filter Granted publication date: 20201117 Patentee: HAINING SHUIXIANG WATER PURIFICATION EQUIPMENT Co.,Ltd. |
|
| IP01 | Partial invalidation of patent right |
