CN211930070U - Switch cabinet module linkage mechanism - Google Patents
Switch cabinet module linkage mechanism Download PDFInfo
- Publication number
- CN211930070U CN211930070U CN202020962232.6U CN202020962232U CN211930070U CN 211930070 U CN211930070 U CN 211930070U CN 202020962232 U CN202020962232 U CN 202020962232U CN 211930070 U CN211930070 U CN 211930070U
- Authority
- CN
- China
- Prior art keywords
- casing
- ceramic seat
- fixedly connected
- aluminum alloy
- shell
- Prior art date
- Legal status (The legal status is an assumption and is not a legal conclusion. Google has not performed a legal analysis and makes no representation as to the accuracy of the status listed.)
- Expired - Fee Related
Links
- 230000007246 mechanism Effects 0.000 title abstract description 15
- 239000000919 ceramic Substances 0.000 claims abstract description 33
- 229910000838 Al alloy Inorganic materials 0.000 claims abstract description 20
- JRBRVDCKNXZZGH-UHFFFAOYSA-N alumane;copper Chemical compound [AlH3].[Cu] JRBRVDCKNXZZGH-UHFFFAOYSA-N 0.000 claims abstract description 20
- 238000005057 refrigeration Methods 0.000 claims abstract description 20
- 239000004065 semiconductor Substances 0.000 claims abstract description 20
- 230000017525 heat dissipation Effects 0.000 claims description 25
- 238000009434 installation Methods 0.000 claims description 6
- 239000000428 dust Substances 0.000 claims 1
- 230000005855 radiation Effects 0.000 abstract 4
- 230000000694 effects Effects 0.000 description 8
- 238000000034 method Methods 0.000 description 4
- 238000009825 accumulation Methods 0.000 description 3
- 238000004519 manufacturing process Methods 0.000 description 2
- 229910052751 metal Inorganic materials 0.000 description 2
- 239000002184 metal Substances 0.000 description 2
- 230000008569 process Effects 0.000 description 2
- 235000008331 Pinus X rigitaeda Nutrition 0.000 description 1
- 235000011613 Pinus brutia Nutrition 0.000 description 1
- 241000018646 Pinus brutia Species 0.000 description 1
- 229910000831 Steel Inorganic materials 0.000 description 1
- 230000004075 alteration Effects 0.000 description 1
- 230000009286 beneficial effect Effects 0.000 description 1
- 238000012423 maintenance Methods 0.000 description 1
- 238000005065 mining Methods 0.000 description 1
- 238000012986 modification Methods 0.000 description 1
- 230000004048 modification Effects 0.000 description 1
- 230000008439 repair process Effects 0.000 description 1
- 238000005096 rolling process Methods 0.000 description 1
- 230000008054 signal transmission Effects 0.000 description 1
- 239000010959 steel Substances 0.000 description 1
- 238000006467 substitution reaction Methods 0.000 description 1
- 239000004753 textile Substances 0.000 description 1
Images
Landscapes
- Cooling Or The Like Of Electrical Apparatus (AREA)
Abstract
The utility model discloses a switch cabinet module linkage mechanism, which comprises a shell and a wiring hole, wherein the surface of the shell is provided with the wiring hole, the lower surface of the shell is respectively and fixedly connected with a copper-aluminum alloy fin and a semiconductor refrigeration piece, the shell is inserted in a ceramic seat and is detachably connected, the inner wall of the ceramic seat is bonded with an arc rubber block, the bottom of the ceramic seat is fixedly connected with two support legs, a connecting rod and a cross rod are respectively and fixedly connected between the two support legs from top to bottom, the surface of the connecting rod is fixedly connected with a heat radiation fan, and the lower surface of the heat radiation fan is detachably connected with a dustproof mesh enclosure, the utility model has novel design, carries out heat radiation and refrigeration on the shell through the copper-aluminum alloy fin and the semiconductor refrigeration piece, and accelerates the flow of air around the shell by matching with the heat radiation, the ceramic seat is matched with the arc rubber block to clamp and fix the casing, so that the mounting and the dismounting are convenient.
Description
Technical Field
The utility model relates to a cubical switchboard technical field specifically is a cubical switchboard module link gear.
Background
The switch cabinet is an electrical device, the external line of the switch cabinet firstly enters a main control switch in the cabinet and then enters a branch control switch, and each branch is arranged according to the requirement. Such as meters, automatic controls, magnetic switches of motors, various alternating current contactors, and the like, some of which are also provided with high-voltage chambers and low-voltage chamber switch cabinets, and high-voltage buses, such as power plants, and some of which are also provided with low-frequency load shedding for keeping main equipment. The main function of the switch gear is to open, close, control and protect the electric equipment in the process of generating, transmitting, distributing and converting electric energy of the power system. The components in the switch cabinet mainly comprise a circuit breaker, an isolating switch, a load switch, an operating mechanism, a mutual inductor, various protection devices and the like. The classification methods of the switch cabinets are various, for example, the switch cabinets can be divided into movable switch cabinets and fixed switch cabinets by the installation mode of the circuit breaker; or according to different cabinet body structures, the cabinet body can be divided into an open type switch cabinet, a metal closed switch cabinet and a metal closed armored switch cabinet; the high-voltage switch cabinet, the medium-voltage switch cabinet, the low-voltage switch cabinet and the like can be divided according to different voltage grades. The method is mainly suitable for various occasions such as power plants, transformer substations, petrochemical industry, metallurgical steel rolling, light industrial textile, industrial and mining enterprises, residential districts, high-rise buildings and the like.
The linkage module is a matched signal transmission module when the infrared intelligent assembly is connected with the control box, the module can transmit the fire alarm information of the infrared intelligent assembly to the area control box, and transmits the command of the area control box to the electromagnetic valve, so that the bridge function in the automatic fire extinguishing process is realized.
However, the existing linkage mechanisms for switchgear modules have the following disadvantages:
1. the switch cabinet module linkage mechanism can be accompanied with the accumulation of heat when in use, is used for a long time, has overhigh temperature inside, is easy to damage, even causes fire and has potential safety hazards.
2. The switch cabinet module linkage mechanism is fixedly installed on the supporting seat through bolts, is inconvenient to install, disassemble and repair, and is troublesome in operation, time-consuming and labor-consuming.
SUMMERY OF THE UTILITY MODEL
The utility model aims to provide a switch cabinet module linkage mechanism to solve the problems that the existing switch cabinet module linkage mechanism in the background art is used for a long time along with the accumulation of heat, the internal temperature is too high, the switch cabinet module linkage mechanism is easy to damage and even causes fire and has potential safety hazard; switch cabinet module link gear passes through bolt fixed mounting on the supporting seat, is not convenient for install and dismantles the maintenance, troublesome poeration, the problem that wastes time and energy.
In order to achieve the above object, the utility model provides a following technical scheme: the utility model provides a cubical switchboard module link gear, includes casing and wiring hole, the wiring hole has been seted up on the casing surface, casing lower surface difference fixedly connected with copper aluminum alloy fin and semiconductor refrigeration piece, the casing is pegged graft in ceramic seat inside and for can dismantling the connection, the ceramic seat inner wall bonds there is the circular arc type block rubber, ceramic seat bottom fixed connection landing leg, the landing leg specifically is two, two from last to respectively fixed connection connecting rod and horizontal pole down between the landing leg, connecting rod fixed surface connects the heat dissipation fan, the dustproof screen panel of connection can be dismantled to heat dissipation fan lower surface.
Preferably, the copper-aluminum alloy fin specifically is two, the semiconductor refrigeration piece is located two between the copper-aluminum alloy fin, semiconductor refrigeration piece fixed connection is in casing lower surface intermediate position, casing upper surface fixed connection handle, casing are the shell of cubical switchboard module clutch, and its inside installation electrical components, when circular telegram work, the inside production of heat of casing, partial heat transfer to copper-aluminum alloy fin surface, the heat radiating area of increase casing helps the heat dissipation, reduces thermal piling up, and the semiconductor refrigeration piece has fine refrigeration effect simultaneously, improves the security that cubical switchboard module clutch used.
Preferably, horizontal pole surface intermediate position fixed connection toper kuppe, the toper kuppe is located under the heat dissipation fan, horizontal pole lower surface symmetry installation rings, the lewis hole has been seted up on the rings surface, and heat dissipation fan circular telegram work accelerates the flow of air around the casing, has fine radiating effect, and the toper kuppe shunts the hot-air that comes from the heat dissipation fan, improves radiating effect.
Preferably, first screw hole has been seted up on the landing leg surface, cooperates the retaining member through first screw hole, is convenient for lock fixed, easy to assemble to the landing leg, and stability is good.
Preferably, ceramic seat top fixed connection roof, the second screw hole has been seted up on the roof surface, uses through roof cooperation second screw hole, can support fixedly to ceramic seat, easy to assemble labour saving and time saving.
Preferably, ceramic seat lateral wall fixed connection holder, the holder is located casing one side, is convenient for fix the wire centre gripping through the holder, and the effectual stability that improves the wire of connecting on the casing surface, the locking is loose effectual, increase of service life.
The utility model provides a cubical switchboard module link gear possesses following beneficial effect:
(1) the utility model discloses a casing lower surface fixedly connected with copper aluminum alloy fin and semiconductor refrigeration piece respectively, the inside heat that produces of casing, partial heat transfer to copper aluminum alloy fin surface, the heat radiating area of increase casing helps the heat dissipation, reduces thermal piling up, and the semiconductor refrigeration piece has fine refrigeration effect simultaneously, improves the security that cubical switchboard module clutch used.
(2) The utility model discloses a casing is pegged graft inside ceramic seat and for dismantling the connection, and the ceramic seat inner wall bonds and has the circular arc type block rubber, ceramic seat bottom fixed connection landing leg, and ceramic seat cooperation circular arc type block rubber can be fixed casing joint, easy to assemble and dismantlement.
Drawings
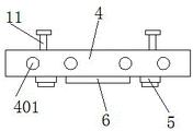
Fig. 1 is a schematic view of the overall structure of a switch cabinet module linkage mechanism of the present invention;
fig. 2 is a schematic view of a casing structure of a switch cabinet module linkage mechanism of the present invention;
fig. 3 is a schematic view of a connection structure of a switch cabinet module linkage mechanism supporting leg, a cross bar and a connecting rod of the present invention;
fig. 4 is a schematic view of a connection structure between a ceramic seat and a top plate of a switch cabinet module linkage mechanism of the present invention.
In the figure: 1. a support leg; 101. a first threaded hole; 2. a cross bar; 201. a conical air guide sleeve; 202. a hoisting ring; 203. hoisting holes; 3. a connecting rod; 301. a heat dissipation fan; 302. a dust-proof net cover; 4. a housing; 401. a wiring hole; 5. copper-aluminum alloy fins; 6. a semiconductor refrigeration sheet; 7. a ceramic base; 8. a holder; 9. a top plate; 901. a second threaded hole; 10. a circular arc-shaped rubber block; 11. a handle.
Detailed Description
The technical solution in the embodiments of the present invention will be clearly and completely described below with reference to the accompanying drawings in the embodiments of the present invention.
As shown in fig. 1-4, the utility model provides a technical solution: the utility model provides a cubical switchboard module link gear, includes casing 4 and wiring hole 401, wiring hole 401 has been seted up on 4 surfaces of casing, 4 lower surfaces of casing are fixedly connected with copper aluminum alloy fin 5 and semiconductor refrigeration piece 6 respectively, casing 4 is pegged graft at 7 inside and for dismantling the connection of ceramic seat, 7 inner walls of ceramic seat bond there is circular arc type block rubber 10, 7 bottom fixed connection landing legs of ceramic seat 1, landing leg 1 specifically is two, two from last respectively fixed connection connecting rod 3 and horizontal pole 2 down between the landing leg 1, 3 fixed surface of connecting rod connect heat dissipation fan 301, heat dissipation fan 301 lower surface can be dismantled and connect dustproof screen panel 302.
Copper aluminum alloy fin 5 specifically is two, semiconductor refrigeration piece 6 is located two between the copper aluminum alloy fin 5, 6 fixed connection of semiconductor refrigeration piece are in the 4 lower surface intermediate positions of casing, 4 upper surface fixed connection handles 11 on the casing, casing 4 is the shell of cubical switchboard module clutch, and its internally mounted electrical components, when circular telegram work, the inside production of heat of casing 4, partial heat transfer to copper aluminum alloy fin 5 surface, increase casing 4's heat radiating area helps the heat dissipation, reduces thermal pile up, and semiconductor refrigeration piece 6 has fine refrigeration effect simultaneously, improves the security that cubical switchboard module clutch used.
2 surperficial intermediate position fixed connection toper kuppe 201 of horizontal pole, toper kuppe 201 is located under heat dissipation fan 301, horizontal pole 2 lower surface symmetry installation rings 202, lifting eye 203 has been seted up on the ring 202 surface, and heat dissipation fan 301 circular telegram work accelerates the flow of casing 4 surrounding air, has fine radiating effect, and toper kuppe 201 is shunted the hot-air that comes from heat dissipation fan 301, improves the radiating effect.
The top end of the ceramic seat 7 is fixedly connected with the top plate 9, the surface of the top plate 9 is provided with a second threaded hole 901, and the ceramic seat 7 can be supported and fixed through the cooperation of the top plate 9 and the second threaded hole 901, so that the ceramic seat is convenient to install, and time and labor are saved.
7 lateral wall fixed connection holder 8 of ceramic seat, holder 8 is located casing 4 one side, and it is fixed to be convenient for to the wire centre gripping through holder 8, and the effectual stability of connecting at the surperficial wire of casing 4 that has improved, and locking pine takes off effectually, increase of service life.
When the switch cabinet module linkage mechanism works, the lower surface of a machine shell 4 is fixedly connected with two copper-aluminum alloy fins 5 and two semiconductor refrigerating sheets 6 respectively, the two copper-aluminum alloy fins 5 are specifically arranged, the semiconductor refrigerating sheets 6 are positioned between the two copper-aluminum alloy fins 5, the semiconductor refrigerating sheets 6 are fixedly connected to the middle position of the lower surface of the machine shell 4, the upper surface of the machine shell 4 is fixedly connected with a handle 11, the machine shell 4 is a shell of a switch cabinet module linkage device, an electric element is installed in the machine shell, when the switch cabinet module linkage device works in a power-on mode, heat is generated in the machine shell 4, part of heat is transferred to the surfaces of the copper-aluminum alloy fins 5, the heat dissipation area of the machine shell 4 is increased, heat dissipation is facilitated, heat accumulation is reduced, meanwhile, the semiconductor refrigerating sheets 6; the surface of the connecting rod 3 is fixedly connected with a heat dissipation fan 301, the lower surface of the heat dissipation fan 301 is detachably connected with a dustproof mesh cover 302, the middle position of the surface of the cross rod 2 is fixedly connected with a conical air guide cover 201, the conical air guide cover 201 is positioned under the heat dissipation fan 301, the lower surface of the cross rod 2 is symmetrically provided with hanging rings 202, the surface of each hanging ring 202 is provided with a hanging hole 203, the heat dissipation fan 301 is electrified to work, the flowing of air around the machine shell 4 is accelerated, the heat dissipation effect is good, and the conical air guide cover 201 divides hot air from the heat dissipation fan 301; casing 4 is pegged graft and is connected inside and for dismantling ceramic seat 7, 7 inner walls of ceramic seat bond and have circular arc type block rubber 10, 7 bottom fixed connection landing legs 1 of ceramic seat, in the time of installation casing 4, be the slope setting to casing 4, the lower extreme of casing 4 is pegged graft in the circular arc type block rubber 10 below of ceramic seat 7, press casing 4, and press another circular arc type block rubber 10 with the finger, inside 4 opposite sides of casing are pegged graft to ceramic seat 7, can install fixedly without the bolt, high durability and convenient operation, time saving and labor saving.
Although embodiments of the present invention have been shown and described, it will be appreciated by those skilled in the art that changes, modifications, substitutions and alterations can be made in these embodiments without departing from the principles and spirit of the invention, the scope of which is defined in the appended claims and their equivalents.
Claims (6)
1. The utility model provides a cubical switchboard module link gear, includes casing (4) and wiring hole (401), wiring hole (401) have been seted up on casing (4) surface, its characterized in that: casing (4) lower surface difference fixedly connected with copper aluminum alloy fin (5) and semiconductor refrigeration piece (6), casing (4) are pegged graft in ceramic seat (7) inside and for dismantling the connection, ceramic seat (7) inner wall bonds and has circular arc type block rubber (10), ceramic seat (7) bottom fixed connection landing leg (1), landing leg (1) specifically is two, two from last respectively fixed connection connecting rod (3) and horizontal pole (2) extremely down between landing leg (1), connecting rod (3) fixed surface connects heat dissipation fan (301), heat dissipation fan (301) lower surface can be dismantled and connect dust screen panel (302).
2. A switchgear module linkage according to claim 1, characterized in that: copper aluminum alloy fin (5) specifically are two, semiconductor refrigeration piece (6) are located two between copper aluminum alloy fin (5), semiconductor refrigeration piece (6) fixed connection is in casing (4) lower surface intermediate position, fixed surface connects handle (11) on casing (4).
3. A switchgear module linkage according to claim 1, characterized in that: horizontal pole (2) surface intermediate position fixed connection toper kuppe (201), toper kuppe (201) are located under heat dissipation fan (301), surface symmetry installation rings (202) under horizontal pole (2), lifting hole (203) have been seted up on rings (202) surface.
4. A switchgear module linkage according to claim 1, characterized in that: the surface of the supporting leg (1) is provided with a first threaded hole (101).
5. A switchgear module linkage according to claim 1, characterized in that: the top end of the ceramic seat (7) is fixedly connected with a top plate (9), and a second threaded hole (901) is formed in the surface of the top plate (9).
6. A switchgear module linkage according to claim 1, characterized in that: the side wall of the ceramic seat (7) is fixedly connected with a clamping seat (8), and the clamping seat (8) is positioned on one side of the machine shell (4).
Priority Applications (1)
| Application Number | Priority Date | Filing Date | Title |
|---|---|---|---|
| CN202020962232.6U CN211930070U (en) | 2020-06-01 | 2020-06-01 | Switch cabinet module linkage mechanism |
Applications Claiming Priority (1)
| Application Number | Priority Date | Filing Date | Title |
|---|---|---|---|
| CN202020962232.6U CN211930070U (en) | 2020-06-01 | 2020-06-01 | Switch cabinet module linkage mechanism |
Publications (1)
| Publication Number | Publication Date |
|---|---|
| CN211930070U true CN211930070U (en) | 2020-11-13 |
Family
ID=73320203
Family Applications (1)
| Application Number | Title | Priority Date | Filing Date |
|---|---|---|---|
| CN202020962232.6U Expired - Fee Related CN211930070U (en) | 2020-06-01 | 2020-06-01 | Switch cabinet module linkage mechanism |
Country Status (1)
| Country | Link |
|---|---|
| CN (1) | CN211930070U (en) |
-
2020
- 2020-06-01 CN CN202020962232.6U patent/CN211930070U/en not_active Expired - Fee Related
Similar Documents
| Publication | Publication Date | Title |
|---|---|---|
| CN107959248B (en) | A kind of open air dust-proof radiating high-voltage appliance switch cabinet | |
| CN213304679U (en) | Cubical switchboard for electrical engineering design | |
| CN211930070U (en) | Switch cabinet module linkage mechanism | |
| CN215817095U (en) | Automatic radiating low-voltage cabinet | |
| CN212277750U (en) | Switch cabinet started by induction | |
| CN111146710A (en) | Alternating-current high-voltage armored drawer type intelligent vacuum switch cabinet | |
| CN214590072U (en) | Intelligent switch cabinet device with high heat dissipation performance | |
| CN211605730U (en) | Long-life switch cabinet convenient to dismouting is overhauld | |
| CN117477381A (en) | A circuit safety protection device for high and low voltage distribution cabinets | |
| CN211239071U (en) | Armored movable metal-enclosed switch cabinet | |
| CN113300238A (en) | Cabinet body structure and cubical switchboard with movable cubical switchboard | |
| CN212210253U (en) | Multifunctional heat dissipation type low-voltage switch cabinet | |
| CN220291462U (en) | High-safety intelligent switch cabinet | |
| CN209844248U (en) | Floor type high-voltage isolation switch cabinet | |
| CN210201245U (en) | Outdoor mobile AC emergency power distribution device | |
| CN212784311U (en) | High-safety closed switch equipment | |
| CN214255155U (en) | A lightning-proof high-voltage switch cabinet | |
| CN209472273U (en) | A kind of low voltage drawing-out switching carbinet | |
| CN210577073U (en) | Detachable switch cabinet | |
| CN216958922U (en) | Movable switch electric appliance cabinet with adjustable structure | |
| CN218549149U (en) | Compound intelligent armor of monitoring formula high tension switchgear that withdraws | |
| CN209963506U (en) | Intelligent switch cabinet for electric power system | |
| CN220358766U (en) | Centralized grounding box special for railway | |
| CN112421398A (en) | High-efficient intelligent switch cabinet dehumidification cooling system | |
| CN218448990U (en) | Low-voltage switchgear convenient to maintenance |
Legal Events
| Date | Code | Title | Description |
|---|---|---|---|
| GR01 | Patent grant | ||
| GR01 | Patent grant | ||
| CF01 | Termination of patent right due to non-payment of annual fee |
Granted publication date: 20201113 |
|
| CF01 | Termination of patent right due to non-payment of annual fee |