CN211919550U - Rotary silo cap - Google Patents
Rotary silo cap Download PDFInfo
- Publication number
- CN211919550U CN211919550U CN202020472877.1U CN202020472877U CN211919550U CN 211919550 U CN211919550 U CN 211919550U CN 202020472877 U CN202020472877 U CN 202020472877U CN 211919550 U CN211919550 U CN 211919550U
- Authority
- CN
- China
- Prior art keywords
- silo
- material baffle
- bottle cap
- bottle
- feeding
- Prior art date
- Legal status (The legal status is an assumption and is not a legal conclusion. Google has not performed a legal analysis and makes no representation as to the accuracy of the status listed.)
- Active
Links
- 239000000463 material Substances 0.000 claims abstract description 56
- 238000007789 sealing Methods 0.000 claims abstract description 27
- XLYOFNOQVPJJNP-UHFFFAOYSA-N water Substances O XLYOFNOQVPJJNP-UHFFFAOYSA-N 0.000 claims abstract description 21
- 229920001296 polysiloxane Polymers 0.000 claims description 7
- 235000013361 beverage Nutrition 0.000 abstract description 22
- 239000000126 substance Substances 0.000 abstract description 5
- 230000007423 decrease Effects 0.000 abstract description 4
- 235000012041 food component Nutrition 0.000 abstract description 3
- 239000007788 liquid Substances 0.000 abstract description 2
- 238000004806 packaging method and process Methods 0.000 abstract description 2
- 230000035622 drinking Effects 0.000 description 8
- 238000000034 method Methods 0.000 description 6
- 235000013399 edible fruits Nutrition 0.000 description 5
- 239000000843 powder Substances 0.000 description 5
- 240000000851 Vaccinium corymbosum Species 0.000 description 3
- 235000003095 Vaccinium corymbosum Nutrition 0.000 description 3
- 235000017537 Vaccinium myrtillus Nutrition 0.000 description 3
- 235000021014 blueberries Nutrition 0.000 description 3
- 235000013995 raspberry juice Nutrition 0.000 description 3
- 239000012141 concentrate Substances 0.000 description 2
- 235000011389 fruit/vegetable juice Nutrition 0.000 description 2
- 235000015097 nutrients Nutrition 0.000 description 2
- 239000007787 solid Substances 0.000 description 2
- 239000004480 active ingredient Substances 0.000 description 1
- 238000010586 diagram Methods 0.000 description 1
- 235000021554 flavoured beverage Nutrition 0.000 description 1
- 235000020510 functional beverage Nutrition 0.000 description 1
- 230000014509 gene expression Effects 0.000 description 1
- 238000012986 modification Methods 0.000 description 1
- 230000004048 modification Effects 0.000 description 1
- 235000016709 nutrition Nutrition 0.000 description 1
- 230000005855 radiation Effects 0.000 description 1
Images
Landscapes
- Closures For Containers (AREA)
Abstract
本实用新型旋转料仓瓶盖,涉及液体饮料包装技术领域,尤其涉及便于携带及使用的速溶饮品的饮料瓶盖。本实用新型包括:投料部、料仓部和连接部;料仓部的上下端分别设置有投料部和连接部;上部的投料部与料仓部相通;料仓部与下部的连接部相通,在料仓部与连接部的连接处设置有出料口,出料口处设置有与水瓶瓶口连接密封用的瓶口密封环;连接部位于旋转料仓瓶盖的下部为环形结构;在连接部的内壁加工有瓶盖螺纹,旋转料仓瓶盖与水瓶通过瓶盖螺纹相连接。本实用新型的技术方案解决了现有技术中的饮品中的有效物质在外界环境的影响下,分解或遭到破坏,致使营养成分下降的问题。
The utility model relates to a bottle cap of a rotating material bin, which relates to the technical field of liquid beverage packaging, in particular to a beverage bottle cap for instant beverages that is easy to carry and use. The utility model comprises: a feeding part, a silo part and a connecting part; the upper and lower ends of the silo part are respectively provided with a feeding part and a connecting part; the upper feeding part is communicated with the silo part; the silo part is communicated with the lower connecting part, A discharge port is arranged at the connection between the silo part and the connecting part, and a bottle mouth sealing ring for connecting and sealing with the bottle mouth of the water bottle is arranged at the discharge port; The inner wall of the connecting part is processed with a bottle cap thread, and the bottle cap of the rotating material bin is connected with the water bottle through the bottle cap thread. The technical scheme of the utility model solves the problem that the effective substances in the beverages in the prior art are decomposed or destroyed under the influence of the external environment, resulting in the decline of the nutritional components.
Description
技术领域technical field
本实用新型旋转料仓瓶盖,涉及液体饮料包装技术领域,尤其涉及便于携带及使用的速溶饮品的饮料瓶盖。The utility model relates to a bottle cap of a rotating material bin, which relates to the technical field of liquid beverage packaging, in particular to a beverage bottle cap for instant beverages that is easy to carry and use.
背景技术Background technique
当前功能饮料,营养饮料比较适合大众需求,但是,有效物质溶解于饮料瓶内的水中,在外界温度升高,紫外线照射等不利环境中,饮料溶液中的有效成分可能会分解,或遭到破坏,致使营养成分下降。At present, functional beverages and nutritional beverages are more suitable for the needs of the public. However, the effective substances are dissolved in the water in the beverage bottle, and the active ingredients in the beverage solution may be decomposed or destroyed in unfavorable environments such as external temperature rise and ultraviolet radiation. , resulting in a decrease in nutrients.
针对上述现有技术中所存在的问题,研究设计一种新型的旋转料仓瓶盖,从而克服现有技术中所存在的问题是十分必要的。In view of the above problems in the prior art, it is very necessary to study and design a new type of bottle cap of the rotary silo, so as to overcome the problems in the prior art.
发明内容SUMMARY OF THE INVENTION
根据上述现有技术提出的饮品中的有效物质在外界环境的影响下,分解或遭到破坏,致使营养成分下降的技术问题,而提供一种旋转料仓瓶盖。本实用新型旋转料仓盛装固态饮品溶质,使之与水分隔,饮用时旋转物料挡板,使水与饮料溶质混合,即可进行饮用,从而达到保证饮料溶质中营养成分的效果。According to the technical problem that the effective substances in the beverages are decomposed or destroyed under the influence of the external environment, resulting in the decline of nutritional components, a rotary silo bottle cap is provided. The rotating silo of the utility model contains solid beverage solutes to separate them from water. When drinking, the material baffle plate is rotated to mix the water and the beverage solutes for drinking, thereby achieving the effect of ensuring the nutrients in the beverage solutes.
本实用新型采用的技术手段如下:The technical means adopted by the utility model are as follows:
一种旋转料仓瓶盖包括:投料部、料仓部和连接部;料仓部的上下端分别设置有投料部和连接部;上部的投料部与料仓部相通;料仓部与下部的连接部相通,在料仓部与连接部的连接处设置有出料口,出料口处设置有与水瓶瓶口连接密封用的瓶口密封环;连接部位于旋转料仓瓶盖的下部为环形结构;在连接部的内壁加工有瓶盖螺纹,旋转料仓瓶盖与水瓶通过瓶盖螺纹相连接。A rotary silo bottle cap comprises: a feeding part, a silo part and a connecting part; the upper and lower ends of the silo part are respectively provided with a feeding part and a connecting part; the upper feeding part is communicated with the silo part; The connecting part is connected, and a discharge port is arranged at the connection between the silo part and the connecting part, and a bottle mouth sealing ring for connecting and sealing with the bottle mouth of the water bottle is arranged at the discharge port; The ring structure is provided; the inner wall of the connecting part is processed with a bottle cap thread, and the bottle cap of the rotating material bin is connected with the water bottle through the bottle cap thread.
进一步地,料仓部包括:料仓、物料挡板旋转轴、物料挡板、硅胶密封圈、物料挡板旋转扳手和密封盖;料仓的内部为横置的筒形结构;物料挡板为半圆柱形状,物料挡板与料仓同轴,且物料挡板的外径略小于料仓的内径,保持滑动密封;物料挡板上加工有同轴的物料挡板旋转轴;物料挡板装入料仓内,料仓外部装有硅胶密封圈和密封盖,密封盖与料仓通过螺纹连接;物料挡板旋转轴伸出密封盖外部的部分装有物料挡板旋转扳手,用于转动物料挡板。Further, the silo part includes: a silo, a material baffle rotating shaft, a material baffle, a silicone sealing ring, a material baffle rotary wrench and a sealing cover; the interior of the silo is a horizontal cylindrical structure; the material baffle is Semi-cylindrical shape, the material baffle is coaxial with the silo, and the outer diameter of the material baffle is slightly smaller than the inner diameter of the silo to maintain a sliding seal; the material baffle is processed with a coaxial material baffle rotating shaft; In the feeding silo, the outside of the silo is equipped with a silicone sealing ring and a sealing cover, and the sealing cover and the silo are connected by threads; bezel.
进一步地,投料部包括:投料嘴和投料嘴盖;投料嘴装于料仓部上部,与料仓相通;投料嘴上装有投料嘴盖。Further, the feeding part includes: a feeding nozzle and a feeding nozzle cover; the feeding nozzle is installed on the upper part of the silo part and communicates with the silo; the feeding nozzle cover is provided on the feeding nozzle.
本实用新型的使用方法为:The use method of this utility model is:
1、固态饮品溶质的备储:转动物料挡板旋转扳手带动物料挡板旋转,使半圆形物料挡板封闭出料口,再打开投料嘴盖由投料嘴处加入果粉、浓缩果汁后盖严投料嘴盖,将旋转料仓瓶盖与水瓶通过螺纹装配为一体;1. Reserve storage of solid drink solute: turn the material baffle and rotate the wrench to drive the material baffle to rotate, so that the semi-circular material baffle closes the discharge port, and then open the feeding nozzle cover, add fruit powder and concentrated juice from the feeding nozzle, and then cover it tightly Feeding nozzle cover, the bottle cap of the rotating silo and the water bottle are assembled into one through the thread;
2、混合饮用:当需要饮用时,旋转物料挡板旋转扳手带动物料挡板旋转,使料仓通过出料口与水瓶相同,瓶中水与料仓内落下的果粉或浓缩果汁混合均匀,即可开启投料嘴盖,通过投料嘴进行饮用。2. Mixed drinking: When it is necessary to drink, rotate the material baffle and rotate the wrench to drive the material baffle to rotate, so that the silo passes through the discharge port in the same way as the water bottle, and the water in the bottle is evenly mixed with the fruit powder or concentrated juice falling in the silo, namely The lid of the feeding nozzle can be opened to drink through the feeding nozzle.
较现有技术相比,本实用新型具有以下优点:Compared with the prior art, the utility model has the following advantages:
1、本实用新型提供的旋转料仓瓶盖,通过料仓装备饮料溶质,与瓶中水分隔盛装,确保了饮用前饮料溶质不会被外界环境破坏。1. The bottle cap of the rotating silo provided by the present invention is equipped with beverage solute through the silo, which is separated from the water in the bottle to ensure that the beverage solute will not be damaged by the external environment before drinking.
2、本实用新型提供的旋转料仓瓶盖,通过料仓装备饮料溶质,与瓶中水分隔盛装,可延长饮品保质期,增加了饮品的货架期。2. The rotary silo bottle cap provided by the utility model is equipped with beverage solute through the silo, which is separately packed from the water in the bottle, which can prolong the shelf life of the beverage and increase the shelf life of the beverage.
3、本实用新型提供的旋转料仓瓶盖,通过料仓装备各种风味的饮品物质,丰富了饮料的品种。3. The rotary silo bottle cap provided by the utility model is equipped with various flavored beverage substances through the silo, which enriches the variety of beverages.
4、本实用新型提供的旋转料仓瓶盖,结构简单、方便操作,适用各种饮料瓶使用。4. The rotary hopper bottle cap provided by the utility model has a simple structure, is convenient to operate, and is suitable for use in various beverage bottles.
综上,应用本实用新型的技术方案解决了现有技术中的饮品中有效物质在外界环境的影响下,分解或遭到破坏,致使营养成分下降的问题。To sum up, the application of the technical solution of the present invention solves the problem that the effective substances in the beverages in the prior art are decomposed or destroyed under the influence of the external environment, resulting in the decrease of nutritional components.
附图说明Description of drawings
为了更清楚地说明本实用新型实施例或现有技术中的技术方案,下面将对实施例或现有技术描述中所需要使用的附图做以简单地介绍,显而易见地,下面描述中的附图是本实用新型的一些实施例,对于本领域普通技术人员来讲,在不付出创造性劳动性的前提下,还可以根据这些附图获得其他的附图。In order to more clearly illustrate the embodiments of the present invention or the technical solutions in the prior art, the following briefly introduces the accompanying drawings that need to be used in the description of the embodiments or the prior art. Obviously, the accompanying drawings in the following description The drawings are some embodiments of the present invention. For those of ordinary skill in the art, other drawings can also be obtained from these drawings without creative labor.
图1为本实用新型结构示意图;Fig. 1 is the structural representation of the utility model;
图2为图1侧视图;Fig. 2 is a side view of Fig. 1;
图3为本实用新型使用状态图。FIG. 3 is a state diagram of the utility model in use.
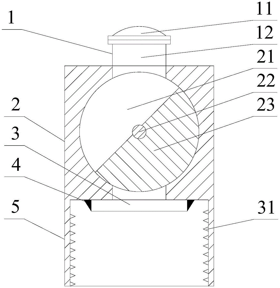
图中:1、投料部11、投料嘴盖12、投料嘴2、料仓部21、料仓22、物料挡板旋转轴23、物料挡板24、硅胶密封圈25、物料挡板旋转扳手26、密封盖3、出料口31、瓶盖螺纹4、瓶口密封环5、连接部6、水瓶。In the figure: 1. Feeding
具体实施方式Detailed ways
需要说明的是,在不冲突的情况下,本实用新型中的实施例及实施例中的特征可以相互组合。下面将参考附图并结合实施例来详细说明本实用新型。It should be noted that the embodiments of the present invention and the features of the embodiments may be combined with each other under the condition of no conflict. The present utility model will be described in detail below with reference to the accompanying drawings and in conjunction with the embodiments.
为使本实用新型实施例的目的、技术方案和优点更加清楚,下面将结合本实用新型实施例中的附图,对本实用新型实施例中的技术方案进行清楚、完整地描述,显然,所描述的实施例仅仅是本实用新型一部分实施例,而不是全部的实施例。以下对至少一个示例性实施例的描述实际上仅仅是说明性的,决不作为对本实用新型及其应用或使用的任何限制。基于本实用新型中的实施例,本领域普通技术人员在没有做出创造性劳动前提下所获得的所有其他实施例,都属于本实用新型保护的范围。In order to make the purposes, technical solutions and advantages of the embodiments of the present utility model clearer, the technical solutions in the embodiments of the present utility model will be clearly and completely described below with reference to the accompanying drawings in the embodiments of the present utility model. The embodiments described above are only a part of the embodiments of the present invention, but not all of the embodiments. The following description of at least one exemplary embodiment is merely illustrative in nature and is in no way intended to limit the invention, its application or uses in any way. Based on the embodiments of the present invention, all other embodiments obtained by those of ordinary skill in the art without creative work fall within the protection scope of the present invention.
需要注意的是,这里所使用的术语仅是为了描述具体实施方式,而非意图限制根据本实用新型的示例性实施方式。如在这里所使用的,除非上下文另外明确指出,否则单数形式也意图包括复数形式,此外,还应当理解的是,当在本说明书中使用术语“包含”和/或“包括”时,其指明存在特征、步骤、操作、器件、组件和/或它们的组合。It should be noted that the terminology used herein is for describing specific embodiments only, and is not intended to limit the exemplary embodiments according to the present invention. As used herein, unless the context clearly dictates otherwise, the singular is intended to include the plural as well, furthermore, it is to be understood that when the terms "comprising" and/or "including" are used in this specification, it indicates that There are features, steps, operations, devices, components and/or combinations thereof.
除非另外具体说明,否则在这些实施例中阐述的部件和步骤的相对布置、数字表达式和数值不限制本实用新型的范围。同时,应当清楚,为了便于描述,附图中所示出的各个部分的尺寸并不是按照实际的比例关系绘制的。对于相关领域普通技术人员己知的技术、方法和设备可能不作详细讨论,但在适当情况下,所述技术、方法和设备应当被视为授权说明书的一部分。在这里示出和讨论的所有示例中,任向具体值应被解释为仅仅是示例性的,而不是作为限制。因此,示例性实施例的其它示例可以具有不同的值。应注意到:相似的标号和字母在下面的附图中表示类似项,因此,一旦某一项在一个附图中被定义,则在随后的附图中不需要对其进行进一步讨论。The relative arrangement of the components and steps, the numerical expressions and numerical values set forth in these embodiments do not limit the scope of the invention unless specifically stated otherwise. Meanwhile, it should be understood that, for the convenience of description, the dimensions of various parts shown in the accompanying drawings are not drawn in an actual proportional relationship. Techniques, methods, and devices known to those of ordinary skill in the relevant art may not be discussed in detail, but where appropriate, such techniques, methods, and devices should be considered part of the authorized specification. In all examples shown and discussed herein, any specific values should be construed as illustrative only and not limiting. Accordingly, other examples of exemplary embodiments may have different values. It should be noted that like numerals and letters refer to like items in the following figures, so once an item is defined in one figure, it does not require further discussion in subsequent figures.
在本实用新型的描述中,需要理解的是,方位词如“前、后、上、下、左、右”、“横向、竖向、垂直、水平”和“顶、底”等所指示的方位或位置关系通常是基于附图所示的方位或位置关系,仅是为了便于描述本实用新型和简化描述,在未作相反说明的情况下,这些方位词并不指示和暗示所指的装置或元件必须具有特定的方位或者以特定的方位构造和操作,因此不能理解为对本实用新型保护范围的限制:方位词“内、外”是指相对于各部件本身的轮廓的内外。In the description of the present utility model, it should be understood that orientation words such as "front, rear, top, bottom, left, right", "horizontal, vertical, vertical, horizontal" and "top, bottom" etc. The orientation or positional relationship is usually based on the orientation or positional relationship shown in the accompanying drawings, which is only for the convenience of describing the present invention and simplifying the description, and these orientations do not indicate and imply the indicated device unless otherwise stated. Or elements must have a specific orientation or be constructed and operated in a specific orientation, so it cannot be construed as a limitation on the protection scope of the present invention: the orientation words "inside and outside" refer to the inside and outside relative to the contour of each component itself.
为了便于描述,在这里可以使用空间相对术语,如“在……之上”、“在……上方”、“在……上表面”、“上面的”等,用来描述如在图中所示的一个器件或特征与其他器件或特征的空间位置关系。应当理解的是,空间相对术语旨在包含除了器件在图中所描述的方位之外的在使用或操作中的不同方位。例如,如果附图中的器件被倒置,则描述为“在其他器件或构造上方”或“在其他器件或构造之上”的器件之后将被定位为“在其他器件或构造下方”或“在其位器件或构造之下”。因而,示例性术语“在……上方”可以包括“在……上方”和“在……下方”两种方位。该器件也可以其他不同方式定位(旋转90度或处于其他方位),并且对这里所使用的空间相对描述作出相应解释。For ease of description, spatially relative terms, such as "on", "over", "on the surface", "above", etc., may be used herein to describe what is shown in the figures. The spatial positional relationship of one device or feature shown to other devices or features. It should be understood that spatially relative terms are intended to encompass different orientations of the device in use or operation in addition to the orientation depicted in the figures. For example, if the device in the figures is turned over, elements described as "above" or "over" other devices or features would then be oriented "below" or "over" the other devices or features under its device or structure". Thus, the exemplary term "above" can encompass both an orientation of "above" and "below." The device may also be otherwise oriented (rotated 90 degrees or at other orientations) and the spatially relative descriptions used herein interpreted accordingly.
此外,需要说明的是,使用“第一”、“第二”等词语来限定零部件,仅仅是为了便于对相应零部件进行区别,如没有另行声明,上述词语并没有特殊含义,因此不能理解为对本实用新型保护范围的限制。In addition, it should be noted that the use of words such as "first" and "second" to define components is only for the convenience of distinguishing corresponding components. Unless otherwise stated, the above words have no special meaning and therefore cannot be understood To limit the scope of protection of the present invention.
如图所示,本实用新型提供了一种旋转料仓瓶盖包括:投料部1、料仓部2和连接部5;料仓部2的上下端分别设置有投料部1和连接部5;上部的投料部1与料仓部2相通;料仓部2与下部的连接部5相通,在料仓部2与连接部5的连接处设置有出料口3,出料口3处设置有与水瓶6瓶口连接密封用的瓶口密封环4;连接部5位于旋转料仓瓶盖的下部为环形结构;在连接部5的内壁加工有瓶盖螺纹31,旋转料仓瓶盖与水瓶6通过瓶盖螺纹31相连接。As shown in the figure, the utility model provides a bottle cap of a rotating silo, which includes: a feeding
料仓部2包括:料仓21、物料挡板旋转轴22、物料挡板23、硅胶密封圈24、物料挡板旋转扳手25和密封盖26;料仓21的内部为横置的筒形结构;物料挡板23为半圆柱形状,物料挡板23与料仓21同轴,且物料挡板23的外径略小于料仓21的内径,保持滑动密封;物料挡板23上加工有同轴的物料挡板旋转轴22;物料挡板23装入料仓21内,料仓外部装有硅胶密封圈24和密封盖26,密封盖26与料仓21通过螺纹连接;物料挡板旋转轴22伸出密封盖26外部的部分装有物料挡板旋转扳手25,用于转动物料挡板23。The
投料部1包括:投料嘴12和投料嘴盖11;投料嘴12装于料仓部2上部,与料仓相通;投料嘴12上装有投料嘴盖11。The feeding
实施例一Example 1
首先转动物料挡板旋转扳手,带动物料挡板旋转,使半圆形物料挡板封闭出料口,从投料嘴处加入蓝莓果粉,盖严投料嘴盖,旋紧旋转料仓瓶盖于水瓶螺纹处;当需要饮用时,旋转物料挡板旋转扳手,使料仓与水瓶相通,瓶中水与蓝莓果粉混合均匀,即可开启投料嘴盖,进行饮用,饮用完毕后,可复原物料挡板位置,继续向料仓内加入蓝莓果粉。First, turn the rotary wrench on the material baffle to drive the material baffle to rotate, so that the semi-circular material baffle closes the discharge port, add blueberry fruit powder from the feeding nozzle, cover the feeding nozzle tightly, and tighten the bottle cap of the rotating material bin on the thread of the water bottle When you need to drink, rotate the material baffle and rotate the wrench to make the silo communicate with the water bottle. The water in the bottle and the blueberry fruit powder are evenly mixed, and the feeding spout cover can be opened for drinking. After drinking, the position of the material baffle can be restored. , continue to add blueberry fruit powder to the silo.
实施例二
首先转动物料挡板旋转扳手,带动物料挡板旋转,使半圆形物料挡板封闭出料口,从投料嘴处加入树莓浓缩果汁,盖严投料嘴盖,旋紧旋转料仓瓶盖于水瓶螺纹处;当需要饮用时,旋转物料挡板旋转扳手,使料仓与水瓶相通,瓶中水与树莓浓缩果汁混合均匀,即可开启投料嘴盖,进行饮用,饮用完毕后,可复原物料挡板位置,继续向料仓内加入树莓浓缩果汁。First, turn the rotary wrench on the material baffle to drive the material baffle to rotate, so that the semi-circular material baffle closes the discharge port, add raspberry juice concentrate from the feeding nozzle, cover the feeding nozzle tightly, and tighten the bottle cap of the rotating hopper on At the thread of the water bottle; when it is necessary to drink, rotate the material baffle and rotate the wrench to make the silo communicate with the water bottle. The water in the bottle and the concentrated raspberry juice can be mixed evenly, and then the feeding nozzle cover can be opened for drinking. After drinking, it can be restored. At the position of the material baffle, continue to add raspberry juice concentrate into the silo.
最后应说明的是:以上各实施例仅用以说明本实用新型的技术方案,而非对其限制;尽管参照前述各实施例对本实用新型进行了详细的说明,本领域的普通技术人员应当理解:其依然可以对前述各实施例所记载的技术方案进行修改,或者对其中部分或者全部技术特征进行等同替换;而这些修改或者替换,并不使相应技术方案的本质脱离本实用新型各实施例技术方案的范围。Finally, it should be noted that the above embodiments are only used to illustrate the technical solutions of the present utility model, but not to limit them; although the present utility model has been described in detail with reference to the foregoing embodiments, those of ordinary skill in the art should understand that : it can still modify the technical solutions recorded in the foregoing embodiments, or perform equivalent replacements to some or all of the technical features; and these modifications or replacements do not make the essence of the corresponding technical solutions deviate from the various embodiments of the present utility model Scope of technical solutions.
Claims (3)
Priority Applications (1)
| Application Number | Priority Date | Filing Date | Title |
|---|---|---|---|
| CN202020472877.1U CN211919550U (en) | 2020-04-02 | 2020-04-02 | Rotary silo cap |
Applications Claiming Priority (1)
| Application Number | Priority Date | Filing Date | Title |
|---|---|---|---|
| CN202020472877.1U CN211919550U (en) | 2020-04-02 | 2020-04-02 | Rotary silo cap |
Publications (1)
| Publication Number | Publication Date |
|---|---|
| CN211919550U true CN211919550U (en) | 2020-11-13 |
Family
ID=73374074
Family Applications (1)
| Application Number | Title | Priority Date | Filing Date |
|---|---|---|---|
| CN202020472877.1U Active CN211919550U (en) | 2020-04-02 | 2020-04-02 | Rotary silo cap |
Country Status (1)
| Country | Link |
|---|---|
| CN (1) | CN211919550U (en) |
-
2020
- 2020-04-02 CN CN202020472877.1U patent/CN211919550U/en active Active
Similar Documents
| Publication | Publication Date | Title |
|---|---|---|
| CN201023838Y (en) | Double-liquid blending bottle | |
| CN211919550U (en) | Rotary silo cap | |
| CN201873115U (en) | Combined bottle cap and bottle having the same | |
| CN220448548U (en) | Nested double-thread MQM solid-liquid separation quick mixing bottle cap | |
| CN104340540A (en) | Instant liquid mixing beverage bottle and filling method thereof | |
| CN204453387U (en) | The instant bland bottle of a kind of feed liquid | |
| CN105857896B (en) | Material taking bottle of packaging container for ethylene glycol antimony | |
| CN204110548U (en) | Can the bottle cap of store solids material | |
| WO2021078017A1 (en) | Feed cap | |
| CN204133866U (en) | A kind of feeding bottle | |
| CN201120992Y (en) | Multifunctional combined fresh-keeping and quantifying bottle cap | |
| CN205707986U (en) | A kind of carafe conveniently drinking solid beverage | |
| US8177059B2 (en) | Closure arrangement | |
| CN218705274U (en) | Packing container bottle | |
| CN223575099U (en) | Liquid packaging box with an internal stirring mechanism and sloping top. | |
| CN204341651U (en) | Can the material storage bottle cap of store solids material or liquid substance | |
| US10905633B2 (en) | Heat seal pouch and method of use thereof | |
| CN201052875Y (en) | Beverage bottle cap assembly | |
| TWI609819B (en) | Bottle cap with airtight space | |
| CN218318329U (en) | Bottle cap device with ring buckle anti-falling sealing cover | |
| CN222453198U (en) | A multi-chamber container bottle capable of providing vials | |
| CN212668084U (en) | An outward-opening ready-to-match container | |
| CN205738723U (en) | A kind of dual bottle cap for storing | |
| CN220924796U (en) | Step-by-step precession instant-dispensing type beverage primary-secondary bottle | |
| CN206358606U (en) | A kind of packing tin for foodstuff |
Legal Events
| Date | Code | Title | Description |
|---|---|---|---|
| GR01 | Patent grant | ||
| GR01 | Patent grant |
