CN211892583U - A device for auxiliary dictation of English words - Google Patents
A device for auxiliary dictation of English words Download PDFInfo
- Publication number
- CN211892583U CN211892583U CN202020156004.XU CN202020156004U CN211892583U CN 211892583 U CN211892583 U CN 211892583U CN 202020156004 U CN202020156004 U CN 202020156004U CN 211892583 U CN211892583 U CN 211892583U
- Authority
- CN
- China
- Prior art keywords
- dictation
- words
- sliding frame
- sliding
- guide rails
- Prior art date
- Legal status (The legal status is an assumption and is not a legal conclusion. Google has not performed a legal analysis and makes no representation as to the accuracy of the status listed.)
- Expired - Fee Related
Links
- 230000006870 function Effects 0.000 abstract description 3
- 230000001681 protective effect Effects 0.000 abstract description 3
- 238000010586 diagram Methods 0.000 description 2
- 230000009286 beneficial effect Effects 0.000 description 1
- 230000000903 blocking effect Effects 0.000 description 1
- 238000009434 installation Methods 0.000 description 1
- 238000000034 method Methods 0.000 description 1
- 230000004048 modification Effects 0.000 description 1
- 238000012986 modification Methods 0.000 description 1
Images
Landscapes
- Drawing Aids And Blackboards (AREA)
Abstract
本实用新型公开了一种英语单词辅助默写装置,涉及学习辅助设备技术领域,针对现有的单词本无单词和释义分离的功能,导致单词背诵不便的问题,现提出如下方案,其包括连接板和滑动架,所述连接板的两侧均铰接有背板,一侧所述背板的一侧表面固定安装有两个沿背板长度方向上呈对称分布的导向轨,且两个所述导向轨远离背板的一侧表面均开设有导向槽,两个所述导向槽分别沿着两个所述导向轨的长度方向设置。本实用新型结构新颖,且该装置不仅可通过遮挡板覆盖住单词本的默写部分,从而方便的进行默写,并且方便默写后的单词或者释义的比对;同时避免了自备纸张的麻烦;并且方便进行收纳且以及具有一定的保护作用,适宜推广。
The utility model discloses an auxiliary dictation device for English words, which relates to the technical field of learning auxiliary equipment. Aiming at the problem that the existing vocabulary does not have the function of separating words and interpretations, which leads to inconvenient recitation of words, the following scheme is proposed, which includes a connecting board and sliding frame, both sides of the connecting plate are hinged with a backboard, and two guide rails symmetrically distributed along the length direction of the backboard are fixedly installed on one side surface of the backboard, and the two The surface of one side of the guide rails away from the back plate is provided with guide grooves, and the two guide grooves are respectively arranged along the length directions of the two guide rails. The utility model has a novel structure, and the device can not only cover the dictation part of the word book through the shielding plate, so as to facilitate dictation, and facilitate the comparison of words or interpretations after dictation; at the same time, the trouble of self-provided paper is avoided; and It is convenient for storage and has a certain protective effect, which is suitable for promotion.
Description
技术领域technical field
本实用新型涉及学习辅助设备技术领域,尤其涉及一种英语单词辅助默写装置。The utility model relates to the technical field of learning auxiliary equipment, in particular to an auxiliary dictation device for English words.
背景技术Background technique
在我国小学至高中阶段,特别是中学阶段,几乎全部的学校选择英语作为其主要或唯一的外语必修课;在全日制普通大学,除了非英语外语专业以外,一般均以英语作为必修课,其他外语作为选修课;而非英语专业的语言专业,一般要求同时对英语作为必要课程之列,可见英语课程在我国校园教育的重要地位,而学好英语的基础就是对于单词的记忆。In our country from primary school to high school, especially middle school, almost all schools choose English as their main or only foreign language compulsory course; in full-time ordinary universities, except for non-English foreign language majors, English is generally a compulsory course, other Foreign language is an elective course; language majors other than English majors generally require English as a necessary course at the same time. It can be seen that English courses play an important role in campus education in our country, and the foundation of learning English well is the memory of words.
目前的大多数单词本一般是将单词和释义放在一起记录,这使得学习者在背诵单词时,容易受到释义的干扰,给单词的记忆带来不便,并且单词本一般不带有单词默写的纸张,使得单词在默写背诵的时候,需要另备纸张,从而影响了单词默写的效率,因此,为了解决此类问题,我们提出一种英语单词辅助默写装置。Most of the current word books generally record the words and their definitions together, which makes the learners vulnerable to the interference of the definitions when reciting the words, which brings inconvenience to the memory of the words, and the word books generally do not have word dictation. Paper, so that when words are recited by dictation, additional paper is required, which affects the efficiency of word dictation. Therefore, in order to solve such problems, we propose an auxiliary dictation device for English words.
实用新型内容Utility model content
本实用新型提出的一种英语单词辅助默写装置,解决了现有的单词本无单词和释义分离的功能,导致单词背诵不便的问题。The auxiliary dictation device for English words proposed by the utility model solves the problem that the existing words have no function of separating words and interpretations, which leads to inconvenient recitation of words.
为了实现上述目的,本实用新型采用了如下技术方案:一种英语单词辅助默写装置,包括连接板和滑动架,所述连接板的两侧均铰接有背板,一侧所述背板的一侧表面固定安装有两个沿背板长度方向上呈对称分布的导向轨,且两个所述导向轨远离背板的一侧表面均开设有导向槽,两个所述导向槽分别沿着两个所述导向轨的长度方向设置,且所述滑动架的两端均滑动安装于导向槽的内部,所述滑动架的内部沿其两侧内壁均开设有滑动槽,且两个所述滑动槽的内部滑动安装有遮挡板,所述滑动架的一端表面开设有挡板孔,且挡板孔贯穿滑动架的内壁,远离所述导向轨的一侧所述背板的表面固定安装有弹簧夹。In order to achieve the above purpose, the present invention adopts the following technical scheme: an auxiliary dictation device for English words, comprising a connecting plate and a sliding frame, both sides of the connecting plate are hinged with backboards, and one side of the backboard is hinged on one side. The side surface is fixedly installed with two guide rails that are symmetrically distributed along the length direction of the backplane, and the side surfaces of the two guide rails away from the backplane are both provided with guide grooves, and the two guide grooves are respectively along the two guide rails. Each of the guide rails is arranged in the length direction, and both ends of the sliding frame are slidably installed inside the guide grooves. The interior of the sliding frame is provided with sliding grooves along the inner walls of both sides, and the two sliding frames are provided with sliding grooves. A shielding plate is slidably installed inside the groove, a baffle hole is formed on one end surface of the sliding frame, and the baffle hole penetrates the inner wall of the sliding frame, and a spring is fixedly installed on the surface of the back plate on the side away from the guide rail folder.
优选的,两个所述背板相互远离的一侧面均固定安装有闭合磁条,且两个闭合磁条相互匹配。Preferably, closed magnetic strips are fixedly installed on one side of the two backboards away from each other, and the two closed magnetic strips are matched with each other.
优选的,所述遮挡板远离背板的一侧表面固定安装有滑动手柄,且所述滑动手柄靠近遮挡板的端部设置。Preferably, a sliding handle is fixedly installed on a side surface of the shielding plate away from the back plate, and the sliding handle is disposed close to the end of the shielding plate.
优选的,所述弹簧夹的内部夹持有默写纸。Preferably, the inside of the spring clip holds the writing paper.
优选的,所述连接板靠近弹簧夹的一侧表面固定安装有均匀分布的笔套。Preferably, evenly distributed pen covers are fixedly installed on one side surface of the connecting plate close to the spring clip.
本实用新型的有益效果为:The beneficial effects of the present utility model are:
1、该装置通过在两个导向轨之间滑动安装有滑动架,并且滑动槽的内部滑动安装有遮挡板,从而使得遮挡板可随着滑动架移动到单词本需要进行默写的地方,从而方便进行单词或者释义的默写;并且遮挡板在滑动槽的内部滑动,可由上到下逐渐展示单词本的单词或者释义的部分,从而方便的对于默写单词或者释义进行比对纠正。1. The device is installed with a sliding frame between the two guide rails, and a shielding plate is slidably installed inside the sliding groove, so that the shielding plate can move with the sliding frame to the place where the word book needs to be dictated, which is convenient. Dictate words or interpretations; and the shutter slides inside the sliding slot, gradually displaying the words or interpretations of the word book from top to bottom, so that it is convenient to compare and correct the dictation words or interpretations.
2、通过在背板的表面固定安装有弹簧夹,通过弹簧夹可将默写弹簧夹持固定在背板的表面上,通过在默写纸上进行单词或者释义的默写,从而避免了自备纸张进行默写的麻烦。2. By fixing the spring clips on the surface of the backboard, the dictation spring can be clamped and fixed on the surface of the backboard through the spring clips. By dictating words or interpretations on the dictation paper, it avoids the need for self-provided paper. The trouble of dictation.
3、通过在两个背板相互远离的一侧固定安装有闭合磁条,通过转动两个背板,从而使得两个闭合磁条相互吸引,使得该装置闭合,从而方便的进行收纳且具有一定保护作用。3. The closed magnetic strip is fixedly installed on the side of the two backboards away from each other, and by rotating the two backboards, the two closed magnetic strips are attracted to each other, so that the device is closed, which is convenient for storage and has a certain Protective effects.
综上所述,该装置不仅可通过遮挡板覆盖住单词本的默写部分,从而方便的进行默写,并且方便默写后的单词或者释义的比对;同时避免了自备纸张的麻烦;并且方便进行收纳且以及具有一定的保护作用,适宜推广。To sum up, the device can not only cover the dictation part of the word book through the blocking plate, so as to facilitate dictation, and facilitate the comparison of words or interpretations after dictation; at the same time, it avoids the trouble of self-provided paper; and it is convenient to carry out It has a certain protective effect and is suitable for promotion.
附图说明Description of drawings
图1为本实用新型的结构示意图。Figure 1 is a schematic structural diagram of the utility model.
图2为本实用新型的合起状态结构侧视图。FIG. 2 is a side view of the structure in the folded state of the present invention.
图3为本实用新型的遮挡板安装结构示意图。FIG. 3 is a schematic diagram of the installation structure of the shielding plate of the present invention.
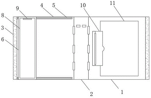
图中标号:1背板、2连接板、3闭合磁条、4导向轨、5导向槽、6滑动架、7滑动槽、8遮挡板、9滑动手柄、10弹簧夹、11默写纸、12笔套。Labels in the figure: 1 back plate, 2 connecting plate, 3 closed magnetic strip, 4 guide rail, 5 guide groove, 6 sliding frame, 7 sliding groove, 8 shielding plate, 9 sliding handle, 10 spring clip, 11 silent writing paper, 12 Pen sleeve.
具体实施方式Detailed ways
下面结合具体实施方式对本实用新型的技术方案作进一步详细地说明。The technical solutions of the present utility model will be described in further detail below in conjunction with specific embodiments.
参照图1-3,一种英语单词辅助默写装置,包括连接板2和滑动架6,所述连接板2的两侧均铰接有背板1,一侧所述背板1的一侧表面固定安装有两个沿背板1长度方向上呈对称分布的导向轨4,且两个所述导向轨4远离背板1的一侧表面均开方向设置,且所述滑动架6的两端均滑动安装于导向槽5的内部,所述滑动架6的内部沿其两侧内壁均开设有滑动槽7,且两个所述滑动槽7的内部滑动安装有遮挡板8,所述滑动架6的一端表面开设有挡板孔,且挡板孔贯穿滑动架6的内壁,远离所述导向轨4的一侧所述背板1的表面固定安装有弹簧夹10,两个所述背板1相互远离的一侧面均固定安装有闭合磁条3,且两个闭合磁条3相互匹配,所述遮挡板8远离背板1的一侧表面固定安装有滑动手柄9,且所述滑动手柄9靠近遮挡板8的端部设置,所述弹簧夹10的内部夹持有默写纸11,所述连接板2靠近弹簧夹10的一侧表面固定安装有均匀分布的笔套12。1-3, an English word auxiliary dictation device, comprising a connecting
工作原理:该装置在使用时,首先打开两个背板1,从而使得两个闭合磁条3相互分离以打开该装置,接着将单词本打开并放置于安装有导向轨4的一侧背板1的表面上,接着沿着导向轨4的长度方向移动滑动架6,从而使得滑动架6滑动到单词本的需要遮挡区域的上方,并且遮挡板8随着滑动架6移动到单词本上方,从而将单词本的单词部分或者释义部分进行遮挡处理,使得使用者可根据单词默写释义,也可根据释义默写单词;同时当一个单词背诵完毕后,可通过滑动手柄9将遮挡板8沿着滑动槽7的长度方向滑动,即可展示刚刚默写过后的单词或者释义以检测自己是否记住该单词的拼写或者释义;通过在弹簧夹10将默写纸11夹持住,使得默写纸11与背板1固定连接,从而方便单词背诵时进行单词或者释义的默写;当单词背诵默写完毕时,转动两个背板1,使得两个背板1相互远离一侧的闭合磁条3相互吸引,从而使得两个背板1的相对位置固定,从而将该装置合起,已达到保护装置本体和单词本的作用。Working principle: When the device is in use, first open the two
以上所述,仅为本实用新型较佳的具体实施方式,但本实用新型的保护范围并不局限于此,任何熟悉本技术领域的技术人员在本实用新型揭露的技术范围内,根据本实用新型的技术方案及其实用新型构思加以等同替换或改变,都应涵盖在本实用新型的保护范围之内。The above description is only a preferred embodiment of the present invention, but the protection scope of the present invention is not limited to this. Equivalent replacement or modification of the new technical solution and its utility model concept shall be included within the protection scope of the present utility model.
Claims (5)
Priority Applications (1)
| Application Number | Priority Date | Filing Date | Title |
|---|---|---|---|
| CN202020156004.XU CN211892583U (en) | 2020-02-08 | 2020-02-08 | A device for auxiliary dictation of English words |
Applications Claiming Priority (1)
| Application Number | Priority Date | Filing Date | Title |
|---|---|---|---|
| CN202020156004.XU CN211892583U (en) | 2020-02-08 | 2020-02-08 | A device for auxiliary dictation of English words |
Publications (1)
| Publication Number | Publication Date |
|---|---|
| CN211892583U true CN211892583U (en) | 2020-11-10 |
Family
ID=73303899
Family Applications (1)
| Application Number | Title | Priority Date | Filing Date |
|---|---|---|---|
| CN202020156004.XU Expired - Fee Related CN211892583U (en) | 2020-02-08 | 2020-02-08 | A device for auxiliary dictation of English words |
Country Status (1)
| Country | Link |
|---|---|
| CN (1) | CN211892583U (en) |
-
2020
- 2020-02-08 CN CN202020156004.XU patent/CN211892583U/en not_active Expired - Fee Related
Similar Documents
| Publication | Publication Date | Title |
|---|---|---|
| CN211892583U (en) | A device for auxiliary dictation of English words | |
| CN207302416U (en) | A kind of English teaching is with writing from memory plate | |
| CN212061569U (en) | English translation learning tool auxiliary device | |
| CN112277504A (en) | English teaching of convenient operation demonstration is with teaching board | |
| CN219143607U (en) | English phrase teaching is with supplementary teaching aid | |
| CN206516105U (en) | English teaching verbal learning machine | |
| CN210743320U (en) | Auxiliary memory device for public English words | |
| CN111497495A (en) | Teaching aid convenient to accomodate | |
| CN216311125U (en) | Chinese phrase learning tool | |
| CN202110692U (en) | english study test card | |
| CN216412465U (en) | Portable display device is used in english classroom teaching | |
| CN211375926U (en) | English double-key vocabulary learner with cognitive function for language | |
| CN219835348U (en) | Dictation device | |
| CN213815054U (en) | English pronunciation trainer | |
| CN208867742U (en) | A kind of high school student's notebook convenient for arranging storage | |
| CN207883165U (en) | A kind of portable College English initialism assisted memory schooling apparatus | |
| CN220137822U (en) | Translation exercise device | |
| CN113035048A (en) | Simple and convenient calculation teaching aid of finance and science and technology | |
| CN213757160U (en) | Teaching aid for junior middle school mathematics teaching | |
| CN216388485U (en) | English word auxiliary quick memory device convenient to carry | |
| CN211427555U (en) | Chinese character recognition device for foreign Chinese lessons | |
| CN211699230U (en) | Taste teaching device is used in english study | |
| CN208752821U (en) | A kind of Japanese phonetic symbols learning accessory plate | |
| CN211747518U (en) | A new type of word card package for English learning | |
| CN215450563U (en) | English teaching display device |
Legal Events
| Date | Code | Title | Description |
|---|---|---|---|
| GR01 | Patent grant | ||
| GR01 | Patent grant | ||
| CF01 | Termination of patent right due to non-payment of annual fee | ||
| CF01 | Termination of patent right due to non-payment of annual fee |
Granted publication date: 20201110 |
