CN211888425U - 一种间距调整装置 - Google Patents
一种间距调整装置 Download PDFInfo
- Publication number
- CN211888425U CN211888425U CN201922273470.6U CN201922273470U CN211888425U CN 211888425 U CN211888425 U CN 211888425U CN 201922273470 U CN201922273470 U CN 201922273470U CN 211888425 U CN211888425 U CN 211888425U
- Authority
- CN
- China
- Prior art keywords
- carriage
- sliding sleeve
- roller
- eccentric wheel
- sliding frame
- Prior art date
- Legal status (The legal status is an assumption and is not a legal conclusion. Google has not performed a legal analysis and makes no representation as to the accuracy of the status listed.)
- Active
Links
- 238000004519 manufacturing process Methods 0.000 claims abstract description 26
- 230000005540 biological transmission Effects 0.000 claims description 71
- 230000001360 synchronised effect Effects 0.000 claims description 6
- 230000033228 biological regulation Effects 0.000 claims description 3
- 230000008878 coupling Effects 0.000 claims 3
- 238000010168 coupling process Methods 0.000 claims 3
- 238000005859 coupling reaction Methods 0.000 claims 3
- 238000000034 method Methods 0.000 abstract description 2
- 238000010586 diagram Methods 0.000 description 16
- 239000000463 material Substances 0.000 description 5
- 238000005096 rolling process Methods 0.000 description 3
- 230000000295 complement effect Effects 0.000 description 2
- 230000000694 effects Effects 0.000 description 2
- 239000012778 molding material Substances 0.000 description 2
- 239000000109 continuous material Substances 0.000 description 1
- 238000007493 shaping process Methods 0.000 description 1
Images
Landscapes
- Transmission Devices (AREA)
Abstract
焊管系统生产线中,欲增大或减少通同规格焊管的管径,必须更换相应的轧辊,才能实现此工艺的目的。目前来说,更换轧辊的工作通常由人工操作完成,即必须中断生产线的运行,给生产的连续性与高效性带来一定的局限,在一定程度上降低了生产效率。因此开发一种能够满足不间断自动化生产、安全、简洁且高效的可变成型牌坊结构,显得尤为重要。
Description
技术领域
本实用新型涉及连续物料成型技术领域,具体涉及到物料形状调整领域的一种间距调整装置。
背景技术
焊管系统生产线中,成型设备段一直是整条线的核心与关键,提升该部分的工艺水平与技术水平,便能使整条线的运行乃至生产的质量与效率得到极大的提升。成型段中,欲增大或减少通同规格焊管的管径,必须更换相应的轧辊,才能实现此工艺的目的。目前来说,更换轧辊的工作通常由人工操作完成,即必须中断生产线的运行,再人工将牌坊上的轧辊拆卸更换,此种方法固然可实现预计的工艺目的,但人工操作时存在安全隐患,若欲提升安全性,还必须增设安全防护设施,提高整体设备的造价。而且更换轧辊时中断设备的运行,也即不能满足生产线的自动化实施,给生产的连续性与高效性带来一定的局限,在一定程度上降低了生产效率。因此开发一种能够满足不间断自动化生产、安全、简洁且高效的可变成型牌坊结构,显得尤为重要。
实用新型内容
本实用新型实施例提供一种调整装置,能够更加方便的对生产线所需的参数进行调整。
一方面,一种间距调整装置,包括第一旋转轴(1a)、第二旋转轴(1b)、第一滑动架(2a)、第二滑动架(2b)和辊轮组(3),所述第一滑动架(2a)和第二滑动架(2b)均安装在第一旋转轴(1a)和第二旋转轴(1b)上,辊轮组(3)安装在第一滑动架(2a)和第二滑动架(2b)上,其特征在于其还包含间距调整组件(4),所述第一滑动架(2a)和第二滑动架(2b)均与间距调整组件(4)相互联接,通过间距调整组件(4)的调节可实现第一滑动架(2a)和第二滑动架(2b)相互间距的变化从而实现辊轮组(3)加工规格的改变。
根据本实用新型实施例的一个方面,所述第一滑动架(2a)还包括第一上滑动套(2a01)和第一下滑动套(2a02),所述第二滑动架(2b)还包括第二上滑动套(2b01)和第二下滑动套(2b02),所述第一上滑动套(2a01)和第二上滑动套(2b01)均安装在第一旋转轴(1a)上且可在第一旋转轴(1a)滑动,所述第一下滑动套(2a02)和第二下滑动套(2 b02)均安装在第二旋转轴(1b)上且可在第二旋转轴(1b)滑动。
根据本实用新型实施例的一个方面,所述辊轮组(3)还设有第一上辊轮(3a01)和第一下辊轮(3a02),第二上辊轮(3b01)和第二下辊轮(3b02),所述第一上辊轮(3a01)安装在第一上滑动套(2a01)上,所述第一下辊轮(3a02)安装在第一下滑动套(2a02)上,所述第二上辊轮(3b01)安装在第二上滑动套(2b01)上,所述第二下辊轮(3b02)安装在第二下滑动套(2b02)上。
根据本实用新型实施例的一个方面,所述间距调整装置还包括第一支架(5a)和第二支架(5b),所述第一旋转轴(1a)和第二旋转轴(1b)安装在第一支架(5a)和第二支架(5b)之间并上下布置,所述第一滑动架(2a)和第二滑动架(2b)设于第一支架(5a)和第二支架(5b)之间并左右布置。
根据本实用新型实施例的一个方面,所述间距调整组件(4)安装在第一支架(5a)上或者安装在第二支架(5b)上,其内设有传动杆(41),所述传动杆(41)贯穿并联接第一滑动架(2a)和第二滑动架(2b),传动杆(41)的转动可以实现第一滑动架(2a)和第二滑动架(2b)的间距调节。
根据本实用新型实施例的一个方面,所述间距调整组件(4)内还设有调整装置(42),所述调整装置(42)可以带动传动杆(41)转动和伸缩,传动杆(41)的伸缩可以实现第一滑动架(2a)和第二滑动架(2b)相对于生产线左右调整加工位置。
根据本实用新型实施例的一个方面,所述第一下滑动套(2a02)外侧还设有第一下伸缩组件(2a22),所述第二下滑动套(2b02)外侧还设有第二下伸缩组件(2b22),所述第一下伸缩组件(2a22)用于独立调整第一下滑动套(2a02)的左右工作位置,所述第二下伸缩组件(2b22)用于独立调整第二下滑动套(2b02)的左右工作位置。
根据本实用新型实施例的一个方面,所述第一上滑动套(2a01)外侧还设有第一上偏心轮组件(2a11),所述第二上滑动套(2b01)外侧还设有第二上偏心轮组件(2b11),所述第一上偏心轮组件(2a11)用于独立调整第一上滑动套(2a01)的高度位置,所述第二上偏心轮组件(2b11)用于独立调整第二上滑动套(2b01)的高度位置。
根据本实用新型实施例的一个方面,所述第一下伸缩组件(2a22)和第二下伸缩组件(2b22)之间还设有伸缩组件传动轴(7),所述伸缩组件传动轴(7)可以联接第一下伸缩组件(2a22)和第二下伸缩组件(2b22)并实现二者的同步调整 。
根据本实用新型实施例的一个方面,第一上偏心轮组件(2a11)和第二上偏心轮组件(2b11)之间还设有偏心轮组件传动轴(8),所述偏心轮组件传动轴(8)可以联接第一上偏心轮组件(2a11)和第二上偏心轮组件(2b11)并实现二者的同步调整。
附图说明
下面将参考附图来描述本实用新型示例性实施例的特征、优点和技术效果。
序号说明:第一旋转轴(1a)、第二旋转轴(1b)、第一滑动架(2a)、第一上滑动套(2a01)、第一上偏心轮组件(2a11)、第一下滑动套(2a02)、第一下伸缩组件(2a22)、第二滑动架(2b)、第二上滑动套(2b01)、第二上偏心轮组件(2b11)、第二下滑动套(2b02)、第二下伸缩组件(2b22)、辊轮组(3)、第一上辊轮(3a01)、第一下辊轮(3a02)、第二上辊轮(3b01)、第二下辊轮(3b02)、间距调整组件(4)、传动杆(41)、调整装置(42)、第一支架(5a)、第二支架(5b)、伸缩组件传动轴(7)、偏心轮组件传动轴(8)。
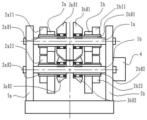
图1是本实用新型实施例基本结构示意图。
图2是本实用新型实施例改变规格结构示意图。
图3是本实用新型实施例向左调整状态示意图。
图4是本实用新型实施例向右调整状态示意图。
图5是本实用新型实施例俯视图基本结构示意图。
图6是本实用新型实施例俯视图改变规格结构示意图。
图7是本实用新型实施例俯视图向左调整状态示意图。
图8是本实用新型实施例俯视图向右调整状态示意图。
图9是本实用新型实施例偏心轮组件传动轴(8)结构示意图。
图10是本实用新型实施例伸缩组件传动轴(7)结构示意图。
图11是本实用新型实施例加工物料状态示意图。
图12是本实用新型实施例偏心轮结构示意图。
图13是本实用新型另一种实施例结构示意图。
在附图中,相同的部件使用相同的附图标记。附图并未按照实际的比例绘制。
具体实施方式
下面结合附图和实施例对本实用新型的实施方式作进一步详细描述。以下实施例的详细描述和附图用于示例性地说明本实用新型的原理,但不能用来限制本实用新型的范围,即本实用新型不限于所描述的优选实施例,本实用新型的范围由权利要求书限定。
在本实用新型实施例的描述中,需要说明的是,除非另有说明,“垂直”、“平行”不只是数学意义上的绝对意义,可以理解为“大致垂直”、“大致平行”。
图1是本实用新型实施例基本结构示意图。
图5是本实用新型实施例俯视图基本结构示意图。
根据图1和图5所示,一种间距调整装置,包括第一旋转轴(1a)、第二旋转轴(1b)、第一滑动架(2a)、第二滑动架(2b)、第一支架(5a)、第二支架(5b)和辊轮组(3),所述第一旋转轴(1a)和第二旋转轴(1b)均是回转对称的传动轴,所述第一滑动架(2a)、第二滑动架(2b)为外形呈板状且具有两个圆孔的板架,所述辊轮组(3)为细长管型物料的轧制轧辊,可以用于加工管型产品,所述第一支架(5a)和第二支架(5b)为立板式支架,第一支架(5a)位于间距调整装置的左侧,第二支架(5b)位于间距调整装置的右侧,第一支架(5a)和第二支架(5b)均具有上下两个圆形安装孔用于安装第一旋转轴(1a)和第二旋转轴(1b)。所述第一旋转轴(1a)和第二旋转轴(1b)安装第一支架(5a)和第二支架(5b)之间,且两端分别安装在第一支架(5a)和第二支架(5b)具有的上下两个圆形安装孔中。所述第一滑动架(2a)和第二滑动架(2b)均安装在第一旋转轴(1a)和第二旋转轴(1b)上,其中,在竖直方向上,第一旋转轴(1a)位于上侧,第二旋转轴(1b)位于下侧。所述辊轮组(3)安装在第一滑动架(2a)和第二滑动架(2b)上,其还包含间距调整组件(4),所述第一滑动架(2a)和第二滑动架(2b)均与间距调整组件(4)相互联接,通过间距调整组件(4)的调节可实现第一滑动架(2a)和第二滑动架(2b)相互间距的变化从而实现辊轮组(3)加工规格的改变。
根据图1所示,根据本实用新型实施例的一个方面,所述辊轮组(3)还设有第一上辊轮(3a01)和第一下辊轮(3a02),第二上辊轮(3b01)和第二下辊轮(3b02),所述第一上辊轮(3a01)和第二上辊轮(3b01)位于辊轮组(3)的上侧,本方案采用最优的实施方案,即第一上辊轮(3a01)与第二上辊轮(3b01)在形状上外形相同,位置关系为呈镜像布置,第一上辊轮(3a01)位于左侧,第二上辊轮(3b01)位于右侧。其形状和位置关系可以根据本领域的技术人员惯用的相关技术手段进行直接置换,例如第一上辊轮(3a01)与第二上辊轮(3b01)在形状上不同,但是仍然可以实现与下辊轮配合实现产品的生产,那么这样的技术方案也列为本技术方案的其他具体实施方案。同样的,作为本技术方案的最优实施方案,所述第一下辊轮(3a02)和第二下辊轮(3b02)在形状上外形相同,位置关系为呈镜像布置,第一下辊轮(3a02)位于左侧,第二下辊轮(3b02)位于右侧。所述第一上辊轮(3a01)与第一下辊轮(3a02)在外轮面上相互互补,可以相互配合连续加工成型物料的左部分形状,所述第二上辊轮(3b01)与第二下辊轮(3b02)在外轮面上相互互补,可以相互配合连续加工成型物料的右部分形状。所述第一滑动架(2a)与第一旋转轴(1a)之间还设有第一上滑动套(2a01),第一滑动架(2a)与第二旋转轴(1b)之间还设有第一下滑动套(2a02),第二滑动架(2b)与第一旋转轴(1a)之间还设有第二上滑动套(2b01),第二滑动架(2b)与第二旋转轴(1b)之间还设有第二下滑动套(2b02)。所述第一上滑动套(2a01)、第一下滑动套(2a02)、第二上滑动套(2b01)、第二下滑动套(2b02)均为中心回转对称的圆柱筒型套,其内表面和外表面均光滑设置。作为本技术方案的最优实施方案,所述第一上滑动套(2a01)位于第一旋转轴(1a)的左侧,第二上滑动套(2b01)位于第一旋转轴(1a)的右侧,第一下滑动套(2a02)位于第二旋转轴(1b)的左侧,第二下滑动套(2b02)位于第二旋转轴(1b)的右侧,所述第一旋转轴(1a)与第二旋转轴(1b)其上均具有导向键,所述第一上滑动套(2a01)、第一下滑动套(2a02)、第二上滑动套(2b01)、第二下滑动套(2b02)的内圆柱面上均具有与所述第一旋转轴(1a)与第二旋转轴(1b)其上的导向键相互配合的滑动键槽,且在导向键与滑动键槽的配合下可自由滑动。所述第一上辊轮(3a01)安装在第一上滑动套(2a01)上,所述第一下辊轮(3a02)安装在第一下滑动套(2a02)上,所述第二上辊轮(3b01)安装在第二上滑动套(2b01)上,所述第二下辊轮(3b02)安装在第二下滑动套(2b02)上。本方案采用最优的实施方案,即所述第一上辊轮(3a01)与第一上滑动套(2a01)之间、第一下辊轮(3a02)与第一下滑动套(2a02)、第二上辊轮(3b01)与第二上滑动套(2b01)、第二下辊轮(3b02)与第二下滑动套(2b02)之间均设有滚动轴承,这样可以实现滚轮相对于滑动套的自由滚动。同样本方案可以根据本领域的技术人员惯用的相关技术手段进行直接置换,例如所述第一上辊轮(3a01)与第一上滑动套(2a01)之间、第一下辊轮(3a02)与第一下滑动套(2a02)、第二上辊轮(3b01)与第二上滑动套(2b01)、第二下辊轮(3b02)与第二下滑动套(2b02)之间均设有键连接,这样第一旋转轴(1a)和第二旋转轴(1b)的转动就可以带动滑动套的转动,滑动套的转动就可以带动辊轮的同步转动,从而实现辊轮组(3)的主动转动。
图2是本实用新型实施例改变规格结构示意图。
图3是本实用新型实施例向左调整状态示意图。
图4是本实用新型实施例向右调整状态示意图。
根据图2、图3和图4所示,根据本实用新型实施例的一个方面,所述间距调整组件(4)安装在第一支架(5a)上或者安装在第二支架(5b)上,其内设有传动杆(41),所述传动杆(41)为细长螺纹杆,作为本技术方案的最优实施方案,所述传动杆(41)共有两根且均布在第一滑动架(2a)和第二滑动架(2b)的两侧。所述传动杆(41)贯穿并联接第一滑动架(2a)和第二滑动架(2b),所述第一滑动架(2a)和第二滑动架(2b)与传动杆(41)相互配合位置设有轴孔,所述轴孔中设有内螺纹,所述传动杆(41)的外表面设有外螺纹,所述内外螺纹的相互配合可以实现传动杆(41)的转动带动第一滑动架(2a)和第二滑动架(2b)在第一旋转轴(1a)和第二旋转轴(1b)上移动,同时,第一滑动架(2a)轴孔内设有的内螺纹与第二滑动架(2b)轴孔内设有的内螺纹旋向相反,相应的传动杆(41)与其配合的两段外螺纹也具有旋向相反的特性,所以,当传动杆(41)向一个方向旋转时,第一滑动架(2a)和第二滑动架(2b)会沿着第一旋转轴(1a)和第二旋转轴(1b)的轴向方向向着不同的方向移动,从而实现了第一滑动架(2a)和第二滑动架(2b)的间距调节。又由于所述第一上滑动套(2a01)和第一下滑动套(2a02)与第一滑动架(2a)通过轴肩定位,所以第一上滑动套(2a01)和第一下滑动套(2a02)会同步跟随第一滑动架(2a)左右移动,第二上滑动套(2b01)和第二下滑动套(2b02)会同步跟随第二滑动架(2b)左右移动。
图6是本实用新型实施例俯视图改变规格结构示意图。
图7是本实用新型实施例俯视图向左调整状态示意图。
图8是本实用新型实施例俯视图向右调整状态示意图。
根据图6、图7和图8所示,根据本实用新型实施例的一个方面,所述间距调整组件(4)内还设有调整装置(42),所述调整装置(42)内还设有涡轮蜗杆调整装置,所述涡轮蜗杆调整装置可以在带动传动杆(41)转动和伸缩,由于所述传动杆(41)共有两根且均布在第一滑动架(2a)和第二滑动架(2b)的两侧,所述传动杆(41)贯穿并联接第一滑动架(2a)和第二滑动架(2b),所述第一滑动架(2a)和第二滑动架(2b)与传动杆(41)相互配合位置设有轴孔,所述轴孔中设有内螺纹,所述传动杆(41)的外表面设有外螺纹,所述内外螺纹的相互配合可以实现传动杆(41)的伸缩运动带动第一滑动架(2a)和第二滑动架(2b)在第一旋转轴(1a)和第二旋转轴(1b)上同向移动,传动杆(41)的伸缩可以实现第一滑动架(2a)和第二滑动架(2b)相对于生产线左右调整加工位置。
图9是本实用新型实施例偏心轮组件传动轴(8)结构示意图。
图11是本实用新型实施例加工物料状态示意图。
图12是本实用新型实施例偏心轮结构示意图。
根据图9、图11和图12所示,根据本实用新型实施例的一个方面,所述第一上滑动套(2a01)外侧还设有第一上偏心轮组件(2a11),所述第二上滑动套(2b01)外侧还设有第二上偏心轮组件(2b11),所述第一上偏心轮组件(2a11)和第二上偏心轮组件(2b11)中均设有涡轮蜗杆调整机构以及用于调整第一上滑动套(2a01)和第二上滑动套(2b01)高度的偏心轮,设于第一上偏心轮组件(2a11)中的偏向轮为第一偏心轮,第一偏心轮设于第一滑动架(2a)与第一上滑动套(2a01)之间,用于调整第一上滑动套(2a01)的高度,设于第二上偏心轮组件(2b11)中的偏向轮为第二偏心轮,第二偏心轮设于第二滑动架(2b)与第二上滑动套(2b01)之间,用于调整第二上滑动套(2b01)的高度。
根据本实用新型实施例的一个方面,第一上偏心轮组件(2a11)和第二上偏心轮组件(2b11)之间还设有偏心轮组件传动轴(8),所述偏心轮组件传动轴(8)可以联接第一上偏心轮组件(2a11)和第二上偏心轮组件(2b11)并实现二者的同步调整。
图10是本实用新型实施例伸缩组件传动轴(7)结构示意图。
根据图10所示,根据本实用新型实施例的一个方面,所述第一下滑动套(2a02)外侧还设有第一下伸缩组件(2a22),所述第二下滑动套(2b02)外侧还设有第二下伸缩组件(2b22),所述第一下伸缩组件(2a22)用于独立调整第一下滑动套(2a02)的左右工作位置,所述第二下伸缩组件(2b22)用于独立调整第二下滑动套(2b02)的左右工作位置。
根据本实用新型实施例的一个方面,所述第一下伸缩组件(2a22)和第二下伸缩组件(2b22)之间还设有伸缩组件传动轴(7),所述伸缩组件传动轴(7)可以联接第一下伸缩组件(2a22)和第二下伸缩组件(2b22)并实现二者的同步调整 。
本方案具体实施改变规格调整工作时,间距调整组件(4)开始启动,间距调整组件(4)带动传动杆(41)转动,由于所述传动杆(41)共有两根且均布在第一滑动架(2a)和第二滑动架(2b)的两侧。所述传动杆(41)贯穿并联接第一滑动架(2a)和第二滑动架(2b),所述第一滑动架(2a)和第二滑动架(2b)与传动杆(41)相互配合位置设有轴孔,所述轴孔中设有内螺纹,所述传动杆(41)的外表面设有外螺纹,所述内外螺纹的相互配合可以实现传动杆(41)的转动带动第一滑动架(2a)和第二滑动架(2b)在第一旋转轴(1a)和第二旋转轴(1b)上移动。所以第一滑动架(2a)和第二滑动架(2b)在传动杆(41)的转动下实现了相互靠近或者相互远离。当第一滑动架(2a)和第二滑动架(2b)相互靠近时,辊轮组(3)缩小了规格,可以进行小规格产品生产。当第一滑动架(2a)和第二滑动架(2b)相互远离时,辊轮组(3)增大了规格,可以进行大规格产品生产。
本方案具体实施调整工作位置时,调整装置(42)开始启动,调整装置(42)带动传动杆(41)伸缩运动,由于所述传动杆(41)共有两根且均布在第一滑动架(2a)和第二滑动架(2b)的两侧,所述传动杆(41)贯穿并联接第一滑动架(2a)和第二滑动架(2b),所述第一滑动架(2a)和第二滑动架(2b)与传动杆(41)相互配合位置设有轴孔,所述轴孔中设有内螺纹,所述传动杆(41)的外表面设有外螺纹,所述内外螺纹的相互配合可以实现传动杆(41)的伸缩运动带动第一滑动架(2a)和第二滑动架(2b)在第一旋转轴(1a)和第二旋转轴(1b)上同向移动,所以传动杆(41)的伸缩带动第一滑动架(2a)和第二滑动架(2b)相对于生产线左右移动,当第一滑动架(2a)和第二滑动架(2b)相对于生产线向左移动时,其实现了辊轮组(3)向左的调整,当第一滑动架(2a)和第二滑动架(2b)相对于生产线向右移动时,其实现了辊轮组(3)向右的调整。
图13是本实用新型另一种实施例结构示意图。
根据图13所示,根据本实用新型另一种实施例,其区别于上一实施例的区别技术特征在于包括第一旋转轴(1a)、第二旋转轴(1b)、第一滑动架(2a)、第二滑动架(2b)、辊轮组(3)和底座,所述第一旋转轴(1a)和第二旋转轴(1b)均是回转对称的传动轴,所述第一滑动架(2a)、第二滑动架(2b)为外形呈板状且具有两个圆孔的板架,所述辊轮组(3)为细长管型物料的轧制轧辊,可以用于加工管型产品,所述第一旋转轴(1a)和第二旋转轴(1b)均安装在第一滑动架(2a)和第二滑动架(2b)上,第一滑动架(2a)和第二滑动架(2b)又均安装在底座上且可在底座上左右移动。其中,在竖直方向上,第一旋转轴(1a)位于上侧,第二旋转轴(1b)位于下侧。所述辊轮组(3)安装在第一滑动架(2a)和第二滑动架(2b)上,其还包含间距调整组件(4),所述第一滑动架(2a)和第二滑动架(2b)均与间距调整组件(4)相互联接,通过间距调整组件(4)的调节可实现第一滑动架(2a)和第二滑动架(2b)相互间距的变化从而实现辊轮组(3)加工规格的改变。
根据本实用新型实施例的一个方面,所述间距调整组件(4)安装在底座上,其内设有传动杆(41),所述传动杆(41)为细长螺纹杆,作为本技术方案的最优实施方案,所述传动杆(41)共有两根且均布在第一滑动架(2a)和第二滑动架(2b)的两侧。所述传动杆(41)贯穿并联接第一滑动架(2a)和第二滑动架(2b),所述第一滑动架(2a)和第二滑动架(2b)与传动杆(41)相互配合位置设有轴孔,所述轴孔中设有内螺纹,所述传动杆(41)的外表面设有外螺纹,所述内外螺纹的相互配合可以实现传动杆(41)的转动带动第一滑动架(2a)和第二滑动架(2b)在第一旋转轴(1a)和第二旋转轴(1b)上移动,同时,第一滑动架(2a)轴孔内设有的内螺纹与第二滑动架(2b)轴孔内设有的内螺纹旋向相反,相应的传动杆(41)与其配合的两段外螺纹也具有旋向相反的特性,所以,当传动杆(41)向一个方向旋转时,第一滑动架(2a)和第二滑动架(2b)会沿着第一旋转轴(1a)和第二旋转轴(1b)的轴向方向向着不同的方向移动,从而实现了第一滑动架(2a)和第二滑动架(2b)的间距调节。又由于所述第一上滑动套(2a01)和第一下滑动套(2a02)与第一滑动架(2a)通过轴肩定位,所以第一上滑动套(2a01)和第一下滑动套(2a02)会同步跟随第一滑动架(2a)左右移动,第二上滑动套(2b01)和第二下滑动套(2b02)会同步跟随第二滑动架(2b)左右移动。
本方案具体实施调整工作位置时,调整装置(42)开始启动,调整装置(42)带动传动杆(41)伸缩运动,由于所述传动杆(41)共有两根且均布在第一滑动架(2a)和第二滑动架(2b)的两侧,所述传动杆(41)贯穿并联接第一滑动架(2a)和第二滑动架(2b),所述第一滑动架(2a)和第二滑动架(2b)与传动杆(41)相互配合位置设有轴孔,所述轴孔中设有内螺纹,所述传动杆(41)的外表面设有外螺纹,所述内外螺纹的相互配合可以实现传动杆(41)的伸缩运动带动第一滑动架(2a)和第二滑动架(2b)在底座上同向移动,所以传动杆(41)的伸缩带动第一滑动架(2a)和第二滑动架(2b)相对于生产线左右移动,当第一滑动架(2a)和第二滑动架(2b)相对于生产线向左移动时,其实现了辊轮组(3)向左的调整,当第一滑动架(2a)和第二滑动架(2b)相对于生产线向右移动时,其实现了辊轮组(3)向右的调整。
本方案具体实施改变规格调整工作时,间距调整组件(4)开始启动,间距调整组件(4)带动传动杆(41)转动,由于所述传动杆(41)共有两根且均布在第一滑动架(2a)和第二滑动架(2b)的两侧。所述传动杆(41)贯穿并联接第一滑动架(2a)和第二滑动架(2b),所述第一滑动架(2a)和第二滑动架(2b)与传动杆(41)相互配合位置设有轴孔,所述轴孔中设有内螺纹,所述传动杆(41)的外表面设有外螺纹,所述内外螺纹的相互配合可以实现传动杆(41)的转动带动第一滑动架(2a)和第二滑动架(2b)在底座上移动。所以第一滑动架(2a)和第二滑动架(2b)在传动杆(41)的转动下实现了相互靠近或者相互远离。当第一滑动架(2a)和第二滑动架(2b)相互靠近时,辊轮组(3)缩小了规格,可以进行小规格产品生产。当第一滑动架(2a)和第二滑动架(2b)相互远离时,辊轮组(3)增大了规格,可以进行大规格产品生产。
应当理解,说明书对于本实用新型的具体实施方式的描述是示例性的,而不应当解释为对于本实用新型保护范围的不当限制。本实用新型的保护范围由其权利要求限定,并涵盖落入其范围内的所有实施方式及其明显的等同变例。
Claims (10)
1.一种间距调整装置,包括第一旋转轴(1a)、第二旋转轴(1b)、第一滑动架(2a)、第二滑动架(2b)和辊轮组(3),所述第一滑动架(2a)和第二滑动架(2b)均安装在第一旋转轴(1a)和第二旋转轴(1b)上,辊轮组(3)安装在第一滑动架(2a)和第二滑动架(2b)上,其特征在于其还包含间距调整组件(4),所述第一滑动架(2a)和第二滑动架(2b)均与间距调整组件(4)相互联接,通过间距调整组件(4)的调节可实现第一滑动架(2a)和第二滑动架(2b)相互间距的变化从而实现辊轮组(3)加工规格的改变。
2.根据权利要求1所述的一种间距调整装置,其特征在于所述第一滑动架(2a)还包括第一上滑动套(2a01)和第一下滑动套(2a02),所述第二滑动架(2b)还包括第二上滑动套(2b01)和第二下滑动套(2b02),所述第一上滑动套(2a01)和第二上滑动套(2b01)均安装在第一旋转轴(1a)上且可在第一旋转轴(1a)滑动,所述第一下滑动套(2a02)和第二下滑动套(2 b02)均安装在第二旋转轴(1b)上且可在第二旋转轴(1b)滑动。
3.根据权利要求2所述的一种间距调整装置,其特征在于所述辊轮组(3)还设有第一上辊轮(3a01)和第一下辊轮(3a02),第二上辊轮(3b01)和第二下辊轮(3b02),所述第一上辊轮(3a01)安装在第一上滑动套(2a01)上,所述第一下辊轮(3a02)安装在第一下滑动套(2a02)上,所述第二上辊轮(3b01)安装在第二上滑动套(2b01)上,所述第二下辊轮(3b02)安装在第二下滑动套(2b02)上。
4.根据权利要求3所述的一种间距调整装置,其特征在于所述间距调整装置还包括第一支架(5a)和第二支架(5b),所述第一旋转轴(1a)和第二旋转轴(1b)安装在第一支架(5a)和第二支架(5b)之间并上下布置,所述第一滑动架(2a)和第二滑动架(2b)设于第一支架(5a)和第二支架(5b)之间并左右布置。
5.根据权利要求4所述的一种间距调整装置,其特征在于所述间距调整组件(4)安装在第一支架(5a)上或者安装在第二支架(5b)上,其内设有传动杆(41),所述传动杆(41)贯穿并联接第一滑动架(2a)和第二滑动架(2b),传动杆(41)的转动可以实现第一滑动架(2a)和第二滑动架(2b)的间距调节。
6.根据权利要求5所述的一种间距调整装置,其特征在于所述间距调整组件(4)内还设有调整装置(42),所述调整装置(42)可以带动传动杆(41)转动和伸缩,传动杆(41)的伸缩可以实现第一滑动架(2a)和第二滑动架(2b)相对于生产线左右调整加工位置。
7.根据权利要求5所述的一种间距调整装置,其特征在于所述第一下滑动套(2a02)外侧还设有第一下伸缩组件(2a22),所述第二下滑动套(2b02)外侧还设有第二下伸缩组件(2b22),所述第一下伸缩组件(2a22)用于独立调整第一下滑动套(2a02)的左右工作位置,所述第二下伸缩组件(2b22)用于独立调整第二下滑动套(2b02)的左右工作位置。
8.根据权利要求5所述的一种间距调整装置,其特征在于所述第一上滑动套(2a01)外侧还设有第一上偏心轮组件(2a11),所述第二上滑动套(2b01)外侧还设有第二上偏心轮组件(2b11),所述第一上偏心轮组件(2a11)用于独立调整第一上滑动套(2a01)的高度位置,所述第二上偏心轮组件(2b11)用于独立调整第二上滑动套(2b01)的高度位置。
9.根据权利要求7所述的一种间距调整装置,其特征在于所述第一下伸缩组件(2a22)和第二下伸缩组件(2b22)之间还设有伸缩组件传动轴(7),所述伸缩组件传动轴(7)可以联接第一下伸缩组件(2a22)和第二下伸缩组件(2b22)并实现二者的同步调整 。
10.根据权利要求8所述的一种间距调整装置,其特征在于所述第一上偏心轮组件(2a11)和第二上偏心轮组件(2b11)之间还设有偏心轮组件传动轴(8),所述偏心轮组件传动轴(8)可以联接第一上偏心轮组件(2a11)和第二上偏心轮组件(2b11)并实现二者的同步调整。
Priority Applications (1)
| Application Number | Priority Date | Filing Date | Title |
|---|---|---|---|
| CN201922273470.6U CN211888425U (zh) | 2019-12-18 | 2019-12-18 | 一种间距调整装置 |
Applications Claiming Priority (1)
| Application Number | Priority Date | Filing Date | Title |
|---|---|---|---|
| CN201922273470.6U CN211888425U (zh) | 2019-12-18 | 2019-12-18 | 一种间距调整装置 |
Publications (1)
| Publication Number | Publication Date |
|---|---|
| CN211888425U true CN211888425U (zh) | 2020-11-10 |
Family
ID=73293365
Family Applications (1)
| Application Number | Title | Priority Date | Filing Date |
|---|---|---|---|
| CN201922273470.6U Active CN211888425U (zh) | 2019-12-18 | 2019-12-18 | 一种间距调整装置 |
Country Status (1)
| Country | Link |
|---|---|
| CN (1) | CN211888425U (zh) |
Cited By (1)
| Publication number | Priority date | Publication date | Assignee | Title |
|---|---|---|---|---|
| CN111136109A (zh) * | 2019-12-18 | 2020-05-12 | 大连富地重工机械制造有限公司 | 一种间距调整装置 |
-
2019
- 2019-12-18 CN CN201922273470.6U patent/CN211888425U/zh active Active
Cited By (1)
| Publication number | Priority date | Publication date | Assignee | Title |
|---|---|---|---|---|
| CN111136109A (zh) * | 2019-12-18 | 2020-05-12 | 大连富地重工机械制造有限公司 | 一种间距调整装置 |
Similar Documents
| Publication | Publication Date | Title |
|---|---|---|
| CN111136109A (zh) | 一种间距调整装置 | |
| CN112875374B (zh) | 一种口罩机用无纺布的压辊传输装置 | |
| CN106625866A (zh) | 一种波纹管加工装置 | |
| CN211888425U (zh) | 一种间距调整装置 | |
| JP3962693B2 (ja) | レベラにおけるワークロールのクイックオープン装置 | |
| CN208531407U (zh) | 伸缩机上的支腿与驱动结构 | |
| CN114042770B (zh) | 一种金属线材双滚筒拉丝机 | |
| CN219525388U (zh) | 一种地板片材的翻面装置 | |
| CN218015062U (zh) | 金属管卷板设备 | |
| CN218315186U (zh) | 一种岩棉板生产用的打褶机 | |
| CN212018943U (zh) | 一种可调角度的轧机 | |
| CN216613494U (zh) | 一种卷管输送用可同步升降及平移机构 | |
| CN214983088U (zh) | 一种hdpe双壁波纹管冷却设备 | |
| CN219526927U (zh) | 一种耐碱网格布加工拉丝机构 | |
| CN211367949U (zh) | 一种扩散通道的调节机构 | |
| CN220640551U (zh) | 一种封箱机结构 | |
| CN218478914U (zh) | 一种拉毛机 | |
| CN208150673U (zh) | 号码管支架 | |
| CN220613933U (zh) | 一种内置式管道滚轮架 | |
| CN111570186A (zh) | 一种树脂涂覆装置 | |
| CN120734159B (zh) | 轮椅加工用折弯设备 | |
| CN111960087A (zh) | 一种可快速精准控制的伸缩机构 | |
| CN222820991U (zh) | 一种用于托布辊的张力调节机构 | |
| CN110901009B (zh) | 一种塑料挤出机用机筒支撑架 | |
| CN218701933U (zh) | 一种印刷用调节装置 |
Legal Events
| Date | Code | Title | Description |
|---|---|---|---|
| GR01 | Patent grant | ||
| GR01 | Patent grant |