CN211881282U - A seedling raising device for Dendrobium planting - Google Patents
A seedling raising device for Dendrobium planting Download PDFInfo
- Publication number
- CN211881282U CN211881282U CN202020416358.3U CN202020416358U CN211881282U CN 211881282 U CN211881282 U CN 211881282U CN 202020416358 U CN202020416358 U CN 202020416358U CN 211881282 U CN211881282 U CN 211881282U
- Authority
- CN
- China
- Prior art keywords
- water
- fixedly connected
- light
- water pump
- lamp
- Prior art date
- Legal status (The legal status is an assumption and is not a legal conclusion. Google has not performed a legal analysis and makes no representation as to the accuracy of the status listed.)
- Expired - Fee Related
Links
- 241001523681 Dendrobium Species 0.000 title abstract description 19
- XLYOFNOQVPJJNP-UHFFFAOYSA-N water Substances O XLYOFNOQVPJJNP-UHFFFAOYSA-N 0.000 claims abstract description 82
- 241000238631 Hexapoda Species 0.000 claims abstract description 24
- 230000008635 plant growth Effects 0.000 claims abstract description 22
- XAGFODPZIPBFFR-UHFFFAOYSA-N aluminium Chemical compound [Al] XAGFODPZIPBFFR-UHFFFAOYSA-N 0.000 claims abstract description 17
- 229910052782 aluminium Inorganic materials 0.000 claims abstract description 17
- 238000005086 pumping Methods 0.000 claims abstract description 7
- 238000009434 installation Methods 0.000 claims description 15
- 239000011324 bead Substances 0.000 claims description 14
- 239000000758 substrate Substances 0.000 claims description 14
- 230000007246 mechanism Effects 0.000 claims description 8
- 239000007921 spray Substances 0.000 claims description 2
- 240000004638 Dendrobium nobile Species 0.000 claims 8
- 241000196324 Embryophyta Species 0.000 abstract description 5
- 230000012010 growth Effects 0.000 abstract description 4
- 230000000749 insecticidal effect Effects 0.000 description 9
- 238000009423 ventilation Methods 0.000 description 4
- 230000029553 photosynthesis Effects 0.000 description 3
- 238000010672 photosynthesis Methods 0.000 description 3
- 244000025254 Cannabis sativa Species 0.000 description 2
- 230000007812 deficiency Effects 0.000 description 2
- 238000010586 diagram Methods 0.000 description 2
- 238000012986 modification Methods 0.000 description 2
- 230000004048 modification Effects 0.000 description 2
- 239000002689 soil Substances 0.000 description 2
- 210000002784 stomach Anatomy 0.000 description 2
- 241000789626 Corybas trilobus Species 0.000 description 1
- 206010038776 Retching Diseases 0.000 description 1
- 208000027418 Wounds and injury Diseases 0.000 description 1
- 230000009286 beneficial effect Effects 0.000 description 1
- 210000001124 body fluid Anatomy 0.000 description 1
- 239000010839 body fluid Substances 0.000 description 1
- 238000004891 communication Methods 0.000 description 1
- 235000009508 confectionery Nutrition 0.000 description 1
- 230000006378 damage Effects 0.000 description 1
- 201000010099 disease Diseases 0.000 description 1
- 208000037265 diseases, disorders, signs and symptoms Diseases 0.000 description 1
- 206010013781 dry mouth Diseases 0.000 description 1
- 230000000694 effects Effects 0.000 description 1
- 238000005516 engineering process Methods 0.000 description 1
- 239000012530 fluid Substances 0.000 description 1
- 235000013305 food Nutrition 0.000 description 1
- 208000014674 injury Diseases 0.000 description 1
- 230000003993 interaction Effects 0.000 description 1
- 210000003734 kidney Anatomy 0.000 description 1
- 230000007774 longterm Effects 0.000 description 1
- 210000004072 lung Anatomy 0.000 description 1
- 238000000034 method Methods 0.000 description 1
- 230000000243 photosynthetic effect Effects 0.000 description 1
- 206010036067 polydipsia Diseases 0.000 description 1
- 230000001737 promoting effect Effects 0.000 description 1
- 239000003643 water by type Substances 0.000 description 1
Images
Landscapes
- Cultivation Of Plants (AREA)
Abstract
本实用新型公开了一种石斛种植用育苗装置,包括底座,底座的底部四角处设置有支腿,底座的顶部设置有箱体,箱体内壁的底部中心处固定连接有储水箱,储水箱两侧的底部均连通有抽水管,抽水管远离储水箱的一端连通有水泵,水泵的外侧连通有出水软管,出水软管远离水泵的一端贯穿至箱体的外部并连通有出水硬管,出水硬管的内侧连通有喷淋头,箱体的两端均固定设置有支撑柱,两根支撑柱的顶部之间固定连接有铝基板,铝基板的底面中部设置有植物生长灯,植物生长灯的两端均设置有诱虫灯,箱体的顶面中部设置有培育盆。本实用新型能够自动的对石斛幼苗进行浇水,并且能提供植物生长所需的光源,促进植物生长,又具有诱虫、杀虫功能。
The utility model discloses a seedling raising device for planting dendrobium, which comprises a base, legs are arranged at four corners of the bottom of the base, a box body is arranged on the top of the base, and a water storage tank is fixedly connected to the bottom center of the inner wall of the box. The bottom of the side is connected with a water pumping pipe, the end of the water pumping pipe away from the water storage tank is connected with a water pump, and the outer side of the water pump is connected with a water outlet hose. The inner side of the hard pipe is connected with a sprinkler head, the two ends of the box are fixedly provided with support columns, an aluminum base plate is fixedly connected between the tops of the two support columns, and a plant growth lamp is arranged in the middle of the bottom surface of the aluminum base plate. Both ends of the box are provided with insect trapping lights, and the middle of the top surface of the box is provided with a cultivation pot. The utility model can automatically water the dendrobium seedlings, can provide the light source required for the growth of the plants, promote the growth of the plants, and has the functions of attracting and killing insects.
Description
技术领域technical field
本实用新型涉及一种育苗装置,特别涉及一种石斛种植用育苗装置,属于石斛种植技术领域。The utility model relates to a seedling raising device, in particular to a seedling raising device for Dendrobium planting, which belongs to the technical field of Dendrobium planting.
背景技术Background technique
石斛,又名仙斛兰韵、不死草、还魂草、紫萦仙株、吊兰、林兰、禁生、金钗花等,茎直立,肉质状肥厚,稍扁的圆柱形,长10-60厘米,粗达1.3厘米,药用植物,性味甘淡微咸,寒,归胃、肾,肺经,益胃生津,滋阴清热,用于阴伤津亏,口干烦渴,食少干呕,病后虚热,目暗不明。Dendrobium, also known as dendrobium orchid, immortal grass, revival grass, purple lingering immortal plant, spider orchid, linlan, forbidden life, golden hairpin flower, etc., the stem is erect, the fleshy is thick, slightly flattened cylindrical, 10-60 long cm, up to 1.3 cm thick, medicinal plant, sweet and slightly salty in nature, cold, return to stomach, kidney, lung meridian, invigorating stomach and promoting body fluid, nourishing yin and clearing heat, used for yin injury and fluid deficiency, dry mouth, polydipsia, retching due to lack of food , Deficiency and heat after the disease, the eyes are dark and unclear.
石斛在进行育苗时,需要用到石斛育苗装置,目前现有的石斛育苗装置不具有自动浇水的功能,导致农民在对石斛进行育苗时,需要手动的对石斛幼苗进行浇水,造成农民出现费时费力的状况,增加了农民的劳动量,降低了农民的工作效率;另外现有的石斛育苗装置,在连续阴雨天气的时候无法进行光合作用容易致使幼苗死亡,而且不具备诱虫、杀虫的功能,无法有效的对幼苗进行保护,降低了石斛育苗装置的实用性。Dendrobium seedlings need to be used when Dendrobium seedlings are raised. At present, the existing Dendrobium seedling raising devices do not have the function of automatic watering. As a result, farmers need to manually water the Dendrobium seedlings when raising Dendrobium seedlings, causing farmers to appear. The time-consuming and laborious situation increases the labor of farmers and reduces the work efficiency of farmers; in addition, the existing dendrobium seedling device cannot perform photosynthesis in continuous rainy weather, which will easily lead to the death of seedlings, and it does not have the ability to attract and kill insects. It cannot effectively protect the seedlings and reduces the practicability of the dendrobium seedling raising device.
实用新型内容Utility model content
本实用新型的目的在于提供一种石斛种植用育苗装置,以解决上述背景技术中提出的问题。The purpose of this utility model is to provide a seedling raising device for planting dendrobium, so as to solve the problems raised in the above-mentioned background technology.
为实现上述目的,本实用新型提供如下技术方案:To achieve the above object, the utility model provides the following technical solutions:
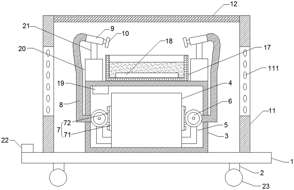
一种石斛种植用育苗装置,包括底座,所述底座的底部四角处设置有支腿,所述底座的顶部设置有箱体,所述箱体内壁的底部中心处固定连接有储水箱,所述储水箱两侧的底部均连通有抽水管,所述抽水管远离储水箱的一端连通有水泵,所述水泵的内侧设置有安装机构,所述水泵的外侧连通有出水软管,所述出水软管远离水泵的一端贯穿至箱体的外部并连通有出水硬管,所述出水硬管的内侧连通有喷淋头,所述箱体的两端均固定设置有支撑柱,两根所述支撑柱的顶部之间固定连接有铝基板,所述铝基板的底面中部设置有植物生长灯,所述植物生长灯的两端均设置有诱虫灯,所述植物生长灯包括红光LED灯珠和蓝光LED灯珠,所述诱虫灯为紫外光LED灯珠,所述植物生长灯和诱虫灯外设置有透光灯罩,所述透光灯罩罩设在LED灯珠外,透光灯罩的顶端为长方形开口,底端为弧形凸面,透光灯罩的宽度和长度分别小于铝基板的宽度和长度,透光灯罩的长方形开口中心与铝基板的底面中心重合,透光灯罩的长方形开口与铝基板的底面贴合连接,位于所述诱虫灯的透光灯罩外部罩设有杀虫网,所述杀虫网为高压电网,所述箱体的顶面中部设置有培育盆,所述培育盆内壁的底部固定连接有湿度传感器,所述箱体内壁顶部的左侧固定连接有处理器。A seedling raising device for planting dendrobium, comprising a base, four corners of the bottom of the base are provided with legs, a top of the base is provided with a box, a water storage tank is fixedly connected to the bottom center of the inner wall of the box, and the The bottoms of both sides of the water storage tank are connected with a water pump, and the end of the water pump away from the water storage tank is connected with a water pump, the inner side of the water pump is provided with an installation mechanism, and the outer side of the water pump is connected with a water outlet hose, and the water outlet is soft. The end of the pipe away from the water pump penetrates to the outside of the box body and is connected with a water outlet hard pipe. The inner side of the water outlet hard pipe is connected with a sprinkler head. Both ends of the box body are fixedly provided with support columns. An aluminum substrate is fixedly connected between the tops of the columns, and a plant growth lamp is arranged in the middle of the bottom surface of the aluminum substrate. Both ends of the plant growth lamp are provided with insect traps, and the plant growth lamp includes red LED lamp beads. and blue LED lamp beads, the insect trapping lamp is an ultraviolet LED lamp bead, a light-transmitting lampshade is provided outside the plant growth lamp and the insect-trapping lamp, and the light-transmitting lampshade is arranged outside the LED lamp bead, and the light-transmitting lampshade is arranged outside the LED lamp bead. The top of the light-transmitting lampshade is a rectangular opening, and the bottom is an arc-shaped convex surface. The width and length of the light-transmitting lampshade are respectively smaller than the width and length of the aluminum substrate. The center of the rectangular opening of the light-transmitting lampshade coincides with the center of the bottom surface of the aluminum substrate. It is attached and connected with the bottom surface of the aluminum substrate, and an insecticidal net is provided on the outer cover of the light-transmitting lampshade of the insect trapping lamp. A humidity sensor is fixedly connected to the bottom of the inner wall of the cultivation basin, and a processor is fixedly connected to the left side of the top of the inner wall of the box.
进一步的,所述箱体顶部两侧的前端均固定连接有支撑块,所述支撑块的顶部固定连接有固定柱,所述固定柱的顶部与出水硬管的底部连接。Further, the front ends of both sides of the top of the box body are fixedly connected with support blocks, the top of the support blocks is fixedly connected with a fixed column, and the top of the fixed column is connected with the bottom of the water outlet hard pipe.
进一步的,所述安装机构包括安装板,所述安装板的内侧通过螺栓与储水箱的外侧固定连接,所述安装板外侧的顶部和底部均固定连接有安装支架,所述安装支架的外侧与水泵的表面固定连接。Further, the installation mechanism includes an installation plate, the inner side of the installation plate is fixedly connected with the outer side of the water storage tank through bolts, the top and bottom of the outer side of the installation plate are fixedly connected with a mounting bracket, and the outer side of the installation bracket is connected with the outer side of the water storage tank. The surface of the pump is permanently attached.
进一步的,两根所述支撑柱的中部表面均开设有数个通风孔。Further, several ventilation holes are opened on the middle surfaces of the two supporting columns.
进一步的,所述处理器的输入端与湿度传感器的输出端单向电连接,所述处理器的输出端与水泵的输入端单向电连接。Further, the input end of the processor is unidirectionally electrically connected to the output end of the humidity sensor, and the output end of the processor is unidirectionally electrically connected to the input end of the water pump.
进一步的,所述底座的顶部左端设置有外接电源。Further, the top left end of the base is provided with an external power supply.
进一步的,所述外接电源的输出端分别与植物生长灯、诱虫灯、杀虫网和水泵的输入端电性连接。Further, the output ends of the external power supply are respectively electrically connected with the input ends of the plant growth lamp, the insect trapping lamp, the insecticidal net and the water pump.
进一步的,所述支腿的底部设置有可固定万向轮。Further, the bottom of the outrigger is provided with a fixable universal wheel.
与现有技术相比,本实用新型的有益效果是:本实用新型通过设置湿度传感器、处理器、储水箱、抽水管、水泵、安装机构、出水软管、出水硬管和喷淋头之间的相互配合,达到了对石斛幼苗自动浇水的优点,解决了现有的石斛育苗装置不具有自动浇水的功能;通过设置铝基板、植物生长灯、诱虫灯、透光灯罩和杀虫网之间的相互配合,有效的避免了在长期阴雨天气中幼苗无法进行光合作用,从而容易致使幼苗死亡的缺点,既能提供植物生长所需的光源,促进植物生长,又具有诱虫、杀虫功能。Compared with the prior art, the beneficial effect of the present utility model is: the utility model is provided with a humidity sensor, a processor, a water storage tank, a water pumping pipe, a water pump, an installation mechanism, a water outlet hose, a water outlet hard pipe and a sprinkler head. By cooperating with each other, the advantages of automatic watering of Dendrobium seedlings are achieved, and the existing Dendrobium seedling raising device does not have the function of automatic watering; The mutual cooperation between the nets effectively avoids the disadvantage that the seedlings cannot perform photosynthesis in long-term rainy weather, which easily leads to the death of the seedlings. It can not only provide the light source required for plant growth, promote plant growth, but also attract insects and kill insects. insect function.
附图说明Description of drawings
图1为本实用新型的结构示意图;Fig. 1 is the structural representation of the utility model;
图2为本实用新型中植物生长灯和诱虫灯的结构示意图;Fig. 2 is the structural schematic diagram of the plant growth lamp and the trap lamp in the utility model;
图3为本实用新型中透光灯罩和杀虫网的结构示意图。FIG. 3 is a schematic structural diagram of the light-transmitting lampshade and the insecticidal net in the utility model.
图中:1、底座,2、支腿,3、箱体,4、储水箱,5、抽水管,6、水泵,7、安装机构,71、安装板,72、安装支架,8、出水软管,9、出水硬管,10、喷淋头,11、支撑柱,111、通风孔,12、铝基板,13、植物生长灯,14、诱虫灯,15、透光灯罩,16、杀虫网,17、培育盆,18、湿度传感器,19、处理器,20、支撑块,21、固定柱,22、外接电源,23、万向轮。In the picture: 1. Base, 2. Outriggers, 3. Box, 4. Water storage tank, 5. Suction pipe, 6. Water pump, 7. Mounting mechanism, 71. Mounting plate, 72. Mounting bracket, 8. Water outlet soft Tube, 9, Outlet water pipe, 10, Sprinkler head, 11, Support column, 111, Ventilation hole, 12, Aluminum base plate, 13, Plant growth lamp, 14, Trap lamp, 15, Light-transmitting lampshade, 16, Killer Insect net, 17, cultivation pot, 18, humidity sensor, 19, processor, 20, support block, 21, fixed column, 22, external power supply, 23, universal wheel.
具体实施方式Detailed ways
下面将结合本实用新型实施例中的附图,对本实用新型实施例中的技术方案进行清楚、完整地描述,显然,所描述的实施例仅仅是本实用新型一部分实施例,而不是全部的实施例。基于本实用新型中的实施例,本领域普通技术人员在没有做出创造性劳动前提下所获得的所有其他实施例,都属于本实用新型保护的范围。The technical solutions in the embodiments of the present utility model will be clearly and completely described below with reference to the accompanying drawings in the embodiments of the present utility model. Obviously, the described embodiments are only a part of the embodiments of the present utility model, rather than all the implementations. example. Based on the embodiments of the present invention, all other embodiments obtained by those of ordinary skill in the art without creative work fall within the protection scope of the present invention.
请参阅图1-3,本实用新型提供一种技术方案:一种石斛种植用育苗装置,包括底座1,所述底座1的底部四角处设置有支腿2,所述底座1的顶部设置有箱体3,所述箱体3内壁的底部中心处固定连接有储水箱4,所述储水箱4两侧的底部均连通有抽水管5,所述抽水管5远离储水箱4的一端连通有水泵6,所述水泵6的内侧设置有安装机构7,所述水泵6的外侧连通有出水软管8,所述出水软管8远离水泵6的一端贯穿至箱体3的外部并连通有出水硬管9,所述出水硬管9的内侧连通有喷淋头10,所述箱体3的两端均固定设置有支撑柱11,两根所述支撑柱11的顶部之间固定连接有铝基板12,所述铝基板12的底面中部设置有植物生长灯13,所述植物生长灯13的两端均设置有诱虫灯14,所述植物生长灯13包括红光LED灯珠和蓝光LED灯珠,所述诱虫灯14为紫外光LED灯珠,所述植物生长灯13和诱虫灯14外设置有透光灯罩15,所述透光灯罩15罩设在LED灯珠外,透光灯罩15的顶端为长方形开口,底端为弧形凸面,透光灯罩15的宽度和长度分别小于铝基板12的宽度和长度,透光灯罩15的长方形开口中心与铝基板12的底面中心重合,透光灯罩12的长方形开口与铝基板12的底面贴合连接,位于所述诱虫灯14的透光灯罩15外部罩设有杀虫网16,所述杀虫网16为高压电网,所述箱体3的顶面中部设置有培育盆17,所述培育盆17内壁的底部固定连接有湿度传感器18,所述箱体3内壁顶部的左侧固定连接有处理器19。1-3, the present utility model provides a technical solution: a seedling raising device for planting dendrobium, comprising a
其中,所述箱体3顶部两侧的前端均固定连接有支撑块20,所述支撑块20的顶部固定连接有固定柱21,所述固定柱21的顶部与出水硬管9的底部连接。The front ends on both sides of the top of the
其中,所述安装机构7包括安装板71,所述安装板71的内侧通过螺栓与储水箱4的外侧固定连接,所述安装板71外侧的顶部和底部均固定连接有安装支架72,所述安装支架72的外侧与水泵6的表面固定连接。The mounting mechanism 7 includes a mounting plate 71, the inner side of the mounting plate 71 is fixedly connected to the outer side of the water storage tank 4 through bolts, and the top and bottom of the outer side of the mounting plate 71 are fixedly connected with
其中,两根所述支撑柱11的中部表面均开设有数个通风孔111。Wherein,
其中,所述处理器19的输入端与湿度传感器18的输出端单向电连接,所述处理器19的输出端与水泵6的输入端单向电连接。The input end of the
其中,所述底座1的顶部左端设置有外接电源22。Wherein, the top left end of the
其中,所述外接电源22的输出端分别与植物生长灯13、诱虫灯14、杀虫网16和水泵6的输入端电性连接。Wherein, the output ends of the
其中,所述支腿2的底部设置有可固定万向轮23。Wherein, the bottom of the
工作原理:使用时,通过万向轮23将其移动至阳光处进行光合作用,然后通过湿度传感器18开始感应培育盆17内腔土壤的湿度,当湿度过低时,湿度传感器18向处理器19发送指令,处理器19处理后启动水泵6,水泵6启动通过抽水管5对储水箱4内腔的水进行抽动,水通过出水软管8进入出水硬管9的内腔,然后再通过喷淋头10对培育盆17的内腔进行浇水,当湿度传感器18感应到培育盆17内腔土壤的湿度提高时,湿度传感器18向处理器19发送指令,处理器19处理后关闭水泵6即可,如此反复使用,通过设置出水软管8,能够根据出水硬管9移动的长度进行自由的伸缩,通过在两根支撑柱11的中部表面均开设有数个通风孔111可有使得空气流通,光合作用更加充分,当遭遇连续阴雨天的时候,将其移至屋内,利用植物生长灯13的红光LED灯珠和蓝光LED灯珠,提供促进植物生长的红光和蓝光,在具体应用中,可以根据植物的生长需要设置红光LED灯珠和蓝光LED灯珠的功率比例,诱虫灯14发出的紫外光起诱虫作用,在诱虫灯14的外围布设的杀虫网16起杀虫作用,还可以进一步的通过在杀虫16的下面设置捕虫袋,将捕获的虫体收集,由于同时设置有植物生长灯13、诱虫灯14和杀虫网16,因此,既能提供植物生长所需的光源,促进植物生长,又具有诱虫、杀虫功能,保证了幼苗的良好生长,该装置结构简单,便于操作,实用性强。Working principle: when in use, the
在本实用新型的描述中,需要理解的是,术语“同轴”、“底部”、“一端”、“顶部”、“中部”、“另一端”、“上”、“一侧”、“顶部”、“内”、“前部”、“中央”、“两端”等指示的方位或位置关系为基于附图所示的方位或位置关系,仅是为了便于描述本实用新型和简化描述,而不是指示或暗示所指的装置或元件必须具有特定的方位、以特定的方位构造和操作,因此不能理解为对本实用新型的限制。In the description of the present invention, it should be understood that the terms "coaxial", "bottom", "one end", "top", "middle", "the other end", "upper", "one side", " The orientation or positional relationship indicated by "top", "inside", "front", "center", "both ends", etc. is based on the orientation or positional relationship shown in the accompanying drawings, and is only for the convenience of describing the present invention and simplifying the description , rather than indicating or implying that the indicated device or element must have a specific orientation, be constructed and operate in a specific orientation, and therefore cannot be construed as a limitation on the present invention.
此外,术语“第一”、“第二”、“第三”、“第四”仅用于描述目的,而不能理解为指示或暗示相对重要性或者隐含指明所指示的技术特征的数量,由此,限定有“第一”、“第二”、“第三”、“第四”的特征可以明示或者隐含地包括至少一个该特征。In addition, the terms "first", "second", "third", "fourth" are only used for descriptive purposes and should not be understood as indicating or implying relative importance or implying the number of technical features indicated, Thus, features defined as "first", "second", "third", "fourth" may expressly or implicitly include at least one of such features.
在本实用新型中,除非另有明确的规定和限定,术语“安装”、“设置”、“连接”、“固定”、“旋接”等术语应做广义理解,例如,可以是固定连接,也可以是可拆卸连接,或成一体;可以是机械连接,也可以是电连接;可以是直接相连,也可以通过中间媒介间接相连,可以是两个元件内部的连通或两个元件的相互作用关系,除非另有明确的限定,对于本领域的普通技术人员而言,可以根据具体情况理解上述术语在本实用新型中的具体含义。In the present utility model, unless otherwise expressly specified and limited, terms such as "installation", "arrangement", "connection", "fixation" and "swivel connection" should be understood in a broad sense, for example, it may be a fixed connection, It can also be detachable connection or integrated; it can be mechanical connection or electrical connection; it can be directly connected or indirectly connected through an intermediate medium, it can be the internal communication of two elements or the interaction of two elements Unless otherwise clearly defined, those of ordinary skill in the art can understand the specific meanings of the above terms in the present invention according to specific situations.
尽管已经示出和描述了本实用新型的实施例,对于本领域的普通技术人员而言,可以理解在不脱离本实用新型的原理和精神的情况下可以对这些实施例进行多种变化、修改、替换和变型,本实用新型的范围由所附权利要求及其等同物限定。Although the embodiments of the present invention have been shown and described, it will be understood by those skilled in the art that various changes and modifications can be made to these embodiments without departing from the principles and spirit of the present invention , alternatives and modifications, the scope of the present invention is defined by the appended claims and their equivalents.
Claims (8)
Priority Applications (1)
| Application Number | Priority Date | Filing Date | Title |
|---|---|---|---|
| CN202020416358.3U CN211881282U (en) | 2020-03-27 | 2020-03-27 | A seedling raising device for Dendrobium planting |
Applications Claiming Priority (1)
| Application Number | Priority Date | Filing Date | Title |
|---|---|---|---|
| CN202020416358.3U CN211881282U (en) | 2020-03-27 | 2020-03-27 | A seedling raising device for Dendrobium planting |
Publications (1)
| Publication Number | Publication Date |
|---|---|
| CN211881282U true CN211881282U (en) | 2020-11-10 |
Family
ID=73275696
Family Applications (1)
| Application Number | Title | Priority Date | Filing Date |
|---|---|---|---|
| CN202020416358.3U Expired - Fee Related CN211881282U (en) | 2020-03-27 | 2020-03-27 | A seedling raising device for Dendrobium planting |
Country Status (1)
| Country | Link |
|---|---|
| CN (1) | CN211881282U (en) |
Cited By (1)
| Publication number | Priority date | Publication date | Assignee | Title |
|---|---|---|---|---|
| CN117016234A (en) * | 2023-07-19 | 2023-11-10 | 浙江工业大学工程设计集团有限公司 | Plant view monitoring and management system |
-
2020
- 2020-03-27 CN CN202020416358.3U patent/CN211881282U/en not_active Expired - Fee Related
Cited By (1)
| Publication number | Priority date | Publication date | Assignee | Title |
|---|---|---|---|---|
| CN117016234A (en) * | 2023-07-19 | 2023-11-10 | 浙江工业大学工程设计集团有限公司 | Plant view monitoring and management system |
Similar Documents
| Publication | Publication Date | Title |
|---|---|---|
| CN108157028A (en) | Agricultural booth and greenhouse gardening method | |
| CN211881282U (en) | A seedling raising device for Dendrobium planting | |
| CN204682288U (en) | One is lured the enemy in formula ultraviolet rays collection insect killing device | |
| CN208874967U (en) | A kind of forest seedling nursing prevention and control of plant diseases, pest control equipment | |
| CN207897516U (en) | Alfalfa cultivation intelligently adjusts greenhouse | |
| CN2422809Y (en) | Muttifunction combined flowerpot | |
| CN210519531U (en) | Flower stand capable of automatically expelling insects | |
| CN209284085U (en) | A kind of pest control equipment for forestry seedling raising | |
| CN203633229U (en) | Automatic deinsectization flowerpot | |
| CN222031117U (en) | A kind of integrated pest control device for papaya planting | |
| CN219577895U (en) | Selenium-rich yellow tea cultivation device | |
| CN114375806A (en) | Agricultural irrigation device convenient for detecting environment state | |
| CN207151683U (en) | A kind of Novel hexagonal broad spectrum disinfestation lamp | |
| CN207803254U (en) | It is a kind of raising toad insect trap device automatically | |
| CN218418089U (en) | Deinsectization device for agricultural planting | |
| CN214206597U (en) | Green grass variety breeding device that cold resistance is good | |
| CN217905926U (en) | Green prevention and control device of bitter orange pest and disease damage | |
| CN212545246U (en) | Municipal garden trees insect killing device | |
| CN217742882U (en) | Afforestation plant insect-attack prevention device | |
| CN220088352U (en) | Plant protection's deinsectization pest device | |
| CN220402518U (en) | Sassafras seedling breeding device convenient to water | |
| CN205052578U (en) | A new type of trapping insect lamp | |
| CN218681402U (en) | Pest trapping and killing device | |
| CN223008044U (en) | Insect prevention cover for organic vegetable planting | |
| CN220674929U (en) | An agricultural greenhouse vegetable pest and disease prevention device |
Legal Events
| Date | Code | Title | Description |
|---|---|---|---|
| GR01 | Patent grant | ||
| GR01 | Patent grant | ||
| CF01 | Termination of patent right due to non-payment of annual fee |
Granted publication date: 20201110 |
|
| CF01 | Termination of patent right due to non-payment of annual fee |
