CN211877717U - Medical Mask Synthetic Blood Penetration Tester - Google Patents
Medical Mask Synthetic Blood Penetration Tester Download PDFInfo
- Publication number
- CN211877717U CN211877717U CN202020647116.5U CN202020647116U CN211877717U CN 211877717 U CN211877717 U CN 211877717U CN 202020647116 U CN202020647116 U CN 202020647116U CN 211877717 U CN211877717 U CN 211877717U
- Authority
- CN
- China
- Prior art keywords
- fixed
- fixing
- groove
- tester
- block
- Prior art date
- Legal status (The legal status is an assumption and is not a legal conclusion. Google has not performed a legal analysis and makes no representation as to the accuracy of the status listed.)
- Expired - Fee Related
Links
Images
Landscapes
- Investigating Or Analysing Biological Materials (AREA)
Abstract
本实用新型公开了医用口罩合成血液穿透试验仪,属于医疗设备技术领域,包括测试仪本体,所述测试仪本体的前方靠右侧设置有显示屏,所述显示屏的前侧设置有防护装置,所述测试仪本体的下方四个拐角均固定有支撑组件,所述支撑组件的外侧套接有第一缓冲弹簧,所述支撑组件的内部靠下方均匀开设有若干个容纳槽,本实用新型通过设置第一缓冲弹簧、包括卡接槽、第二缓冲弹簧、连接杆、限位滑槽、限位滑块、连接块和防滑半球的缓冲组件以及容纳槽等结构,在这些结构的相互配合下,实现了在运输移动过程中,便于将产生的震动进行及时缓冲的功能,进而可有效对该装置内部的结构进行保护,减少了不必要的经济损失。
The utility model discloses a synthetic blood penetration tester for medical masks, which belongs to the technical field of medical equipment. The four lower corners of the tester body are fixed with supporting components, the outer side of the supporting components is sleeved with a first buffer spring, and the inner part of the supporting components is evenly opened with a number of accommodating grooves. By setting the first buffer spring, including the snap groove, the second buffer spring, the connecting rod, the limit chute, the limit slider, the connecting block and the anti-skid hemisphere, the buffer components and the accommodating groove, etc. With the cooperation, the function of facilitating the timely buffering of the generated vibration during the transportation and moving process is realized, thereby effectively protecting the internal structure of the device and reducing unnecessary economic losses.
Description
技术领域technical field
本实用新型属于医疗设备技术领域,具体涉及医用口罩合成血液穿透试验仪。The utility model belongs to the technical field of medical equipment, in particular to a synthetic blood penetration tester for medical masks.
背景技术Background technique
医用口罩合成血液穿透试验仪,即用于测定医用防护口罩在不同试验压力下对于合成血液穿透的抵抗能力,也可用来测定其他涂层材料的耐血液穿透性能的一种测试仪,但是,现有的医用口罩合成血液穿透试验仪仍然存在一些缺陷。The synthetic blood penetration tester for medical masks is a tester used to measure the resistance of medical protective masks to synthetic blood penetration under different test pressures, and can also be used to measure the blood penetration resistance of other coating materials. However, the existing synthetic blood penetration tester for medical masks still has some defects.
现有技术的医用口罩合成血液穿透试验仪存在以下问题:1、现有的医用口罩合成血液穿透试验仪没有完善的减震装置,在运输移动的过程中,产生的震动无法被及时缓冲,可能会对装置内部的结构造成损坏;2、现有的医用口罩合成血液穿透试验仪的显示屏外侧没有完善的防护装置,若显示屏出现磨损,不便于更换,影响该装置后续的正常使用。The medical mask synthetic blood penetration tester of the prior art has the following problems: 1. The existing medical mask synthetic blood penetration tester does not have a perfect shock absorption device, and in the process of transportation and movement, the vibration generated cannot be buffered in time. , may cause damage to the internal structure of the device; 2. There is no perfect protective device outside the display screen of the existing medical mask synthetic blood penetration tester. If the display screen is worn, it is inconvenient to replace, which will affect the subsequent normal operation of the device. use.
实用新型内容Utility model content
为解决上述背景技术中提出的问题。本实用新型提供了医用口罩合成血液穿透试验仪,具有在运输移动过程中,便于将产生的震动进行及时缓冲,进而可有效对该装置内部的结构进行保护,减少了不必要的经济损失,以及可对显示屏进行有效保护,避免了其磨损影响该装置正常工作的情况出现,并且透明防护板便于更换的特点。In order to solve the problems raised in the above background art. The utility model provides a synthetic blood penetration tester for a medical mask, which is convenient for timely buffering of vibrations generated during transportation and movement, thereby effectively protecting the internal structure of the device and reducing unnecessary economic losses. And the display screen can be effectively protected to avoid the situation that the wear and tear of the device affects the normal operation of the device, and the transparent protective plate is easy to replace.
为实现上述目的,本实用新型提供如下技术方案:医用口罩合成血液穿透试验仪,包括测试仪本体,所述测试仪本体的前方靠右侧设置有显示屏,所述显示屏的前侧设置有防护装置,所述测试仪本体的下方四个拐角均固定有支撑组件,所述支撑组件的外侧套接有第一缓冲弹簧,所述支撑组件的内部靠下方均匀开设有若干个容纳槽,所述容纳槽的内部放置有缓冲组件。In order to achieve the above purpose, the present utility model provides the following technical solutions: a synthetic blood penetration tester for medical masks, including a tester body, a display screen is provided on the front right side of the tester body, and a display screen is provided on the front side of the tester body. There are protective devices, supporting components are fixed on the lower four corners of the tester body, a first buffer spring is sleeved on the outer side of the supporting component, and several accommodating grooves are evenly opened in the inner part of the supporting component. A buffer assembly is placed inside the accommodating groove.
优选的,所述防护装置包括透明防护板、固定框架、紧固垫片、放置槽、预留半圆槽、固定块、固定螺钉和固定槽,所述固定框架的内部开设有放置槽,所述放置槽的内侧壁固定有紧固垫片,所述紧固垫片的内部设置有透明防护板,所述透明防护板的上下两侧靠右侧均固定有固定块,所述固定框架的内部且对应固定块的位置处开设有固定槽,所述固定块和固定框架之间通过固定螺钉固定连接,所述固定框架的内部靠右侧中间位置处开设有预留半圆槽。Preferably, the protective device includes a transparent protective plate, a fixed frame, a fastening gasket, a placement slot, a reserved semi-circular slot, a fixing block, a fixing screw and a fixing slot, and a placement slot is opened inside the fixing frame, and the The inner side wall of the placement slot is fixed with a fastening gasket, the inside of the fastening gasket is provided with a transparent protective plate, the upper and lower sides of the transparent protective plate are fixed on the right side with fixing blocks, and the inside of the fixed frame is A fixing groove is provided at a position corresponding to the fixing block, the fixing block and the fixing frame are fixedly connected by fixing screws, and a reserved semicircular groove is formed inside the fixing frame at the middle position on the right side.
优选的,所述支撑组件包括支撑柱和支撑块,所述支撑柱的下方固定有支撑块。Preferably, the support assembly includes a support column and a support block, and a support block is fixed below the support column.
优选的,所述缓冲组件包括卡接槽、第二缓冲弹簧、连接杆、限位滑槽、限位滑块、连接块和防滑半球,所述防滑半球的上方且位于容纳槽的内部固定有连接块,所述连接块的左右两侧靠上方均固定有限位滑块,所述支撑组件的内部且对应限位滑块的位置处开设有限位滑槽,所述连接块的内部靠山方开设有卡接槽,所述卡接槽的内部设置有连接杆,所述连接杆的上端与容纳槽的上侧壁固定连接,所述连接杆的外侧套接有第二缓冲弹簧。Preferably, the buffer assembly includes a snap groove, a second buffer spring, a connecting rod, a limit chute, a limit slider, a connecting block and an anti-skid hemisphere, and the anti-skid hemisphere is fixed above and inside the accommodating groove. A connecting block, the left and right sides of the connecting block are fixed on the upper part of the limit slider, the inside of the support assembly and the position corresponding to the limit slider are provided with a limit chute, and the inner side of the connecting block is opened on the side of the mountain There is a clamping slot, the interior of the clamping slot is provided with a connecting rod, the upper end of the connecting rod is fixedly connected with the upper side wall of the accommodating slot, and the outer side of the connecting rod is sleeved with a second buffer spring.
优选的,所述防滑半球的材质为硅胶材质设置。Preferably, the anti-skid hemisphere is made of silica gel.
优选的,所述固定框架与测试仪本体之间为固定结构设置。Preferably, a fixed structure is provided between the fixed frame and the tester body.
与现有技术相比,本实用新型的有益效果是:Compared with the prior art, the beneficial effects of the present utility model are:
1、本实用新型通过设置第一缓冲弹簧、包括卡接槽、第二缓冲弹簧、连接杆、限位滑槽、限位滑块、连接块和防滑半球的缓冲组件以及容纳槽等结构,在这些结构的相互配合下,实现了在运输移动过程中,便于将产生的震动进行及时缓冲的功能,进而可有效对该装置内部的结构进行保护,减少了不必要的经济损失。1. In the present invention, the structure of the first buffer spring, including the snap groove, the second buffer spring, the connecting rod, the limit chute, the limit slider, the connecting block and the anti-skid hemisphere, as well as the accommodating groove and other structures is provided. Under the mutual cooperation of these structures, the function of facilitating timely buffering of vibrations generated during transportation and movement is realized, thereby effectively protecting the internal structure of the device and reducing unnecessary economic losses.
2、本实用新型通过设置包括透明防护板、固定框架、紧固垫片、放置槽、预留半圆槽、固定块、固定螺钉和固定槽的防护装置,在该结构的作用下,实现了可对显示屏进行有效保护的功能,避免了其磨损影响该装置正常工作的情况出现,并且透明防护板便于更换。2. The utility model is provided with a protective device including a transparent protective plate, a fixed frame, a fastening gasket, a placement groove, a reserved semicircular groove, a fixed block, a fixed screw and a fixed groove. The function of effectively protecting the display screen prevents the wear and tear of the device from affecting the normal operation of the device, and the transparent protective plate is easy to replace.
附图说明Description of drawings
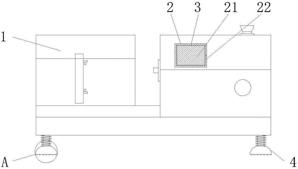
图1为本实用新型的正视的结构示意图;Fig. 1 is the structural representation of the front view of the present utility model;
图2为本实用新型的图1中A处剖面的结构示意图;Fig. 2 is the structural representation of section A in Fig. 1 of the present utility model;
图3为本实用新型的防护装置剖面的结构示意图;Fig. 3 is the structural schematic diagram of the protection device section of the utility model;
图4为本实用新型的防护装置固定框架的结构示意图;4 is a schematic structural diagram of a fixing frame of a protective device of the present invention;
图5为本实用新型的图3中B处放大的结构示意图;Fig. 5 is the enlarged structural representation at B in Fig. 3 of the utility model;
图中:1、测试仪本体;2、防护装置;21、透明防护板;22、固定框架;23、紧固垫片;24、放置槽;25、预留半圆槽;26、固定块;27、固定螺钉;28、固定槽;3、显示屏;4、支撑组件;41、支撑柱;42、支撑块;5、第一缓冲弹簧;6、缓冲组件;61、卡接槽;62、第二缓冲弹簧;63、连接杆;In the figure: 1. Tester body; 2. Protective device; 21. Transparent protective plate; 22. Fixed frame; 23. Fastening gasket; 24. Placement slot; , fixing screw; 28, fixing slot; 3, display screen; 4, support assembly; 41, support column; 42, support block; 5, first buffer spring; 6, buffer assembly; 61, snap slot; 62, No. Two buffer springs; 63, connecting rod;
64、限位滑槽;65、限位滑块;66、连接块;67、防滑半球;7、容纳槽。64, limit chute; 65, limit slider; 66, connecting block; 67, anti-skid hemisphere; 7, accommodating groove.
具体实施方式Detailed ways
下面将结合本实用新型实施例中的附图,对本实用新型实施例中的技术方案进行清楚、完整地描述,显然,所描述的实施例仅仅是本实用新型一部分实施例,而不是全部的实施例。基于本实用新型中的实施例,本领域普通技术人员在没有做出创造性劳动前提下所获得的所有其他实施例,都属于本实用新型保护的范围。The technical solutions in the embodiments of the present utility model will be clearly and completely described below with reference to the accompanying drawings in the embodiments of the present utility model. Obviously, the described embodiments are only a part of the embodiments of the present utility model, rather than all the implementations. example. Based on the embodiments of the present invention, all other embodiments obtained by those of ordinary skill in the art without creative work fall within the protection scope of the present invention.
请参阅图1-5,本实用新型提供以下技术方案:医用口罩合成血液穿透试验仪,包括测试仪本体1,测试仪本体1的前方靠右侧设置有显示屏3,显示屏3的前侧设置有防护装置2,测试仪本体1的下方四个拐角均固定有支撑组件4,支撑组件4的外侧套接有第一缓冲弹簧5,支撑组件4的内部靠下方均匀开设有若干个容纳槽7,容纳槽7的内部放置有缓冲组件6。Please refer to FIGS. 1-5 , the present invention provides the following technical solutions: a synthetic blood penetration tester for medical masks, including a
具体的,防护装置2包括透明防护板21、固定框架22、紧固垫片23、放置槽24、预留半圆槽25、固定块26、固定螺钉27和固定槽28,固定框架22的内部开设有放置槽24,放置槽24的内侧壁固定有紧固垫片23,紧固垫片23的内部设置有透明防护板21,透明防护板21的上下两侧靠右侧均固定有固定块26,固定框架22的内部且对应固定块26的位置处开设有固定槽28,固定块26和固定框架22之间通过固定螺钉27固定连接,固定框架22的内部靠右侧中间位置处开设有预留半圆槽25。Specifically, the
通过采用上述技术方案,便于对显示屏3进行保护。By adopting the above technical solution, it is convenient to protect the
具体的,支撑组件4包括支撑柱41和支撑块42,支撑柱41的下方固定有支撑块42。Specifically, the
通过采用上述技术方案,便于对测试仪本体1进行支撑。By adopting the above technical solution, it is convenient to support the
具体的,缓冲组件6包括卡接槽61、第二缓冲弹簧62、连接杆63、限位滑槽64、限位滑块65、连接块66和防滑半球67,防滑半球67的上方且位于容纳槽7的内部固定有连接块66,连接块66的左右两侧靠上方均固定有限位滑块65,支撑组件4的内部且对应限位滑块65的位置处开设有限位滑槽64,连接块66的内部靠山方开设有卡接槽61,卡接槽61的内部设置有连接杆63,连接杆63的上端与容纳槽7的上侧壁固定连接,连接杆63的外侧套接有第二缓冲弹簧62。Specifically, the
通过采用上述技术方案,便于对移动运输过程中产生的震动进行及时缓冲,避免对测试仪本体1内部结构造成损坏的情况出现,减少不必要的经济损失。By adopting the above technical solution, it is convenient to buffer the vibration generated during the moving and transportation process in time, so as to avoid the occurrence of damage to the internal structure of the
具体的,防滑半球67的材质为硅胶材质设置。Specifically, the material of the
通过采用上述技术方案,便于测试仪本体1的稳定放置。By adopting the above technical solution, the stable placement of the
具体的,固定框架22与测试仪本体1之间为固定结构设置。Specifically, a fixed structure is provided between the fixed
通过采用上述技术方案,便于透明防护板21的稳定放置,进而便于对显示屏3进行更好的保护。By adopting the above technical solution, the stable placement of the transparent
本实用新型的工作原理及使用流程:在使用本实用新型时,首先,在该装置运输时,支撑组件4起到稳定的支撑作用,第一缓冲弹簧5可对移动运输过程中产生的震动进行初次有效缓冲,容纳槽7内部的缓冲组件6可对震动进行再次缓冲(防滑半球67保证了该装置的稳定放置,连接杆63稳定的放置在卡接槽61的内部,第二缓冲弹簧62产生弹性形变,限位滑块65在限位滑槽64内部起到有效的限位作用,连接块66起到有效的连接作用),进而对测试仪本体1内部的结构起到了有效的保护作用,在该装置使用时,防护装置2对显示屏3起到有效的保护作用,避免其被磨损(操作人员可通过透明防护板21观察显示屏3的内部,在该装置使用一段时间后,若透明防护板21的表面出现磨损的情况,此时,只需要将固定螺钉27取下,再拉动通过暴露在预留半圆槽25外侧的透明防护板21,将透明防护板21沿放置槽24取出,固定块26脱离固定槽28,透明防护板21完全脱离固定框架22,随后,再将新的透明防护板21重新安装,紧固垫片23有效保证了透明防护板21的稳定放置)。The working principle and use process of the present utility model: when using the present utility model, firstly, when the device is transported, the
本实用新型中测试仪本体1为现有已公开技术,选用的型号为温州际高检测仪器有限公司生产的YG812K型医用口罩合成血液穿透试验仪。The
尽管已经示出和描述了本实用新型的实施例,对于本领域的普通技术人员而言,可以理解在不脱离本实用新型的原理和精神的情况下可以对这些实施例进行多种变化、修改、替换和变型,本实用新型的范围由所附权利要求及其等同物限定。Although the embodiments of the present invention have been shown and described, it will be understood by those skilled in the art that various changes and modifications can be made to these embodiments without departing from the principles and spirit of the present invention , alternatives and modifications, the scope of the present invention is defined by the appended claims and their equivalents.
Claims (6)
Priority Applications (1)
| Application Number | Priority Date | Filing Date | Title |
|---|---|---|---|
| CN202020647116.5U CN211877717U (en) | 2020-04-24 | 2020-04-24 | Medical Mask Synthetic Blood Penetration Tester |
Applications Claiming Priority (1)
| Application Number | Priority Date | Filing Date | Title |
|---|---|---|---|
| CN202020647116.5U CN211877717U (en) | 2020-04-24 | 2020-04-24 | Medical Mask Synthetic Blood Penetration Tester |
Publications (1)
| Publication Number | Publication Date |
|---|---|
| CN211877717U true CN211877717U (en) | 2020-11-06 |
Family
ID=73235168
Family Applications (1)
| Application Number | Title | Priority Date | Filing Date |
|---|---|---|---|
| CN202020647116.5U Expired - Fee Related CN211877717U (en) | 2020-04-24 | 2020-04-24 | Medical Mask Synthetic Blood Penetration Tester |
Country Status (1)
| Country | Link |
|---|---|
| CN (1) | CN211877717U (en) |
Cited By (1)
| Publication number | Priority date | Publication date | Assignee | Title |
|---|---|---|---|---|
| RU219514U1 (en) * | 2023-06-16 | 2023-07-21 | Федеральное государственное бюджетное учреждение науки "Санкт-Петербургский Федеральный исследовательский центр Российской академии наук" | STAND FOR QUALIMETRY OF MEANS OF INDIVIDUAL HEAD PROTECTION AGAINST BIOLOGICAL FACTOR |
-
2020
- 2020-04-24 CN CN202020647116.5U patent/CN211877717U/en not_active Expired - Fee Related
Cited By (2)
| Publication number | Priority date | Publication date | Assignee | Title |
|---|---|---|---|---|
| RU219514U1 (en) * | 2023-06-16 | 2023-07-21 | Федеральное государственное бюджетное учреждение науки "Санкт-Петербургский Федеральный исследовательский центр Российской академии наук" | STAND FOR QUALIMETRY OF MEANS OF INDIVIDUAL HEAD PROTECTION AGAINST BIOLOGICAL FACTOR |
| RU219914U1 (en) * | 2023-06-16 | 2023-08-14 | Федеральное государственное бюджетное учреждение науки "Санкт-Петербургский Федеральный исследовательский центр Российской академии наук" | STAND FOR QUALIMETRY OF PERSONAL PROTECTION MEANS FROM BIOLOGICAL FACTOR |
Similar Documents
| Publication | Publication Date | Title |
|---|---|---|
| CN211877717U (en) | Medical Mask Synthetic Blood Penetration Tester | |
| CN206877221U (en) | Computer monitor transport protection | |
| CN210091412U (en) | A kind of multifunctional English teaching projection equipment | |
| CN209325288U (en) | A kind of computer communication equipment shock-proof support frame | |
| CN218679638U (en) | Measuring instrument with anti-falling protection function | |
| CN218336690U (en) | Cloud desktop all-in-one protector | |
| CN207530893U (en) | A kind of strong mobile phone guard shield of protective capability | |
| CN218336189U (en) | A construction site surveillance HD camera with protection | |
| CN219807125U (en) | A dust-proof box for a micro-Vickers hardness tester | |
| CN210349129U (en) | Impact-resistant LED display screen | |
| CN207096864U (en) | A kind of radiation proof computer display | |
| CN207569470U (en) | A kind of suspension arrangement for computer display | |
| CN218765822U (en) | Water-cooling kuppe suppression testing arrangement | |
| CN220155189U (en) | Asset data management input equipment | |
| CN118765054B (en) | Industrial automation instrument protector | |
| CN221708042U (en) | Touch screen with anti-falling structure | |
| CN108508299B (en) | A BDV capacitor tester with shockproof and heat dissipation effect | |
| CN221687152U (en) | LCD display screen with dust-proof function | |
| CN207488912U (en) | Mechanical hard disk installation anti-vibration fixing device | |
| CN212346476U (en) | Full-soaking type endoscope cleaning machine | |
| CN219372773U (en) | Hydraulic mould casting machine | |
| CN219152052U (en) | Radiating fin assembling jig | |
| CN209168106U (en) | New English translation pen connection device | |
| CN218613113U (en) | Adjustable metal cutting equipment | |
| CN217847362U (en) | A display device for multi-channel data acquisition |
Legal Events
| Date | Code | Title | Description |
|---|---|---|---|
| GR01 | Patent grant | ||
| GR01 | Patent grant | ||
| CF01 | Termination of patent right due to non-payment of annual fee |
Granted publication date: 20201106 |
|
| CF01 | Termination of patent right due to non-payment of annual fee |
