CN211865841U - Building rubbish sorter - Google Patents
Building rubbish sorter Download PDFInfo
- Publication number
- CN211865841U CN211865841U CN201922285381.3U CN201922285381U CN211865841U CN 211865841 U CN211865841 U CN 211865841U CN 201922285381 U CN201922285381 U CN 201922285381U CN 211865841 U CN211865841 U CN 211865841U
- Authority
- CN
- China
- Prior art keywords
- motor
- construction waste
- sorting machine
- waste sorting
- machine according
- Prior art date
- Legal status (The legal status is an assumption and is not a legal conclusion. Google has not performed a legal analysis and makes no representation as to the accuracy of the status listed.)
- Expired - Fee Related
Links
Images
Landscapes
- Processing Of Solid Wastes (AREA)
Abstract
本实用新型公开了一种建筑垃圾分选机,包括主体外壳,所述底盘主体外壳的顶部一侧安装有进料口,所述主体外壳的一侧上方分别固定有第一电机、第二电机和第三电机,所述第一电机和第二电机的背部均通过输出轴连接有碾压齿轮,当建筑垃圾被碾压齿轮压碎后,压碎的建筑垃圾即掉落在传送带上,滚轮带动传送带移动,而传送带的内部又放置有强力磁铁,掉落在传送带上的建筑垃圾中的铁制品则会被传送带吸住,当传送带移动至滚轮下方时,被刮板刮落至铁制品放料箱。
The utility model discloses a construction waste sorting machine, which comprises a main body shell, a feed inlet is installed on one side of the top of the chassis main body shell, and a first motor and a second motor are respectively fixed on the top of one side of the main body shell. And the third motor, the backs of the first motor and the second motor are connected with rolling gears through the output shaft. When the construction waste is crushed by the rolling gear, the crushed construction waste falls on the conveyor belt, and the rollers Drive the conveyor belt to move, and a strong magnet is placed inside the conveyor belt. The iron products in the construction waste falling on the conveyor belt will be sucked by the conveyor belt. When the conveyor belt moves under the rollers, it will be scraped by the scraper to the iron products material box.
Description
技术领域technical field
本实用新型涉及垃圾分选机功能领域,具体为一种建筑垃圾分选机。The utility model relates to the functional field of garbage sorting machines, in particular to a construction waste sorting machine.
背景技术Background technique
建筑垃圾是指在工程中由于人为或者自然等原因产生的建筑废料,包括废渣土、弃土、淤泥以及弃料等。这些材料对于建筑本身而言是没有任何帮助的,但却是在建筑的过程中产生的物质,需要进行相应的处理,这样才能够达到理想的工程项目建设,正因为是一个整体的过程,所以其环节的考虑是更重要的。Construction waste refers to the construction waste generated in the project due to man-made or natural reasons, including waste slag, spoil, silt and discarded materials. These materials are of no help to the building itself, but they are substances produced during the construction process and need to be dealt with accordingly, so as to achieve the ideal project construction. It is precisely because it is a whole process, so The consideration of its links is more important.
现有的建筑垃圾分选机,在需要将建筑垃圾中的铁钉等一些铁制品分类时,大多是先将建筑垃圾粉碎筛选后,再人工用磁铁挑选出来,浪费大量人力物力,而且现有的建筑垃圾分选机内的筛网大多为水平位置,且为静止状态,在筛选时大多较小的建筑垃圾不易筛分出来,容易造成筛网堵塞的问题。When the existing construction waste sorting machines need to classify some iron products such as iron nails in the construction waste, most of the construction waste is crushed and screened first, and then manually selected with a magnet, which wastes a lot of manpower and material resources. Most of the screens in the construction waste sorting machine are in a horizontal position and are in a static state. Most of the smaller construction wastes are not easy to be screened out during screening, which is easy to cause the problem of screen blockage.
实用新型内容Utility model content
本实用新型的目的在于提供一种建筑垃圾分选机,以解决上述背景技术中提出的浪费大量人力物力、不易筛分和筛网堵塞的问题。The purpose of the present utility model is to provide a construction waste sorting machine, so as to solve the problems of wasting a lot of manpower and material resources, difficult to sieve and clogging of the screen, which are proposed in the above-mentioned background art.
为实现上述目的,本实用新型提供如下技术方案:一种建筑垃圾分选机,包括主体外壳 ,所述主体外壳的顶部一侧安装有进料口;所述进料口的正下方位于所述主体外壳内设置有一粉碎装置,所述粉碎装置的下方设置有一传送机,所述传送机内设置有一磁铁;所述主体外壳内壁还固定有一倾斜设置的刮板,所述刮板位于所述传送机的下方且上端与所述传送机的传送带抵触;所述主体外壳底部从左至右依次分割成铁制品放料箱、细料箱以及粗料箱;所述铁制品放料箱和细料箱中间还设置有一倾斜挡板;所述倾斜挡板的一端抵靠在铁制品放料箱的外壁上端,另一端抵靠在一挡板上,所述挡板位于传送机的末端下方,其高于铁制品放料箱的高度;所述粗料箱的上方安装有筛网和使得所述筛网产生振动的振动器;所述筛网倾斜设置,上端固定在所述挡板上,下端抵靠在所述细料箱的外壁顶端上。In order to achieve the above purpose, the utility model provides the following technical solutions: a construction waste sorting machine, comprising a main body shell, a feeding port is installed on one side of the top of the main body shell; A pulverizing device is arranged in the main body shell, a conveyor is arranged below the pulverizing device, and a magnet is arranged inside the conveyor; The bottom and upper end of the machine are in conflict with the conveyor belt of the conveyor; the bottom of the main shell is divided into iron product discharge box, fine material box and coarse material box from left to right; the iron product discharge box and fine material There is also an inclined baffle in the middle of the box; one end of the inclined baffle is against the upper end of the outer wall of the iron product discharge box, and the other end is against a baffle, which is located below the end of the conveyor. higher than the height of the iron product discharge box; a screen and a vibrator for making the screen vibrate are installed above the coarse material box; the screen is inclined, the upper end is fixed on the baffle, and the lower end against the top end of the outer wall of the fines box.
优选的,所述粉碎装置包括水平对称设置的第一电机和第二电机,所述第一电机和第二电机的输出轴与设置在所述进料口下方的两碾压齿轮分别对应连接。Preferably, the pulverizing device includes a first motor and a second motor which are arranged horizontally symmetrically, and the output shafts of the first motor and the second motor are respectively connected with two rolling gears arranged below the feed port.
优选的,所述第一电机和第二电机下方设置有第三电机,所述第三电机通过输出轴与所述传送机的一个滚轮同轴且固定连接。Preferably, a third motor is disposed below the first motor and the second motor, and the third motor is coaxially and fixedly connected to a roller of the conveyor through an output shaft.
优选的,所述主体外壳的外表面下方通过合页安装有旋转门,且旋转门的外表面固定有把手。Preferably, a revolving door is installed under the outer surface of the main body shell through a hinge, and a handle is fixed on the outer surface of the revolving door.
优选的,所述第一电机正转,所述第二电机反转,且第一电机、第二电机和第三电机分别与碾压齿轮、滚轮电性连接。Preferably, the first motor rotates forwardly, the second motor rotates reversely, and the first motor, the second motor and the third motor are respectively electrically connected to the rolling gear and the roller.
优选的,所述筛网采用不锈钢材料制作。Preferably, the screen is made of stainless steel.
优选的,所述滚轮采用铝合金材料制作,且滚轮的外表面粘合有硅胶。Preferably, the roller is made of aluminum alloy material, and the outer surface of the roller is bonded with silica gel.
优选的,所述刮板采用铝合金材料制作。Preferably, the scraper is made of aluminum alloy material.
优选的,所述输出轴为导电材料,外表面均粘合有橡胶材料。Preferably, the output shaft is made of conductive material, and rubber material is adhered to the outer surface.
与现有技术相比,本实用新型的有益效果是:该种建筑垃圾分选机,设置有碾压齿轮、滚轮、传送带、刮板、倾斜挡板和铁制品放料箱,当建筑垃圾被碾压齿轮压碎后,压碎的建筑垃圾即掉落在传送带上,滚轮带动传送带移动,而传送带的内部又放置有强力磁铁,掉落在传送带上的建筑垃圾中的铁制品则会被传送带吸住,当传送带移动至滚轮下方时,被刮板刮落至铁制品放料箱,倾斜挡板能够使一些掉落的铁制品挡下,挡下的铁制品则滑落至铁制品放料箱,能够较好的将建筑垃圾内的铁制品分选出来,且省时省力,解决了需要人工使用磁铁将其挑选出来而导致的费时费力的问题,该种建筑垃圾分选机还设置有筛网、振动器、粗料箱和细料箱,将建筑垃圾内的铁制品筛选出后,剩余的建筑垃圾掉落至筛网上,因筛网为倾斜放置着,较大的建筑垃圾滚落至粗料箱,而较小的建筑垃圾则通过筛网掉落至细料箱,振动器能够使筛网更好的将较小的建筑垃圾筛选至细料箱,且能够起到减少筛网堵塞的情况,解决了现有的筛网不易筛分和容易堵塞的问题。Compared with the prior art, the beneficial effect of the present utility model is that the construction waste sorting machine is provided with rolling gears, rollers, conveyor belts, scrapers, inclined baffles and iron product discharge boxes. After the rolling gear is crushed, the crushed construction waste falls on the conveyor belt. The roller drives the conveyor belt to move, and a strong magnet is placed inside the conveyor belt. The iron products in the construction waste falling on the conveyor belt will be removed by the conveyor belt. Suction, when the conveyor belt moves under the rollers, it is scraped by the scraper to the iron product discharge box. The inclined baffle can block some falling iron products, and the blocked iron products will slide down to the iron product discharge box. , which can better sort the iron products in the construction waste, save time and effort, and solve the time-consuming and laborious problem caused by the need to manually use magnets to pick them out. The construction waste sorting machine is also equipped with a screen. Net, vibrator, coarse material box and fine material box, after the iron products in the construction waste are screened out, the remaining construction waste falls onto the screen. The coarse material box, while the smaller construction waste falls through the screen to the fine material box. The vibrator can make the screen better screen the smaller construction waste to the fine material box, and can reduce the clogging of the screen. It solves the problems that the existing screen is not easy to screen and easy to block.
附图说明Description of drawings
图1为本实用新型结构示意图;Fig. 1 is the structural representation of the utility model;
图2为本实用新型剖面结构示意图;Fig. 2 is the cross-sectional structure schematic diagram of the utility model;
图3为本实用新型侧剖面结构示意图;Fig. 3 is the side sectional structure schematic diagram of the utility model;
图4为本实用新型俯视结构示意图。FIG. 4 is a schematic top view of the structure of the present invention.
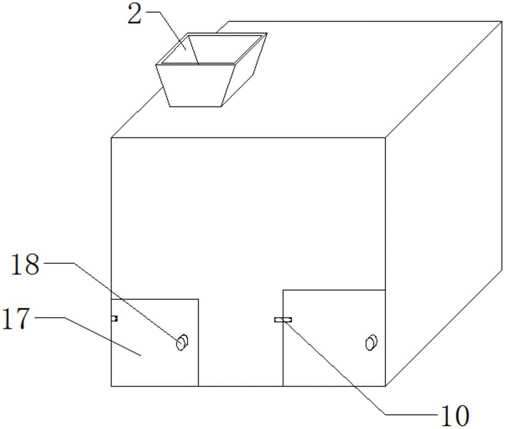
图中:1、主体外壳;2、进料口;3、碾压齿轮;4、滚轮;5、传送带;6、筛网;7、粗料箱;8、细料箱;9、刮板;10、合页;11、倾斜挡板;12、铁制品放料箱;13、第一电机;14、输出轴;15、第二电机;16、第三电机;17、旋转门;18、把手;19、挡板;20、振动器;21、磁铁。In the figure: 1. Main body shell; 2. Feed inlet; 3. Rolling gear; 4. Roller; 5. Conveyor belt; 6. Screen; 7. Coarse material box; 8. Fine material box; 9. Scraper; 10, hinge; 11, inclined baffle; 12, iron product discharge box; 13, first motor; 14, output shaft; 15, second motor; 16, third motor; 17, revolving door; 18, handle ; 19, baffle; 20, vibrator; 21, magnet.
具体实施方式Detailed ways
下面将结合本实用新型实施例中的附图,对本实用新型实施例中的技术方案进行清楚、完整地描述,显然,所描述的实施例仅仅是本实用新型一部分实施例,而不是全部的实施例。基于本实用新型中的实施例,本领域普通技术人员在没有做出创造性劳动前提下所获得的所有其他实施例,都属于本实用新型保护的范围。The technical solutions in the embodiments of the present utility model will be clearly and completely described below with reference to the accompanying drawings in the embodiments of the present utility model. Obviously, the described embodiments are only a part of the embodiments of the present utility model, rather than all the implementations. example. Based on the embodiments of the present invention, all other embodiments obtained by those of ordinary skill in the art without creative work fall within the protection scope of the present invention.
本实用新型中:振动器的型号为20M。In the utility model: the model of the vibrator is 20M.
请参阅图1-4,本实用新型提供一种技术方案:一种建筑垃圾分选机,包括主体外壳1 ,主体外壳1的顶部一侧安装有进料口2;进料口2的正下方位于主体外壳1内设置有一粉碎装置,粉碎装置的下方设置有一传送机,传送机内设置有一磁铁21;主体外壳1内壁还固定有一倾斜设置的刮板9,刮板9位于传送机的下方且上端与传送机的传送带5抵触;主体外壳1底部从左至右依次分割成铁制品放料箱12、细料箱8以及粗料箱7;铁制品放料箱12和细料箱8中间还设置有一倾斜挡板11;倾斜挡板11的一端抵靠在铁制品放料箱12的外壁上端,另一端抵靠在一挡板19上,挡板19位于传送机的末端下方,其高于铁制品放料箱12的高度;粗料箱7的上方安装有筛网6和使得筛网6产生振动的振动器20;筛网6倾斜设置,上端固定在挡板19上,下端抵靠在细料箱8的外壁顶端上。Please refer to FIGS. 1-4 , the present utility model provides a technical solution: a construction waste sorting machine, comprising a main body casing 1 , a
请参阅图1和图4,所述第一电机13正转第二电机15反转,且第一电机13、第二电机15和第三电机16分别与碾压齿轮3、滚轮4电性连接,能够更好的将建筑垃圾碾碎和传送,省时省力,所述筛网6采用不锈钢材料制作,可以设置两层以增加过筛的效果,不锈钢材料制作能够使筛网6的使用寿命增加,且不锈钢材料较为坚韧。Please refer to FIG. 1 and FIG. 4 , the
请参阅图1,所述滚轮4采用铝合金材料制作,且滚轮4的外表面粘合有硅胶,铝合金材材料没有磁性,不会被磁铁21吸住,硅胶能够有效地防止漏电的问题,所述刮板9采用铝合金材料制作,铝合金材料够坚硬,且不会产生磁性,能够更好的将传送带5上的铁制品刮落。Please refer to FIG. 1, the
请参阅图2和图3,所述输出轴14为导电材料,外表面均粘合有橡胶材料,使第一电机13、第二电机15、和第三电机16能够更好的运作,粘合有橡胶材料能够防止因漏电导致的危险。Please refer to FIG. 2 and FIG. 3 , the
工作原理:首先,将该建筑垃圾分选机摆放至平整的位置,然后接入电源,使第一电机13、第二电机15和第三电机16通电,且第一电机13和第三电机16为正转,第二电机15为反转,第一电机13和第二电机15带动两个碾压齿轮3转动,然后将建筑垃圾倒入进料口2,碾压齿轮3则将建筑垃圾碾碎,碾碎的建筑垃圾则掉落在传送带上,第三电机16带动滚轮4转动,滚轮4则带动传送带5移动,而传送带5的内部又放置有强力磁铁21,掉落在传送带5上的建筑垃圾中的铁制品则会被传送带5吸住,当传送带5移动至滚轮4下方时,被刮板9刮落至铁制品放料箱12,倾斜挡板11能够使一些掉落的铁制品挡下,挡下的铁制品则滑落至铁制品放料箱12,剩余的建筑垃圾则通过传送带5掉落至筛网6上,因筛网6为倾斜放置着,较大的建筑垃圾滚落至粗料箱7,而较小的建筑垃圾则通过筛网6掉落至细料箱8,振动器20能够使筛网6更好的将较小的建筑垃圾筛选至细料箱8,当需要将铁制品或分好类的建筑垃圾取出时,通过拉动把手18将旋转门17沿合页10打开即可。Working principle: First, place the construction waste sorting machine in a flat position, and then connect to the power supply to make the
尽管已经示出和描述了本实用新型的实施例,对于本领域的普通技术人员而言,可以理解在不脱离本实用新型的原理和精神的情况下可以对这些实施例进行多种变化、修改、替换和变型,本实用新型的范围由所附权利要求及其等同物限定。Although the embodiments of the present invention have been shown and described, it will be understood by those skilled in the art that various changes and modifications can be made to these embodiments without departing from the principles and spirit of the present invention , alternatives and modifications, the scope of the present invention is defined by the appended claims and their equivalents.
Claims (9)
Priority Applications (1)
| Application Number | Priority Date | Filing Date | Title |
|---|---|---|---|
| CN201922285381.3U CN211865841U (en) | 2019-12-18 | 2019-12-18 | Building rubbish sorter |
Applications Claiming Priority (1)
| Application Number | Priority Date | Filing Date | Title |
|---|---|---|---|
| CN201922285381.3U CN211865841U (en) | 2019-12-18 | 2019-12-18 | Building rubbish sorter |
Publications (1)
| Publication Number | Publication Date |
|---|---|
| CN211865841U true CN211865841U (en) | 2020-11-06 |
Family
ID=73243650
Family Applications (1)
| Application Number | Title | Priority Date | Filing Date |
|---|---|---|---|
| CN201922285381.3U Expired - Fee Related CN211865841U (en) | 2019-12-18 | 2019-12-18 | Building rubbish sorter |
Country Status (1)
| Country | Link |
|---|---|
| CN (1) | CN211865841U (en) |
Cited By (4)
| Publication number | Priority date | Publication date | Assignee | Title |
|---|---|---|---|---|
| CN112691742A (en) * | 2020-12-28 | 2021-04-23 | 浙江农林大学暨阳学院 | Equipment for rapidly preparing conductive carbon |
| CN112892780A (en) * | 2021-01-18 | 2021-06-04 | 顾连花 | Recovery crushing apparatus for treating buried garbage |
| CN113355528A (en) * | 2021-06-08 | 2021-09-07 | 淮安中科新型建材有限公司 | Device for separating slag and metal based on jigging bed layer theory |
| CN117772334A (en) * | 2024-02-28 | 2024-03-29 | 新乡市振英机械设备有限公司 | Building engineering waste material environmental protection treatment facility |
-
2019
- 2019-12-18 CN CN201922285381.3U patent/CN211865841U/en not_active Expired - Fee Related
Cited By (5)
| Publication number | Priority date | Publication date | Assignee | Title |
|---|---|---|---|---|
| CN112691742A (en) * | 2020-12-28 | 2021-04-23 | 浙江农林大学暨阳学院 | Equipment for rapidly preparing conductive carbon |
| CN112892780A (en) * | 2021-01-18 | 2021-06-04 | 顾连花 | Recovery crushing apparatus for treating buried garbage |
| CN113355528A (en) * | 2021-06-08 | 2021-09-07 | 淮安中科新型建材有限公司 | Device for separating slag and metal based on jigging bed layer theory |
| CN117772334A (en) * | 2024-02-28 | 2024-03-29 | 新乡市振英机械设备有限公司 | Building engineering waste material environmental protection treatment facility |
| CN117772334B (en) * | 2024-02-28 | 2024-05-24 | 新乡市振英机械设备有限公司 | Building engineering waste material environmental protection treatment facility |
Similar Documents
| Publication | Publication Date | Title |
|---|---|---|
| CN211865841U (en) | Building rubbish sorter | |
| CN209935272U (en) | A kind of multi-layer can be screened and classified cleaning machine | |
| CN211463296U (en) | Screening device is smashed to building rubbish | |
| CN210230110U (en) | Engineering construction waste treatment device | |
| CN103240262B (en) | Classified-refuse recovery system and Waste sorting recycle method | |
| CN211537940U (en) | A solid waste crushing device | |
| CN207254372U (en) | A kind of circulating mineral products crush magnetic separation separation cleaning device | |
| CN113426809A (en) | Building rubbish recycling device | |
| CN111774141A (en) | A starch continuous crushing and grinding device for starch production line | |
| CN117548179A (en) | An industrial solid waste classification and treatment device | |
| CN116550426A (en) | Oil press cake blanking, crushing and conveying equipment and processing method | |
| CN203235535U (en) | Garbage sorting and recycling treatment system | |
| CN110756269A (en) | Waste brick processing apparatus | |
| CN208812332U (en) | A kind of plastic recovery system | |
| CN112934350B (en) | Smashing device for black talc ore processing and application method thereof | |
| CN211216902U (en) | A construction stone sand screening device | |
| CN221816234U (en) | Concrete waste crushing device | |
| CN118357147A (en) | An underground transmission device for paper product processing scraps | |
| CN217164534U (en) | A diamond crushing device with water washing structure | |
| CN117046545A (en) | Sand and stone crushing device with small-particle stone separation function | |
| CN209953252U (en) | A kind of repeated stone separator for separation of stone and soil | |
| CN108745484A (en) | A kind of printing and dyeing raw material dispersing device | |
| CN223405051U (en) | A solid waste device | |
| CN210585250U (en) | Civil construction engineering construction waste material environmental protection processing apparatus | |
| CN222829732U (en) | Metal refuse recoverable rubbish reducing mechanism |
Legal Events
| Date | Code | Title | Description |
|---|---|---|---|
| GR01 | Patent grant | ||
| GR01 | Patent grant | ||
| CF01 | Termination of patent right due to non-payment of annual fee |
Granted publication date: 20201106 |
|
| CF01 | Termination of patent right due to non-payment of annual fee |
