CN211856706U - 一种套管末屏接地电流显示装置 - Google Patents

一种套管末屏接地电流显示装置 Download PDF

Info

Publication number
CN211856706U
CN211856706U CN201922050219.3U CN201922050219U CN211856706U CN 211856706 U CN211856706 U CN 211856706U CN 201922050219 U CN201922050219 U CN 201922050219U CN 211856706 U CN211856706 U CN 211856706U
Authority
CN
China
Prior art keywords
end screen
screen
grounding
current
casing
Prior art date
Legal status (The legal status is an assumption and is not a legal conclusion. Google has not performed a legal analysis and makes no representation as to the accuracy of the status listed.)
Active
Application number
CN201922050219.3U
Other languages
English (en)
Inventor
陈梁远
黎大健
赵坚
余长厅
Current Assignee (The listed assignees may be inaccurate. Google has not performed a legal analysis and makes no representation or warranty as to the accuracy of the list.)
Electric Power Research Institute of Guangxi Power Grid Co Ltd
Original Assignee
Electric Power Research Institute of Guangxi Power Grid Co Ltd
Priority date (The priority date is an assumption and is not a legal conclusion. Google has not performed a legal analysis and makes no representation as to the accuracy of the date listed.)
Filing date
Publication date
Application filed by Electric Power Research Institute of Guangxi Power Grid Co Ltd filed Critical Electric Power Research Institute of Guangxi Power Grid Co Ltd
Priority to CN201922050219.3U priority Critical patent/CN211856706U/zh
Application granted granted Critical
Publication of CN211856706U publication Critical patent/CN211856706U/zh
Active legal-status Critical Current
Anticipated expiration legal-status Critical

Links

Images

Landscapes

  • Photovoltaic Devices (AREA)

Abstract

本实用新型提供一种套管末屏接地电流显示装置,包括末屏端盖,还包括太阳能电池板、电流检测模块和显示模块;所述末屏端盖为一端开口的腔室,且开口处能与套管末屏座匹配相接;所述太阳能电池板设置在所述末屏端盖外侧面,所述电流检测模块设置在所述末屏端盖内部,所述显示模块设置在所述末屏端盖外侧底部,所述太阳能电池板、电流检测模块和显示模块依次连接;通过本实用新型能够在不打开末屏端盖的条件下测量套管末屏接地电流,且具有无需引线、无需外部供电、数值可视等优点。

Description

一种套管末屏接地电流显示装置
技术领域
本实用新型涉及变电技术领域,尤其涉及一种套管末屏接地电流显示装置。
背景技术
变压器是电网变电站的关键设备。在变压器发生的故障中,由套管引发的故障占了很大的比例,严重危及变电器设备的安全运行及供电可靠性。变压器套管是变压器引线与外壳的主要绝缘装置,66kV及以上电压等级套管大多为电容式套管,在套管电容芯子最外一层电容屏引出一根测量端子,用来测量电容式套管的介质损耗因数和电容量,该测量端子一般称为套管末屏。当变压器套管内部发生故障时,套管末屏接地电流将异常增大,通过监测接地电流可以有效监测变压器套管的内部状态。而主变在运行状态下是无法打开套管末屏保护罩的,想要在运行状态下拾取接地电流,现行的方法是将套管末屏接地线引到地面,但这样一定程度改变了接地方式,对安全运行构成一定的风险。
实用新型内容
针对以上不足,本实用新型提供一种套管末屏接地电流显示装置,能够在不打开末屏端盖的条件下测量套管末屏接地电流,且具有无需引线、无需外部供电、数值可视等优点。
一种套管末屏接地电流显示装置,包括末屏端盖,还包括太阳能电池板、电流检测模块和显示模块;所述末屏端盖为一端开口的腔室,且开口处能与套管末屏座匹配相接;所述太阳能电池板设置在所述末屏端盖外侧面,所述电流检测模块设置在所述末屏端盖内部,所述显示模块设置在所述末屏端盖外侧底部,所述太阳能电池板、电流检测模块和显示模块依次连接。
进一步的,所述电流检测模块包括电流互感器、电流采集处理模块以及电池;所述电流互感器用于与末屏引线柱套接,与电流采集处理模块连接;所述电池与所述太阳能电池板连接,为电流互感器、电流采集处理模块和显示模块提供电能。
进一步的,所述末屏端盖材料为铝合金,所述末屏端盖内部径向设置有用于与末屏引线柱连接的末屏引线柱接地杆。
更进一步的,所述末屏引线柱接地杆包括接地杆底座、弹簧和接地杆本体;所述接地杆底座固定在末屏端盖的内壁,且内部穿设有外端小内端大的通孔,所述弹簧卡接于接地杆底座的通孔内端中且能沿通孔轴向伸缩,所述接地杆本体插设于所述弹簧中。优选的,所述接地杆本体外端大内端小,接地杆本体的外端伸出所述弹簧的顶面,且能匹配在接地杆底座通孔的外端轴向移动,所述接地杆本体的内端能匹配插设于所述弹簧中,且能匹配在接地杆底座通孔的内端轴向移动。
进一步的,所述太阳能电池板为柔性非晶硅薄膜太阳能板。
进一步的,所述末屏端盖的开口处设置有内螺纹。
本实用新型的有益效果是:
1、本实用新型设置有电流检测模块测量套管末屏接地电流,并将其与显示模块连接,具有数值可视的优点,方便运行人员巡视查看,及时发现套管末屏接地电流异常的问题。
2、本实用新型采用柔性非晶硅薄膜太阳能板贴在末屏端盖侧面,能够吸收太阳能就地提供电源,解决需要线路外部供电的问题。
3、本实用新型在末屏端盖内部安装有末屏引线柱接地杆与末屏引线柱连接,能保证测量套管末屏接地电流而不改变原有套管末屏电气特性,尤其是接地特性。
本实用新型能够在不改变原有套管末屏电气特性的条件下测量套管末屏接地电流,具有无需引线、无需外部供电、数值可视等优点。
附图说明
为了更清楚地说明本实用新型实施例的技术方案,以下将对实施例描述中所需要使用的附图作简单地介绍。
图1为本实用新型一种实施例的结构示意图;
图2为图1的爆炸示意图;
图3为图1的等轴测截面图;
图4为本实用新型一种实施例的实施示意图。
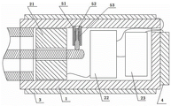
其中,图中所示标记为:1:末屏端盖,2:电流检测模块,21:电流互感器,22:电流采集处理模块,23:电池,3:太阳能电池板,4:显示模块,5:末屏引线柱接地杆,51:接地杆底座,52:接地杆本体,53:弹簧,6:末屏引线柱。
具体实施方式
下面将结合本实用新型实施例中的附图,对本实用新型实施例中的技术方案进行清楚、完整地描述。显然,所描述的实施例仅仅是本实用新型一部分实施例,而不是全部的实施例。基于本实用新型中的实施例,本领域普通技术人员在没有作出创造性劳动前提下所获得的所有其他实施例,都属于本实用新型保护的范围。
请参照图1和3所示,一种套管末屏接地电流显示装置,包括末屏端盖1,还包括太阳能电池板3、电流检测模块2和显示模块4;末屏端盖1为一端开口的腔室,且开口处能与套管末屏座匹配相接;太阳能电池板3设置在末屏端盖1外侧面,电流检测模块2设置在末屏端盖1内部,显示模块4设置在所述末屏端盖1外侧底部,太阳能电池板3、电流检测模块2和显示模块4依次连接。通过在末屏端盖1内部设置电流检测模块2测量套管末屏接地电流,并将测量数值显示于外接的显示模块4中,使得测量结果数值可视,方便运行人员巡视查看,及时发现套管末屏接地电流异常的问题。且本实施例设置有太阳能电池板3,太阳能电池板3能够吸收太阳能就地提供电源,解决需要线路外部供电的问题。
进一步的,本实施例提供了一种具体的电流检测模块2的结构,电流检测模块2包括电流互感器21、电流采集处理模块22以及电池23;电流互感器21用于与末屏引线柱6套接,即电流互感器21环形套在末屏引线柱6的外壁,电流互感器21与电流采集处理模块22连接;电池23与太阳能电池板3连接,一般是通过电源管理单元来连接,电池23为电流互感器21、电流采集处理模块22和显示模块4提供电能。太阳能电池板3与电池23的连接线、电池23与显示模块4的连接线,均通过在末屏端盖1底部穿孔来容纳其穿过。
进一步的,末屏端盖1材料为铝合金,末屏端盖1内部径向设置有用于与末屏引线柱6连接的末屏引线柱接地杆5。为了使末屏引线柱接地杆5和末屏端盖1形成接地回路,且能保证末屏端盖1有足够的空间设置电流采集处理模块22和电池23,本实施例在靠近电流互感器21的位置径向设置末屏引线柱接地杆5,末屏引线柱接地杆5为导电材料,从而使得空间布置更合理。
进一步的,末屏引线柱接地杆5需压接末屏引线柱6,本实施例具体提供了一种能满足末屏引线柱接地杆5可压接末屏引线柱6的结构,末屏引线柱接地杆5包括接地杆底座51、弹簧53和接地杆本体52;接地杆底座51固定在末屏端盖1的内壁,且内部穿设有外端小内端大的通孔,弹簧53卡接于接地杆底座51的通孔内端中且能沿通孔轴向伸缩,弹簧53具体是固定在通孔内端与外端连接的阶梯面处,接地杆本体52插设于弹簧53中。末屏引线柱6插入时,弹簧53压缩,接地杆本体52向外侧移动,末屏引线柱6继续插入,接地杆本体52向外移动至容许引线柱6伸入且能顶住末屏引线柱6外壁的位置。
更进一步的,为保证述接地杆本体52轴向直线移动,接地杆本体52外端大内端小,接地杆本体52的外端伸出所述弹簧53的顶面,接地杆本体52外端与内端连接的阶梯面与弹簧53顶面连接,接地杆本体52外端恰好能匹配在接地杆底座51通孔的外端轴向移动,防止其发生左右移动,接地杆本体52的内端能匹配插设于弹簧53中,且能匹配在接地杆底座51通孔的内端轴向移动。接地杆本体52靠近末屏端盖1开口的内端一侧呈平滑的圆弧面,以使末屏引线柱6能够通过。
进一步的,太阳能电池板3为柔性非晶硅薄膜太阳能板。优选的,柔性太阳能电池片型号为a-si 1517,5V,0.3A。
进一步的,末屏端盖1的开口处设置有内螺纹,以能与套管末屏座外螺纹匹配相接。
使用时,请参照图2和4,旋出套管末屏原有末屏盖,将电流互感器21套在末屏引线柱6上,旋入末屏端盖1,此时末屏引线柱接地杆5与末屏引线柱6压接,保证了安全的接地,且不改变原有套管末屏电气特性。当阳光充足,太阳能电池板3将为电池23充电,同时电池23为电流采集处理模块22供电,电流采集处理模块22采集电流互感器21的电流并将其显示在显示模块4上,运行人员可以在巡视时观察显示模块4的数值,从而确定套管的状态是否正常。
以上所述,仅为本实用新型的具体实施方式,但本实用新型的保护范围并不局限于此,任何熟悉本技术领域的技术人员在本实用新型揭露的技术范围内,可轻易想到的变化或替换,都应涵盖在本实用新型的保护范围之内。因此,本实用新型的保护范围应以所述权利要求的保护范围为准。

Claims (7)

1.一种套管末屏接地电流显示装置,包括末屏端盖,其特征在于:
还包括太阳能电池板(3)、电流检测模块(2)和显示模块(4);所述末屏端盖(1)为一端开口的腔室,且开口处能与套管末屏座匹配相接;所述太阳能电池板(3)设置在所述末屏端盖(1)外侧面,所述电流检测模块(2)设置在所述末屏端盖(1)内部,所述显示模块(4)设置在所述末屏端盖(1)外侧底部,所述太阳能电池板(3)、电流检测模块(2)和显示模块(4)依次连接。
2.根据权利要求1所述的套管末屏接地电流显示装置,其特征在于:
所述电流检测模块(2)包括电流互感器(21)、电流采集处理模块(22)以及电池(23);所述电流互感器(21)用于与末屏引线柱套接,与电流采集处理模块(22)连接;所述电池(23)与所述太阳能电池板(3)连接,为电流互感器(21)、电流采集处理模块(22)和显示模块(4)提供电能。
3.根据权利要求1所述的套管末屏接地电流显示装置,其特征在于:
所述末屏端盖(1)材料为铝合金,所述末屏端盖(1)内部径向设置有用于与末屏引线柱(6)连接的末屏引线柱接地杆(5)。
4.根据权利要求3所述的套管末屏接地电流显示装置,其特征在于:
所述末屏引线柱接地杆(5)包括接地杆底座(51)、弹簧(53)和接地杆本体(52);所述接地杆底座(51)固定在末屏端盖(1)的内壁,且内部穿设有外端小内端大的通孔,所述弹簧卡接于接地杆底座(51)的通孔内端中且能沿通孔轴向伸缩,所述接地杆本体(52)插设于所述弹簧(53)中。
5.根据权利要求4所述的套管末屏接地电流显示装置,其特征在于:
所述接地杆本体(52)外端大内端小,接地杆本体(52)的外端伸出所述弹簧(53)的顶面,且能匹配在接地杆底座(51)通孔的外端轴向移动,所述接地杆本体(52)的内端能匹配插设于所述弹簧(53)中,且能匹配在接地杆底座(51)通孔的内端轴向移动。
6.根据权利要求1所述的套管末屏接地电流显示装置,其特征在于:
所述太阳能电池板(3)为柔性非晶硅薄膜太阳能板。
7.根据权利要求1所述的套管末屏接地电流显示装置,其特征在于:
所述末屏端盖(1)的开口处设置有内螺纹。
CN201922050219.3U 2019-11-25 2019-11-25 一种套管末屏接地电流显示装置 Active CN211856706U (zh)

Priority Applications (1)

Application Number Priority Date Filing Date Title
CN201922050219.3U CN211856706U (zh) 2019-11-25 2019-11-25 一种套管末屏接地电流显示装置

Applications Claiming Priority (1)

Application Number Priority Date Filing Date Title
CN201922050219.3U CN211856706U (zh) 2019-11-25 2019-11-25 一种套管末屏接地电流显示装置

Publications (1)

Publication Number Publication Date
CN211856706U true CN211856706U (zh) 2020-11-03

Family

ID=73219234

Family Applications (1)

Application Number Title Priority Date Filing Date
CN201922050219.3U Active CN211856706U (zh) 2019-11-25 2019-11-25 一种套管末屏接地电流显示装置

Country Status (1)

Country Link
CN (1) CN211856706U (zh)

Similar Documents

Publication Publication Date Title
CN204205076U (zh) 一种主变高压套管末屏用于在线监测的接地装置
CN105990855A (zh) 一种高压电容降压取电装置及取电方法
CN112034236A (zh) 一种电缆肘形终端暂态电压在线监测装置及方法
CN108054765A (zh) 一种一体化电容器补偿装置
CN114966218A (zh) 一种变电站接地网的接地电阻检测装置及方法
CN210775584U (zh) 一种变压器末屏辅助试验装置
CN203705077U (zh) 变压器套管末屏温度及接地电容电流在线监测装置
CN211856706U (zh) 一种套管末屏接地电流显示装置
CN210037953U (zh) 一种架空输电线路瞬态过电压非接触式在线监测装置
CN206321748U (zh) 绝缘性测试装置
CN102779626A (zh) 一种高压套管末屏弹片式引出装置
CN209675080U (zh) 一种变压器套管末屏接地装置
CN204424930U (zh) 一种高压电容降压取电装置
CN203746669U (zh) 一种用于变流器的新型电容器
CN215932099U (zh) 一种用于高压油纸电容型套管的末屏接地与状态检测装置
CN211402672U (zh) 一种新型可伸缩电气试验短接装置
CN110676030B (zh) 一种油浸式串联电抗器的引线装置
CN202749204U (zh) 一种高压套管末屏弹片式引出装置
CN113552503A (zh) 一种用于高压油纸电容型套管的末屏接地与状态检测装置
CN211348316U (zh) 一种避雷器直流测试用辅助装置
CN211122944U (zh) 一种gis电缆终端试验专用转换接头
CN207282295U (zh) 具有状态指示功能的变压器套管末屏接地装置
CN208672747U (zh) 固体电介质极化去极化电流测量装置
CN206684218U (zh) 一种多功能高压验电器
CN211856652U (zh) 一种套管末屏引线柱连接装置

Legal Events

Date Code Title Description
GR01 Patent grant
GR01 Patent grant