CN211852373U - 一种两级独立控制油缸结构 - Google Patents
一种两级独立控制油缸结构 Download PDFInfo
- Publication number
- CN211852373U CN211852373U CN202020442764.7U CN202020442764U CN211852373U CN 211852373 U CN211852373 U CN 211852373U CN 202020442764 U CN202020442764 U CN 202020442764U CN 211852373 U CN211852373 U CN 211852373U
- Authority
- CN
- China
- Prior art keywords
- piston
- oil
- piston cavity
- right end
- column
- Prior art date
- Legal status (The legal status is an assumption and is not a legal conclusion. Google has not performed a legal analysis and makes no representation as to the accuracy of the status listed.)
- Active
Links
- 238000007789 sealing Methods 0.000 claims abstract description 22
- 230000005540 biological transmission Effects 0.000 claims description 3
- 239000012530 fluid Substances 0.000 abstract 1
- 241001391944 Commicarpus scandens Species 0.000 description 1
- 230000009286 beneficial effect Effects 0.000 description 1
- 238000010586 diagram Methods 0.000 description 1
- 238000002347 injection Methods 0.000 description 1
- 239000007924 injection Substances 0.000 description 1
- 238000004904 shortening Methods 0.000 description 1
- 239000000243 solution Substances 0.000 description 1
- 230000003245 working effect Effects 0.000 description 1
Images
Landscapes
- Actuator (AREA)
Abstract
本实用新型公开了一种两级独立控制油缸结构,包括一级伸缩件和二级伸缩件;所述一级伸缩件包括本体和设置在本体内部的第一活塞腔,所述第一活塞腔中设有第一活塞柱,所述第一活塞柱左端设有与第一活塞腔滑动配合的第一活塞块,所述第一活塞柱右端伸出第一活塞腔右端,所述本体右端口设有用于封堵第一活塞腔的封盖;所述本体左端设有与第一活塞腔连通的进油端口,所述进油端口连接用于提供油液的液压站出口,本实用新型针对现有需要进行设计,设计了两个独立工作且合二为一的伸缩油缸,这样就可以根据不同工作需要选择使用其中一个油缸,并且两个油缸的同轴度要求并不高,降低了前期的加工难度,实用性强。
Description
技术领域
本实用新型涉及伸缩设备技术领域,具体是一种两级独立控制油缸结构。
背景技术
目前市面上有许多多级缸,其实质是通过多层分布达到提高行程的目的,但在有些设备中,需要多级油缸每一级有不同的控制,这样就只能采用多个油缸串联来完成作业。但多油缸串联对同心度要求高、零部件数量多,在使用时容易发生故障。
针对上述问题,现在提供一种两级独立控制油缸结构。
实用新型内容
本实用新型的目的在于提供一种两级独立控制油缸结构,以解决上述背景技术中提出的问题。
为实现上述目的,本实用新型提供如下技术方案:
一种两级独立控制油缸结构,包括一级伸缩件和二级伸缩件;
所述一级伸缩件包括本体和设置在本体内部的第一活塞腔,所述第一活塞腔中设有第一活塞柱,所述第一活塞柱左端设有与第一活塞腔滑动配合的第一活塞块,所述第一活塞柱右端伸出第一活塞腔右端,所述本体右端口设有用于封堵第一活塞腔的封盖;
所述本体左端设有与第一活塞腔连通的进油端口,所述进油端口连接用于提供油液的液压站出口,所述进油端口至少包括第一进油口和第二进油口,所述本体下端右侧设有第一出油口,第一出油口通过出油管连接排油阀;
所述二级伸缩件包括开设在第一活塞柱右端的第二活塞腔,所述第二活塞腔中设有第二活塞柱,所述第二活塞腔右端口设有用于封堵的第二封盖,所述第二活塞柱伸出第二活塞腔右端口,所述第二活塞柱左端连接与第二活塞腔滑动配合的第二活塞块,所述第二活塞块左侧的第二活塞腔上设有油口,油口通过设置在第一活塞柱中的导油管路连接设置在第一活塞柱右端外侧的二级进油口,所述第二活塞柱下端右侧设有与第二活塞腔相连通的二级出油口;
作为本实用新型进一步的方案:所述第二活塞柱右端设有用于连接传动件的连接件。
作为本实用新型进一步的方案:所述排油阀通过固定块与本体侧面连接固定。
作为本实用新型进一步的方案:所述封盖通过螺钉与本体连接固定,且封盖与本体之间设有密封垫。
作为本实用新型进一步的方案:所述第一活塞块的截面直径至少为第二活塞块截面直径的两倍。
作为本实用新型进一步的方案:所述第一活塞腔和第二活塞腔同轴设置。
作为本实用新型再进一步的方案:所述第一活塞腔的长度为第二活塞腔长度的两倍。
与现有技术相比,本实用新型的有益效果是:本实用新型针对现有需要进行设计,设计了两个独立工作且合二为一的伸缩油缸,这样就可以根据不同工作需要选择使用其中一个油缸,并且两个油缸的同轴度要求并不高,降低了前期的加工难度,实用性强。
附图说明
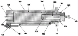
图1为本实用新型的结构示意图。
其中:包括本体100、第一进油口101、第二进油口102、排油阀103、固定块104、出油管105、第一出油口106、封盖107、第一活塞柱108、第一活塞腔109;
第二活塞柱200、第二活塞腔201、二级进油口202、连接件203、导油管路204、第二活塞块205、二级出油口206。
具体实施方式
在本实用新型的描述中,需要理解的是,术语“中心”、“纵向”、“横向”、“上”、“下”、“前”、“后”、“左”、“右”、“竖直”、“水平”、“顶”、“底”、“内”、“外”等指示的方位或位置关系为基于附图所示的方位或位置关系,仅是为了便于描述本实用新型和简化描述,而不是指示或暗示所指的装置或元件必须具有特定的方位、以特定的方位构造和操作,因此不能理解为对本实用新型的限制。此外,术语“第一”、“第二”等仅用于描述目的,而不能理解为指示或暗示相对重要性或者隐含指明所指示的技术特征的数量。由此,限定有“第一”、“第二”等的特征可以明示或者隐含地包括一个或者更多个该特征。在本实用新型的描述中,除非另有说明,“多个”的含义是两个或两个以上。
在本实用新型的描述中,需要说明的是,除非另有明确的规定和限定,术语“安装”、“相连”、“连接”应做广义理解,例如,可以是固定连接,也可以是可拆卸连接,或一体地连接;可以是机械连接,也可以是电连接;可以是直接相连,也可以通过中间媒介间接相连,可以是两个元件内部的连通。对于本领域的普通技术人员而言,可以通过具体情况理解上述术语在本实用新型中的具体含义。
下面将结合本实用新型实施例中的附图,对本实用新型实施例中的技术方案进行清楚、完整地描述,显然,所描述的实施例仅仅是本实用新型一部分实施例,而不是全部的实施例。基于本实用新型中的实施例,本领域普通技术人员在没有做出创造性劳动前提下所获得的所有其他实施例,都属于本实用新型保护的范围。
请参阅图1,本实用新型实施例中,一种两级独立控制油缸结构,包括一级伸缩件和二级伸缩件;
所述一级伸缩件包括本体100和设置在本体100内部的第一活塞腔109,所述第一活塞腔109中设有第一活塞柱108,所述第一活塞柱108左端设有与第一活塞腔109滑动配合的第一活塞块,所述第一活塞柱108右端伸出第一活塞腔109右端,所述本体100右端口设有用于封堵第一活塞腔109的封盖107,所述封盖107通过螺钉与本体100连接固定,且封盖107与本体100之间设有密封垫;
所述本体100左端设有与第一活塞腔109连通的进油端口,所述进油端口连接用于提供油液的液压站出口,所述进油端口至少包括第一进油口101和第二进油口102,所述本体100下端右侧设有第一出油口106,第一出油口106通过出油管105连接排油阀103,所述排油阀103通过固定块104与本体100侧面连接固定;
当一级伸缩件工作时:通过进油端口向第一活塞腔109中注入油液,从而推动第一活塞块向右移动,第一活塞块右侧的油液会沿着出油管105排出去,从而完成第一伸缩件的伸长,当油液沿着进油端口排出,沿着出油管105进入时,油液会推动第一活塞块向左移动,从而完成第一伸缩件的缩短;
所述二级伸缩件包括开设在第一活塞柱108右端的第二活塞腔201,所述第二活塞腔201中设有第二活塞柱200,所述第二活塞腔201右端口设有用于封堵的第二封盖,所述第二活塞柱200伸出第二活塞腔201右端口,所述第二活塞柱200左端连接与第二活塞腔201滑动配合的第二活塞块205,所述第二活塞块205左侧的第二活塞腔201上设有油口,油口通过设置在第一活塞柱108中的导油管路204连接设置在第一活塞柱108右端外侧的二级进油口202,所述第二活塞柱200下端右侧设有与第二活塞腔201相连通的二级出油口206,所述第二活塞柱200右端设有用于连接传动件的连接件203;
二级伸缩件工作时:通过二级进油口202向第二活塞腔201内部注油,在油液的推动下,第二活塞柱200会沿着第二活塞腔201向右滑动,从而完成第二活塞柱200的伸长,通过二级出油口206箱第二活塞腔201中注油,则会实现第二活塞柱200缩短;
本申请中的一级伸缩件和二级伸缩件都是独立工作的,且第一伸缩柱的截面大于第二伸缩柱的截面,所以当需要输出力较大时则使用一级伸缩件工作,反之则使用二级伸缩件,这样就可以满足不同载荷工作的需要。
对于本领域技术人员而言,显然本实用新型不限于上述示范性实施例的细节,而且在不背离本实用新型的精神或基本特征的情况下,能够以其他的具体形式实现本实用新型。因此,无论从哪一点来看,均应将实施例看作是示范性的,而且是非限制性的,本实用新型的范围由所附权利要求而不是上述说明限定,因此旨在将落在权利要求的等同要件的含义和范围内的所有变化囊括在本实用新型内。不应将权利要求中的任何附图标记视为限制所涉及的权利要求。
此外,应当理解,虽然本说明书按照实施方式加以描述,但并非每个实施方式仅包含一个独立的技术方案,说明书的这种叙述方式仅仅是为清楚起见,本领域技术人员应当将说明书作为一个整体,各实施例中的技术方案也可以经适当组合,形成本领域技术人员可以理解的其他实施方式。
Claims (8)
1.一种两级独立控制油缸结构,其特征在于,包括一级伸缩件和二级伸缩件;
所述一级伸缩件包括本体(100)和设置在本体(100)内部的第一活塞腔(109),所述第一活塞腔(109)中设有第一活塞柱(108),所述第一活塞柱(108)左端设有与第一活塞腔(109)滑动配合的第一活塞块,所述第一活塞柱(108)右端伸出第一活塞腔(109)右端,所述本体(100)右端口设有用于封堵第一活塞腔(109)的封盖(107);
所述本体(100)左端设有与第一活塞腔(109)连通的进油端口,所述进油端口连接用于提供油液的液压站出口,所述本体(100)下端右侧设有第一出油口(106),第一出油口(106)通过出油管(105)连接排油阀(103);
所述二级伸缩件包括开设在第一活塞柱(108)右端的第二活塞腔(201),所述第二活塞腔(201)中设有第二活塞柱(200),所述第二活塞腔(201)右端口设有用于封堵的第二封盖,所述第二活塞柱(200)伸出第二活塞腔(201)右端口,所述第二活塞柱(200)左端连接与第二活塞腔(201)滑动配合的第二活塞块(205);
所述第二活塞块(205)左侧的第二活塞腔(201)上设有油口,油口通过设置在第一活塞柱(108)中的导油管路(204)连接设置在第一活塞柱(108)右端外侧的二级进油口(202),所述第二活塞柱(200)下端右侧设有与第二活塞腔(201)相连通的二级出油口(206)。
2.根据权利要求1所述的两级独立控制油缸结构,其特征在于,所述进油端口至少包括第一进油口(101)和第二进油口(102)。
3.根据权利要求1所述的两级独立控制油缸结构,其特征在于,所述第二活塞柱(200)右端设有用于连接传动件的连接件(203)。
4.根据权利要求1所述的两级独立控制油缸结构,其特征在于,所述排油阀(103)通过固定块(104)与本体(100)侧面连接固定。
5.根据权利要求1所述的两级独立控制油缸结构,其特征在于,所述封盖(107)通过螺钉与本体(100)连接固定,且封盖(107)与本体(100)之间设有密封垫。
6.根据权利要求1所述的两级独立控制油缸结构,其特征在于,所述第一活塞块的截面直径至少为第二活塞块(205)截面直径的两倍。
7.根据权利要求1所述的两级独立控制油缸结构,其特征在于,所述第一活塞腔(109)和第二活塞腔(201)同轴设置。
8.根据权利要求7所述的两级独立控制油缸结构,其特征在于,所述第一活塞腔(109)的长度为第二活塞腔(201)长度的两倍。
Priority Applications (1)
| Application Number | Priority Date | Filing Date | Title |
|---|---|---|---|
| CN202020442764.7U CN211852373U (zh) | 2020-03-31 | 2020-03-31 | 一种两级独立控制油缸结构 |
Applications Claiming Priority (1)
| Application Number | Priority Date | Filing Date | Title |
|---|---|---|---|
| CN202020442764.7U CN211852373U (zh) | 2020-03-31 | 2020-03-31 | 一种两级独立控制油缸结构 |
Publications (1)
| Publication Number | Publication Date |
|---|---|
| CN211852373U true CN211852373U (zh) | 2020-11-03 |
Family
ID=73137654
Family Applications (1)
| Application Number | Title | Priority Date | Filing Date |
|---|---|---|---|
| CN202020442764.7U Active CN211852373U (zh) | 2020-03-31 | 2020-03-31 | 一种两级独立控制油缸结构 |
Country Status (1)
| Country | Link |
|---|---|
| CN (1) | CN211852373U (zh) |
Cited By (1)
| Publication number | Priority date | Publication date | Assignee | Title |
|---|---|---|---|---|
| CN112780634A (zh) * | 2021-02-03 | 2021-05-11 | 中国人民解放军海军工程大学 | 一种伸缩式双作用液压缸 |
-
2020
- 2020-03-31 CN CN202020442764.7U patent/CN211852373U/zh active Active
Cited By (2)
| Publication number | Priority date | Publication date | Assignee | Title |
|---|---|---|---|---|
| CN112780634A (zh) * | 2021-02-03 | 2021-05-11 | 中国人民解放军海军工程大学 | 一种伸缩式双作用液压缸 |
| CN112780634B (zh) * | 2021-02-03 | 2023-08-25 | 中国人民解放军海军工程大学 | 一种伸缩式双作用液压缸 |
Similar Documents
| Publication | Publication Date | Title |
|---|---|---|
| CN203532406U (zh) | 一种多级双作用增力液压缸 | |
| CN211852373U (zh) | 一种两级独立控制油缸结构 | |
| CN201786808U (zh) | 一种油缸结构 | |
| CN109139617A (zh) | 一种新型高压电动油泵 | |
| CN203685751U (zh) | 三级等推力液压油缸 | |
| CN203548412U (zh) | 双作用多级油缸 | |
| CN104632756A (zh) | 一种双向伸缩的快换油缸 | |
| CN218882655U (zh) | 一种多级液压油缸的液压油路流道结构 | |
| CN216478142U (zh) | 一种二级油缸 | |
| CN202391858U (zh) | 双级双作用液压缸 | |
| CN201843745U (zh) | 一种高压气泵 | |
| CN212130942U (zh) | 一种快速高压液压油缸 | |
| CN203614507U (zh) | 一种两级等推力液压油缸 | |
| CN201771885U (zh) | 一种集成式液压油缸 | |
| CN213011739U (zh) | 一种双伸缩液压千斤顶 | |
| CN215908175U (zh) | 一种由多个行程相同液压油缸串联组成的多级液压油缸 | |
| CN211202497U (zh) | 一种三级液压缸 | |
| CN211314686U (zh) | 一种液压支架拔轴用便携式增压装置 | |
| CN213451061U (zh) | 双缸体活塞分体式中间排气活塞式蓄能器装置 | |
| CN203176045U (zh) | 组合式油缸 | |
| CN221423612U (zh) | 一种电动液压推杆 | |
| CN202031915U (zh) | 双作用多级液压油缸 | |
| CN115159380B (zh) | 一种集成式大吨位液压举升装置 | |
| CN221347478U (zh) | 一种新型的增力液压油缸 | |
| CN111706562A (zh) | 一种交替脉冲式流体增压装置 |
Legal Events
| Date | Code | Title | Description |
|---|---|---|---|
| GR01 | Patent grant | ||
| GR01 | Patent grant |