CN211841462U - Wood working's polishing equipment - Google Patents
Wood working's polishing equipment Download PDFInfo
- Publication number
- CN211841462U CN211841462U CN201921888293.6U CN201921888293U CN211841462U CN 211841462 U CN211841462 U CN 211841462U CN 201921888293 U CN201921888293 U CN 201921888293U CN 211841462 U CN211841462 U CN 211841462U
- Authority
- CN
- China
- Prior art keywords
- polishing equipment
- mechanical arm
- wood
- polishing
- wood processing
- Prior art date
- Legal status (The legal status is an assumption and is not a legal conclusion. Google has not performed a legal analysis and makes no representation as to the accuracy of the status listed.)
- Expired - Fee Related
Links
Images
Landscapes
- Finish Polishing, Edge Sharpening, And Grinding By Specific Grinding Devices (AREA)
Abstract
本实用新型提供一种木材加工的抛光设备,涉及木材加工领域,所述抛光设备包括操作面板,操作面板上设置有机械臂、清洁装置及夹持装置,操作面板的底部设置有收集箱,所述机械臂连接有打磨头,所述清洁装置位于夹持装置的一侧,由传送带和弧形刷组成,弧形刷设置有连接杆,所述连接杆与传送带传动连接,所述夹持装置由四个夹持件组成,四个夹持件形成一个矩形。本实用新型将木材的抛光设备和碎屑清理设备融合在一个平面上,在抛光结束后可立即进行清理碎屑,提高工作效率,并且将打磨头与机械臂可拆卸式连接,便于更换和维修。
The utility model provides a polishing equipment for wood processing, which relates to the field of wood processing. The polishing equipment comprises an operation panel, a mechanical arm, a cleaning device and a clamping device are arranged on the operation panel, and a collection box is arranged at the bottom of the operation panel. The mechanical arm is connected with a grinding head, the cleaning device is located on one side of the clamping device, and is composed of a conveyor belt and an arc-shaped brush. The arc-shaped brush is provided with a connecting rod, and the connecting rod is drivingly connected with the conveyor belt. Consists of four clamps that form a rectangle. The utility model integrates the wood polishing equipment and the debris cleaning equipment on one plane, the debris can be cleaned immediately after the polishing is completed, the work efficiency is improved, and the polishing head and the mechanical arm are detachably connected, which is convenient for replacement and maintenance. .
Description
技术领域technical field
本实用新型涉及木材加工领域,特别是涉及一种木材加工的抛光设备。The utility model relates to the field of wood processing, in particular to a polishing device for wood processing.
背景技术Background technique
木材加工指以木材为原料,主要用机械或化学方法进行的加工,其产品仍保持木材的基本特性。木材加工技术包括木材切削、木材干燥、木材胶合、木材表面装饰等基本加工技术,以及木材保护、木材改性等功能处理技术,切削包括锯、刨、铣、钻、抛光等。抛光是指利用机械、化学或电化学的作用,使木材表面粗糙度降低,以获得光亮、平整表面的加工方法。Wood processing refers to the processing of wood as raw material, mainly by mechanical or chemical methods, and its products still maintain the basic characteristics of wood. Wood processing technology includes basic processing technologies such as wood cutting, wood drying, wood gluing, and wood surface decoration, as well as functional processing technologies such as wood protection and wood modification. Cutting includes sawing, planing, milling, drilling, polishing, etc. Polishing refers to the use of mechanical, chemical or electrochemical action to reduce the surface roughness of wood to obtain a bright and smooth surface.
现有技术公开了申请号为CN201721722166.X的一种用于木板加工的抛光装置,该技术公开了抛光装置本体,所述抛光装置本体的内部上方两侧通过支座对称设置有滚轮,且两个滚轮之间通过传动铰链进行连接,所述传动铰链的底部通过支杆套接有滑套,且滑套滑动套设在固定在抛光装置本体内部上方的丝杆上,所述滑套的底部通过支杆套接有刀座,所述抛光装置本体的内部两个侧壁上且位于刀座的下方对称设置有转盘,所述转盘的一侧外壁通过固定螺母固定有木板卡座,所述抛光装置本体的内侧底部中心处设有电机,且电机的底部通过转轴传动连接有打磨头,所述抛光装置本体的底部固定有支架。该现有技术虽然能够将抛光后残留的碎屑和毛剌清理,但是打磨头和刀座位于不同的高度,需要人工将木材放置在不同的地方方便机器操作,仍然不够智能便捷,并且打磨头与电机固定连接,打磨头需要更换或者维修时,需要通过机械工具将其从电机上拆卸下来,较为不便。The prior art discloses a polishing device for wood board processing with an application number of CN201721722166.X. The technology discloses a polishing device body. Rollers are symmetrically arranged on both sides of the inner upper part of the polishing device body through a support, and the two The rollers are connected by a transmission hinge. The bottom of the transmission hinge is sleeved with a sliding sleeve through a support rod, and the sliding sleeve is slidably sleeved on the screw rod fixed above the interior of the polishing device body. The bottom of the sliding sleeve A knife seat is sleeved through the support rod, a turntable is symmetrically arranged on the inner two side walls of the polishing device body and below the knife seat, and a wooden board holder is fixed on one outer wall of the turntable by a fixing nut. The center of the inner bottom of the polishing device body is provided with a motor, and the bottom of the motor is connected with a grinding head through a rotating shaft, and a bracket is fixed on the bottom of the polishing device body. Although the prior art can clean the debris and burrs left after polishing, the grinding head and the knife seat are located at different heights, and the wood needs to be manually placed in different places to facilitate machine operation, which is still not smart and convenient, and the grinding head is not enough. Fixed connection with the motor, when the grinding head needs to be replaced or repaired, it needs to be disassembled from the motor by mechanical tools, which is inconvenient.
实用新型内容Utility model content
鉴于以上所述现有技术的缺点,本实用新型的目的在于提供一种木材加工的抛光设备,将木材的抛光设备和碎屑清理设备融合在一个平面上,在抛光结束后可立即进行清理碎屑,提高工作效率,并且将打磨头与机械臂可拆卸式连接,便于更换和维修打磨头。In view of the shortcomings of the above-mentioned prior art, the purpose of the present invention is to provide a polishing equipment for wood processing, which integrates the polishing equipment for wood and the debris cleaning device on a plane, and can immediately clean up debris after polishing is completed. The grinding head and the mechanical arm are detachably connected to facilitate the replacement and maintenance of the grinding head.
为实现上述目的及其他相关目的,本实用新型提供一种木材加工的抛光设备,所述抛光设备包括操作面板,操作面板上设置有机械臂、清洁装置及夹持装置,操作面板的底部设置有收集箱,所述机械臂连接有打磨头,所述清洁装置位于夹持装置的一侧,由传送带和弧形刷组成,弧形刷设置有连接杆,所述连接杆与传送带传动连接,所述夹持装置由四个夹持件组成,四个夹持件形成一个矩形;In order to achieve the above purpose and other related purposes, the present invention provides a wood processing polishing equipment, the polishing equipment includes an operation panel, the operation panel is provided with a mechanical arm, a cleaning device and a clamping device, and the bottom of the operation panel is provided with a The collection box, the mechanical arm is connected with a grinding head, the cleaning device is located on one side of the clamping device, and is composed of a conveyor belt and an arc brush. The clamping device is composed of four clamping parts, and the four clamping parts form a rectangle;
优选的,其中两个夹持件的推杆高度大于另外两个夹持件的推杆高度。Preferably, the heights of the push rods of the two clamping members are greater than the heights of the push rods of the other two clamping members.
于本实用新型的一实施例中,所述机械臂的底部设置有连接管套,连接管套设置有内螺纹,所述打磨头的顶部设置有外螺纹。In an embodiment of the present invention, the bottom of the mechanical arm is provided with a connecting pipe sleeve, the connecting pipe sleeve is provided with an internal thread, and the top of the grinding head is provided with an external thread.
于本实用新型的一实施例中,所述夹持件由滑槽和推杆组成,所述推杆设置在滑槽内,沿滑槽的长度方向滑动。In an embodiment of the present invention, the clamping member is composed of a chute and a push rod, and the push rod is arranged in the chute and slides along the length direction of the chute.
于本实用新型的一实施例中,所述收集箱设置有开口,所述开口位于传送带的一端部。In an embodiment of the present invention, the collection box is provided with an opening, and the opening is located at one end of the conveyor belt.
于本实用新型的一实施例中,所述弧形刷设置有软体刷头,软体刷头分布于弧形刷的下表面。In an embodiment of the present invention, the arc brush is provided with a soft brush head, and the soft brush head is distributed on the lower surface of the arc brush.
于本实用新型的一实施例中,所述机械臂还包括控制器,所述控制器通过控制各个臂部的运动从而控制所述打磨头的运动轨迹。In an embodiment of the present invention, the mechanical arm further includes a controller, and the controller controls the movement track of the grinding head by controlling the movement of each arm.
如上所述,本实用新型具有以下有益效果:As mentioned above, the utility model has the following beneficial effects:
本实用新型将机械臂和清洁装置均设置在操作面板上,机械臂对木材进行抛光,产生的碎屑和毛剌由传送带带动弧形刷清理,直接将碎屑扫入收集箱内,实现抛光、去除碎屑一体化操作,更加方便智能,节省了人力。In the utility model, both the mechanical arm and the cleaning device are arranged on the operation panel, the mechanical arm polishes the wood, the generated debris and bristles are cleaned by the arc brush driven by the conveyor belt, and the debris is directly swept into the collection box to realize polishing , Integrated operation of removing debris, more convenient and intelligent, saving manpower.
附图说明Description of drawings
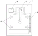
图1显示为本实用新型的整体结构示意图。FIG. 1 shows a schematic diagram of the overall structure of the present invention.
图2显示为本实用新型的俯视图。FIG. 2 shows a top view of the present invention.
图3显示为打磨头的结构示意图。FIG. 3 shows a schematic diagram of the structure of the grinding head.
图4显示为弧形刷的结构示意图。Figure 4 shows a schematic diagram of the structure of the arc brush.
元件标号说明Component label description
1-操作面板;2-机械臂;3-清洁装置;4-控制器;5-收集箱;6-打磨头;7-传送带;8-弧形刷;9-连接杆;10-夹持件;11-连接管套;12-外螺纹;13-滑槽;14-推杆;15-开口;16-软体刷头。1- operation panel; 2- mechanical arm; 3- cleaning device; 4- controller; 5- collection box; 6- grinding head; 7- conveyor belt; 8- arc brush; 9- connecting rod; 10- clamping piece ; 11-connecting sleeve; 12-external thread; 13-chute; 14-push rod; 15-opening; 16-soft brush head.
具体实施方式Detailed ways
以下由特定的具体实施例说明本实用新型的实施方式,熟悉此技术的人士可由本说明书所揭露的内容轻易地了解本实用新型的其他优点及功效。The embodiments of the present invention are described below by specific embodiments, and those who are familiar with the technology can easily understand other advantages and effects of the present invention from the contents disclosed in this specification.
请参阅图1、图2,本实用新型提供一种木材加工的抛光设备,所述抛光设备包括操作面板1,操作面板1上设置有机械臂2、清洁装置3及夹持装置,操作面板1的底部设置有收集箱5,所述机械臂2连接有打磨头6,所述清洁装置3位于夹持装置的一侧,由传送带7和弧形刷8组成,弧形刷8设置有连接杆9,所述连接杆9与传送带7传动连接,所述夹持装置由四个夹持件10组成,四个夹持件10形成一个矩形。Please refer to FIG. 1 and FIG. 2 , the present invention provides a polishing equipment for wood processing. The polishing equipment includes an operation panel 1 . The operation panel 1 is provided with a
具体的,其中两个夹持件10的推杆高度大于另外两个夹持件10的推杆高度,不同高度的推杆14更利于将木材固定。Specifically, the height of the push rods of the two
请参阅图3,基于以上实施例,所述机械臂2的底部设置有连接管套11,连接管套11设置有内螺纹,所述打磨头6的顶部设置有外螺纹12;Please refer to FIG. 3 , based on the above embodiment, the bottom of the
本实施例中,打磨头6与机械臂2之间采用螺纹连接,可快速拆卸,便于更换和维修。In this embodiment, a threaded connection is adopted between the
基于以上实施例,所述夹持件10由滑槽13和推杆14组成,所述推杆14设置在滑槽13内,沿滑槽13的长度方向滑动;四个夹持件10可以将待抛光的木材卡紧。Based on the above embodiment, the
基于以上实施例,所述收集箱5设置有开口15,所述开口15位于传送带7的一端部。Based on the above embodiment, the collection box 5 is provided with an opening 15 located at one end of the conveyor belt 7 .
请参阅图4,基于以上实施例,所述弧形刷8设置有软体刷头16,软体刷头16分布于弧形刷8的下表面,软体刷头可采用软性橡胶等材料。Referring to FIG. 4 , based on the above embodiment, the arc-
基于以上实施例,所述机械臂还包括控制器4,所述控制器4通过控制各个臂部的运动从而控制所述打磨头6的运动轨迹。Based on the above embodiment, the robotic arm further includes a controller 4, and the controller 4 controls the movement trajectory of the grinding
工作过程:首先,将木材平铺在操作面板1上,滑动四个夹持件10将木材固定住,再启动控制器4,由控制器4带动机械臂对木材进行抛光,抛光结束后将打磨头6挪开,由传送带7带动弧形刷8将木材上的碎屑推向开口15处,碎屑落入收集箱5内,清理结束后取出木材。Working process: First, lay the wood on the operation panel 1, slide the four
综上所述,本实用新型不仅能够在抛光结束后将碎屑清理干净,还能将碎屑集中投入收集箱5中,使工作环境干净整洁。所以,本实用新型有效克服了现有技术中的种种缺点而具高度产业利用价值。To sum up, the utility model can not only clean up the debris after polishing, but also put the debris into the collection box 5 in a concentrated manner, so that the working environment is clean and tidy. Therefore, the utility model effectively overcomes various shortcomings in the prior art and has high industrial utilization value.
上述实施例仅例示性说明本实用新型的原理及其功效,而非用于限制本实用新型。任何熟悉此技术的人士皆可在不违背本实用新型的精神及范畴下,对上述实施例进行修饰或改变。因此,举凡所属技术领域中具有通常知识者在未脱离本实用新型所揭示的精神与技术思想下所完成的一切等效修饰或改变,仍应由本实用新型的权利要求所涵盖。The above-mentioned embodiments merely illustrate the principles and effects of the present invention, but are not intended to limit the present invention. Anyone skilled in the art can modify or change the above embodiments without departing from the spirit and scope of the present invention. Therefore, all equivalent modifications or changes made by those with ordinary knowledge in the technical field without departing from the spirit and technical idea disclosed by the present invention should still be covered by the claims of the present invention.
Claims (6)
Priority Applications (1)
| Application Number | Priority Date | Filing Date | Title |
|---|---|---|---|
| CN201921888293.6U CN211841462U (en) | 2019-11-05 | 2019-11-05 | Wood working's polishing equipment |
Applications Claiming Priority (1)
| Application Number | Priority Date | Filing Date | Title |
|---|---|---|---|
| CN201921888293.6U CN211841462U (en) | 2019-11-05 | 2019-11-05 | Wood working's polishing equipment |
Publications (1)
| Publication Number | Publication Date |
|---|---|
| CN211841462U true CN211841462U (en) | 2020-11-03 |
Family
ID=73218340
Family Applications (1)
| Application Number | Title | Priority Date | Filing Date |
|---|---|---|---|
| CN201921888293.6U Expired - Fee Related CN211841462U (en) | 2019-11-05 | 2019-11-05 | Wood working's polishing equipment |
Country Status (1)
| Country | Link |
|---|---|
| CN (1) | CN211841462U (en) |
Cited By (3)
| Publication number | Priority date | Publication date | Assignee | Title |
|---|---|---|---|---|
| CN112484448A (en) * | 2020-11-18 | 2021-03-12 | 李建虎 | Bamboo wood processing device |
| CN113109267A (en) * | 2021-05-08 | 2021-07-13 | 四川大学 | High-precision detachable surface polisher based on sensing interconnection |
| CN113752152A (en) * | 2021-08-31 | 2021-12-07 | 成都南骄科技有限公司 | Waveguide antenna panel burnishing device |
-
2019
- 2019-11-05 CN CN201921888293.6U patent/CN211841462U/en not_active Expired - Fee Related
Cited By (4)
| Publication number | Priority date | Publication date | Assignee | Title |
|---|---|---|---|---|
| CN112484448A (en) * | 2020-11-18 | 2021-03-12 | 李建虎 | Bamboo wood processing device |
| CN113109267A (en) * | 2021-05-08 | 2021-07-13 | 四川大学 | High-precision detachable surface polisher based on sensing interconnection |
| CN113752152A (en) * | 2021-08-31 | 2021-12-07 | 成都南骄科技有限公司 | Waveguide antenna panel burnishing device |
| CN113752152B (en) * | 2021-08-31 | 2022-07-15 | 成都南骄科技有限公司 | Waveguide antenna panel burnishing device |
Similar Documents
| Publication | Publication Date | Title |
|---|---|---|
| CN210388666U (en) | A kind of grinding device for automobile parts processing | |
| CN211841462U (en) | Wood working's polishing equipment | |
| CN111644940B (en) | Processing production line of plank | |
| CN209335328U (en) | A kind of efficient grinding device of mold production | |
| CN209189322U (en) | Outer surface cleaning device is used in a kind of processing of mold | |
| CN215147439U (en) | Cylindrical grinder with garbage collection structure | |
| CN212071528U (en) | Burnishing device for parts machining | |
| CN215318007U (en) | Efficiency of grind is improved grinder for jewelry processing | |
| CN219967419U (en) | Trimming device for plastic products | |
| CN116900880B (en) | A polishing device for welded mesh processing | |
| CN220162118U (en) | Polishing device for petroleum drill pipe joint | |
| CN215547369U (en) | Deburring device for building template production | |
| CN211029366U (en) | Polishing device for furniture processing | |
| CN208945801U (en) | A kind of ceramic tile production trimming burnishing device | |
| CN222037810U (en) | Automatic jet polishing machine for drill bits | |
| CN220993936U (en) | A protective cover for a grinding machine | |
| CN218487991U (en) | Water-jug injection moulding processing bottleneck grinding device | |
| CN220217949U (en) | High-elasticity polishing device capable of uniformly polishing | |
| CN219901758U (en) | Dust type sand throwing machine | |
| CN222891001U (en) | A burr cleaning device for injection molded parts | |
| CN218136839U (en) | Shaving board polisher convenient to clearance | |
| CN222327581U (en) | Building material surface equipment of polishing | |
| CN221364171U (en) | Surface layer polishing device | |
| CN222903423U (en) | Oil and gas pipeline surface grinding device | |
| CN220051213U (en) | Processing device for mantle fiber machine accessory |
Legal Events
| Date | Code | Title | Description |
|---|---|---|---|
| GR01 | Patent grant | ||
| GR01 | Patent grant | ||
| CF01 | Termination of patent right due to non-payment of annual fee | ||
| CF01 | Termination of patent right due to non-payment of annual fee |
Granted publication date: 20201103 |
