CN211832728U - Fountain brush apple cleaning machine - Google Patents
Fountain brush apple cleaning machine Download PDFInfo
- Publication number
- CN211832728U CN211832728U CN201922445662.0U CN201922445662U CN211832728U CN 211832728 U CN211832728 U CN 211832728U CN 201922445662 U CN201922445662 U CN 201922445662U CN 211832728 U CN211832728 U CN 211832728U
- Authority
- CN
- China
- Prior art keywords
- spray
- left end
- brush
- pipe
- water
- Prior art date
- Legal status (The legal status is an assumption and is not a legal conclusion. Google has not performed a legal analysis and makes no representation as to the accuracy of the status listed.)
- Expired - Fee Related
Links
- 238000004140 cleaning Methods 0.000 title claims abstract description 64
- 239000007921 spray Substances 0.000 claims abstract description 60
- 241000220225 Malus Species 0.000 claims abstract description 40
- 235000021016 apples Nutrition 0.000 claims abstract description 19
- 239000007788 liquid Substances 0.000 claims abstract description 15
- 239000002184 metal Substances 0.000 claims abstract description 13
- XLYOFNOQVPJJNP-UHFFFAOYSA-N water Substances O XLYOFNOQVPJJNP-UHFFFAOYSA-N 0.000 claims description 81
- 238000003860 storage Methods 0.000 claims description 6
- 238000005507 spraying Methods 0.000 claims description 3
- 235000012055 fruits and vegetables Nutrition 0.000 abstract description 16
- 238000000034 method Methods 0.000 description 3
- 230000003749 cleanliness Effects 0.000 description 2
- 238000004519 manufacturing process Methods 0.000 description 2
- 239000008399 tap water Substances 0.000 description 2
- 235000020679 tap water Nutrition 0.000 description 2
- 230000007547 defect Effects 0.000 description 1
- 238000007599 discharging Methods 0.000 description 1
- 235000013399 edible fruits Nutrition 0.000 description 1
- 238000011086 high cleaning Methods 0.000 description 1
- 238000012986 modification Methods 0.000 description 1
- 230000004048 modification Effects 0.000 description 1
- 230000001681 protective effect Effects 0.000 description 1
Images
Landscapes
- Cleaning By Liquid Or Steam (AREA)
- Cleaning In General (AREA)
- Apparatuses For Bulk Treatment Of Fruits And Vegetables And Apparatuses For Preparing Feeds (AREA)
Abstract
本实用新型公开了一种喷淋式毛刷苹果清洗机,包括中空的清洗池(15);清洗池(15)的左端顶部开口安装有向下倾斜布置的、中空的进料仓(1);进料仓的右端低于左端;进料仓的左端开口,用于放入苹果;进料仓的右端开口与向下倾斜布置的毛刷辊组的左端入口相连;毛刷辊组的右端出口,与第一金属网带输送机(6)的左端顶部相连;第一金属网带输送机(6)的右端横向贯穿清洗池(15)的右侧壁后,位于中空的收纳箱(8)的顶部开口正上方;毛刷辊组的正上方,设置有多个喷头(5);喷头与喷淋设备相连。本实用新型能够通过液体喷淋和毛刷机械接触的方式有效结合,有效对苹果等果蔬进行清洗,去除苹果等果蔬表面的污物,达到洁净的状态。
The utility model discloses a spray-type brush apple cleaning machine, which comprises a hollow cleaning pool (15); a hollow feed bin (1) arranged obliquely downward is installed at the top opening of the left end of the cleaning pool (15). ; The right end of the feeding bin is lower than the left end; the left end of the feeding bin is open for placing apples; the right end opening of the feeding bin is connected to the left end inlet of the downwardly inclined brush roller group; the right end of the brush roller group The outlet is connected to the top of the left end of the first metal mesh belt conveyor (6); ) is just above the top opening of the ); just above the brush roller group, a plurality of spray heads (5) are arranged; the spray heads are connected with the spray equipment. The utility model can effectively combine the liquid spray and the mechanical contact of the brush to effectively clean the apples and other fruits and vegetables, remove the dirt on the surfaces of the apples and other fruits and vegetables, and achieve a clean state.
Description
技术领域technical field
本实用新型涉及果蔬深加工预处理技术领域,特别是涉及一种喷淋式毛刷苹果清洗机。The utility model relates to the technical field of fruit and vegetable deep processing pretreatment, in particular to a spray type brush apple cleaning machine.
背景技术Background technique
目前,果蔬深加工前需要清洗,以便后续作业的顺利进行,在对果蔬分级后,可以采用人工或自动清洗设备进行。At present, fruits and vegetables need to be cleaned before deep processing, so that the subsequent operations can be carried out smoothly. After the fruits and vegetables are graded, manual or automatic cleaning equipment can be used.
但是,人工清洗果蔬的劳动强度大,果蔬的洗净度不一致。However, manual cleaning of fruits and vegetables is labor-intensive, and the cleaning degree of fruits and vegetables is inconsistent.
因此,目前迫切需要开发出一种设备,能够有效对苹果等果蔬进行清洗,去除苹果等果蔬表面的污物,达到洁净的状态。Therefore, there is an urgent need to develop a device that can effectively clean apples and other fruits and vegetables, remove the dirt on the surfaces of apples and other fruits and vegetables, and achieve a clean state.
实用新型内容Utility model content
本实用新型的目的是针对现有技术存在的技术缺陷,提供一种喷淋式毛刷苹果清洗机。The purpose of the utility model is to provide a spray type brush apple cleaning machine for the technical defects existing in the prior art.
为此,本实用新型提供了一种喷淋式毛刷苹果清洗机,其特征在于,包括中空的清洗池;To this end, the utility model provides a spray-type brush apple cleaning machine, which is characterized in that it includes a hollow cleaning pool;
清洗池的左端顶部开口安装有向下倾斜布置的、中空的进料仓;The top opening of the left end of the cleaning tank is installed with a downwardly inclined, hollow feed bin;
进料仓的右端低于左端;The right end of the feed bin is lower than the left end;
进料仓的左端开口,用于放入苹果;The left end of the feeding bin is open for placing apples;
进料仓的右端开口与向下倾斜布置的毛刷辊组的左端入口相连;The right end opening of the feeding bin is connected to the left end inlet of the downwardly inclined brush roller group;
毛刷辊组的右端出口,与第一金属网带输送机的左端顶部相连;The outlet of the right end of the brush roller group is connected to the top of the left end of the first metal mesh belt conveyor;
第一金属网带输送机的右端横向贯穿清洗池的右侧壁后,位于中空的收纳箱的顶部开口正上方;After the right end of the first metal mesh belt conveyor transversely penetrates the right side wall of the cleaning tank, it is located just above the top opening of the hollow storage box;
毛刷辊组的正上方,设置有多个喷头;Just above the brush roller group, there are multiple nozzles;
喷头与喷淋设备相连,喷淋设备用于为喷头提供喷淋所需的水。The sprinkler head is connected with the sprinkler equipment, and the sprinkler equipment is used to provide the sprinkler head with the water required for spraying.
其中,喷淋设备包括循环水管;Among them, the spray equipment includes a circulating water pipe;
循环水管的右端入口,插入到清洗池内侧下部;The right end inlet of the circulating water pipe is inserted into the lower part of the inner side of the cleaning tank;
循环水管的左端出口,与电动循环水阀组的右端相连;The outlet of the left end of the circulating water pipe is connected to the right end of the electric circulating water valve group;
电动循环水阀组的左端,与水泵右侧的进水口相连;The left end of the electric circulating water valve group is connected to the water inlet on the right side of the pump;
水泵顶部的出水口,与连接管的左侧下端相连;The water outlet at the top of the pump is connected to the lower left end of the connecting pipe;
连接管的右端,与横向布置的喷淋管的左端相连;The right end of the connecting pipe is connected to the left end of the horizontally arranged spray pipe;
喷淋管的底部,等间隔设置有多个喷头;The bottom of the spray pipe is provided with a plurality of spray heads at equal intervals;
每个喷头的入水口与喷淋管相连通。The water inlet of each sprinkler is communicated with the sprinkler pipe.
其中,对于喷淋设备,电动循环水阀组与水泵之间的连接管道,还与一个电动进水阀组的下端相连;Among them, for the spray equipment, the connecting pipeline between the electric circulating water valve group and the water pump is also connected to the lower end of an electric water inlet valve group;
电动进水阀组的顶部为清洁的清洗水入口,电动进水阀组顶部与外部的供水管道相连。The top of the electric water inlet valve group is a clean cleaning water inlet, and the top of the electric water inlet valve group is connected to the external water supply pipeline.
其中,对于喷淋设备,还包括液位变送器;Among them, for spray equipment, it also includes liquid level transmitter;
液位变送器与清洗池内侧相连,并且置于清洗池内循环水管的正上方。The liquid level transmitter is connected to the inner side of the cleaning tank and placed just above the circulating water pipe in the cleaning tank.
其中,清洗池右侧底部,还与电动排水阀组相连。Among them, the bottom of the right side of the cleaning pool is also connected to the electric drain valve group.
其中,毛刷辊组包括上下对称分布的多个上部毛刷辊和多个下部毛刷辊;Wherein, the brush roller group includes a plurality of upper brush rollers and a plurality of lower brush rollers that are symmetrically distributed up and down;
由多个上部毛刷辊组成的上部辊组和由多个下部毛刷辊组成的下部辊组,相互平行,且具有预留的间隙通道。The upper roller group consisting of multiple upper brush rollers and the lower roller group consisting of multiple lower brush rollers are parallel to each other and have reserved gap channels.
其中,喷淋管和喷头位于上部毛刷辊的正上方。Among them, the spray pipe and the spray head are located just above the upper brush roller.
由以上本实用新型提供的技术方案可见,与现有技术相比较,本实用新型提供了一种喷淋式毛刷苹果清洗机,其能够通过液体喷淋和毛刷机械接触的方式有效结合,有效对苹果等果蔬进行清洗,去除苹果等果蔬表面的污物,达到洁净的状态,具有重大的生产实践意义。It can be seen from the technical solutions provided by the present utility model that, compared with the prior art, the present utility model provides a spray-type brush apple cleaning machine, which can be effectively combined by means of liquid spray and mechanical contact with the brush, Effectively cleaning apples and other fruits and vegetables, removing the dirt on the surface of apples and other fruits and vegetables, and achieving a clean state, has great practical significance in production.
附图说明Description of drawings
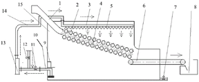
图1为本实用新型提供的一种喷淋式毛刷苹果清洗机的结构示意图;Fig. 1 is the structural representation of a kind of spray type brush apple cleaning machine provided by the utility model;
1为进料仓、2为上部毛刷辊、3为喷淋管、4为下部毛刷辊、5为喷头;1 is the feeding bin, 2 is the upper brush roller, 3 is the spray pipe, 4 is the lower brush roller, and 5 is the nozzle;
6为第一金属网带输送机、7为电动排水阀组、8为收纳箱、9为液位变送器、10为循环水管;6 is the first metal mesh belt conveyor, 7 is the electric drain valve group, 8 is the storage box, 9 is the liquid level transmitter, and 10 is the circulating water pipe;
11为电动循环水阀组、12为电动进水阀组、13为水泵、14为连接管、15为清洗池;11 is the electric circulating water valve group, 12 is the electric water inlet valve group, 13 is the water pump, 14 is the connecting pipe, and 15 is the cleaning pool;
具体实施方式Detailed ways
为了使本技术领域的人员更好地理解本实用新型方案,下面结合附图和实施方式对本实用新型作进一步的详细说明。In order to make those skilled in the art better understand the solution of the present invention, the present invention will be further described in detail below with reference to the accompanying drawings and embodiments.
参见图1,本实用新型提供了一种喷淋式毛刷苹果清洗机,具体用于通过喷淋清洗和毛刷清洗的方式完成对苹果的清洗操作,具体包括中空的清洗池15;Referring to FIG. 1, the present invention provides a spray-type brush apple cleaning machine, which is specifically used to complete the cleaning operation of apples by spray cleaning and brush cleaning, and specifically includes a
清洗池15的左端顶部开口安装有向下倾斜布置的、中空的进料仓1;The top opening of the left end of the
进料仓1的右端低于左端;The right end of the
进料仓1的左端开口,用于放入苹果;The left end of the
进料仓1的右端开口与向下倾斜布置的毛刷辊组的左端入口相连;The right end opening of the
毛刷辊组的右端出口,与第一金属网带输送机6的左端顶部相连;The outlet of the right end of the brush roller group is connected to the top of the left end of the first metal
第一金属网带输送机6的右端横向贯穿清洗池15的右侧壁后,位于中空的收纳箱8的顶部开口正上方;After the right end of the first metal
毛刷辊组的正上方,设置有多个喷头5;A plurality of
喷头5与喷淋设备相连,喷淋设备用于为喷头5提供喷淋所需的水。The
在本实用新型中,具体实现上,喷淋设备包括循环水管10;In the present invention, in terms of specific implementation, the spray equipment includes a circulating
循环水管10的右端入口,插入到清洗池15内侧下部(其上可以安装过滤网);The right end inlet of the circulating
循环水管10的左端出口,与电动循环水阀组11的右端相连;The left end outlet of the circulating
电动循环水阀组11的左端,与水泵13右侧的进水口相连;The left end of the electric circulating water valve group 11 is connected to the water inlet on the right side of the
水泵13顶部的出水口,与连接管14的左侧下端相连;The water outlet at the top of the
连接管14的右端,与横向布置的喷淋管3的左端相连;The right end of the connecting
喷淋管3的底部,等间隔设置有多个喷头5;The bottom of the
每个喷头5的入水口与喷淋管3相连通,The water inlet of each
具体实现上,对于喷淋设备,电动循环水阀组11与水泵13之间的连接管道,还与一个电动进水阀组12的下端相连;In terms of specific implementation, for the spray equipment, the connecting pipeline between the electric circulating water valve group 11 and the
电动进水阀组12的顶部为清洁的清洗水入口,电动进水阀组12顶部与外部的供水管道(例如自来水管道)相连。The top of the electric water inlet valve group 12 is a clean cleaning water inlet, and the top of the electric water inlet valve group 12 is connected to an external water supply pipe (eg, a tap water pipe).
具体实现上,对于喷淋设备,还包括液位变送器9;In terms of specific implementation, for the spray equipment, a liquid level transmitter 9 is also included;
液位变送器9与清洗池15内侧相连,并且置于清洗池15内循环水管10的正上方。The liquid level transmitter 9 is connected to the inner side of the
具体实现上,清洗池15右侧底部,还与电动排水阀组7相连。In terms of specific implementation, the bottom of the right side of the
具体实现上,毛刷辊组包括上下对称分布(具体为轴对称分布)的多个上部毛刷辊2和多个下部毛刷辊4;In terms of specific implementation, the brush roller set includes a plurality of
由多个上部毛刷辊2组成的上部辊组和由多个下部毛刷辊4组成的下部辊组,相互平行,且具有预留的间隙通道,该预留的间隙通道的尺寸大小,大于需要清洗的水果(如苹果)的预设最大尺寸。The upper roller group consisting of a plurality of
需要说明的是,每个上部毛刷辊逆时针旋转,每个下部毛刷辊顺时针旋转,具体可以由外部的电机驱动,具体的驱动结构为现有公知的技术,在此不再赘述。It should be noted that each upper brush roller rotates counterclockwise, and each lower brush roller rotates clockwise, which can be driven by an external motor.
具体实现上,喷淋管3和喷头5位于上部毛刷辊2的正上方。Specifically, the
需要说明的是,清洗池15为中空的壳体,其上下两端以及四周具有保护壳。It should be noted that the
由以上技术方案可知,本实用新型提供的一种喷淋式毛刷苹果清洗机,包括进料仓1、上部毛刷辊2、喷淋管3、下部毛刷辊4、喷头5、第一金属网带输送机6、电动排水阀组7、收纳箱8、液位变送器9、循环水管10、电动循环水阀组11、电动进水阀组12、水泵13、连接管14和清洗池15等多个部件。It can be seen from the above technical solutions that a spray type brush apple cleaning machine provided by the utility model includes a
对于本实用新型提供的一种喷淋式毛刷苹果清洗机,其工作过程如下:For a spray type brush apple cleaning machine provided by the utility model, its working process is as follows:
苹果通过人工放置到进料仓1的左侧入口处,苹果沿进料仓斜向下滚落至上部毛刷辊2和下部毛刷辊4左侧之间的通道中,由于上部毛刷辊2逆时针旋转,下部毛刷辊4顺时针旋转,苹果在上毛刷滚和下毛刷辊的共同作用下,沿上下毛刷滚之间的通道滚动,与此同时清洁的自来水从电动进水阀组12的上部入口经电磁阀通过下部出口进入到电动循环水阀组11的管道内,经水泵13的入口进入水泵13内,由水泵13的出口进入连接管14中,经喷淋管3进入到喷头5内,水在泵压的作用和喷头的共同作用下,变成雾状水滴,喷淋在正下方的上部毛刷辊2上,苹果表面在上部毛刷辊2和下部毛刷辊4的毛刷与喷淋水共同作用下,进行机械接触式清洗和喷淋清洗。清洗后的苹果经上部毛刷辊2和下部毛刷辊4的左右侧末端,进入到第一金属网带输送机6的左端金属网带上,输送至第一金属网带输送机6的右端后,滑落到收纳箱8内进行收集,获取完成清洗的苹果。The apples are manually placed at the left entrance of the
其中,清洗苹果后的水经循环水管10底部入口过滤后,由其出口进入到电动循环水阀组11的入口后,再由其出口进入到水泵13的入口,完成一次由洁净自来水到过滤后的喷淋水的循环。清洗池内15的水位高度可以通过液位变送器9控制电动排水阀组7的电磁阀启动和关闭,达到排出多余水的目的,以便保证清洗池15的液位高度,防止液位过高,以免第一金属网带输送机6的网带粘连没有过滤的喷淋水,保证苹果表面的洁净度。Among them, the water after cleaning the apples is filtered through the bottom inlet of the circulating
需要说明的是,果蔬深加工前需要清洗,以便后续作业的顺利进行,在对果蔬分级后,可以采用本实用新型提供的清洗机进行清洗,可以有效提高生产率、降低劳动强度,并能节约用水、减少机械损伤。It should be noted that the fruits and vegetables need to be cleaned before deep processing, so that the subsequent operations can be carried out smoothly. After the fruits and vegetables are graded, the cleaning machine provided by the utility model can be used for cleaning, which can effectively improve productivity, reduce labor intensity, and save water, Reduce mechanical damage.
对于本实用新型的清洗机,通过液体喷淋和毛刷机械接触的方式,能够有效结合去除苹果表面的污物,达到洁净状态。该清洁方式具有清洗洁净度高,无机械损伤和节水的特点,而且对于块状的果蔬具有良好的通用性。For the cleaning machine of the utility model, the liquid spray and the mechanical contact of the brush can effectively combine and remove the dirt on the surface of the apple to achieve a clean state. The cleaning method has the characteristics of high cleaning cleanliness, no mechanical damage and water saving, and has good versatility for block fruits and vegetables.
综上所述,与现有技术相比较,本实用新型提供的一种喷淋式毛刷苹果清洗机,其能够通过液体喷淋和毛刷机械接触的方式有效结合,有效对苹果等果蔬进行清洗,去除苹果等果蔬表面的污物,达到洁净的状态,具有重大的生产实践意义。To sum up, compared with the prior art, the utility model provides a spray-type brush apple cleaning machine, which can effectively combine the liquid spray and the mechanical contact of the brush to effectively clean apples and other fruits and vegetables. Cleaning and removing the dirt on the surface of apples and other fruits and vegetables to achieve a clean state has great practical significance in production.
以上所述仅是本实用新型的优选实施方式,应当指出,对于本技术领域的普通技术人员来说,在不脱离本实用新型原理的前提下,还可以做出若干改进和润饰,这些改进和润饰也应视为本实用新型的保护范围。The above are only the preferred embodiments of the present invention. It should be pointed out that for those skilled in the art, without departing from the principles of the present invention, several improvements and modifications can be made. These improvements and Retouching should also be regarded as the protection scope of the present invention.
Claims (7)
Priority Applications (1)
| Application Number | Priority Date | Filing Date | Title |
|---|---|---|---|
| CN201922445662.0U CN211832728U (en) | 2019-12-30 | 2019-12-30 | Fountain brush apple cleaning machine |
Applications Claiming Priority (1)
| Application Number | Priority Date | Filing Date | Title |
|---|---|---|---|
| CN201922445662.0U CN211832728U (en) | 2019-12-30 | 2019-12-30 | Fountain brush apple cleaning machine |
Publications (1)
| Publication Number | Publication Date |
|---|---|
| CN211832728U true CN211832728U (en) | 2020-11-03 |
Family
ID=73209081
Family Applications (1)
| Application Number | Title | Priority Date | Filing Date |
|---|---|---|---|
| CN201922445662.0U Expired - Fee Related CN211832728U (en) | 2019-12-30 | 2019-12-30 | Fountain brush apple cleaning machine |
Country Status (1)
| Country | Link |
|---|---|
| CN (1) | CN211832728U (en) |
Cited By (1)
| Publication number | Priority date | Publication date | Assignee | Title |
|---|---|---|---|---|
| CN111011890A (en) * | 2019-12-30 | 2020-04-17 | 天津科技大学 | Fountain brush apple cleaning machine |
-
2019
- 2019-12-30 CN CN201922445662.0U patent/CN211832728U/en not_active Expired - Fee Related
Cited By (1)
| Publication number | Priority date | Publication date | Assignee | Title |
|---|---|---|---|---|
| CN111011890A (en) * | 2019-12-30 | 2020-04-17 | 天津科技大学 | Fountain brush apple cleaning machine |
Similar Documents
| Publication | Publication Date | Title |
|---|---|---|
| CN209226056U (en) | An automatic cleaning device for scraping coal slag impurities at the tail of a coal mine belt conveyor | |
| CN204015030U (en) | A kind of novel Chinese yam is cleaned peeling equipment | |
| CN205358146U (en) | Potato cleaning device | |
| CN104368552A (en) | Strip steel cleaning machine | |
| CN105921433B (en) | Pass through formula cleaning device and its cleaning method | |
| CN206316067U (en) | A kind of tealeaves cleaning machine | |
| CN205455912U (en) | Novel vegetable washing machine | |
| CN111067050A (en) | Complete equipment for processing dried apples | |
| CN211832728U (en) | Fountain brush apple cleaning machine | |
| CN105495646A (en) | Brushing-spraying type cleaning machine | |
| CN103689755A (en) | Automatic red date cleaning system | |
| CN204445562U (en) | One washes dish device continuously | |
| CN204018309U (en) | With the aloe washing machine of automatic pollutant removal | |
| CN111011890A (en) | Fountain brush apple cleaning machine | |
| CN204861058U (en) | Novel carrot is washd device | |
| CN207252744U (en) | A kind of wash vegetables dehydration combined machine suitable for vegetables production | |
| CN201171349Y (en) | Walnut washing machine | |
| CN209403434U (en) | Shrimp Washing Equipment | |
| CN213819764U (en) | Olive belt cleaning device | |
| CN220812629U (en) | Hardware deoiling and cleaning equipment | |
| CN211832709U (en) | Complete equipment for processing dried apples | |
| CN107363000A (en) | A kind of metallic plate cleaning device | |
| CN216827610U (en) | Nut processing cleaning treatment device | |
| CN205685131U (en) | A kind of cleaning device for copper strip | |
| CN205217449U (en) | A belt cleaning device for honeysuckle |
Legal Events
| Date | Code | Title | Description |
|---|---|---|---|
| GR01 | Patent grant | ||
| GR01 | Patent grant | ||
| CF01 | Termination of patent right due to non-payment of annual fee | ||
| CF01 | Termination of patent right due to non-payment of annual fee |
Granted publication date: 20201103 Termination date: 20211230 |
