CN211812233U - 一种多角度可调节金属废料抓取装置 - Google Patents
一种多角度可调节金属废料抓取装置 Download PDFInfo
- Publication number
- CN211812233U CN211812233U CN202020364397.3U CN202020364397U CN211812233U CN 211812233 U CN211812233 U CN 211812233U CN 202020364397 U CN202020364397 U CN 202020364397U CN 211812233 U CN211812233 U CN 211812233U
- Authority
- CN
- China
- Prior art keywords
- base
- rod
- plate
- angle adjustable
- screw
- Prior art date
- Legal status (The legal status is an assumption and is not a legal conclusion. Google has not performed a legal analysis and makes no representation as to the accuracy of the status listed.)
- Expired - Fee Related
Links
- 239000010814 metallic waste Substances 0.000 title claims abstract description 19
- 229910052751 metal Inorganic materials 0.000 claims description 15
- 239000002184 metal Substances 0.000 claims description 15
- 239000000463 material Substances 0.000 claims description 3
- 230000037431 insertion Effects 0.000 claims 3
- 238000003780 insertion Methods 0.000 claims 3
- 238000009434 installation Methods 0.000 abstract description 6
- 238000010586 diagram Methods 0.000 description 4
- 239000003923 scrap metal Substances 0.000 description 4
- 229910000831 Steel Inorganic materials 0.000 description 1
- 239000000956 alloy Substances 0.000 description 1
- 229910045601 alloy Inorganic materials 0.000 description 1
- 230000009286 beneficial effect Effects 0.000 description 1
- 150000002739 metals Chemical class 0.000 description 1
- 239000010959 steel Substances 0.000 description 1
- 239000002699 waste material Substances 0.000 description 1
Images
Landscapes
- Manipulator (AREA)
Abstract
本实用新型公开了一种多角度可调节金属废料抓取装置,包括底板和抓取机构;所述底板的侧边处固定安装有立柱,立柱的顶部安装有顶板,顶板的下侧设置有所述的抓取机构;抓取机构包括安装板、底座和夹块,所述安装板的底部转动安装有第二螺杆,所述底座固定安装于安装板的底部,底座与第二螺杆转动连接,且底座底部的左右两侧对称铰接安装有两个所述的夹块;所述第二螺杆位于底座的左右两侧对称设置有两种旋向相反的外螺纹,第二螺杆的左右两侧还对称螺纹连接有两个第二螺套。本实用新型通过利用第一电机和第二电机对抓取机构的位置进行多向调节,进而快速稳定地抓取金属废料。
Description
技术领域
本实用新型涉及金属废料抓取技术领域,具体是一种多角度可调节金属废料抓取装置。
背景技术
废金属是指暂时失去使用价值的金属或合金制品,一般的废金属都含有有用的金属或者有害的元素,以城市垃圾中废金属盒量为例,在近十几年里,每人每年平均计算,美国74公斤,英国29公斤,法国21公斤,日本1978年工业废金属为810万吨。
现有的金属废料压紧成块后,一般需要用吊机等方式将块体进行抓取吊起,其搬运时由于钢索在移动时会产生晃动,操作者使用不当,容易产生事故,不安全。
实用新型内容
本实用新型的目的在于提供一种多角度可调节金属废料抓取装置,以解决上述背景技术中提出的问题。
为实现上述目的,本实用新型提供如下技术方案:
一种多角度可调节金属废料抓取装置,包括底板和抓取机构;所述底板的侧边处固定安装有立柱,立柱的顶部安装有顶板,顶板的下侧设置有所述的抓取机构;抓取机构包括安装板、底座和夹块,所述安装板的底部转动安装有第二螺杆,所述底座固定安装于安装板的底部,底座与第二螺杆转动连接,且底座底部的左右两侧对称铰接安装有两个所述的夹块;所述第二螺杆位于底座的左右两侧对称设置有两种旋向相反的外螺纹,第二螺杆的左右两侧还对称螺纹连接有两个第二螺套,第二螺套的上侧与安装板滑动连接,第二螺套的下侧铰接安装有连接杆,连接杆的另一端与夹块铰接。
作为本实用新型进一步的方案:所述安装板上还固定安装有带动第二螺杆转动的第三电机。
作为本实用新型再进一步的方案:所述底座底部位于两个夹块之间均匀固定安装有若干伸缩气缸,伸缩气缸的伸缩端固定安装有真空吸盘。
作为本实用新型再进一步的方案:所述顶板通过旋转轴转动安装在立柱上,顶板的底部转动安装有第一螺杆,顶板的底部还固定安装有滑杆,所述第一螺杆上螺纹连接有第一螺套,第一螺套与滑杆滑动连接,第一螺套的底部固定安装有电动伸缩杆,电动伸缩杆的伸缩端通过连接架与抓取机构固定连接。
作为本实用新型再进一步的方案:所述立柱的外侧固定安装有带动旋转轴转动的第一电机,所述顶板的底部固定安装有带动第一螺杆转动的第二电机。
作为本实用新型再进一步的方案:所述夹块靠近被夹持物料的一侧设置有压板,压板通过若干连接件与夹块固定连接,连接件包括开设在夹块上的插槽和固定安装在插杆,插杆滑动安装于插槽中,且插杆通过连接弹簧与插槽固定连接。
与现有技术相比,本实用新型的有益效果是:本实用新型在顶板的下侧设置有的抓取机构,通过第二螺杆的转动带动两个第二螺套相向移动或背向移动,进而带动夹块转动,两个夹块相向转动时对金属废料进行夹持,带动金属废料移动,同时通过利用第一电机和第二电机对抓取机构的位置进行多向调节,进而快速稳定地抓取金属废料。
附图说明
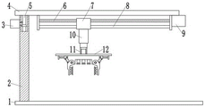
图1为多角度可调节金属废料抓取装置的结构示意图。
图2为多角度可调节金属废料抓取装置中抓取机构的结构示意图。
图3为多角度可调节金属废料抓取装置中夹块的结构示意图。
图4为多角度可调节金属废料抓取装置实施例2中抓取机构的结构示意图。
图5为图4中A处的局部放大示意图。
图中:1-底板、2-立柱、3-第一电机、4-顶板、5-旋转轴、6-第一螺杆、7-第一螺套、8-滑杆、9-第二电机、10-电动伸缩杆、11-连接架、12-抓取机构、13-安装板、14-第二螺杆、15-底座、16-第三电机、17-第二螺套、18-连接杆、19-夹块、20-伸缩气缸、21-连接件、22-插杆、23-插槽、24-连接弹簧。
具体实施方式
下面将结合本实用新型实施例中的附图,对本实用新型实施例中的技术方案进行清楚、完整地描述,显然,所描述的实施例仅仅是本实用新型一部分实施例,而不是全部的实施例。基于本实用新型中的实施例,本领域普通技术人员在没有做出创造性劳动前提下所获得的所有其他实施例,都属于本实用新型保护的范围。
实施例1
请参阅图1~3,本实用新型实施例中,一种多角度可调节金属废料抓取装置,包括底板1和抓取机构12;所述底板1的侧边处固定安装有立柱2,立柱2的顶部安装有顶板4,顶板4的下侧设置有所述的抓取机构12;
所述抓取机构12包括安装板13、底座15和夹块19,所述安装板13的底部转动安装有第二螺杆14,所述底座15固定安装于安装板13的底部,底座15与第二螺杆14转动连接,且底座15底部的左右两侧对称铰接安装有两个所述的夹块19;所述第二螺杆14位于底座15的左右两侧对称设置有两种旋向相反的外螺纹,第二螺杆14的左右两侧还对称螺纹连接有两个第二螺套17,第二螺套17的上侧与安装板13滑动连接,第二螺套17的下侧铰接安装有连接杆18,连接杆18的另一端与夹块19铰接,通过第二螺杆14的转动带动两个第二螺套17相向移动或背向移动,进而带动夹块19转动,两个夹块19相向转动时对金属废料进行夹持,带动金属废料移动;
具体的,本实施例中,所述安装板13上还固定安装有带动第二螺杆14转动的第三电机16;
所述底座15底部位于两个夹块19之间均匀固定安装有若干伸缩气缸20,伸缩气缸20的伸缩端固定安装有真空吸盘,通过伸缩气缸20带动真空吸盘贴近金属废料,对金属废料进行吸附;
所述顶板4通过旋转轴5转动安装在立柱2上,顶板4的底部转动安装有第一螺杆6,顶板4的底部还固定安装有滑杆8,所述第一螺杆6上螺纹连接有第一螺套7,第一螺套7与滑杆8滑动连接,第一螺套7的底部固定安装有电动伸缩杆10,电动伸缩杆10的伸缩端通过连接架11与抓取机构12固定连接;
具体的,本实施例中,所述立柱2的外侧固定安装有带动旋转轴5转动的第一电机3,所述顶板4的底部固定安装有带动第一螺杆6转动的第二电机9。
实施例2
请参阅图1~3,本实用新型实施例中,一种多角度可调节金属废料抓取装置,包括底板1和抓取机构12;所述底板1的侧边处固定安装有立柱2,立柱2的顶部安装有顶板4,顶板4的下侧设置有所述的抓取机构12;
所述抓取机构12包括安装板13、底座15和夹块19,所述安装板13的底部转动安装有第二螺杆14,所述底座15固定安装于安装板13的底部,底座15与第二螺杆14转动连接,且底座15底部的左右两侧对称铰接安装有两个所述的夹块19;所述第二螺杆14位于底座15的左右两侧对称设置有两种旋向相反的外螺纹,第二螺杆14的左右两侧还对称螺纹连接有两个第二螺套17,第二螺套17的上侧与安装板13滑动连接,第二螺套17的下侧铰接安装有连接杆18,连接杆18的另一端与夹块19铰接,通过第二螺杆14的转动带动两个第二螺套17相向移动或背向移动,进而带动夹块19转动,两个夹块19相向转动时对金属废料进行夹持,带动金属废料移动;
具体的,本实施例中,所述安装板13上还固定安装有带动第二螺杆14转动的第三电机16;
所述底座15底部位于两个夹块19之间均匀固定安装有若干伸缩气缸20,伸缩气缸20的伸缩端固定安装有真空吸盘,通过伸缩气缸20带动真空吸盘贴近金属废料,对金属废料进行吸附;
所述顶板4通过旋转轴5转动安装在立柱2上,顶板4的底部转动安装有第一螺杆6,顶板4的底部还固定安装有滑杆8,所述第一螺杆6上螺纹连接有第一螺套7,第一螺套7与滑杆8滑动连接,第一螺套7的底部固定安装有电动伸缩杆10,电动伸缩杆10的伸缩端通过连接架11与抓取机构12固定连接;
具体的,本实施例中,所述立柱2的外侧固定安装有带动旋转轴5转动的第一电机3,所述顶板4的底部固定安装有带动第一螺杆6转动的第二电机9。
请参阅图4和5,本实施例与实施例1的不同之处在于:
所述夹块19靠近被夹持物料的一侧设置有压板,压板通过若干连接件21与夹块19固定连接,连接件21包括开设在夹块19上的插槽23和固定安装在插杆22,插杆22滑动安装于插槽23中,且插杆22通过连接弹簧24与插槽23固定连接。
对于本领域技术人员而言,显然本实用新型不限于上述示范性实施例的细节,而且在不背离本实用新型的精神或基本特征的情况下,能够以其他的具体形式实现本实用新型。因此,无论从哪一点来看,均应将实施例看作是示范性的,而且是非限制性的,本实用新型的范围由所附权利要求而不是上述说明限定,因此旨在将落在权利要求的等同要件的含义和范围内的所有变化囊括在本实用新型内。不应将权利要求中的任何附图标记视为限制所涉及的权利要求。
此外,应当理解,虽然本说明书按照实施方式加以描述,但并非每个实施方式仅包含一个独立的技术方案,说明书的这种叙述方式仅仅是为清楚起见,本领域技术人员应当将说明书作为一个整体,各实施例中的技术方案也可以经适当组合,形成本领域技术人员可以理解的其他实施方式。
Claims (6)
1.一种多角度可调节金属废料抓取装置,其特征在于,包括底板(1)和抓取机构(12);所述底板(1)的侧边处固定安装有立柱(2),立柱(2)的顶部安装有顶板(4),顶板(4)的下侧设置有所述的抓取机构(12);抓取机构(12)包括安装板(13)、底座(15)和夹块(19),所述安装板(13)的底部转动安装有第二螺杆(14),所述底座(15)固定安装于安装板(13)的底部,底座(15)与第二螺杆(14)转动连接,且底座(15)底部的左右两侧对称铰接安装有两个所述的夹块(19);所述第二螺杆(14)位于底座(15)的左右两侧对称设置有两种旋向相反的外螺纹,第二螺杆(14)的左右两侧还对称螺纹连接有两个第二螺套(17),第二螺套(17)的上侧与安装板(13)滑动连接,第二螺套(17)的下侧铰接安装有连接杆(18),连接杆(18)的另一端与夹块(19)铰接。
2.根据权利要求1所述的多角度可调节金属废料抓取装置,其特征在于,所述安装板(13)上还固定安装有带动第二螺杆(14)转动的第三电机(16)。
3.根据权利要求2所述的多角度可调节金属废料抓取装置,其特征在于,所述底座(15)底部位于两个夹块(19)之间均匀固定安装有若干伸缩气缸(20),伸缩气缸(20)的伸缩端固定安装有真空吸盘。
4.根据权利要求1所述的多角度可调节金属废料抓取装置,其特征在于,所述顶板(4)通过旋转轴(5)转动安装在立柱(2)上,顶板(4)的底部转动安装有第一螺杆(6),顶板(4)的底部还固定安装有滑杆(8),所述第一螺杆(6)上螺纹连接有第一螺套(7),第一螺套(7)与滑杆(8)滑动连接,第一螺套(7)的底部固定安装有电动伸缩杆(10),电动伸缩杆(10)的伸缩端通过连接架(11)与抓取机构(12)固定连接。
5.根据权利要求4所述的多角度可调节金属废料抓取装置,其特征在于,所述立柱(2)的外侧固定安装有带动旋转轴(5)转动的第一电机(3),所述顶板(4)的底部固定安装有带动第一螺杆(6)转动的第二电机(9)。
6.根据权利要求1-5任一所述的多角度可调节金属废料抓取装置,其特征在于,所述夹块(19)靠近被夹持物料的一侧设置有压板,压板通过若干连接件(21)与夹块(19)固定连接,连接件(21)包括开设在夹块(19)上的插槽(23)和固定安装在插杆(22),插杆(22)滑动安装于插槽(23)中,且插杆(22)通过连接弹簧(24)与插槽(23)固定连接。
Priority Applications (1)
| Application Number | Priority Date | Filing Date | Title |
|---|---|---|---|
| CN202020364397.3U CN211812233U (zh) | 2020-03-20 | 2020-03-20 | 一种多角度可调节金属废料抓取装置 |
Applications Claiming Priority (1)
| Application Number | Priority Date | Filing Date | Title |
|---|---|---|---|
| CN202020364397.3U CN211812233U (zh) | 2020-03-20 | 2020-03-20 | 一种多角度可调节金属废料抓取装置 |
Publications (1)
| Publication Number | Publication Date |
|---|---|
| CN211812233U true CN211812233U (zh) | 2020-10-30 |
Family
ID=73010618
Family Applications (1)
| Application Number | Title | Priority Date | Filing Date |
|---|---|---|---|
| CN202020364397.3U Expired - Fee Related CN211812233U (zh) | 2020-03-20 | 2020-03-20 | 一种多角度可调节金属废料抓取装置 |
Country Status (1)
| Country | Link |
|---|---|
| CN (1) | CN211812233U (zh) |
Cited By (1)
| Publication number | Priority date | Publication date | Assignee | Title |
|---|---|---|---|---|
| CN116871881A (zh) * | 2023-08-22 | 2023-10-13 | 江苏吉麦新能源车业有限公司 | 一种新能源车用换热器焊接工装 |
-
2020
- 2020-03-20 CN CN202020364397.3U patent/CN211812233U/zh not_active Expired - Fee Related
Cited By (1)
| Publication number | Priority date | Publication date | Assignee | Title |
|---|---|---|---|---|
| CN116871881A (zh) * | 2023-08-22 | 2023-10-13 | 江苏吉麦新能源车业有限公司 | 一种新能源车用换热器焊接工装 |
Similar Documents
| Publication | Publication Date | Title |
|---|---|---|
| CN112719748B (zh) | 一种书梯焊接用辅助装置的使用方法 | |
| CN112621094B (zh) | 一种书梯焊接用辅助装置 | |
| CN208631655U (zh) | 一种板材生产车间用的堆板机 | |
| CN211812233U (zh) | 一种多角度可调节金属废料抓取装置 | |
| CN110952455B (zh) | 一种用于桥梁护栏安装的智能辅助机器人 | |
| CN211046242U (zh) | 一种配电线路多功能放线滑车 | |
| CN116476118A (zh) | 一种搬运用机械手设备 | |
| CN212312058U (zh) | 一种便于夹取的翻包生产线用机械臂 | |
| CN221047026U (zh) | 一种三轮摩托车边梁折弯冲弧模具装置 | |
| CN218193864U (zh) | 一种激光机平板夹紧装置 | |
| CN218313397U (zh) | 一种可调旋转角度的轮胎支架支撑工装 | |
| CN214236015U (zh) | 一种稳固多功能型钢筋弯曲机 | |
| CN214418794U (zh) | 一种五金件冲压模具用搬运装置 | |
| CN211072070U (zh) | 一种钢管自动切割装置 | |
| CN209425451U (zh) | 一种废钢压块拆包装置 | |
| CN218049774U (zh) | 一种用于销轴加工的新型折弯机 | |
| CN217570645U (zh) | 一种用于市政工程的线缆拉直设备 | |
| CN218081164U (zh) | 一种用于搬运车车架的焊接夹具 | |
| CN222590735U (zh) | 一种农膜翻边穿绳装置 | |
| CN221216832U (zh) | 一种工程用吊装设备 | |
| CN218320248U (zh) | 一种吊装式大尺寸部件的移动机 | |
| CN219851842U (zh) | 一种电力抢修辅助折弯挤压装置 | |
| CN220251368U (zh) | 一种手拉葫芦试验台 | |
| CN221091375U (zh) | 一种生产加工用多功能打包装置 | |
| CN215179610U (zh) | 一种手提式荧光观察箱 |
Legal Events
| Date | Code | Title | Description |
|---|---|---|---|
| GR01 | Patent grant | ||
| GR01 | Patent grant | ||
| CF01 | Termination of patent right due to non-payment of annual fee | ||
| CF01 | Termination of patent right due to non-payment of annual fee |
Granted publication date: 20201030 |