CN211804032U - Portable machining milling machine equipment - Google Patents

Portable machining milling machine equipment Download PDF

Info

Publication number
CN211804032U
CN211804032U CN202020474390.7U CN202020474390U CN211804032U CN 211804032 U CN211804032 U CN 211804032U CN 202020474390 U CN202020474390 U CN 202020474390U CN 211804032 U CN211804032 U CN 211804032U
Authority
CN
China
Prior art keywords
riser
threaded rod
diaphragm
milling machine
fixedly connected
Prior art date
Legal status (The legal status is an assumption and is not a legal conclusion. Google has not performed a legal analysis and makes no representation as to the accuracy of the status listed.)
Expired - Fee Related
Application number
CN202020474390.7U
Other languages
Chinese (zh)
Inventor
范成桔
Current Assignee (The listed assignees may be inaccurate. Google has not performed a legal analysis and makes no representation or warranty as to the accuracy of the list.)
Xinchang Chengtan Bona Machinery Factory
Original Assignee
Xinchang Chengtan Bona Machinery Factory
Priority date (The priority date is an assumption and is not a legal conclusion. Google has not performed a legal analysis and makes no representation as to the accuracy of the date listed.)
Filing date
Publication date
Application filed by Xinchang Chengtan Bona Machinery Factory filed Critical Xinchang Chengtan Bona Machinery Factory
Priority to CN202020474390.7U priority Critical patent/CN211804032U/en
Application granted granted Critical
Publication of CN211804032U publication Critical patent/CN211804032U/en
Expired - Fee Related legal-status Critical Current
Anticipated expiration legal-status Critical

Links

Images

Landscapes

  • Milling Processes (AREA)

Abstract

The utility model discloses a portable machining milling machine equipment, comprising a base plate, the upper end fixedly connected with riser of bottom plate, the top of riser is equipped with the diaphragm, be equipped with on the riser and be used for carrying out the elevating system that goes up and down to the diaphragm, the upper end front side fixedly connected with motor of diaphragm, the drive shaft of motor rotates and runs through diaphragm and fixed mounting and has milling cutter, the preceding lateral wall sliding connection of riser has the operation panel, be equipped with on the riser and be used for carrying out the adjustment mechanism who adjusts to the operation panel. The utility model discloses simple structure adjusts convenient and portable.

Description

Portable machining milling machine equipment
Technical Field
The utility model relates to a milling machine technical field especially relates to a portable machining milling machine equipment.
Background
The milling machine mainly refers to a machine tool for processing various surfaces of a workpiece by using a milling cutter; generally, the milling cutter mainly moves by rotary motion, and the movement of the workpiece and the milling cutter is feeding motion; it can be used for processing plane, groove, various curved surfaces and gears.
The existing milling bed is large in volume and weight, inconvenient to carry and carry, complex in structure and inconvenient to operate.
To this end, we propose a portable machining milling machine apparatus to solve the above problems.
SUMMERY OF THE UTILITY MODEL
The utility model aims at solving the problem that the milling machine volume and weight are large and are not convenient to carry and the structure is complicated in the prior art, and providing a portable machining milling machine equipment.
In order to achieve the above purpose, the utility model adopts the following technical scheme:
the utility model provides a portable machining milling machine equipment, includes the bottom plate, the upper end fixedly connected with riser of bottom plate, the top of riser is equipped with the diaphragm, be equipped with on the riser and be used for carrying out the elevating system that goes up and down to the diaphragm, the upper end front side fixedly connected with motor of diaphragm, the drive shaft of motor rotates and runs through diaphragm and fixed mounting has milling cutter, the preceding lateral wall sliding connection of riser has the operation panel, be equipped with on the riser and be used for carrying out the adjustment mechanism who adjusts to the operation panel.
Preferably, elevating system is including setting up the fluting in the riser upper end, the fluting internal rotation is connected with two-way threaded rod, the one end of two-way threaded rod is rotated and is run through the riser and the first turning handle of coaxial fixedly connected with, two-way threaded rod external thread cover is equipped with two screw thread pieces, two the relative lateral wall of screw thread piece all rotates and is connected with the deflector, two the one end that the screw thread piece was kept away from to the deflector rotates with the left and right sides wall of diaphragm respectively and is connected.
Preferably, threaded holes matched with the bidirectional threaded rods are formed in the two thread blocks in a penetrating mode, and the thread turning directions in the two threaded holes are opposite.
Preferably, adjustment mechanism includes two regulating plates with riser front end fixed connection, two it is connected with the threaded rod to rotate between the regulating plate, the one end of threaded rod is rotated and is run through regulating plate and coaxial fixedly connected with second turning handle, threaded rod external thread cover is equipped with the regulating block, the upper end of regulating block and the lower extreme fixed connection of operation panel, sliding connection between regulating block and the riser.
Preferably, the upper end fixedly connected with polylith T template of operation panel, the polylith the T template is array distribution, the polylith the many is inlayed between the T template and is equipped with many fixing bolt.
Compared with the prior art, the beneficial effects of the utility model are that:
by arranging the lifting mechanism and the adjusting mechanism, the first rotating handle drives the bidirectional threaded rod to rotate by rotating the first rotating handle, the bidirectional threaded rod drives the two threaded blocks to move relatively, the two threaded blocks drive the transverse plate to lift through the two deflection plates, and the transverse plate drives the motor and the milling cutter to lift until the proper height is reached; through rotating the second turning handle, the second turning handle drives the threaded rod to rotate, the threaded rod drives the adjusting block to move, and the adjusting block drives the adjusting plate to move until the appropriate position, so that the structure is simple, the adjustment is convenient, the size is small, and the carrying is convenient.
The utility model discloses simple structure adjusts convenient and portable.
Drawings
Fig. 1 is a schematic front structural view of a portable machining milling machine apparatus provided by the present invention;
fig. 2 is the utility model provides a side structure schematic diagram of portable machining milling machine equipment.
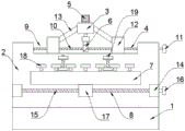
In the figure: the device comprises a base plate 1, a vertical plate 2, a transverse plate 3, a lifting mechanism 4, a motor 5, a milling cutter 6, an operation plate 7, an adjusting mechanism 8, a groove 9, a bidirectional threaded rod 10, a first rotating handle 11, a threaded block 12, a deflection plate 13, an adjusting plate 14, a threaded rod 15, a second rotating handle 16, an adjusting block 17, a T-shaped plate 18 and a fixing bolt 19.
Detailed Description
The technical solutions in the embodiments of the present invention will be described clearly and completely with reference to the accompanying drawings in the embodiments of the present invention, and it is obvious that the described embodiments are only some embodiments of the present invention, not all embodiments.
Referring to fig. 1-2, a portable machining milling machine equipment, includes bottom plate 1, the upper end fixedly connected with riser 2 of bottom plate 1, and the top of riser 2 is equipped with diaphragm 3, is equipped with on riser 2 to be used for carrying out the elevating system 4 that goes up and down to diaphragm 3, and is specific, and elevating system 4 is including setting up fluting 9 in riser 2 upper end, and the fluting 9 internal rotation is connected with two-way threaded rod 10, and the one end rotation of two-way threaded rod 10 runs through riser 2 and coaxial fixedly connected with first pivot 11.
The utility model discloses in, two threaded rod 10 external thread cover are equipped with two screw block 12, it is worth mentioning that, all run through on two screw block 12 be equipped with two threaded rod 10 assorted screw holes, two screw threads in the screw hole are turned to opposite, two lateral walls that screw block 12 is relative all rotate and are connected with deflector 13, two deflector 13 keep away from the one end of screw block 12 respectively with diaphragm 3 the left and right sides wall rotate to be connected, diaphragm 3's upper end front side fixedly connected with motor 5, it is required to explain, motor 5 can adopt the model to be Y315M-10's driving motor, and in external power source electric connection, for prior art, do not specifically do the repeated description, motor 5's drive shaft rotates and runs through diaphragm 3 and fixed mounting has milling cutter 6.
The utility model discloses in, the preceding lateral wall sliding connection of riser 2 has operation panel 7, it is to explain, the upper end fixedly connected with polylith T template 18 of operation panel 7, polylith T template 18 is the array distribution, it is equipped with many fixing bolt 19 to inlay between the polylith T template 18, be equipped with on the riser 2 and be used for carrying out the adjustment mechanism 8 of adjusting to operation panel 7, it is to explain, adjustment mechanism 8 includes two regulating plates 14 with 2 front end fixed connection of riser, it is connected with threaded rod 15 to rotate between two regulating plates 14, threaded rod 15's one end is rotated and is run through regulating plate 14 and coaxial fixedly connected with second turning handle 16, 15 threaded rod external thread bush are equipped with regulating block 17, regulating block 17's upper end and operation panel 7's lower extreme fixed connection, sliding connection between regulating block 17 and the riser 2.
When the utility model is used, a workpiece is fixed on the T-shaped plate 18 through the plurality of fixing bolts 19, then the second rotating handle 16 is rotated, the second rotating handle 16 drives the threaded rod 15 to rotate, the threaded rod 15 drives the adjusting block 17 to move, the adjusting block 17 drives the adjusting plate 14 to move, and the adjusting plate 14 drives the workpiece to move through the T-shaped plate 18 until the workpiece is in a proper position; then, the first rotating handle 11 is rotated, the first rotating handle 11 drives the bidirectional threaded rod 10 to rotate, the bidirectional threaded rod 10 drives the two thread blocks 12 to move relatively, the two thread blocks 12 drive the two deflection plates 13 to deflect, the two deflection plates 13 drive the transverse plate 3 to lift, the transverse plate 3 drives the motor 5 and the milling cutter 6 to lift until the proper positions are reached, and then the motor is started to process the workpiece.
The above, only be the concrete implementation of the preferred embodiment of the present invention, but the protection scope of the present invention is not limited thereto, and any person skilled in the art is in the technical scope of the present invention, according to the technical solution of the present invention and the utility model, the concept of which is equivalent to replace or change, should be covered within the protection scope of the present invention.

Claims (5)

1. The utility model provides a portable machining milling machine equipment, includes bottom plate (1), its characterized in that, the upper end fixedly connected with riser (2) of bottom plate (1), the top of riser (2) is equipped with diaphragm (3), be equipped with on riser (2) and be used for carrying out elevating system (4) that go up and down to diaphragm (3), the upper end front side fixedly connected with motor (5) of diaphragm (3), the drive shaft of motor (5) is rotated and is run through diaphragm (3) and fixed mounting has milling cutter (6), the preceding lateral wall sliding connection of riser (2) has operation panel (7), be equipped with on riser (2) and be used for carrying out adjustment mechanism (8) adjusted operation panel (7).
2. The portable machining milling machine equipment according to claim 1, characterized in that elevating system (4) includes fluting (9) that sets up in riser (2) upper end, fluting (9) internal rotation is connected with two-way threaded rod (10), the one end of two-way threaded rod (10) is rotated and is run through riser (2) and coaxial fixedly connected with first turning handle (11), two-way threaded rod (10) thread bush is equipped with two thread blocks (12), two the lateral wall that thread block (12) is relative all rotates and is connected with deflector (13), two the one end that thread block (12) was kept away from to deflector (13) rotates with the left and right sides wall of diaphragm (3) respectively and is connected.
3. A portable machine milling machine equipment according to claim 2 wherein the two threaded blocks (12) are each provided with a threaded bore adapted to the two-way threaded rod (10), the threads in the two threaded bores being of opposite hand.
4. The portable machining milling machine equipment of claim 1, characterized in that adjustment mechanism (8) includes two regulating plates (14) with riser (2) front end fixed connection, two rotate between regulating plate (14) and be connected with threaded rod (15), the one end of threaded rod (15) is rotated and is run through regulating plate (14) and coaxial fixedly connected with second turning handle (16), threaded rod (15) thread bush is equipped with regulating block (17), the upper end of regulating block (17) and the lower extreme fixed connection of operation panel (7), sliding connection between regulating block (17) and riser (2).
5. A portable machine milling machine equipment according to claim 1 wherein a plurality of T-shaped plates (18) are fixedly connected to the upper end of the operating plate (7), the T-shaped plates (18) are arranged in an array, and a plurality of fixing bolts (19) are embedded between the T-shaped plates (18).
CN202020474390.7U 2020-04-03 2020-04-03 Portable machining milling machine equipment Expired - Fee Related CN211804032U (en)

Priority Applications (1)

Application Number Priority Date Filing Date Title
CN202020474390.7U CN211804032U (en) 2020-04-03 2020-04-03 Portable machining milling machine equipment

Applications Claiming Priority (1)

Application Number Priority Date Filing Date Title
CN202020474390.7U CN211804032U (en) 2020-04-03 2020-04-03 Portable machining milling machine equipment

Publications (1)

Publication Number Publication Date
CN211804032U true CN211804032U (en) 2020-10-30

Family

ID=73143017

Family Applications (1)

Application Number Title Priority Date Filing Date
CN202020474390.7U Expired - Fee Related CN211804032U (en) 2020-04-03 2020-04-03 Portable machining milling machine equipment

Country Status (1)

Country Link
CN (1) CN211804032U (en)

Cited By (1)

* Cited by examiner, † Cited by third party
Publication number Priority date Publication date Assignee Title
CN112846315A (en) * 2020-12-31 2021-05-28 苏州用朴精密科技有限公司 Hard alloy drill bit and machining process thereof

Cited By (1)

* Cited by examiner, † Cited by third party
Publication number Priority date Publication date Assignee Title
CN112846315A (en) * 2020-12-31 2021-05-28 苏州用朴精密科技有限公司 Hard alloy drill bit and machining process thereof

Similar Documents

Publication Publication Date Title
CN206527355U (en) A kind of many drill bit high-efficiency vertical drilling machines
CN201189687Y (en) Door keyhole and slot processing mechanism of full-automatic wood door processor
CN211804032U (en) Portable machining milling machine equipment
CN201211696Y (en) Hinge grooving mechanism of full-automatic wood door processor
CN203110034U (en) Row hole drilling machine
CN220806555U (en) Multi-angle machining turning and milling compound machine tool
CN221158867U (en) Workpiece adjusting guide rail
CN213289409U (en) Adjustable machine base for numerical control machining center
CN213350909U (en) Piston pin drilling device
CN215316862U (en) Six-axis screw locking machine with any inclination angle
CN214818377U (en) Electromechanical maintenance fixing device for coal mine
CN210758211U (en) Workbench lifting device
CN202639383U (en) Full-automatic three-dimensional locating digital controlled drill
CN220740219U (en) Bed body adjusting mechanism of vertical milling machine
CN207873746U (en) Numerical control scale-division clamping device
CN222176955U (en) Milling cutter processing equipment convenient for positioning
CN215033782U (en) Semi-automatic pipe fitting bilateral drilling machine
CN223477155U (en) A new type of ram end surface grinding device
CN222624731U (en) Auxiliary support device for cement mill
CN215846311U (en) Device for constructing dots of hot-pressed light guide plate by laser processing
CN219563170U (en) A robot debugging installation frame
CN218983273U (en) Drilling equipment
CN220592496U (en) Perforating device for machining machine tool body
CN217070747U (en) Double-spindle gang tool lathe
CN219806108U (en) Rotary type robot arm

Legal Events

Date Code Title Description
GR01 Patent grant
GR01 Patent grant
CF01 Termination of patent right due to non-payment of annual fee

Granted publication date: 20201030

CF01 Termination of patent right due to non-payment of annual fee